|
|
(21), (22) Заявка: 2005110520/06, 11.04.2005
(24) Дата начала отсчета срока действия патента:
11.04.2005
(43) Дата публикации заявки: 20.10.2006
(46) Опубликовано: 20.04.2007
(56) Список документов, цитированных в отчете о поиске:
RU 2129674 C1, 27.04.1999. RU 2067708 C1, 10.10.1996. RU 2001127027 C1, 10.06.2003. DE 2006092 A1, 20.08.1974. GB 2224318 A1, 02.05.1990.
Адрес для переписки:
456300, Челябинская обл., г. Миасс, Тургоякское ш., 1, ФГУП “ГРЦ “КБ им. акад. В.П. Макеева”
|
(72) Автор(ы):
Бадьин Геннадий Михайлович (RU)
(73) Патентообладатель(и):
Федеральное государственное унитарное предприятие “Государственный ракетный центр “КБ им. акад. В.П. Макеева” (RU)
|
(54) СТЕНД ДЛЯ ИСПЫТАНИЙ НА ПРОЧНОСТЬ ТРУБОПРОВОДНОЙ АРМАТУРЫ
(57) Реферат:
Стенд предназначен для испытаний на прочность трубопроводной арматура в нефтеперерабатывающей и химической промышленности. Стенд содержит прижимное устройство с уплотнениями для контактирующих поверхностей фланцев и с каналами для сообщения с атмосферой и с источником рабочей жидкости для заполнения внутренней полости арматуры. Прижимное устройство содержит основание, неподвижную и подвижную тарели, нагрузочный гидроцилиндр на поворотной плите, стойку и стяжку между подвижной и неподвижной тарелями. На неподвижной тарели закреплены ползуны, взаимодействующие со штоками гидроцилиндров зажима фланцев арматуры. Стойка состоит из неподвижной и подвижной частей, соединенных между собой разъемными силовыми полумуфтами. На подвижной и неподвижной тарелях выполнены выступы в виде концентрических окружностей, диаметры которых равны диаметрам выступов на фланцах испытываемой арматуры, а их количество определяется номенклатурой арматуры. Технический результат – уменьшение металлоемкости. 1 ил.
Изобретение относится к области машиностроения и может быть использовано в нефтеперерабатывающей и химической промышленности для испытаний трубопроводной арматуры. К трубопроводной арматуре относятся задвижки, вентили, краны, заслонки, диафрагмы и т.п.
Известен стенд для испытаний на прочность трубопроводной арматуры (см. патент RU №2067708, кл. F15B 19/00), имеющей фланцы, содержащий основание, прижимное устройство с уплотнениями для контактирующих поверхностей фланцев с каналами для сообщения с атмосферой и с источником рабочей жидкости для заполнения внутренней полости арматуры.
Прижимное устройство выполнено в виде неподвижной тарели, размещенной на основании, и подвижной тарели, которая шарнирно соединена со штоком нагрузочного цилиндра. Нагрузочный цилиндр обеспечивает давление на фланцы и герметизирующие уплотнения, превышающее испытательное давление внутри арматуры на 5…10%.
Нагрузочный гидроцилиндр установлен на поворотной плите, перемещающейся относительно стойки, при этом поворотная плита снабжена разъемными силовыми стяжками, установленными с возможностью их соединения с неподвижной тарелью.
На неподвижной тарели закреплены имеющие продольные пазы ползуны, взаимодействующие со штоками гидроцилиндров зажима фланцев арматуры.
Данный стенд обеспечивает испытания на прочность арматуры, однако имеет ограниченные возможности испытания арматуры на большие испытательные давления (более 25 МПа) из-за ограниченного усилия прижима фланцев арматуры нагрузочным цилиндром и большой площадью контактной поверхности фланца, обеспечивающего герметизацию стыков фланцев арматуры с подвижной и неподвижной тарелями.
Известен также стенд для испытаний на прочность трубопроводной арматуры (см. патент RU №2129674, кл. 6 F15B 19/00, G01M 3/28), имеющей фланцы, содержащий прижимное устройство с уплотнениями для контактирующих фланцев и с каналами для сообщения с атмосферой и источником рабочей жидкости для заполнения внутренней полости арматуры, выполненное в виде неподвижной тарели, размещенной на основании, и подвижной тарели, шарнирно соединенной со штоком нагрузочного гидроцилиндра, установленного на поворотной плите с силовой стяжкой, перемещающейся относительно стойки; а на неподвижной тарели закреплены имеющие продольные пазы ползуны, взаимодействующие со штоками гидроцилиндров зажима фланцев.
Указанный стенд обеспечивает испытания на прочность арматуры, однако также имеет ограниченные возможности испытания арматуры на большие испытательные давления (более 25 МПа) из-за ограниченного усилия прижима фланцев арматуры нагрузочным цилиндром и большой площадью контактной поверхности фланцев, обеспечивающих герметизацию стыков фланцев арматуры с подвижной и неподвижной тарелями.
Задачей изобретения является расширение технологических возможностей производства, обеспечивающего испытания на прочность арматуры на большие испытательные давления с использованием одного прижимного устройства.
Технический результат достигается тем, что в стенде для испытаний на прочность трубопроводной арматуры, имеющей фланцы, содержащем прижимное устройство с уплотнениями для контактирующих поверхностей фланцев и с каналами для сообщения с атмосферой и с источником давления рабочей жидкости для заполнения внутренней полости арматуры, прижимное устройство выполнено в виде неподвижной тарели, размещенной на основании, и подвижной тарели, которая шарнирно соединена со штоком нагрузочного гидроцилиндра, на поверхностях обеих тарелей, на которые устанавливаются герметизирующие прокладки, выполнены кольцевые выступы в виде концентрических окружностей. Диаметр таких колец подобран из условия их равенства с диаметрами выступов на фланцах испытуемой арматуры. В этом случае при прижиме арматуры в процессе испытаний герметизация происходит только по площади кольцевого выступа, что существенно уменьшает контактируемую поверхность, а следовательно, увеличивает удельное давление на контактирующих поверхностях.
Положительный эффект изобретения проявляется в результате испытания трубопроводной арматуры с большими испытательными давлениями на одном прижимном устройстве стенда, что расширяет технологические возможности производства, снижает металлоемкость конструкции стенда и затраты на его изготовление.
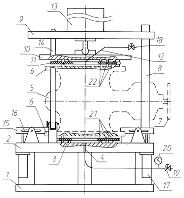
Сущность изобретения поясняется чертежом, где представлена схема конструкции стенда для испытаний трубопроводной арматуры на прочность.
Стенд содержит основание 1, неподвижную тарель 2 с уплотнением 3 и каналом 4 подачи испытательной жидкости во внутренние полости арматуры 5 с фланцами 6 и приводом 7.
Неподвижная тарель имеет концентрические выступы 21.
Кроме того, стенд содержит стойку 8, поворотную плиту 9, подвижную тарель 10 с уплотнением 11 и каналом 12 для сообщения с атмосферой, нагрузочный гидроцилиндр 13, разъемную силовую стяжку 14, ползуны 15 с продольными пазами 16, гидроцилиндры 17 зажима фланцев арматуры, вентили 18 и 19, регистратор 20.
Подвижная тарель имеет концентрические выступы 22. Испытываемая арматура 5 на чертеже показана пунктирной линией.
Устройство работает следующим образом. До установки испытываемой арматуры, например регулирующего клапана 5, на неподвижную тарель 2 основания 1 поворачивают плиту 9 на определенный угол, затем устанавливают испытываемый клапан 5 нижним фланцем 6 на тарель 2, где закреплено уплотнение 3. Для удержания клапана 5 в вертикальном положении вручную устанавливают ползуны 15 по продольным пазам 16 на нижний фланец 6 клапана 5 и давлением жидкости (масла) от насосной станции в гидроцилиндрах 17, штоки которых взаимодействуют с ползунами, при выдвижении прижимают фланцы клапана 5 на герметизирующем уплотнении неподвижной тарели 2. Прижим ползунов 15 к тарели 2 осуществляется непрерывно в процессе испытания путем подачи давления жидкости (масла) в соответствующие полости гидроцилиндров 17. Устанавливают поворотную плиту 9 с подвижной тарелью 10 на второй фланец 6 клапана 5 и закрепляют его (клапан) разъемной силовой стяжкой 14, обеспечивая замкнутую систему для создания нагрузки на подвижную тарель 10.
На подвижной тарели 10 выполнено шарнирное соединение со штоком нагрузочного гидроцилиндра 13 с целью создания осевой нагрузки от этого гидроцилиндра в случае установки испытываемого клапана 5 на неподвижной тарели 2 с перекосом из-за момента дебаланса клапана 5 с приводом 7. Герметизируют клапан 5 по фланцам 6 путем подачи давления жидкости (масла) от насосной станции в соответствующую полость нагрузочного гидроцилиндра 13, обеспечивающего давление на фланцы 6, уплотнения 3 и 11, превышающее испытательное давление внутри клапана 5 на 5-10%. Герметизация стыков происходит по площади одного из концентрических выступов и выступом, имеющимся на фланце арматуры.
Затем сообщают внутренние полости клапана 5 с атмосферой путем открытия вентиля 18 при открытом положении запорного органа клапана 5. Подают испытательную жидкость (воду) во внутреннюю полость клапана 5 через вентиль 19, стравливая воздух из клапана 5 через вентиль 18 в атмосферу. Заполнение жидкостью (водой) производят до момента появления течи жидкости через открытый вентиль 18, после чего его закрывают. Создают давление испытательной жидкости (воды) во внутренней полости клапана 5 с выдержкой при этом давлении в течение заданного периода времени. Контролируют испытательное давление по регистратору 20, после чего оценивают прочность клапана.
На подвижной 10 и неподвижной 2 тарелях выполнены выступы 22, 21 в виде концентрических окружностей, диаметры которых равны диаметрам выступов на фланцах испытываемой арматуры, а их количество определяется номенклатурой арматуры.
Применение предложенной конструкции стенда позволяет расширить технологические возможности производства при испытаниях арматуры, уменьшить металлоемкость конструкции и затраты на изготовление стенда.
Формула изобретения
Стенд для испытаний на прочность трубопроводной арматуры, имеющей фланцы, содержащий прижимное устройство, выполненное в виде неподвижной тарели, размещенной на основании, и подвижной тарели, которая шарнирно соединена со штоком нагрузочного гидроцилиндра, с уплотнениями для контактирующих поверхностей фланцев и с каналами для сообщения с атмосферой, источником рабочей жидкости для заполнения внутренней полости арматуры, отличающийся тем, что на подвижной и неподвижной тарелях выполнены выступы в виде концентрических окружностей, диаметры которых равны диаметрам выступов на фланцах испытуемой арматуры.
РИСУНКИ
PD4A – Изменение наименования обладателя патента СССР или патента Российской Федерации на изобретение
(73) Новое наименование патентообладателя:
Открытое акционерное общество “Государственный ракетный центр имени академика В.П. Макеева” (RU)
Адрес для переписки:
456300, Челябинская обл., г. Миасс, Тургоякское ш., 1, ОАО “ГРЦ Макеева”
Извещение опубликовано: 27.06.2009 БИ: 18/2009
|
|