|
|
(21), (22) Заявка: 2005132980/03, 27.10.2005
(24) Дата начала отсчета срока действия патента:
27.10.2005
(46) Опубликовано: 20.04.2007
(56) Список документов, цитированных в отчете о поиске:
SU 33603 U1, 27.10.2003. SU 410353 A, 05.01.1974. SU 1781422 A1, 15.12.1992. RU 2066740 C1, 20.09.1996. RU 2232409 C1, 10.07.2004. RU 2232267 C1, 10.07.2004. RU 11616 U1, 16.10.1999. US 3817328 A, 18.06.1974. US 4793178 A, 27.12.1988.
Адрес для переписки:
141002, Московская обл., г. Мытищи-2, ул. Колпакова, 2, ООО “Технологическая лаборатория”, Генеральному директору В.С. Балицкому
|
(72) Автор(ы):
Балицкий Вадим Степанович (RU), Грубый Сергей Витальевич (RU), Пятницин Александр Иванович (RU), Вергелис Николай Иванович (RU)
(73) Патентообладатель(и):
Общество с ограниченной ответственностью “Технологическая лаборатория” (RU)
|
(54) МОБИЛЬНЫЙ ИСПЫТАТЕЛЬНЫЙ КОМПЛЕКС
(57) Реферат:
Изобретение относится к измерительным комплексам в мобильном исполнении для нефтяной и газовой промышленности и может быть использовано для контроля за разработкой залежей нефти и газа. Техническим результатом изобретения является сокращение времени проведения испытаний скважины и повышение точности измерения характеристик потока газожидкостной смеси, поступающей из нее. Мобильный испытательный комплекс содержит линию приема газожидкостной смеси, сепаратор, фильтр, многофазный расходомер, счетчик газа, электронный блок в составе датчиков температуры, давления, емкости, проводимости и газа, функционального преобразователя в составе пяти аналого-цифровых преобразователей и постоянного запоминающего устройства, персональный компьютер, монитор, клавиатуру, печатающее устройство, систему связи в составе спутникового телефона с антенной, спутникового ретранслятора с антенной системой, наземной станции спутниковой связи с антенной системой, модема, абонентской станции подвижной радиосвязи с телескопической мачтой и установленной на ней антенной, диспетчерский пункт с персональным компьютером. Комплекс выполнен в мобильном исполнении, причем его основная аппаратура и оборудование размещены в кузове-фургоне на шасси автомобиля повышенной проходимости, а телескопическая мачта с установленной на ней антенной размещена снаружи кузова. 4 з.п. ф-лы, 4 ил.
Изобретение относится к измерительным комплексам в мобильном исполнении для нефтяной и газовой промышленности и может быть использовано для контроля за разработкой залежей нефти и газа.
При разработке месторождений нефти и газа возникает необходимость проведения контроля и диагностики скважин с целью определения дебита нефти, газа и воды и возможности эксплуатации скважины на периодической основе.
Для контроля и диагностики скважин применяются различные устройства и комплексы, основанные на различных способах измерения потока жидкости и газа, проходящего по бурильной трубе скважины или по трубопроводу, и использующие разного рода расходомеры для определения его количественных характеристик, таких как объем, масса и температура.
Известные устройства испытания и учета расхода нефти и газа, поступающих в трубопровод из скважины, содержат скважинный прибор с управляемым источником нейтронов, схему сбора информации, телеметрическую систему передачи информации, формирователи импульсов, временной анализатор и компьютеризированный регистратор [1, 2].
Недостатки указанных устройств заключаются в том, что используемые в них методы для учета расхода нефти, газа и других компонентов основаны на сложных математических расчетах и на проведение испытаний с помощью этих устройств требуется значительное время, а применение при проведении исследований генераторов гамма-квантов способно оказывать вредное влияние на здоровье исследователей. Поэтому необходимо предусматривать дополнительно защиту обслуживающего персонала от вредного воздействия излучателя.
Известны также установки для исследования скважин, в которых непосредственно определяются отдельные компоненты многофазного потока. Так, известно устройство для измерения уровня жидкости в скважине, содержащее промышленный контроллер, перепускную емкость фиксированного объема с входным и выходным патрубками, пневмолинию для сообщения газовой полости скважины с перепускной емкостью и датчик давления [3].
Однако использование указанного устройства ограничено из-за отсутствия в нем возможности проведения измерения и учета всех характеристик многофазного потока.
Из известных устройств для учета расхода нефти и газа при исследовании скважин наиболее близким по технической сущности является устройство для приема информации с забоя по гидравлическому каналу связи [4].
Это устройство содержит датчик давления, установленный в нагнетательной линии насоса, скважинный прибор телеметрической системы с гидравлическим каналом связи, электронный блок в составе измерителя емкости, температурного датчика и функционального преобразователя, состоящего из двух аналого-цифровых преобразователей и постоянного запоминающего устройства, персональный компьютер, монитор и печатающее устройство.
Принцип работы известного устройства для исследования скважин заключается в том, что при работе скважинного прибора телеметрической системы с гидравлическим каналом связи возбуждаются положительные импульсы давления, несущие информацию об измеряемых параметрах, которые регистрируются датчиком давления. Измерение давления производится за счет воздействия импульса давления на конденсатор, установленный в датчике давления. При этом прогибается корпус и уменьшается зазор между обкладками конденсатора. В результате этого изменяется емкость конденсатора, который образован электрически разделенными корпусом и вставкой. Емкость этого конденсатора измеряется измерителем емкости. Сигнал с выхода измерителя емкости поступает на вход первого аналого-цифрового преобразователя (АЦП) функционального преобразователя, в который одновременно через второй АЦП поступает сигнал с температурного датчика. Первый и второй АЦП оцифровывают полученные сигналы и передают их в постоянное запоминающее устройство (ПЗУ), в котором предварительно заложены тарировочные данные зависимости уровня сигнала от давления и температуры. Это позволяет однозначно определить давление внутри датчика давления.
Сигнал с датчика давления поступает на электронный блок и далее на персональный компьютер, где полученная информация обрабатывается и выводится в удобной для оператора форме на монитор и при необходимости выводится на печатающее устройство.
Недостатком известного устройства является то, что оно может быть использовано для исследования скважин в стационарном положении с обеспечением измерения только одной-двух компонент многофазного потока и для определения остальных компонент потребуется применение других устройств. Это приводит к существенному усложнению процесса испытаний и увеличению потребного для этого времени. По одному или двум измеренным параметрам нельзя также провести достаточно быстро расчет расхода нефти и газа, поступающих из скважины. При этом точность полученных результатов является низкой из-за значительного разброса измеряемой емкости конденсатора. Кроме того, в этом устройстве отсутствует возможность передачи полученных результатов в центр анализа и обработки данных для принятия оперативных решений в случае возникновения экстренных ситуаций на скважине или в трубопроводе, а также в нем отсутствует возможность дистанционного управления процессом исследования многофазного потока.
Целью изобретения является сокращение времени проведения испытаний скважины и повышения точности измерения характеристик потока газожидкостной смеси, поступающей из нее.
Поставленная цель достигается тем, что в мобильный испытательный комплекс, содержащий электронный блок в составе датчика температуры, датчика давления, датчика емкости и функционального преобразователя, включающего в себя первый и второй аналого-цифровые преобразователи и постоянное запоминающее устройство, персональный компьютер, монитор и печатающее устройство, при этом информационные (электрические) выходы датчиков температуры и емкости подключены соответственно ко входам первого и второго аналого-цифровых преобразователей, выходы которых подключены соответственно к первому и второму входам постоянного запоминающего устройства, вход-выход которого соединен с первым входом-выходом персонального компьютера, второй и третий входы-выходы которого подключены соответственно к входам-выходам монитора и печатающего устройства, введены линия приема газожидкостной смеси, сепаратор, предназначенный для разделения поступающего потока на две фазы – газовую и водонефтяную, последовательно соединенные по текучей среде фильтр и многофазный расходомер, счетчик газа, в состав электронного блока дополнительно введены датчик газа и датчик проводимости, в состав функционального преобразователя дополнительно введены третий, четвертый и пятый аналого-цифровые преобразователи, а также введены клавиатура, система связи, включающая в себя спутниковый телефон с антенной, спутниковый ретранслятор с антенной системой, наземную станцию спутниковой связи с антенной системой, модем и абонентскую станцию подвижной радиосвязи с антенной, диспетчерский пункт с персональным компьютером, при этом выход линии приема газожидкостной смеси по текучей среде соединен со входом сепаратора, вывод газовой фазы которого через счетчик газа соединен с первым входом линии приема газожидкостной смеси, выход сепаратора по текучей среде через фильтр соединен со входом многофазного расходомера, вывод водонефтяной фазы которого соединен со вторым входом линии приема газожидкостной смеси, первый, второй и третий выходы многофазного расходомера посредством электрических связей соединены со входами соответственно датчика емкости, датчика давления и датчика проводимости, выходы датчика давления и датчика проводимости через третий и четвертый аналого-цифровые преобразователя подключены соответственно к первому и второму дополнительным входам постоянного запоминающего устройства, третий дополнительный вход которого через пятый аналого-цифровой преобразователь соединен с выходом датчика газа, вход которого посредством электрической связи соединен с информационным выходом счетчика газа, вход-выход клавиатуры соединен с четвертым входом-выходом персонального компьютера, управляющий выход которого соединен с управляющим входом линии приема газожидкостной смеси, пятый вход-выход персонального компьютера соединен с входом-выходом спутникового телефона системы связи, к высокочастотной части которого подключена антенна, соединенная по радиоинтерфейсу с антенной системой спутникового ретранслятора, соединенного по радиоинтерфейсу с наземной станцией спутниковой связи, соединенной посредством проводной линии связи с персональным компьютером диспетчерского пункта, шестой вход-выход персонального компьютера через модем соединен с канальным входом-выходом абонентской станции подвижной радиосвязи, высокочастотная часть которой соединена с антенной, установленной на телескопической мачте.
Персональный компьютер комплекса содержит системный блок, состоящий из материнской платы, на которой размещены микропроцессор, системная магистраль, оперативное запоминающее устройство, перепрограммируемое постоянное запоминающее устройство и контроллер клавиатуры, адаптера монитора, адаптера портов, контроллера дисков, контроллера дополнительных устройств, жесткого магнитного диска, дисковода для подключения гибкого магнитного диска, системное программное обеспечение и специальное прикладное программное обеспечение, поставляемое на накопителе на жестком магнитном диске, причем входы-выходы микропроцессора через системную магистраль соединены с входами-выходами оперативного запоминающего устройства, перепрограммируемого постоянного запоминающего устройства, адаптера монитора, адаптера портов, контроллера дисков, контроллера клавиатуры и контроллера дополнительных устройств, вход-выход системной магистрали по шине данных соединен с входом-выходом постоянного запоминающего устройства функционального преобразователя, вторые входы-выходы адаптера монитора соединены с входами-выходами монитора, вторые входы-выходы адаптера портов соединены с входами-выходами печатающего устройства, вторые входы-выходы контроллера дисков подключены к соответствующим входам-выходам дисковода и жесткого магнитного диска, вторые входы-выходы контроллера клавиатуры соединены с входами-выходами клавиатуры, вторые входы-выходы контроллера дополнительных устройств соединены с канальным входом-выходом спутникового телефона, при этом вход-выход системной магистрали по шине данных является первым входом-выходом персонального компьютера, вторым, третьим, четвертым и пятым входами-выходами которого являются вторые входы-выходы соответственно адаптера монитора, адаптера портов, контроллера дополнительных устройств и контроллера клавиатуры, шестым входом-выходом персонального компьютера является третий вход-выход контроллера дополнительных устройств, соединенного с входом-выходом модема, управляющим выходом персонального компьютера является выход системной магистрали по шине управления, соединенный с управляющим входом линии приема газожидкостной смеси.
Специальное программное обеспечение комплекса содержит управляемую программу для автоматического измерения характеристик потока газожидкостной смеси и вычисления объема, количества и расхода нефти и газа на основе проверенных в производстве формул.
Комплекс отличается тем, что для обеспечения транспортировки и повышения мобильности он размещен в цельнометаллическом кузове-фургоне на шасси автомобиля повышенной проходимости, при этом кузов-фургон разделен на два отсека: передний отсек с боковой дверью для входа в него и задний отсек с оборудованной входной дверью, причем в заднем отсеке размещены линия приема газожидкостной смеси, многофазный расходомер и электронное оборудование, в переднем отсеке оборудованы рабочие места с установленными на них персональным компьютером, монитором, принтером и клавиатурой, спутниковым телефоном, модемом и абонентской станцией подвижной радиосвязи, а телескопическая мачта и антенна абонентской станции подвижной радиосвязи размещены снаружи кузова-фургона.
Заявляемая совокупность элементов и связей позволяет достичь поставленной цели за счет оригинального сочетания используемых в телеметрических системах и системах связи аппаратуры, оборудования и устройств как в их прямом, так и в нестандартном применении.
При изучении известных технических решений в данной области техники совокупность признаков, отличающих заявляемый объект, не была выявлена. Предлагаемое решение существенно отличается от известных.
Заявляемое решение явным образом не следует из уровня техники и имеет изобретательский уровень.
Заявляемый мобильный испытательный комплекс может быть реализован с использованием существующих в телеметрии, компьютерных сетях и системах связи средств, аппаратуры и оборудования и является промышленно применимым.
Сопоставительный анализ с прототипом показывает, что заявляемый мобильный испытательный комплекс отличается наличием новых блоков: линии приема газожидкостной смеси, сепаратора, многофазного расходомера, счетчика газа, датчика проводимости, датчика газа, трех дополнительных аналого-цифровых преобразователей в составе электронного блока, клавиатуры для персонального компьютера, системы связи в составе спутникового телефона с антенной, спутникового ретранслятора с антенной системой и абонентской станции спутниковой связи с антенной системой и диспетчерского пункта с персональным компьютером, а также изменением их связей с остальными элементами схемы и размещением аппаратуры и оборудования комплекса в кузове-фургоне на шасси автомобиля повышенной проходимости для обеспечения быстрой доставки комплекса в районы нахождения скважин или места прохождения трубопроводов.
Эти отличия позволяют сделать вывод о соответствии заявляемых технических решений критерию “новизна”. Признаки, отличающие заявляемое техническое решение от прототипа, не выявлены в других технических решениях при изучении данной и смежных областей техники и, следовательно, обеспечивают заявляемым решениям соответствие критерию “существенные отличия”.
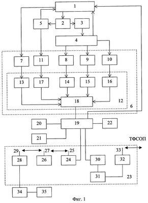
На фиг.1 представлена функциональная схема мобильного испытательного комплекса, на фиг.2 и 3 приведены структурные схемы персонального компьютера и спутникового телефона, а на фиг.4 показаны общий вид мобильного испытательного комплекса и размещение оборудования в заднем отсеке кузова-фургона на шасси автомобиля повышенной проходимости.
Предлагаемый мобильный испытательный комплекс содержит (см. фиг.1) линию 1 приема газожидкостной смеси, сепаратор 2, фильтр 3, многофазный расходомер 4, счетчик газа 5, электронный блок 6 в составе датчика температуры 7, датчика давления 8, датчика емкости 9, датчика проводимости 10, датчика газа 11 и функционального преобразователя 12, состоящего из первого 13, второго 14, третьего 15, четвертого 16, пятого 17 аналого-цифровых преобразователей (АЦП) и постоянного запоминающего устройства (ПЗУ) 18, персональный компьютер 19, монитор 20, клавиатуру 21, печатающее устройство 22, систему связи 23 в составе спутникового телефона 24 с антенной 25, спутникового ретранслятора 26 с антенной системой 27, наземную станцию 28 спутниковой связи с антенной системой 29, модема 30, абонентской станции 31 подвижной радиосвязи с установленной на телескопической мачте 32 антенной 33 и диспетчерский пункт 34 с персональным компьютером 35.
Персональный компьютер 19 содержит (см. фиг.2) системный блок 36 в составе материнской платы 37, на которой размещены микропроцессор 38, системная магистраль 39, оперативное запоминающее устройство 40, перепрограммируемое постоянное запоминающее устройство 41 и контроллер клавиатуры 42, адаптера монитора 43, адаптера портов 44, контроллера дисков 45, контроллера дополнительных устройств 46, жесткого магнитного диска 47, дисковода 48 для подключения гибкого магнитного диска, системного программного обеспечения 49 и специального прикладного программного обеспечения 50, поставляемого на жестком магнитном диске 47.
Спутниковый телефон содержит (см. фиг.3) микрофон 51, аналого-цифровой преобразователь 52, микропроцессор 53, память 54, дисплей 55, клавиатуру 56, приемопередатчик 57, блок фильтров 58, к которому подключена антенна 25, цифроаналоговый преобразователь 59, громкоговоритель 60, кодек 61, блок интерфейсов 62 и SIM-карту 63.
Мобильный испытательный комплекс размещен (см. фиг.4) в кузове-фургоне, установленном на шасси автомобиля повышенной проходимости, при этом кузов-фургон разделен на два отсека: передний отсек, имеющий боковую дверь для входа в отсек, и задний отсек с входной дверью, в котором размещены линия приема 1 газожидкостной смеси, сепаратор 2, фильтр 3, многофазный расходомер 4, счетчик газа 5, электронный блок 6 в составе датчика температуры 7, датчика емкости 8, датчика давления 9, датчика проводимости 10 и датчика газа 11, в переднем отсеке размещены функциональный преобразователь 12 в составе первого 13, второго 14, третьего 15, четвертого 16 и пятого 17 аналого-цифровых преобразователей и постоянного запоминающего устройства 18, персональный компьютер 19, монитор 20, клавиатура 21, печатающее устройство 22, система связи 23 в составе спутникового телефона 24 с антенной 25, абонентской станции подвижной радиосвязи 31 и модема 30, а телескопическая мачта 32 с установленной на ней антенной 33 размещены снаружи кузова-фургона. Спутниковый ретранслятор 26 с антенной системой 27 размещен на космическом аппарате, а абонентская станция спутниковой связи 28 с антенной системой 29 располагаются вблизи диспетчерского пункта 34, на рабочем месте которого размещен персональный компьютер 35.
Выход линии приема 1 газожидкостной смеси по текучей среде соединен со входом сепаратора 2, вывод газовой фазы которого через счетчик газа 5 соединен с первым входом линии приема 1 газожидкостной смеси, выход сепаратора 2 по текучей среде через фильтр 3 соединен со входом многофазного расходомера 4, вывод водонефтяной фазы которого соединен со вторым входом линии приема 1 газожидкостной смеси, первый, второй и третий выходы многофазного расходомера 4 посредством электрических связей соединены со входами соответственно датчика емкости 8, датчика давления 9 и датчика проводимости 10. Выход линии приема 1 газожидкостной смеси через датчик температуры 7 соединен со входом первого 13 аналого-цифрового преобразователя, выход которого соединен с первым входом постоянного запоминающего устройства 18, второй вход которого через второй 14 аналого-цифровой преобразователь соединен с выходом датчика емкости, выходы датчика давления 9 и датчика проводимости 10 через третий 15 и четвертый 16 аналого-цифровые преобразователи подключены соответственно к первому и второму дополнительным входам постоянного запоминающего устройства 18, третий дополнительный вход которого через пятый 17 аналого-цифровой преобразователь соединен с выходом датчика газа 7, вход которого посредством электрической связи соединен с информационным выходом счетчика газа 5, вход-выход клавиатуры 21 соединен с четвертым входом-выходом персонального компьютера 19, управляющий выход которого соединен с управляющим входом линии приема 1 газожидкостной смеси, пятый вход-выход персонального компьютера 19 соединен с входом-выходом спутникового телефона 24 системы связи, к высокочастотной части которого подключена антенна 25, соединенная по радиоинтерфейсу с антенной системой 27 спутникового ретранслятора 26, соединенного по радиоинтерфейсу с антенной системой 29 наземной станции спутниковой связи 28, соединенной посредством проводной линии связи с персональным компьютером 35 диспетчерского пункта 34, шестой вход-выход персонального компьютера 19 через модем 30 соединен с канальным входом-выходом абонентской станции подвижной радиосвязи 31, высокочастотная часть которой соединена с антенной 33, установленной на телескопической мачте 32.
Входы-выходы микропроцессора 38 материнской платы 37 системного блока 36 через системную магистраль 39 соединены с входами-выходами оперативного запоминающего устройства 40, перепрограммируемого постоянного запоминающего устройства 41, адаптера монитора 42, адаптера портов 43, контроллера клавиатуры 44, контроллера дисков 45 и контроллера дополнительных устройств 46, вход-выход системной магистрали 39 по шине данных соединен с входом-выходом постоянного запоминающего устройства 18 функционального преобразователя 12 электронного блока 6. Вторые входы-выходы адаптера монитора 42 соединены с входами-выходами монитора 20, вторые входы-выходы адаптера портов 43 соединены с входами-выходами печатающего устройства 22, вторые входы-выходы контроллера клавиатуры 44 соединены с входами-выходами клавиатуры 21, вторые входы-выходы контроллера дисков 45 подключены к соответствующим входам-выходам дисковода 48 и жесткого магнитного диска 47, вторые входы-выходы контроллера дополнительных устройств 46 соединены с канальным входом-выходом спутникового телефона 24. Вход-выход системной магистрали 39 по шине данных является первым входом-выходом персонального компьютера 18, вторым, третьим, четвертым и пятым входами-выходами которого являются вторые входы-выходы соответственно адаптера монитора 42, адаптера портов 43, контроллера дополнительных устройств 46 и контроллера клавиатуры 44, шестым входом-выходом персонального компьютера 19 является третий вход-выход контроллера дополнительных устройств 46, соединенного с входом-выходом модема 30, управляющим выходом персонального компьютера 19 является выход системной магистрали 39 по шине управления, соединенный с управляющим входом линии приема 1 газожидкостной смеси.
Выход микрофона 51 спутникового телефона 24 через аналого-цифровой преобразователь 52 соединен с первым входом микропроцессора 53, к первому, второму и третьему входам-выходам которого подключены соответственно память 54, дисплей 55 и клавиатура 56, выход микропроцессора соединен с канальным входом приемопередатчика 57, выход высокочастотной части которого соединен со входом блока фильтров 58, к которому подключена приемопередающая антенна 25, выход блока фильтров 58 соединен со входом высокочастотной части приемопередатчика 57, канальный выход которого соединен со вторым входом микропроцессора 53, второй выход которого через цифроаналоговый преобразователь 59 соединен со входом громкоговорителя 60, четвертый, пятый и шестой входы-выходы микропроцессора 53 подключены соответственно к входам-выходам кодека 61, блока интерфейсов 62 и SIM-карты 63, второй вход-выход кодека 61 соединен со вторым входом-выходом блока интерфейсов 62, при этом третий вход-выход блока интерфейсов 62 является канальным входом-выходом спутникового телефона 24 и по стыку RS-232 соединен с пятым входом-выходом персонального компьютера 19.
Линия приема 1 газожидкостной смеси мобильного испытательного комплекса может быть выполнена в виде блока, содержащего пробоотборное устройство, включающее в себя установленный в напорном трубопроводе полый корпус, внутри которого расположен поворотный орган управления потоком многокомпонентной газожидкостной среды, камеру отбора с впускными электромеханическими клапанами, запорный орган с расположенным внутри корпуса приводным клапаном отбора пробы, рукояткой и направляющей трубкой. Управление впускным электромеханическим клапаном камеры отбора линии приема 1 газожидкостной смеси может осуществляться вручную посредством рукоятки и/или дистанционно путем воздействия на клапан электрическими сигналами от персонального компьютера 19.
Сепаратор 2 предназначен для разделения поступающей с линии приема 1 газожидкостной смеси на две фазы: газовую фазу и водонефтяную фазу, при этом газовая фаза передается на вход счетчика газа 5, а водонефтяная фаза поступает на вход фильтра 3. В качестве такого сепаратора 2 может быть использован любой из выпускаемых промышленностью сепараторов, например CDS-Gasunie.
Фильтр 3 предназначен для улавливания стойких механических примесей в газожидкостной смеси, поступающей из сепаратора 2, и обеспечения защиты многофазного расходомера 4 от песка и мелких твердых предметов, которые могут повлиять на чистоту внутренней поверхности расходомера и ухудшить точность измерений.
Многофазный расходомер 4 предназначен для измерения компонентов потока, поступающего из скважины. В качестве такого расходомера может быть использован мультифазный счетчик Top Flow, представляющий собой прочную трубу Вентури с удлиненной горловиной, в которой установлены электроды, использующие емкость и активную проводимость для определения компонентов потока газожидкостной смеси, а также содержащего датчик давления, посредством которого определяется перепад давления, используемого для измерения плотности отдельных компонентов потока, проходящего через трубу Вентури. Он представляет собой измеритель, объединяющий в себе серийные и подтвержденные технологии измерения в одном компактном блоке.
Датчик представляет собой прочную трубу Вентури с удлиненной горловиной и электродами, использующими емкость и активную проводимость и установленными в горловине трубы Вентури. Преобразователь перепада давления используется для измерения плотности отдельных компонентов потока, поступающего из скважины. Этот новый подход к измерению плотности жидкости исключает необходимость в радиоактивном источнике, обычно используемом в расходомерах этого типа.
Измеритель Top Flow охватывает широкий диапазон измерений, включая все значения содержания воды, солей, вязкости и режимы протекания без необходимости кондиционирования потока до и после измерителя. С его помощью обеспечивается оперативный сбор данных по выходным сигналам измерителя и обнаружение неисправностей для рабочих параметров. Способность мультифазного счетчика Top Flow измерять плотность жидкости в отсутствие радиоактивного источника обладает преимуществами, касающимися здоровья, безопасности и состояния окружающей среды.
Приведенные выше параметры регистрируются в цифровой форме и могут отображаться на дисплее монитора бортового компьютера для контроля результатов измерений непосредственно в процессе каротажа.
Счетчик газа 5 предназначен для определения объема и массы газа в поступающем из скважины многофазном потоке, необходимых для учета расхода и выявления потенциальных возможностей скважины. В качестве такого счетчика может быть использован турбинный счетчик газа СГ-16М, ротационный счетчик типа RVG или устройство для измерения перемещения жидкости или газа в трубопроводе, выполненное по патенту №2234682.
Электронный блок 6 в составе датчика температуры 7, датчика емкости 8, датчика давления 9, датчика проводимости 10 и датчика газа 11, функционального преобразователя 12, включающего в себя первый 13, второй 14, третий 15, четвертый 16 и пятый 17 аналого-цифровые преобразователи, а также постоянного запоминающего устройства 18 предназначен для осуществления постоянного контроля состояния многофазного потока, преобразования параметров потока в значения величин и хранения их для последующего использования при проведении расчетов характеристик компонентов потока.
В качестве датчика температуры 7 могут быть использованы термопреобразователи, имеющие встроенный измерительный преобразователь и обеспечивающие преобразование измеряемой температуры в унифицированный токовый выходной сигнал с возможностью передачи его на персональный компьютер.
Датчики емкости 8 и проводимости 10 выполнены в виде электродов, встроенных в трубу Вентури многофазного расходомера 4, а датчиком давления 9 является коническая часть трубы Вентури, с электродов которой и снимаются показания в виде дифференциального давления, расчеты которого будут приведены ниже.
В качестве датчика газа 11 может быть использован ультразвуковой счетчик газа “Газдевайс”, например, типа УБСГ или АГАТ, которые обеспечивают автоматический подсчет показаний с учетом температуры и давления или плотности газа и выдачу данных на персональный компьютер.
Персональный компьютер 19 предназначен для проведения всех видов расчетов характеристик, суммарного расхода по данным контроля состояния потока и управления самим процессом проведения испытаний скважины.
Персональный компьютер 19 может быть выполнен с использованием унифицированных модулей отечественного производства общего применения для ЭВМ “Багет”, состав которых приведен в [6], или интеллектуальных модулей ввода/вывода, например, серии DCS-2000, а также в качестве такого компьютера может быть использован портативный компьютер типа Notebook, имеющий жидкокристаллический дисплей и встроенную клавиатуру взамен отдельно имеющихся монитора 20 и клавиатуры 21. В качестве печатающего устройства 22 может быть использован малогабаритный принтер фирмы Toshiba. Устройство 22 предназначено для отпечатывания результатов измерений и принятых по каналам связи команд и сообщений.
В компьютере 19 используется операционная система реального времени OS9, которая позволяет производить все виды расчетов расхода, суммарного расхода и осуществлять управление всем процессом исследований. Взаимодействие между блоками осуществляется с использованием стандарта TCP/IP. Также имеется интерфейс оператора на базе PC для отдельных операций с использованием связи LAN/WAN, основанной на стандарте TCP/IP, или протокола RS-232. В дополнение имеются несколько протоколов интерфейсов для связи с системой SCADA. Программа совместима с датчиками температуры, давления, емкости, проводимости и газа.
Система связи 23 предназначена для передачи полученных результатов испытаний в центр анализа и обработки информации, находящийся на значительном удалении от места проведения испытаний, а также в местные пункты сбора данных. В первом случае для этого используется система спутниковой связи, включающая спутниковый телефон 24 с антенной 25, спутниковый ретранслятор 26 с антенной системой 27 и наземная станция спутниковой связи 28 с антенной системой 29, находящаяся вблизи диспетчерского пункта 34, имеющего в своем составе персональный компьютер 35.
Спутниковый телефон 24 представляет собой малогабаритную конструкцию со встроенной антенной 25, не требующей ориентации на спутник (спутниковый ретранслятор 26 с антенной системой 27). Спутниковый телефон обладает простой системой управления. Набор номера производится с помощью кнопочного наборного поля. Система автоматически находит свободный канал и закрепляет его на время разговора. В таких телефонах, как правило, используется частотное или временное уплотнение (разделение) каналов. По каналу связи спутникового телефона 24 обеспечивается телефонная связь и передача данных. В качестве спутникового телефона 24 может быть использован телефон системы Globalstar типа GSP 1410.
Наземная станция спутниковой связи 28 с антенной системой 29 предназначены для организации канала оперативной передачи данных измерений в центр анализа и обработки информации – в диспетчерский пункт 34 или центр управления. В качестве такой станции 28 может быть использована любая из серийно выпускаемых отечественной промышленностью станций, структура и технические возможности которых приведены в [7].
Антенная система 29 станции спутниковой связи 28 включает в свой состав приемопередающую антенну, представляющую собой, например, однозеркальную параболическую антенну, состоящую из зеркала с облучающей системой, опорно-поворотное устройство и аппаратуру наведения.
Модем 30 предназначен для преобразования сигналов тональной частоты в цифровую форму и обратного преобразования из цифровой формы в аналоговый сигнал тональной частоты для обеспечения работы персонального компьютера 19 по стандартным каналам связи (спутникового телефона 24 или абонентской станции подвижной радиосвязи 31) через интерфейс по стыку RS-232 со скоростью передачи 1200 и 2400 бит/с.В качестве такого блока могут быть использованы модемы тональной частоты типа “Модем-1200” или “Модем-2400”.
Абонентская станция подвижной радиосвязи 31 совместно с антенной 33, установленной на телескопической мачте 32, предназначена для организации выхода в сеть подвижной радиосвязи с целью обеспечения по образованному каналу телефонной связи и передачи данных абонентам местной телефонной сети в случае возникновения аварийных ситуаций на исследуемых скважинах, а также для организации взаимодействия с администрацией соответствующего региона или района. В качестве такой станции может быть использована, например, абонентская станция Р-169 ВМ из комплекса радиостанций Р-169, структурная схема и технические возможности которой приведены в [8].
Принцип работы мобильного испытательного комплекса заключается в следующем.
Многофазный поток газожидкостной смеси через линию приема 1 поступает на вход сепаратора 2, который осуществляет разделение многофазного потока на две фазы: газовую и водонефтяную. Газовая фаза с выхода сепаратора 2 через счетчик газа 5 поступает на первый вход линии приема 1 газожидкостной смеси.
Счетчик газа 5 производит подсчет объема газа, проходящего через него, и выдачу параметров на вход датчика газа 7, сигналы с выхода которого через пятый 17 аналого-цифровой преобразователь поступают в постоянное запоминающее устройство 18 для хранения и последующей выдачи данных в персональный компьютер 19 для анализа и обработки.
Водонефтяная фаза со второго выхода сепаратора 2 через фильтр 3 поступает на вход многофазного расходомера 4, в котором производится подсчет объемного и массового расхода водонефтяной фазы газожидкостной смеси, поступающей из скважины. При этом расчет определяют методом переменного перепада давления. Принцип метода состоит в том, что в горловине трубы Вентури, по которой протекает среда, выполнено сужение, обеспечивающее также и сужение потока смеси. Вследствие перехода части потенциальной энергии потока в кинетическую средняя скорость в суженном сечении трубы повышается, в результате чего статическое давление в этом сечении становится меньше статического давления перед участком сужения. Разность этих давлений тем больше, чем больше расход протекающей среды, и, следовательно, она может служить мерой расхода.
На основании известных математических выражений, зная величину дифференциального давления dP и скорость потока V, можно определить плотность потока Рс как частное от деления дифференциального давления dP на квадрат скорости V по формуле

На основании полученного значения плотности потока могут быть рассчитаны объем и соответственно масса водонефтяной фазы газожидкостной смеси по известному соотношению между плотностью потока, объемом и площадью сечения в суженной части трубы Вентури.
Действительный массовый расход среды получается меньше рассчитанного по теоретическому уравнению. Корректировка результатов осуществляется с учетом поправочных коэффициентов, которые учитывают состав смеси и соотношения между водяной и нефтяной фракциями. Эту корректировку проводят по результатам измерения емкости и активной проводимости, значения величин которых снимаются с датчиков емкости 8 и проводимости 10, выполненных в виде электродов, установленных в канале трубы Вентури.
Полученные результаты измерений емкости, проводимости и давления через постоянное запоминающее устройство 18 поступают в персональный компьютер 19, микропроцессор 38 которого на основании полученных данных производит расчеты соответствующих индивидуальных компонентов (объема, массы и плотности) многофазного потока с помощью встроенного в компьютер 19 специального прикладного программного обеспечения, которое обеспечивает управление файлами отчетов, графическое отображение всех параметров и статический анализ с выводом результатов измерения на монитор 20 и отпечатывание их с помощью печатающего устройства 22. При этом взаимодействие между постоянным запоминающим устройством 18, в котором хранятся снятые с датчиков данные измерений температуры, емкости, давления, проводимости и параметров газа, и персональным компьютером 19 осуществляется по двум стыкам RS-232 и RS-485. Для этих целей используется программа управления технологическим процессом типа SCADA. При этом программное обеспечение рассчитано на операционную систему Windows NT и включает в себя утилиту формирования конфигурационных файлов для модема 30.
Расчеты массового и объемного расхода нефти, газа и воды в многофазном потоке скважины производятся на основании заложенных в программу математических выражений и с использованием дополнительных расчетных соотношений и графических зависимостей в процентном отношении между фракциями газожидкостной смеси.
Для осуществления передачи данных через коммутируемое соединение каналов с использованием каналов спутниковой системы связи стандарта AMPS цифровые данные должны сначала преобразовываться в тональные сигналы с использованием отдельного модема или платы ПК-модема. Модем используется также при осуществлении связи через стандартную проводную коммутируемую телефонную сеть общего пользования (КТСОП).
Передача данных с персонального компьютера 19 в диспетчерский пункт 34 осуществляется по каналу спутниковой системы связи с использованием как протокола AMPS (для систем с частотным разделением каналов), так и протокола МДКР (системы множественного доступа с кодовым разделением каналов) через спутниковый телефон 24 с антенной 25. Передаче данных предшествует установление соединения по каналу и ведение телефонной связи.
Спутниковый телефон 24 активизируется путем нажатия кнопки питания. Для передачи речевого сообщения оператор вводит с помощью клавишной панели требуемый телефонный номер и затем нажимает кнопку передачи. При передаче данных требуемый номер телефона выдается персональным компьютером 19 и функция передачи автоматически активизируется спутниковым телефоном 24.
Телефонная связь по каналу спутниковой связи осуществляется следующим образом. Передача речи производится с помощью микрофона 51 спутникового телефона 24. При этом аналоговый сигнал с выхода микрофона 51 поступает на вход аналого-цифрового преобразователя 52, который преобразует его в цифровую форму и передает на вход микропроцессора 53. В микропроцессоре 53 происходит формирование информационного цифрового сигнала, который с выхода микропроцессора 53 поступает в приемопередатчик 57, где происходит преобразование его с помощью модулирующего сигнала и формирование радиосигнала, который после усиления до необходимого уровня через блок фильтров 58 поступает в антенну 25. С выхода антенны 25 сигнал по радиоинтерфейсу поступает в антенную систему 27 спутникового ретранслятора 26 и через нее передается на антенную систему 29 наземной станции спутниковой связи 28. После обработки принятый наземной станцией спутниковой связи 28 сигнал поступает на оконечное переговорное устройство станции или передается по проводной линии непосредственно на персональный компьютер 35 диспетчерского пункта 34.
Ответ оператора с диспетчерского пункта с персонального компьютера 35 по проводной линии поступает в наземную станцию спутниковой связи 28 и воспринимается антенной 25 спутникового телефона 24. Принятый антенной 25 сигнал через блок фильтров 58 поступает на вход приемопередатчика 57, где происходит преобразование радиосигнала в вид, необходимый для приема микропроцессором 53, в котором осуществляется формирование информационного цифрового сигнала и передача его на вход цифроаналогового преобразователя 59, где происходит преобразование цифрового сигнала в аналоговую форму и восстановление речевого сигнала с последующим усилением, который воспринимается громкоговорителем 60.
Для передачи данных телефонный номер выдается персональным компьютером 19 либо из устройства памяти, содержащегося в нем, либо с помощью пользовательского ввода с клавиатуры 21 персонального компьютера 19. Телефонный номер пересылается в спутниковый телефон 24 с помощью платы ПК-модема. Спутниковый телефон 19 осуществляет контакт с наземной станцией спутниковой связи 28 через спутниковый ретранслятор 26 для получения канала трафика с использованием протокола МДКР. После того как канал трафика получен, спутниковый телефон 24 передает соответствующие сигналы к плате ПК-модема, идентифицирующей канал как канал режима МДКР. Спутниковый телефон 24 также обеспечивает размещение телефонного вызова с использованием канала трафика на требуемый телефонный номер.
После того как осуществлено соединение телефонного вызова, данные, подлежащие передаче с персонального компьютера 19, пересылаются в плату ПК-модема в виде сигналов передачи данных. Плата ПК-модема преобразует принятые сигналы данных в сигналы RS-232E для передачи по кабелю межсоединения в спутниковый телефон 24. Спутниковый телефон 24 преобразует принятые сигналы RS-232E в сигналы, соответствующие передаче в режиме МДКР, и затем с помощью антенны 25 через антенную систему 27 спутникового ретранслятора 26 передает сигналы к наземной станции спутниковой связи 28, с выхода которой сигналы поступают на диспетчерский пункт 34 в персональный компьютер 35.
Ответные сигналы, принимаемые спутниковым телефоном 24, преобразуются в нем в обычные сигналы данных для последующей пересылки в персональный компьютер 19.
В режиме AMPS сигналы, принятые платой ПК-модема от персонального компьютера, преобразуются в ИКМ-сигналы и пересылаются в спутниковый телефон 24 по линиям ИКМ кабеля межсоединения. Спутниковый телефон 24 преобразует ИКМ-сигналы в сигналы протокола AMPS для передачи к наземной станции спутниковой связи 28. Ответные сигналы режима AMPS преобразуются спутниковым телефоном 24 в ИКМ сигналы, пересылаются по кабелю межсоединения в плату ПК-модема для преобразования в модулированные сигналы данных для последующей пересылки к персональному компьютеру 19.
Плата ПК-модема обычно включает в себя систему AT-управления, блок обработки данных, модем, кодек и блок преобразования уровня, а также содержит последовательный порт и ИКМ-порт для соединения с соответствующими линиями кабеля межсоединения. Система AT-управления, блок обработки данных, модем и кодек совместно образуют средство для преобразования сигналов данных, принимаемых от персонального компьютера 19, в сигналы стандарта RS-232E для передачи к спутниковому телефону 24 в режиме МДКР.
Сигналы принимаются в спутниковом телефоне 24 через последовательный порт и пересылаются в преобразователь протокола RS-232 в протокол МДКР. Сигналы RS-232E преобразуются в сигналы протокола МДКР для маршрутизации в приемопередатчик 57 для последующей передачи с помощью антенны 25. Ответные сигналы МДКР проходят по противоположному пути для преобразования в спутниковом телефоне 24 в сигналы RS-232 и для преобразования в плате ПК-модема в сигналы, пригодные для передачи в персональный компьютер 19. Описанные функции передачи данных в спутниковом телефоне 24 обеспечиваются за счет аппаратных средств и программного обеспечения, реализующих соответствующее преобразование, требуемое для обработки сигналов RS-232E и ИКМ-сигналов. Необходимые форматирование, сжатие и иная обработка передаваемых данных осуществляется в соответствии с одним из множества стандартов, таких как V42.bis, TCP, IP и РРР.
Данные, принимаемые от персонального компьютера 19, пересылаются через процессор AT/IS-99 команд, который направляет соответствующие команды по кабелю межсоединения в спутниковый телефон 24 через порт соединения последовательной передачи для установки канала трафика.
Телефонная связь и передача данных по каналу связи абонентской станции подвижной радиосвязи 31 осуществляется через модем 30, подключенный цифровым входом-выходом по стыку RS-232 к персональному компьютеру 19. Для установления соединения по каналу станции подвижной радиосвязи 31 телефонный номер вызываемого абонента выдается персональным компьютером 19 либо из устройства памяти, содержащегося в нем, либо с помощью пользовательского ввода с клавиатуры 21 персонального компьютера 19. Телефонный номер в цифровом виде подается с выхода персонального компьютера 19 на вход модема 30, в котором осуществляется преобразование данных телефонного номера в модулированные сигналы и передача их на канальный вход абонентской станции подвижной радиосвязи 31. В станции 31 происходит преобразование принятых модулированных сигналов в радиосигналы и излучение с помощью антенны 33. Для повышения дальности радиосвязи антенну 33 станции 31 размещают на телескопической мачте 32. С выхода антенны 33 по радиоинтерфейсу сигналы вызова абонента поступают на базовую станцию подвижной радиосвязи и через нее на аналогичную абонентскую станцию, включенную в автоматическую телефонную станцию телефонной сети общего пользования (ТСОП). Ответ вызываемого абонента проходит по обратному тракту, принимается персональным компьютером 19 и выдается на плату голосовой связи.
Передача данных по каналу абонентской станции 31 подвижной радиосвязи осуществляется аналогично изложенному для канала спутниковой связи с использованием протокола AMPS (для систем с частотным разделением каналов). Тракт для передачи данных организуется через модем 30, как описано выше.
Техническая эффективность предлагаемого мобильного испытательного комплекса заключается в сокращении времени проведения цикла испытаний скважины, находящейся в эксплуатации, и повышении точности измерения параметров многофазного потока. Повышение точности измерения характеристик многофазного потока достигается за счет использования метода исследования, основанного на одновременном измерении объема, массы и других параметров с помощью многофазного расходомера, сепаратора и счетчика газа.
Достоинством мобильного комплекса является и то, что его использование позволяет осуществлять непрерывный контроль расхода нефти, газа и воды без закрытия скважины как при местном управлении процессом испытаний, так и дистанционно с диспетчерского пункта, удаленного на сотни и тысячи километров от исследуемых скважин или от места прохождения трубопровода. При дистанционном контроле обеспечивается также возможность оперативного вмешательства в процесс забора из скважины газожидкостной смеси при возникновении на ней аварийных ситуаций путем автоматического перекрытия доступа к измерительной системе поступающего потока.
Мобильный испытательный комплекс обеспечивает преимущества не только технического характера, такие как повышение производительности скважины за счет сокращения временных показателей испытаний с 10-30 часов (при стационарном исследовании) до 4 часов (при использовании предлагаемого комплекса), но и материально-финансового характера, включающие значительно меньшие затраты на монтаж и эксплуатацию. Это обусловлено тем, что системы комплекса нуждаются в минимальном техническом обслуживании или не требуют его вовсе.
В процессе проведенных испытаний предлагаемого комплекса были получены результаты, подтверждающие точность измерений, сравнимую с данными, которые получены с помощью контрольного сепаратора. При этом точность измерений для различного состава многофазного потока улучшена с 10-20 процентов до 2-4 процентов.
Источники информации
1. SU, авт. свид.-во №410353, кл. G01V 5/00, E21B 47/00, 1974.
2. RU, патент №2232409, кл. Е21В 47/00, G01V 5/00, 2004.
3. RU, патент №2232267, кл. Е21В 47/04, G01F 23/296, 2004.
4. RU, патент на полезную модель №33603, кл. Е21В 47/00, 2003.
5. US, патент №3817328, кл. Е21B 47/00, НКИ 166-250, 1976.
6. Семейство ЭВМ “Багет”. – М.: КБ “Корунд-М”, а/я 10.
7. Спутниковая связь и вещание: Справочник. – 3-е изд., перераб. и доп. / В.А.Бартенев, Г.В.Болотов, В.Л.Быков и др. Под ред. Л.Я.Кантора. – М.: Радио и связь, 1997.
8. Комплекс радиосредств Р-169. ОАО “Рязанский радиозавод”, 2002.
9. Фигурнов В.Э. IBM PC для пользователя. Изд. 6-е перераб. и доп. – М.: ИНФРА-М, 1996.
Формула изобретения
1. Мобильный испытательный комплекс, содержащий электронный блок в составе датчика температуры, датчика давления, датчика емкости и функционального преобразователя, включающего в себя первый и второй аналого-цифровые преобразователи и постоянное запоминающее устройство, персональный компьютер, монитор и печатающее устройство, при этом информационные (электрические) выходы датчиков температуры и емкости подключены соответственно ко входам первого и второго аналого-цифровых преобразователей, выходы которых подключены соответственно к первому и второму входам постоянного запоминающего устройства, вход-выход которого соединен с первым входом-выходом персонального компьютера, второй и третий входы-выходы которого подключены соответственно к входам-выходам монитора и печатающего устройства, отличающийся тем, что в него введены линия приема газожидкостной смеси, сепаратор, предназначенный для разделения поступающего потока на две фазы – газовую и водонефтяную, последовательно соединенные по текучей среде фильтр и многофазный расходомер, счетчик газа, в состав электронного блока дополнительно введены датчик проводимости и датчик газа, в состав функционального преобразователя дополнительно введены третий, четвертый и пятый аналого-цифровые преобразователи, а также введены клавиатура, система связи, включающая в себя спутниковый телефон с антенной, спутниковый ретранслятор с антенной системой, наземную станцию спутниковой связи с антенной системой, модем и абонентскую станцию подвижной радиосвязи с установленной на телескопической мачте антенной, диспетчерский пункт с персональным компьютером, при этом выход линии приема газожидкостной смеси по текучей среде соединен со входом сепаратора, вывод газовой фазы которого через счетчик газа соединен с первым входом линии приема газожидкостной смеси, выход сепаратора по текучей среде через фильтр соединен со входом многофазного расходомера, вывод водонефтяной фазы которого соединен со вторым входом линии приема газожидкостной смеси, первый, второй и третий выходы многофазного расходомера посредством электрических связей соединены со входами соответственно датчика емкости, датчика давления и датчика проводимости, выходы датчика давления и датчика проводимости через третий и четвертый, аналого-цифровые преобразователя подключены соответственно к первому и второму дополнительным входам постоянного запоминающего устройства, третий дополнительный вход которого через пятый аналого-цифровой преобразователь соединен с выходом датчика газа, вход которого посредством электрической связи соединен с информационным выходом счетчика газа, вход-выход клавиатуры соединен с четвертым входом-выходом персонального компьютера, управляющий выход которого соединен с управляющим входом линии приема газожидкостной смеси, пятый вход-выход персонального компьютера соединен с входом-выходом спутникового телефона системы связи, к высокочастотной части которого подключена антенна, соединенная по радиоинтерфейсу с антенной системой спутникового ретранслятора, соединенного по радиоинтерфейсу с наземной станцией спутниковой связи, соединенной посредством проводной линии связи с персональным компьютером диспетчерского пункта, шестой вход-выход персонального компьютера через модем соединен с канальным входом-выходом абонентской станции подвижной радиосвязи, высокочастотная часть которой соединена с антенной, установленной на телескопической мачте.
2. Мобильный испытательный комплекс по п.1, отличающийся тем, что персональный компьютер содержит системный блок, состоящий из материнской платы, на которой размещены микропроцессор, системная магистраль, оперативное запоминающее устройство, перепрограммируемое постоянное запоминающее устройство и контроллер клавиатуры, адаптера монитора, адаптера портов, контроллера дисков, контроллера дополнительных устройств, жесткого магнитного диска, дисковода для подключения гибкого магнитного диска, системное программное обеспечение и специальное прикладное программное обеспечение, поставляемое на накопителе на жестком магнитном диске, причем входы-выходы микропроцессора через системную магистраль соединены с входами-выходами оперативного запоминающего устройства, перепрограммируемого постоянного запоминающего устройства, контроллера клавиатуры, адаптера монитора, адаптера портов, контроллера дисков и контроллера дополнительных устройств, вход-выход системной магистрали по шине данных соединен с входом-выходом постоянного запоминающего устройства функционального преобразователя, вторые входы-выходы контроллера клавиатуры соединены с входами-выходами клавиатуры, вторые входы-выходы адаптера монитора соединены с входами-выходами монитора, вторые входы-выходы адаптера портов соединены с входами-выходами печатающего устройства, вторые входы-выходы контроллера дисков подключены к соответствующим входам-выходам дисковода и жесткого магнитного диска, вторые входы-выходы контроллера дополнительных устройств соединены с канальным входом-выходом спутникового телефона, при этом вход-выход системной магистрали по шине данных является первым входом-выходом персонального компьютера, вторым, третьим, четвертым и пятым входами-выходами которого являются вторые входы-выходы соответственно адаптера монитора, адаптера портов, контроллера дополнительных устройств и контроллера клавиатуры, шестым входом-выходом персонального компьютера является третий вход-выход контроллера дополнительных устройств, соединенного с входом-выходом модема, управляющим выходом персонального компьютера является выход системной магистрали по шине управления, соединенный с управляющим входом линии приема газожидкостной смеси.
3. Комплекс по п.2, отличающийся тем, что специальное программное обеспечение содержит управляемую программу для автоматического измерения характеристик потока газожидкостной смеси и вычисления объема, количества и расхода нефти и газа на основе проверенных в производстве формул.
4. Комплекс по п.1, отличающийся тем, что спутниковый телефон содержит последовательно соединенные микрофон, аналого-цифровой преобразователь и микропроцессор, первый, второй и третий входы-выходы которого подключены к входам-выходам соответственно памяти, дисплею и клавиатуре, выход микропроцессора соединен с канальным входом приемопередатчика, выход высокочастотной части которого соединен со входом блока фильтров, выход которого соединен со входом высокочастотной части приемопередатчика, канальный выход которого соединен со вторым входом микропроцессора, четвертый, пятый и шестой входы-выходы которого подключены ко входам-выходам соответственно кодека, блока интерфейсов и SIM-карты, второй вход-выход кодека соединен со вторым входом-выходом блока интерфейсов, при этом к блоку фильтров подключена приемопередающая антенна, третий вход-выход блока интерфейсов является канальным входом-выходом спутникового телефона и подключен к пятому входу-выходу персонального компьютера.
5. Комплекс по п.1, отличающийся тем, что для обеспечения транспортировки и повышения мобильности он размещен в цельнометаллическом кузове-фургоне на шасси автомобиля повышенной проходимости, при этом кузов-фургон разделен на два отсека: передний отсек с боковой дверью для входа в него и задний отсек с оборудованной входной дверью, причем в заднем отсеке размещены линия приема газожидкостной смеси, сепаратор, фильтр, многофазный расходомер и электронное оборудование, в переднем отсеке оборудованы рабочие места с установленными на них персональным компьютером, монитором, принтером и клавиатурой, спутниковым телефоном, модемом и абонентской станцией подвижной радиосвязи, а телескопическая мачта и антенна абонентской станции подвижной радиосвязи размещены снаружи кузова-фургона.
РИСУНКИ
|
|