|
|
(21), (22) Заявка: 2005132665/15, 25.10.2005
(24) Дата начала отсчета срока действия патента:
25.10.2005
(46) Опубликовано: 20.04.2007
(56) Список документов, цитированных в отчете о поиске:
SU 850597 A1, 30.07.1981. RU 94023911 A1, 27.04.1996. US 6461509 B1, 08.10.2002. DE 3644712 A1, 14.05.1987. JP 2005-074294 A, 24.03.2005. JP 61-074693 A, 16.04.1986.
Адрес для переписки:
143988, Московская обл., г. Железнодорожный, мкр. Павлино, 4, кв.39, А.И. Михайленко
|
(72) Автор(ы):
Михайленко Александр Иванович (RU), Михайленко Татьяна Михайловна (RU), Михайленко Денис Александрович (RU), Чесноков Александр Константинович (RU), Сергеев Евгений Викторович (RU), Платонов Андрей Валерьевич (RU), Кравец Александр Григорьевич (RU), Михайлов Вадим Вадимович (RU)
(73) Патентообладатель(и):
Михайленко Александр Иванович (RU)
|
(54) УСТАНОВКА ДЛЯ ОЧИСТКИ СТОЧНЫХ ВОД ОТ МОЙКИ АВТОМОБИЛЕЙ
(57) Реферат:
Устройство для очистки сточных вод, содержащих взвешенные вещества и нефтепродукты и для очистки вод после мойки автомобилей, а также для очистки ливневых стоков. Установка содержит бак моющего раствора, моечную эстакаду, лоток для сбора сточной воды, содержащий распределенные по его длине грязеловушки, выполненные в виде водосливов, осадочная часть которых соединена трубопроводом с контейнером-накопителем, а переливная часть – с последовательно соединенными емкостями, первая из которых содержит тонкослойный отстойник и коалесцирующий фильтр, вторая – коалесцирующий фильтр, третья – сорбционные фильтры и четвертая – емкость для сбора очищенной воды, выход которой соединен с насосом, который через эжектор, электроуправляемые клапаны и распределительные трубопроводы соединен с баком моющего раствора и емкостью, в которой размещен тонкослойный отстойник, при этом в каждой емкости установлены устройства сбора плавающих веществ и нефтепродуктов, которые соединены с баком-накопителем, а дно емкости с тонкослойным отстойником выполнено в виде усеченной пирамиды для сбора осадка, который удаляется насосом. Технический результат – повышение качества очистки сточных вод и эффективности использования установки за счет дополнительного насыщения сточных вод кислородом и более полного использования поглотительной способности сорбционных фильтров. 1 з.п. ф-лы, 2 ил.
Изобретение относится к устройствам, предназначенным для очистки сточных вод, содержащих взвешенные вещества и нефтепродукты, и может быть использовано для очистки вод после мойки автомобилей, а также для очистки ливневых стоков.
Известна установка для очистки сточных вод, содержащая приемный резервуар со съемной камерой для улавливания крупнодисперсных примесей, с отражателями нефтепродуктов, выполненными в виде чередующихся полупогружных и прикрепленных перегородок, последовательно размещенные за ними отстойную камеру и камеру для сбора фильтрата с фильтром на входе, переливную трубу с фильтром, соединяющую приемную и отстойную камеры, насос, всасывающий патрубок которого расположен у днища отстойной камеры, а напорный патрубок снабжен эжектором, насос для отвода чистой воды (А.с. СССР №1640122, кл. С 02 F 1/40, 1991).
Недостатками известной установки являются низкий эффект очистки, громоздкость сооружений, сложность конструкции.
Наиболее близким к предлагаемому решению по технической сущности и достигаемому результату, принятым в качестве прототипа является установка для очистки сточных вод, содержащая моечную эстакаду, наклонный лоток для сбора жидкости, грязеловушку, устройство для удаления всплывающих и оседающих веществ, состоящее из камеры флотации, камеры флотоотстаивания в тонком слое, камеры осветленной жидкости, блок фильтров с фильтрующей загрузкой, водозаборную камеру, резервуар для сбора масел, узел обезвоживания осадка (А.с. СССР №850597, кл. С 02 F 1/40, 1981).
Недостатки прототипа состоят в недостаточно высоком качестве очистки сточных вод, громоздкости сооружений, сложности конструкции.
Задача изобретения – повышение качества очистки сточных вод и эффективности использования установки за счет дополнительного насыщения сточных вод кислородом.
Желаемый технический результат достигается за счет того, что установка для очистки сточных вод от мойки автомобилей содержит бак моющего раствора, моечную эстакаду, лоток для сбора сточной воды, грязеловушку, устройство для удаления всплывающих и оседающих веществ, камеры осветленной жидкости, блок фильтров с фильтрующей загрузкой, резервуар для сбора масел, согласно изобретению лоток для сбора сточной воды содержит распределенные по его длине грязеловушки, выполненные в виде водосливов, осадочная часть которых соединена трубопроводом с контейнером-накопителем, а переливная часть – с последовательно соединенными емкостями, первая из которых содержит тонкослойный отстойник и коалесцирующий фильтр, вторая – коалесцирующий фильтр, третья – сорбционные фильтры и четвертая – емкость для сбора очищенной воды, выход которой соединен с насосом, который через эжектор, электроуправляемые клапаны и распределительные трубопроводы соединен с баком моющего раствора и емкостью, в которой размещен тонкослойный отстойник, при этом в каждой емкости установлены устройства сбора плавающих веществ и нефтепродуктов, которые соединены с баком-накопителем, а дно емкости с тонкослойным отстойником выполнено в виде усеченной пирамиды для сбора осадка, который удаляется, например, насосом.
Сорбционные фильтры имеют на корпусе по два входа и выхода, размещенные соответственно вверху и внизу, что позволяет значительно увеличить продолжительность фильтроцикла за счет более полного использования грязеемкости (поглотительной способности) их загрузки при соответствующих соединениях: поток воды направлять или сверху вниз на первом фильтре и снизу вверх на втором, или наоборот: снизу вверх на первом и сверху вниз на втором.
Сорбционные фильтры, предназначенные для удаления ПАВ, имеют на корпусе по два входа и выхода, размещенные соответственно вверху и внизу, что позволяет значительно увеличить продолжительность фильтроцикла за счет более полного использования грязеемкости их загрузки при соответствующих соединениях: поток воды направлять или сверху вниз на первом фильтре и снизу вверх на втором, или наоборот: снизу вверх на первом и сверху вниз на втором.
Все перечисленные признаки являются взаимосвязанными благодаря их совместному воздействию на гидравлические и водовоздушные режимы установки и обеспечивают достижение технического результата.
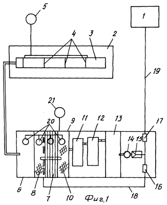
На чертежах представлен общий вид (фиг.1) и продольный разрез (фиг.2) установки для очистки стоков.
Установка для очистки сточных вод от мойки автомобилей содержит бак моющего раствора 1, эстакаду 2 для мойки автомобилей с отводящим лотком 3 и с последовательно установленными по его длине грязеловушками 4 с контейнером-накопителем 5, емкости 6, в которую подается сточная вода с лотка 3, с тонкослойным отстойником 7, коалесцирующий фильтр 8, выход которого соединен с емкостью 9, в которой размещен фильтр 10, выход которого соединен со входом одного из двух последовательно соединенных сорбционных фильтров 11 и 12, выход которых соединен с камерой сбора чистой воды 13. Выход последней соединен с насосом 14, на напорном патрубке которого установлен эжектор 15, выход которого соединен через электроуправляемые клапаны 16 и 17 с распределительными системами 18 и 19, одна из которых установлена на входе в тонкослойный отстойник 7, а вторая соединена с баком приготовления моющего раствора 1. В емкостях 6, 9 установлены устройства сбора плавающих веществ и нефтепродуктов 20, которые соединены с баком-накопителем 21, а дно емкости 6 выполнено в виде усеченной пирамиды для сбора осадка, который удаляется, например, переносным насосом (на чертеже не показан).
Сорбционные фильтры 11 и 12 имеют на корпусе по два входа и выхода, размещенные соответственно вверху и внизу, что позволяет значительно увеличить продолжительность фильтроцикла за счет более полного использования грязеемкости (поглотительной способности) их загрузки при соответствующих соединениях: поток воды направлять или сверху вниз на первом фильтре и снизу вверх на втором, или наоборот: снизу вверх на первом и сверху вниз на втором.
Установка работает следующим образом.
В баке 1 подготавливают моющий раствор путем добавления в воду моющих веществ. Моющий раствор после мойки автомобиля на эстакаде 2 собирается в лотке 3 в виде сточной воды, которая последовательно проходит установленные внутри лотка грязеловушки 4. Задержанные твердые частицы удаляются в контейнер-накопитель 5, который по мере наполнения вывозится.
Частично осветленная сточная вода поступает самотечно в емкость 6 и поступает через тонкослойный отстойник 7 в коалесцирующий фильтр 8.
В тонкослойном отстойнике 7 удаляются взвешенные вещества с гидравлической крупностью до 0,2 мм/с, которые собираются в приямке, откуда удаляются, например, насосом. В отстойнике 7 выделяются и нефтепродукты, которые всплывают в верхнюю часть емкости 6 и удаляются устройствами сбора 20 в бак-накопитель 21. Распределительная система 18 подает водовоздушную смесь на тонкослойный отстойник 7, а 19 – в бак моющего раствора 1.
На пенополипропиленовой загрузке фильтра 8 вода очищается от нефтепродуктов и доочищается от взвешенных веществ. По мере загрязнения фильтра 8 загрузка регенерируется и накопившиеся нефтепродукты удаляются в бак-накопитель 21.
Вода с выхода фильтра 8 поступает в емкость 9, где размещен фильтр 10. Вода проходит через пенополипропиленовую загрузку снизу вверх и практически полностью очищается от нефтепродуктов и взвешенных веществ.
Вода после фильтра 9 поступает на вход сорбционных фильтров 11 и 12 с углесодержащей загрузкой, где в основном очищается от ПАВ. Корпуса фильтров 11 и 12 содержат по два входа и два выходных патрубка, что позволяет за счет их переключения более полно использовать грязеемкость загрузки и, следовательно, увеличить продолжительность фильтроцикла.
После сорбционных фильтров вода поступает в емкость сбора чистой воды 13, откуда насосом 14 через эжектор 15 и электроуправляемый клапан 17 подается в бак 1. За счет насыщения воздухом очищенной воды удаляются запахи и остаточные загрязнения.
При недостаточном качестве очистки сточной воды вода из емкости 13 насосом 14 через эжектор 15 и клапан 16 возвращается в емкость 6 для повторной очистки. Благодаря насыщению воды воздухом результаты повторной очистки являются более эффективными.
Заявленное предложение позволяет существенно повысить качество очистки сточных вод при увеличении времени работы фильтров.
Формула изобретения
1. Установка для очистки сточных вод от мойки автомобилей, содержащая моечную эстакаду, лоток для сбора сточной воды, грязеловушку, тонкослойный отстойник, камеры осветленной жидкости, блок фильтров с фильтрующей загрузкой, резервуар для сбора масел, эжектор, отличающаяся тем, что лоток для сбора сточной воды содержит распределенные по его длине грязеловушки, выполненные в виде водосливов, осадочная часть которых соединена трубопроводом с контейнером-накопителем, а переливная часть – с последовательно соединенными емкостями, первая из которых содержит тонкослойный отстойник и коалесцирующий фильтр, вторая – коалесцирующий фильтр, третья – сорбционные фильтры и четвертая – емкость для сбора очищенной воды, выход которой соединен с насосом, который через эжектор, электроуправляемые клапаны и распределительные трубопроводы соединен с баком моющего раствора и емкостью, в которой размещен тонкослойный отстойник, при этом в каждой емкости установлены устройства сбора плавающих веществ и нефтепродуктов, которые соединены с баком-накопителем, а дно емкости с тонкослойным отстойником выполнено в виде усеченной пирамиды для сбора осадка, который удаляется, например, насосом.
2. Установка по п.1, отличающаяся тем, что сорбционные фильтры имеют на корпусе по два входа и выхода, размещенные соответственно вверху и внизу, что позволяет значительно увеличить продолжительность фильтроцикла за счет более полного использования поглотительной способности их загрузки при соответствующих соединениях: поток воды направлять или сверху вниз на первом фильтре и снизу вверх на втором, или наоборот: снизу вверх на первом и сверху вниз на втором.
РИСУНКИ
MM4A – Досрочное прекращение действия патента СССР или патента Российской Федерации на изобретение из-за неуплаты в установленный срок пошлины за поддержание патента в силе
Дата прекращения действия патента: 26.10.2007
Извещение опубликовано: 10.07.2009 БИ: 19/2009
|
|