|
(21), (22) Заявка: 2004138448/15, 28.12.2004
(24) Дата начала отсчета срока действия патента:
28.12.2004
(43) Дата публикации заявки: 10.06.2006
(46) Опубликовано: 20.04.2007
(56) Список документов, цитированных в отчете о поиске:
RU 2191162 С1, 20.10.2002. RU 2155081 С1, 27.08.2000. SU 1748662 A3, 15.07.1992. RU 2149385 C1, 20.05.2000. RU 22940 U1, 10.05.2002. US 5880661 A, 09.03.1999. PR 2782279 A, 18.02.2000.
Адрес для переписки:
119454, Москва, ул. Коштоянца, 2, кв.337, С.Ю. Толмачеву
|
(72) Автор(ы):
Тарасенко Виталий Яковлевич (RU), Толмачев Сергей Юрьевич (RU)
(73) Патентообладатель(и):
Толмачев Сергей Юрьевич (RU)
|
(54) УСТРОЙСТВО ДЛЯ ОБРАБОТКИ ВОДЫ ИЛИ ВОДНЫХ РАСТВОРОВ “АКВАТОР”
(57) Реферат:
Изобретение относится к обработке воды или водных растворов, предназначенных для потребления живыми организмами, и может быть использовано в медицине, пищевой промышленности, сельском хозяйстве и других областях. Устройство содержит генератор излучения, блок питания и корпус. Формирователь потока излучения выполнен в виде одного или нескольких правокрученых спиралевидных пространственных тел, установленных на излучающей поверхности генератора. Генератор излучения выполнен в виде цилиндрического конденсатора и кольцевого магнита или электромагнита, коаксиально расположенного внутри него, а пространство между обкладками конденсатора и магнитом или электромагнитом заполнено электроизолирующим материалом. Вектор магнитной напряженности электромагнита коллинеарен геометрической оси конденсатора. Устройство может быть снабжено матрицей, размещенной в области между источником излучения и облучаемой емкостью. Технический результат состоит в получении воды, биологически совместимой с объектами живой природы. 4 з.п. ф-лы, 10 ил., 6 табл.
Изобретение относится к обработке воды или водных растворов, предназначенных для потребления живыми организмами, и может быть использовано в медицине, пищевой промышленности, сельском хозяйстве, при производстве экологического оборудования и других областях.
Известны устройства, оказывающие на воду электромагнитное воздействие для изменения ее физико-химических характеристик. Для этих целей используются постоянные стационарные магниты (см., например, патент РФ №2189948, кл. C 02 F 1/48), вращающиеся магниты (см., например, патент РФ №2197435, кл. C 02 F 1/48) или электромагниты, создающие импульсы (см., например, патент РФ №2172299, кл. C 02 F 1/48).
Основной недостаток устройств такого рода заключается в том, что в основном они направлены на формирование у воды свойств, улучшающих ее технологические характеристики (уменьшение накипи, жесткости, асфальтообразования и т.д.). Значительно меньше устройств сориентировано на придание воде физико-химических свойств, улучшающих ее совместимость с живой материей. Живая клетка, в силу своего устройства, на девяносто процентов состоит из воды, физико-химическое состояние которой строго регламентируется законами живой природы. И если молекулярные характеристики воды не отвечают биофизическим требованиям со стороны живой клетки, то молекула, оказавшись в зоне влияния клетки, создает проблемы в реализации клеткой ее физиологических функций. Такое состояние молекулы воды можно определить как биологически несовместимое. Биологически несовместимой, например, оказывается вода, полученная по технологии обратного осмоса. Продолжительное употребление такой питьевой воды может вызвать серьезные аномалии в живом организме.
При этом устройства, ориентированные на подготовку питьевой воды, либо являются энергоемкими (см. патент РФ №2191162, кл. C 02 F 1/48), либо низкоэффективными: время воздействия составляет часы и даже сутки (см. патент РФ №2182122, кл. C 02 F 1/48).
Наиболее близким по технической сущности к заявленному (прототипом) является техническое решение (патент РФ №2182122, кл. C 02 F/48), состоящее в том, что на обрабатываемую жидкость воздействуют постоянным магнитным полем, проходящим через специальным образом обработанный композитный материал.
Основными недостатками данного технического решения является его низкая эффективность и невозможность использования в промышленных системах водоподготовки.
Техническим результатом, достигаемым в предлагаемом изобретении, является получение воды (водных растворов) с совокупностью таких молекулярных свойств, которые обеспечивают ее (их) биологическую совместимость с объектами живой природы.
Предложенное устройство для обработки воды, предназначенной для потребления живыми организмами, осуществляет воздействие на обрабатываемую воду или ее растворы физическим полем (излучением), порождаемым комбинацией статических электрических и магнитных полей, имеющих взаимно ортогональную пространственную ориентацию. При этом величины векторов напряженности электрической и магнитной составляющей физического поля, а также плотности соответствующих потоков излучения задает электромагнитный генератор излучения, питаемый от источника постоянного тока.
Это достигается тем, что предложенное устройство содержит генератор излучения, блок управления генератором, формирователь потока излучения (далее формирователь), блок питания, защитный кожух и корпус.
Генератор излучения может быть выполнен в виде цилиндрического конденсатора и кольцевого магнита, коаксиально расположенного внутри него, а пространство между обкладками конденсатора и магнитом заполнено электроизолирующим материалом.
Генератор излучения может быть выполнен также в виде цилиндрического конденсатора и электромагнита, коаксиально расположенного внутри него, так что вектор магнитной напряженности электромагнита коллинеарен геометрической оси.
Напряжение на обкладках конденсатора может принимать значение в диапазоне от 9 до 36 вольт, а магнитная индукция, создаваемая кольцевым магнитом (электромагнитом) на полюсах, – в диапазоне 40-100 миллитесла.
Корпус устройства может быть выполнен из любого материала, обеспечивающего механическую защиту деталей и элементов конструкции устройства.
Устройство может быть снабжено защитным кожухом от побочных электромагнитных излучений, защищающим области, не предназначенные для распространения излучения.
Оно может быть снабжено также матрицей, которая представляет собой контейнер с веществом, обладающим заранее известными свойствами, которые в процессе облучения переносятся на воду. Матрица может быть расположена в области пространства между устройством и накопителем с облучаемой водой.
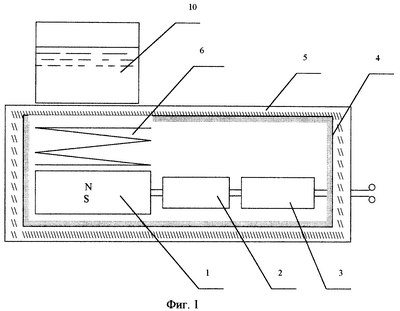
На Фиг.1 изображена схема устройства для обработки воды с одним формирователем потока излучения.
На Фиг.2 изображена схема расположения двух формирователей потоков излучения.
На Фиг.3 изображен формирователь потока излучения.
На Фиг.4 изображен генератор излучения.
На Фиг.5 изображен генератор излучения, вид А-А.
На Фиг.6 изображены результаты экспериментов над лабораторными крысами по методу «Открытое поле».
На Фиг.7 изображены результаты экспериментов над лабораторными крысами по методу «Крестообразный лабиринт».
На Фиг.8 изображены диаграммы функционального состояния организма человека.
На Фиг.9 изображены графики среднего уровня функциональности организма человека.
На Фиг.10 представлены фотографии образцов воды способом газоразрядной визуализации (кирлиан – фото).
Устройство для обработки воды или водных растворов (Фиг.1) содержит генератор излучения (1), блок управления (2) генератором, блок питания (3), защитный кожух (4) корпус (5) и формирователь (6) потока излучения, выполненный в виде правокрученого спиралевидного пространственного тела (Фиг.3а, б), установленный на излучающую поверхность генератора.
Формирователь потока излучения может быть выполнен в виде нескольких правокрученых спиралевидных пространственных тел, установленных на излучающие поверхности генератора (Фиг.2).
Генератор излучения (Фиг.4, 5) может быть выполнен в виде цилиндрического конденсатора (7), внутри которого коаксиально расположен кольцевой магнит (электромагнит) (8), пространство между обкладками конденсатора и магнитом заполняются электроизолирующим материалом (9). Линейные размеры конденсатора и магнита выбираются в зависимости от условий эксплуатации, например объема облучаемой жидкости, ее плотности и т.д. Конфигурация магнита должна быть такой, чтобы магнитные полюса были строго сориентированы по плоскостям. В случае электромагнита вектор магнитной напряженности коллинеарен геометрической оси симметрии конденсатора. Для наиболее эффективного функционирования устройства высота обкладок конденсатора должна быть больше высоты кольцевого магнита, что обеспечивает его нахождение в зоне линейности вектора электрической напряженности.
Корпус устройства (Фиг.1, поз.5) может быть изготовлен из любого материала, обеспечивающего механическую защиту деталей и элементов конструкции устройства. Конфигурация корпуса – произвольная, удобная для эксплуатационных целей.
Устройство может быть снабжено защитным кожухом (Фиг.1, поз.4), который имеет произвольную форму или повторяет контуры корпуса, но в любом случае охватывает область, не предназначенную для распространения излучения.
Формирователь выполнен в виде правокрученого спиралевидного пространственного тела (Фиг.3а, б), например конической или цилиндрической спирали.
В результате взаимодействия излучения с формирователем происходит изменение конфигурации силовых линий (диаграммы излучения) электромагнитного поля. Шаг спирали и его пространственная конфигурация выбирается исходя из эксплуатационных требований, например, габаритов устройства, объема облучаемой жидкости и т.д. Спиралевидное пространственное тело может повторять контуры поверхностей конуса, пирамиды, параллелепипеда и т.д. или любого криволинейного тела. Ближний к генератору излучения виток спирали должен охватывать наружную пластину конденсатора.
В целях достижения большей эффективности функционирования устройства формирователь потока излучения может быть выполнен в виде нескольких правокрученых спиралевидных пространственных тел, установленных на излучающие поверхности генератора.
Блок управления (Фиг.1, поз.2) генератором излучения в зависимости от эксплуатационных требований, например объема облучаемой жидкости, ее плотности и др., обеспечивает необходимые номиналы тока и напряжения, подаваемые на пластины конденсатора и клеммы электромагнита. Кроме этого блок управления задает временную диаграмму экспозиции.
С калиброванного источника (Фиг.1, поз.3) электропитания через блок управления запитываются пластины конденсатора (Фиг.4, 5, поз.7). В зависимости от объекта воздействия на обкладки конденсатора может подаваться напряжение в диапазоне от 9 до 36 вольт, а используемый кольцевой магнит (электромагнит) может создавать на полюсах магнитную индукцию в диапазоне от 40 до 100 миллитесла. Выбор электромагнитных характеристик генератора излучения определяет величину векторов напряженности электромагнитного поля и плотность потоков излучения, область распространения которого находится над полюсами (плоскостями) магнита. Посредством формирователя сгенерированному излучению придается соответствующая пространственная конфигурация и в зависимости от эксплуатационных требований, например формы облучаемой емкости, ее объема и т.д., формирователь может иметь вид раструба, узкого луча и т.д., направленных в сторону емкости с водой.
Принципиальная особенность устройства состоит в том, что для формирования результирующего излучения используются обе плоскости генератора излучения, что в два раза повышает его эффективность.
При облучении накопитель (Фиг.1, 2, поз.10) с водой, или водным раствором, помещается на 30 секунд в зону распространения излучения. Для достижения большей эффективности воздействия устройства целесообразно совмещать геометрическую ось излучателя устройства с осью симметрии накопителя.
Объективное доказательство влияния излучения, создаваемого устройством, на физико-химические свойства воды подтверждено результатами серии лабораторных экспериментов, проведенных с различными образцами воды. Для осуществления сравнительного анализа были выбраны три образца воды:
образец В – вода, забранная из системы городского водопровода Западного административного округа города Москвы;
образец Ф – вода, полученная в результате очистки образца В по методу обратного осмоса с использованием бытовой установки фирмы Zepter (EE-RO-6PF);
образец Т – облученный предложенным устройством для обработки воды «Акватор» образец Ф.
Во всех экспериментах образец В выступал в качестве контрольного.
Эксперименты проводились с использованием бытового устройства «Акватор», на которое предприятием ЗАО «ЦКБ ИУС» г.Зеленоград были разработаны технические условия ТУ 3697-001-74549612-2005.
Эксперимент 1. В Институте физической химии РАН методом кондуктометрии в течение трех недель измерялась удельная электропроводность образцов воды. Все это время образцы хранились в закрытой кварцевой емкости в естественных условиях. Полученные данные приведены в нижеследующей таблице и представлены в единицах мкСм/м.
| Время
Образец |
0 суток |
7 суток |
14 суток |
21 сутки |
| Образец В |
469.0 |
469.0 |
500.0 |
550.0 |
| Образец Ф |
11.3 |
11.5 |
11.8 |
12.4 |
| Образец Т |
11.1 |
11.1 |
11,1 |
11.2 |
Кроме различия в значениях показателя электропроводности между образцами Ф и Т, эксперимент продемонстрировал исключительную стабильность изучаемых свойств у образца Т.
Эксперимент 2*. На кафедре биоорганической химии биофака МГУ им. М.В. Ломоносова проводился замер водородного показателя (рН) у исследуемых образцов воды, которые находились в полиэтиленовой емкости. Результаты двух замеров, которые были сделаны с интервалом в сутки, приведены в таблице.
| Образец В |
7.56 |
7.67 |
| Образец Ф |
5.97 |
6.44 |
| Образец Т |
6.18 |
6.20 |
Как и в предыдущем случае, различие у образцов Ф и Т наблюдается не только в абсолютных значениях показателей, но и в стабильности этого показателя.
Эксперимент 3. Замеры окислительно-восстановительного потенциала (ОВП) с использованием ОВП-метра модели HI-98201 фирмы Hanna Instruments дали следующие результаты:
Образец В – 371, Образец Ф – 282, Образец Т – 221.
Значения приведены в милливольтах.
Эксперимент 4*. В проблемной лаборатории научного обоснования традиционных методов лечения и диагностики ФНКЭЦ ТМДЛ МЗ РФ методом дифференциально-кондуктометрического измерения электропроводности образцов воды марки «Super-Q» согласно разработанного и запатентованного способа (патент №2109301 с приоритетом от 30 сентября 1996 года) было проведено исследование эффективности работы устройства «Акватор».
Данный метод исследования эффективности биоэнергетического воздействия утвержден 2 ноября 2001 года на секции по традиционной медицине Ученого совета МЗ РФ (протокол №3).
Была исследована кинетическая зависимость влияния трех образцов воды на изменение электропроводности образцов воды марки «Super-Q»:
Результаты измерений представлены в таблице.
| Время, мин |
Образец В, мка |
Образец Ф, мка |
Образец Т, мка |
| 0 |
0 |
0 |
0 |
| 0.5 |
0.04 |
3.5 |
0.01 |
| 1.0 |
4 |
9.1 |
0.02 |
| 1.5 |
6.2 |
12 |
3.8 |
| 2.0 |
5 |
9.2 |
9.5 |
| 2.5 |
1,5 |
4.6 |
16 |
| 3.0 |
-2.2 |
0 |
23.2 |
| 3.5 |
-3.8 |
-3.4 |
31.2 |
| 4.0 |
-3.9 |
-4.2 |
39.4 |
| 4.5 |
-3.1 |
-2.3 |
46.1 |
| 5.0 |
-1 |
1.8 |
51.2 |
| 5.5 |
1.9 |
7.8 |
55 |
| 6.0 |
5.3 |
13.7 |
59 |
| 6.5 |
10.1 |
19.2 |
63.5 |
| 7.0 |
15 |
23.5 |
68.8 |
| 7.5 |
19.5 |
26.4 |
75.2 |
| 8.0 |
23.6 |
27.5 |
81.5 |
| 8.5 |
27.5 |
26.5 |
87.9 |
| 9.0 |
31.1 |
25.3 |
94.1 |
| 9.5 |
34.5 |
25.4 |
100.8 |
| 10.0 |
37.8 |
25.3 |
106.8 |
| 10.5 |
41.4 |
24.3 |
111.8 |
| 11.0 |
44.3 |
23.1 |
118.7 |
| 11.5 |
48.3 |
23.6 |
129.7 |
| 12.0 |
51.9 |
25 |
135.5 |
| 12.5 |
54 |
26 |
141.5 |
| 13.0 |
55.1 |
26.5 |
145.4 |
| 13.5 |
57.1 |
28 |
147.2 |
| 14.0 |
59.1 |
29.5 |
148.7 |
| 14.5 |
60.2 |
29.8 |
150.6 |
| 15.0 |
59.5 |
26 |
152.3 |
Полученные данные показывают, что для образца Ф кинетическая зависимость сохраняет форму образца В, но с существенно практически в два раза меньшей величиной выхода на плато значений электропроводности. В отличие от зависимостей для образцов В и Ф, после обработки генератором «Акватор» форма кинетической зависимости изменения электропроводности для образца Т имеет качественно иную форму. Вместо колебаний электропроводности, характерных для образцов В и Ф, в случае образца Т наблюдается сразу ее увеличение причем до существенно больших величин при выходе на плато, чем до обработки.
Таким образом, результаты измерений свидетельствуют прежде всего об объективизации биоэнергетического действия, сопутствующего фильтрации (образец Ф) и отчетливо проявляющегося при действии генератора «Акватор», что непосредственно отражает изменение структурного состояния воды.
Эксперимент 5. Совокупные различия в физико-химических свойствах образцов воды отчетливо проявляют себя на фотографиях, сделанных способом газоразрядной визуализации. И по однородности вещества и по уровню свечения изучаемые образцы заметно отличаются друг от друга (Фиг.10).
Несмотря на очевидное различие в физико-химических свойствах рассматриваемых образцов воды, ни одна из интегральных характеристик (ни рН, ни ОВП, ни иная другая) не может служить показателем биологической совместимости воды. Только физиологические реакции живых организмов являются мерилом качества воды, предназначенной для потребления живыми организмами. С этой целью для демонстрации способности устройства восстанавливать природные свойства воды, измененные в процессе ее очистки или других воздействий, с использованием ряда методик были поставлены эксперименты на различных объектах живой природы.
Эксперимент 6*. На кафедре ихтиологии биологического факультета МГУ им. М.В.Ломоносова были проведены исследования по определению влияния упомянутых выше образцов воды (В, Ф и Т) на функциональное состояние реснитчатой инфузории спиростомы (Spirostomum ambiguum Ehrbg). Методика оценки функционального состояния спиростомы, которая основывается на исследовании поступательного движения инфузории, была разработана и апробирована в МГУ им. М.В.Ломоносова группой сотрудников под руководством профессора Н.А.Тушмаловой.
Изменение скорости поступательного движения инфузорий, которое обеспечивается механизмом совместного биения ресничек, служит показателем функционального состояния одноклеточных, меняющегося в зависимости от глубины влияния факторов окружающей среды на клетку.
В эксперименте проводилось количественное изучение поведения инфузорий методом, аналогичным методу «открытого поля». Критерием двигательного поведения служил индекс двигательной активности (ИДС). ИДС можно выразить в относительных единицах, равных числу пересечений визира окуляра лупы МВС-1 в единицу времени. В проведенных экспериментах время наблюдения ИДС составило 5 минут. Время экспозиции после воздействия составляет 60 минут. Исследование проводилось по следующей схеме: адаптация к условиям камеры (5 минут), определение уровня спонтанной двигательной активности (5-10 минут). Для каждой точки использовалось 20 инфузорий. Статистическая обработка проводилась по критерию Стьюдента.
В результате исследования было установлено, что помещенная в образец Ф инфузория теряет в двигательной активности около 18% по сравнению с образцом В, в то время как результаты наблюдений, полученные для образца Т, максимально приближаются к данным по исходному образцу (В).
Эксперимент 7*. В Институте биохимической физики им. Н.М.Эмануэля РАН изучалось влияние физико-химических свойств образцов воды (В, Ф и Т) на структурное состояние мембран эритроцитов, посредством контроля микровязкости их мембран, помещенных в физиологический раствор на базе трех упомянутых выше образцов воды. Мембрана клетки является ее защитным барьером и уплотнение мембраны свидетельствует о наличии негативного внешнего воздействия.
В настоящее время для изучения структурного состояния биологических мембран успешно применяется спектроскопия электронного парамагнитного резонанса (ЭПР-спектроскопия), которая позволяет фиксировать слабые изменения биофизических параметров клеточных мембран как при их нормальном функционировании, так и в случае химических и физических воздействий.
Методика исследования состоит в том, что на трех исследуемых образцах воды готовили 0,01М трис-HCL буфер (рН-7,4), куда, в виде 5%-ной суспензии, помещали эритроциты мышей. В подготовленном таким образом буфере проводили изучение микровязкости эритроцитарной мембраны. Вязкость различных областей мембраны оценивали по времени вращательной корреляции включенных в мембрану спиновых зондов. В качестве зондов использовали стабильные иминоксильные радикалы: 2,2,6,6-тетраметил-4-каприлоил-оксипиперидин-1-оксил (зонд 1) и 5,6-бензо-2,2,6,6-тетраметил-1,2,3,4-тетрагидро- -3-оксил (зонд 2), которые различаются по своим гидрофобным свойствам. Известно, что зонд 1 преимущественно локализуется в липидном бислое, а зонд 2 в прибелковых липидах мембраны. Иминоксильные радикалы вводили в 5%-ную взвесь эритроцитов в виде спиртового раствора за 30 мин до измерения образцов на ЭПР-спектрометре ER-200D SRC фирмы Bruker (ФРГ). Из полученных спектров ЭПР рассчитывали время вращательной корреляции ( c), имеющее смысл периода переориентации радикала на угол к /2.
Полученные в процессе исследования результаты приведены в нижеследующей таблице
| Вода |
Микровязкость в абсолютных единицах |
Микровязкость в процентах к образцу В |
| Зонд 1 |
Зонд 2 |
Зонд 1 |
Зонд 2 |
| В-образец |
0.40 |
0.77 |
100 |
100 |
| Ф-образец |
0,46 |
0.82 |
115 |
106 |
| Т-образец |
0,41 |
0.77 |
103 |
100 |
Из таблицы видно, что наибольшее увеличение микровязкости как липидного бислоя, так и прибелковых липидов эритроцитов, происходит при использовании образца Ф, т.е. мембрана становится более «жесткой», что указывает на усиление в ней свободнорадикальных окислительных реакций. Образующиеся при этом активные формы кислорода весьма агрессивны и вызывают клеточные повреждения, что приводит к нарушению обменных процессов в клетке и к развитию различных патологических состояний. Вода Т практически не изменяет вязкость мембраны эритроцитов по сравнению с исходным образцом В, что говорит о близости их физиологического воздействия.
Полученные данные подтверждают также предположения о разной биологической активности исследуемых образцов воды. Из условия эксперимента понятно, что различия в степени влияния на микровязкость биомембран связаны с физико-химическими свойствами рассматриваемых образцов, которые возникли в результате технологической обработки воды.
Таким образом, можно сделать вывод, что вода Т – отфильтрованная на установке фирмы Zepter (EE-RO-6PF) и обработанная предложенным устройством «Акватор», является лучшей по сравнению с водой Ф, поскольку не нарушает структуру мембраны эритроцитов.
Эксперимент 8*. На кафедре физиологии человека и животных биологического факультета МГУ им. М.В.Ломоносова исследовалось также поведение трех групп (по десять особей в каждой) самцов белых крыс массой 220 г. каждая. Крыс содержали в стандартных кюветах и в течение 13 дней каждую группу поили вышеупомянутыми образцами воды (В, Ф и Т) соответственно. Для оценки воздействия образцов на поведение животных использовали следующие стандартные методы: «Открытое поле», «Приподнятый горизонтальный лабиринт», «Вертикальная сетка».
Открытое поле представляет собой арену диаметром 80 см с деревянным полом, расчерченным восемью диаметрами и двумя концентрическими окружностями, находящимися на равном расстоянии друг от друга. Арена окружена стенкой высотой 40 см. Над ареной на высоте 80 см помещена электрическая лампа мощностью 200 Вт, бытовой электрический звонок и красная лампа мощностью 15 Вт. При тестировании животное помещали в центр арены и в течение 2-х минут визуально оценивали следующие показатели:
1) горизонтальную двигательную активность – пробег (количество пройденных секторов);
2) вертикальную двигательную активность – стойки (число подъемов на задние лапы);
3) отходы от стенки арены (число пересечений внешней концентрической окружности);
4) выходы в центр арены (число пересечений внутренней окружности);
5) умывания – груминг (число касаний морды лапами).
При исследовании фармакологических препаратов обычно используется бесстрессорная модификация «Открытого поля».
В методе «Приподнятый крестообразный лабиринт» экспериментальная камера представляет собой крестообразный лабиринт (длина рукавов 35 см, высота стенок 20 см). Два противоположных рукава затемнены и закрыты с торцов стенками; два других – освещены и открыты. Лабиринт устанавливался на высоте 50 сантиметров от пола. Крысу помещали в центр лабиринта и в течение 3 минут регистрировали такие показатели, как:
1) латентный период захода в закрытый рукав (сек);
2) общее время нахождения на свету (сек),
3) свешивания с открытых рукавов лабиринта (количество);
4) выходы на открытые рукава (количество);
5) выглядывания из закрытых рукавов лабиринта (количество);
6) стойки на свету (количество);
7) умывания – груминг (количество).
Параметры 1, 2, 3, 4, 5 и 7 характеризуют уровень тревожно-фобического и эмоционального состояния животных. Параметры 3, 4, и 6 позволяют также оценить уровень ориентировочно-исследовательской реакции животных.
Методом «Вертикальная сетка» проводилась оценка статической физической выносливости животных. Экспериментальная установка представляет собой проволочную сетку с ячейками 1,5×1,5 мм площадью 30×60 см. Сверху и с боков сетка ограничена деревянными стенками. При тестировании животное помещали на сетку и регистрировали время с момента посадки до момента падения с сетки. Измерения проводили 3 раза подряд, для анализа использовали максимальное время удержания.
Эксперименты выполнялись слепым методом. Сведения о принадлежности воды к той или иной форме (В, Ф или Т) были получены на этапе подготовки отчета. Полученные данные подвергались статистической обработке в стандартном пакете программ STATISTICA. При сравнении средних и форм распределений применяли критерий Стьюдента и точный критерий Фишера. Отличия между группами считали достоверными при вероятности ошибки р<0,05. На графиках представлены данные в виде (среднее ± стандартная ошибка среднего).
На фигурах 6 и 7 приведены гистограммы полученных результатов. При этом по горизонтали обозначены номера показателей метода, а по вертикали указанные единицы измерения.
На основании результатов, полученных с использованием метода «Открытое поле», можно заключить, что образец воды Ф усиливает двигательную активность и число выходов животных в центр арены. Это свидетельствует о патологическом снижении тревожности крыс, приводящей к утрате чувства осторожности и увеличении риска попадания в критические ситуации (Фиг.6).
Образец Т нормализует состояние животных, достоверно возвращая поведенческие параметры к контрольному уровню (Фиг.6).
В тесте «Приподнятый крестообразный лабиринт» было показано, что потребление воды Ф достоверно увеличивает время пребывания крыс на освещенных участках лабиринта, а также число свешиваний со светлых концов лабиринта. Полученные данные указывают на значительное снижение эмоциональной тревожности и утере крысами осторожности (Фиг.7).
Потребление воды Т практически полностью нормализует состояние животных, приводя, как показали измерения, поведение к уровню контрольной группы В (Фиг.7).
Потребление воды образцов Ф и Т не влияло на физическую выносливость экспериментальных животных, которую оценивали в тесте «Вертикальная сетка».
Из полученных экспериментальных данных можно заключить, что вода Ф приобретает свойства нейротропного вещества. Она повышает ориентировочно-исследовательскую реакцию и снижает тревожность крыс. Этот эффект нельзя считать полезным, т.к. животные со сниженной осторожностью в природных условиях обречены на быструю гибель.
Потребление воды Т не приводит к описанным выше неблагоприятным последствиям, и поведение животных сохраняется на исходном оптимальном уровне. Потребление всех образцов воды не влияет на физическую выносливость белых крыс.
Эксперимент 9 проводился на базе Центра медицины катастроф «Защита». В качестве способа оценки влияния образцов воды на функциональное состояние человека использовалась методика Фоля-Накатани. Указанная методика позволяет по проводимости биологически активных точек тела оценивать уровень функциональности (биоэнергетики) как отдельных органов и систем, так и всего организма в целом. При помощи данной методики можно выяснять характер влияния на человека разнообразных внешних факторов, в том числе лекарственных препаратов и продуктов питания. В основе методики лежит разработанная Накатани теория Риодораку, согласно которой существует тесная взаимосвязь между функциональным состоянием внутренних органов и электропроводностью каналов, соответствующих 12-ти классическим китайским меридианам.
Выбранная методика реализовывалась с использованием диагностической компьютерной системы «Диакомс», которая разрешена к практическому использованию Комитетом по новой медицинской технике Минздрава России (протокол №5 от 11.09.92 г.) и рекомендована к внедрению на всех уровнях системы здравоохранения и медицинской науки письмом МЗ РФ №05-16/10-16 от 23.03.93 г.
Для проведения эксперимента случайным образом была отобрана группа из десяти человек, четыре женщины и шесть мужчин. Возрастной диапазон испытуемых колебался от двадцати восьми до семидесяти пяти лет. У всех испытуемых определялось фоновое состояние уровней функциональности, после чего они принимали двести миллилитров воды, и в течение часа с интервалом в пять минут у них фиксировались изменения в биоэнергетике.
В качестве примера на Фиг.8 и 9 приведены результаты замеров функционального состояния одного из участников эксперимента (мужчина пятидесяти шести лет). На Фиг.8 представлены диаграммы функционального состояния в моменты времени Т=0,5 и 10 минут. Каждая из диаграмм дает представление о функциональном состоянии двенадцати систем организма. Данные на диаграмме (слева на право) характеризуют состояние следующих органов и систем:
легкие (Л);
сердечно-сосудистая система (СС);
сердце (С);
тонкий кишечник (Тн),
лимфатическая система (ЛС),
толстый кишечник (Тк);
поджелудочная железа – селезенка (ПС);
печень (Пн);
почки (Пк);
мочеполовая система (МП);
желчный пузырь (ЖП);
желудок (Ж).
Каждый орган характеризуется двумя показателями Л и П, которые соответствуют состоянию его левого и правого энергетического канала.
В соответствии с методикой организм функционирует нормально, если значения показателей по всем органам, отложенные по вертикальной оси, находятся в т.н. коридоре нормы (диапазон 60-100 условных единиц). Оптимальным значением считается уровень в 80 единиц. Кроме этого состояние организма в целом характеризуется такой интегральной характеристикой, как среднее значение уровня функциональности (усредненное значение показателей по всем системам и органам), которое в случае нормального функционирования организма также должно находится в коридоре нормы.
Все участники эксперимента без исключения продемонстрировали однотипные реакции на исследуемые образцы воды. При употреблении образца Ф средний уровень функциональности организма существенно снижается. На фигуре 9 представлены графики изменения среднего уровня функциональности участника эксперимента, находящегося под влиянием трех исследуемых образцов воды. По горизонтальной оси отложено время (минуты) испытания, по вертикальной – показатели среднего уровня функциональности (условные единицы). Под влиянием образца Ф (как видно на примере) средний уровень функциональности опускается до значения в 40 условных единиц, что в два раза меньше оптимального уровня. Такие показатели состояния организма наблюдаются в случаях глубокой патологии. Образец Т, напротив, стабилизирует биоэнергетику организма, стремясь привести ее к оптимальному уровню.
Полученные результаты показывают, что образец Ф действует на физиологию человека депрессивно. Этот факт объясняется физическими свойствами молекул данной воды, которая по своей формуле является биологически несовместимой. Образец Т, напротив, обладая свойствами аналогичными свойствам воды в составе живой клетки, проявляет способность к стабилизации уровня функциональности организма человека.
Эксперимент 10*. В отделе профилактики токсикологии Федерального центра госсанэпиднадзора МЗ РФ изучалось влияние рассматриваемых образцов воды на биологические клеточные тест-объекты. В качестве методической основы исследования использовалась стандартная методика, разработанная авторским коллективом под руководством Рахманина Ю.А. (№ ЦОС ПВ Р 005-95) и утвержденная Заместителем Председателя Госстандарта России 12.10.95 г. Особенность этого метода исследования состоит в том, что наряду с таким контролируемым показателем качества воды, как индекс токсичности, который используется в системах хозяйственно-питьевого водоснабжения, полученные экспериментальные данные позволяют оценить комплексное влияние свойств воды на двигательную активность и продолжительность жизни клеточного тест-объекта. Исследование показало, что в образце Ф двигательная активность тест-объекта самая низкая, в то время как образец Т имеет лучшие значения по выбранным показателям. Данные эксперимента в условных единицах приведены в двух нижеследующих таблицах.
Суммарная оценка подвижности
| Образец |
Средняя суммарная подвижность (s) |
s в % к образцу В |
| Образец В |
3765,6 |
100 |
| Образец Ф |
3253,2 |
86 |
| Образец Т |
3932,0 |
104 |
Среднее время жизни
| Образец |
Среднее время жизни (t) |
t в % к образцу В |
| Образец В |
38.1 |
100 |
| Образец Ф |
39.6 |
104 |
| Образец Т |
42.2 |
110 |
Полученные экспериментальные данные свидетельствуют, что в образце Ф двигательная активность сперматозоидов относительно самая низкая, а образец Т имеет лучшие значения по выбранным показателям, что говорит о наличии у него совокупности свойств, положительно влияющих на выбранный тест-объект.
На результаты экспериментов, отмеченные звездочкой, имеются официальные заключения.
Формула изобретения
1. Устройство для обработки воды или водных растворов, содержащее генератор излучения, блок управления генератором, формирователь потока излучения, блок питания, защитный кожух и корпус, отличающееся тем, что генератор излучения выполнен в виде цилиндрического конденсатора и кольцевого магнита или электромагнита, коаксиально расположенного внутри него, пространство между обкладками конденсатора и магнитом или электромагнитом заполнено электроизолирующим материалом, а формирователь потока излучения выполнен в виде правокрученого спиралевидного пространственного тела, установленного на излучающую поверхность генератора.
2. Устройство по п.1, отличающееся тем, что вектор магнитной напряженности электромагнита коллинеарен геометрической оси конденсатора.
3. Устройство по п.1, отличающееся тем, что формирователь потока излучения выполнен в виде нескольких правокрученых спиралевидных пространственных тел, установленных на излучающие поверхности генератора.
4. Устройство по одному из пп.1, 2, 3, отличающееся тем, что оно снабжено матрицей.
5. Устройство по п.4, отличающееся тем, что матрица расположена в области между источником излучения и облучаемой емкостью.
РИСУНКИ
|