|
|
(21), (22) Заявка: 2004119404/12, 25.11.2002
(24) Дата начала отсчета срока действия патента:
25.11.2002
(30) Конвенционный приоритет:
26.11.2001 FR 01/15274
(43) Дата публикации заявки: 10.03.2005
(46) Опубликовано: 20.04.2007
(56) Список документов, цитированных в отчете о поиске:
RU 2152895 C1, 20.07.2000. US 4135649 А, 23.01.1979. US 5553745 А, 10.09.1996. US 6296157 В1, 02.10.2001.
(85) Дата перевода заявки PCT на национальную фазу:
28.06.2004
(86) Заявка PCT:
FR 02/04037 (25.11.2002)
(87) Публикация PCT:
WO 03/045833 (05.06.2003)
Адрес для переписки:
103735, Москва, ул. Ильинка, 5/2, ООО “Союзпатент”, пат.пов. Ю.В.Пинчуку, рег.№ 656
|
(72) Автор(ы):
РОЗЕ Филипп (FR)
(73) Патентообладатель(и):
ФЛЕКСТЕЙНЕР С.А. (FR)
|
(54) КРАН ДЛЯ РОЗЛИВА ЖИДКОСТЕЙ
(57) Реферат:
Изобретение относится к области изготовления кранов, содержащихся в небольших емкостях, для розлива пищевых жидкостей. Кран для розлива жидкостей состоит из корпуса. Корпус установлен в разливочном отверстии емкости, клапана или мембраны для герметичного закрытия разливочного отверстия. Разливочное отверстие содержит приводной узел. Приводной узел выполнен моноблочно с указанным приводным узлом и со средством герметичного прижатия к седлу указанного клапана или мембраны. Клапан установлен в части корпуса, противоположной части, предназначенной для установки в отверстии. Кран имеет средство приведения в действие приводного узла. Средство герметичного прижатия к седлу клапана или мембраны выполнено в виде упруго деформирующегося элемента. Средство соединено с одной стороны с клапаном или мембраной и с приводным узлом через общий направляющий элемент. С другой стороны средство соединено с крепежным фланцем, взаимодействующим с крепежными и центровочными выступами корпуса. Изобретение имеет более простую конструкцию и более дешево в изготовлении. 4 з.п. ф-лы, 5 ил.
Настоящее изобретение касается области изготовления кранов для розлива жидкостей, содержащихся в небольших жестких, полужестких или мягких емкостях, в частности пищевых жидкостей, и его объектом является такой кран.
В настоящее время розлив пищевых напитков, в частности столовых вин, фруктовых соков или молока, стерилизованного при сверхвысокой температуре, из жестких, полужестких или мягких емкостей, таких как сосуды из синтетического материала, осуществляют, как правило, при помощи кранов, закрепленных в сливном отверстии этих емкостей.
Известны краны, состоящие из корпуса, предназначенного для установки в отверстии емкости, и поршня для подачи жидкости, нагруженного пружиной и направляемого внутри корпуса, при этом поршень действует на упругую герметичную мембрану, жестко соединенную с корпусом. Корпус для установки в отверстие содержит крепежное соединение, взаимодействующее с отверстием путем защелкивания.
Такие краны обеспечивают правильную раздачу жидкости и выполнены с возможностью осуществления как операции расфасовки, так и последовательных операций розлива, причем последние могут осуществляться как в стерильных условиях, например в стерильную камеру, установленную на асептичной установке для розлива, так и в обычных условиях, например для розлива в стаканы или мелкие емкости, то есть для использования в быту или в ресторанах, при небольшом расходе только одного напитка или только одного сорта.
Известны также краны для розлива жидкостей, в частности асептичных или неасептичных пищевых жидкостей, с автоматическим закрытием, состоящие из корпуса для установки в отверстие емкости и из поршня для подачи жидкости, действующего на упругую герметичную мембрану, жестко соединенную с корпусом, при этом данные краны содержат средство удержания поршня в положении открытия.
Существуют также другие краны типа проходных, в которых прохождение жидкости обеспечивается согласованием проходных отверстий при помощи рычага или приводной ручки.
Все эти известные краны нормально обеспечивают основную функцию герметичного закрытия емкости с возможностью разлива содержащейся в ней жидкости.
Вместе с тем, недостатком этих известных кранов является их конструктивная сложность, требующая применения многих деталей, в связи с чем их стоимость как по изготовлению, так и по установке в емкости является относительно высокой. Кроме того, приведение в действие поршня или мембраны, закрывающей разливочное отверстие, осуществляется при помощи промежуточных деталей, обеспечивающих передачу и преобразование движения.
Так, из документа US-A-4693400 известен также кран для розлива жидкостей, состоящий из корпуса для установки в отверстие емкости и для розлива жидкости, из клапана, герметично закрывающего разливочное отверстие, содержащее приводной узел и выполненное в виде моноблочного элемента вместе с указанным приводным узлом и со средством герметичного прижатия в соответствующем седле указанного клапана для герметичного закрытия разливочного отверстия, при этом указанный клапан установлен в части корпуса, противоположной части, устанавливаемой в отверстие, и из средства приведения в действие указанного приводного узла.
В документах US-A-6045119 и US-A-5553745 также описаны краны, состоящие из нескольких деталей.
Задачей настоящего изобретения является устранение недостатков известных кранов и создание крана, имеющего более простую конструкцию и более дешевого в изготовлении.
В соответствии с настоящим изобретением кран для розлива жидкостей, в основном состоящий из корпуса для установки в разливочном отверстии емкости, клапана или мембраны для герметичного закрытия разливочного отверстия, содержащего приводной узел и выполненного моноблочно с указанным приводным узлом и со средством герметичного прижатия к седлу указанного клапана или мембраны для герметичного закрытия разливочного отверстия, при этом указанный клапан или мембрана установлены в части корпуса, противоположной части, предназначенной для установки в отверстии, и из средства приведения в действие указанного приводного узла, отличается тем, что средство герметичного прижатия к седлу клапана или мембраны для герметичного закрытия разливочного отверстия выполнено в виде упруго деформирующегося элемента, выполняющего роль пружины и соединенного с одной стороны с клапаном или мембраной для герметичного закрытия разливочного отверстия и с приводным узлом через общий направляющий элемент и с другой стороны с крепежным фланцем, взаимодействующим с крепежными и центровочными выступами корпуса.
Настоящее изобретение будет более очевидно из нижеследующего описания, относящегося к предпочтительному варианту выполнения, приведенному в качестве не ограничительного примера, со ссылками на прилагаемые чертежи, на которых:
Фиг.1 – вид сбоку в разрезе крана в соответствии с настоящим изобретением в закрытом положении.
Фиг.2 – изображение, аналогичное фиг.1, показывающее кран в рабочем открытом положении.
Фиг.3 – изображение в разрезе по линии А-А фиг.2 корпуса крана.
Фиг.4 – изображение в разрезе по линии В-В фиг.1.
Фиг.5 – перспективное изображение моноблочного элемента.
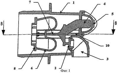
На фиг.1-4 прилагаемых чертежей показан кран для розлива жидкостей, в основном состоящий из корпуса 1 для установки в разливочное отверстие емкости (не показано), клапана или мембраны 2 для герметичного закрытия разливочного отверстия 3, содержащего приводной узел и выполненного в виде элемента, выполненного моноблочно с указанным приводным узлом 4 и со средством 6 герметичного прижатия к седлу указанного клапана 2 или мембраны для герметичного закрытия разливочного отверстия 3, при этом указанный клапан или мембрана 2 установлены в части корпуса 1, противоположной части, предназначенной для установки в отверстие, и из средства 5 приведения в действие указанного приводного узла 4.
В соответствии с настоящим изобретением и как показано, в частности, в качестве примера на фиг.1 и 2 прилагаемых чертежей средство 6 герметичного прижатия к седлу клапана 2 или мембраны для герметичного закрытия разливочного отверстия 3 выполнено в виде упруго деформирующегося элемента, выполняющего роль пружины и соединенного с одной стороны с клапаном или мембраной 2 для герметичного закрытия разливочного отверстия 3 и с приводным узлом 4 через общий направляющий элемент 7 и с другой стороны с крепежным фланцем 8, взаимодействующим с крепежными и центровочными выступами 9 корпуса 1 (фиг.4).
Общий направляющий элемент 7 выполнен в виде ползуна и взаимодействует с двумя направляющими рельсами 10, встроенными в корпус 1 крана, и предпочтительно выполнен в виде моноблочного элемента на конце, противоположном концу, предназначенному для установки указанного корпуса в отверстие (фиг.1, 2 и 4).
Как показано на фиг.1, 2 и 4, средство 5 приведения в действие приводного узла 4 образовано нажимной кнопкой, выполненной в виде упруго деформирующейся мембраны на корпусе 1 крана и герметично соединенной с этим корпусом.
Упруго деформирующийся элемент 6, выполняющий роль пружины и образующий средство 6 герметичного прижатия к седлу клапана 2 или мембраны для герметичного закрытия разливочного отверстия 3, предпочтительно выполнен в виде пары упругих пластин, каждая из которых одним своим концом соединена с общим направляющим элементом 7 со стороны, противоположной соединительной части между приводным узлом 4 и клапаном или мембраной 2 (фиг.1, 2 и 4), и другим концом – с крепежным фланцем 8, взаимодействующим с крепежными и центровочными выступами 9 корпуса 1 (фиг.4), при этом указанные упругие пластины образуют петлю между своими двумя концами. Такой вариант выполнения средства 6, в силу простой конструкции в виде образующих петли пластин, позволяет нагрузить перемещающиеся элементы, каковыми являются приводной узел 4 и клапан или мембрана 2, заранее определенным усилием в направлении закрытия отверстия 3 клапаном или мембраной.
Крепежный фланец 8, соединенный с упруго деформирующимся элементом 6, выполняющим роль пружины и образующим средство 6 герметичного прижатия к седлу клапана 2 или мембраны для герметичного закрытия разливочного отверстия 3, содержит сквозные отверстия 9′, имеющие форму, соответствующую форме крепежных и центровочных выступов 9, и жестко соединен с последними при помощи заклепок или путем сварки после сборки (фиг.4 и 5).
Работа крана в соответствии с настоящим изобретением понятна из изображений на фиг.1, 2, 4 и 5.
Рассмотрим кран, показанный на фиг.1, установленный в сливном отверстии емкости; при нажатии на нажимную кнопку, выполняющую роль средства 5 для приведения в действие приводного узла 4, последний перемещается вместе с клапаном или мембраной 2, преодолевая сопротивление упруго деформирующегося элемента 6, при помощи ползуна, образующего общий направляющий элемент 7. Данное перемещение осуществляется направленно при взаимодействии с общим направляющим элементом 7 при помощи направляющих рельсов 10, встроенных в корпус 1 (фиг.1, 2 и 4).
В положении, показанном на фиг.2 прилагаемых чертежей, разливочное отверстие 3 освобождается при отходе клапана или мембраны 2 от седла, и жидкость, содержащаяся внутри емкости, в которой установлен кран, вытекает через указанное разливочное отверстие 3 и может таким образом заполнять емкость для непосредственного потребления или промежуточную емкость для заполнения перед потреблением. При прекращении нажатия на нажимную кнопку 5 под действием элемента 5 приводной узел 4 и клапан или мембрана 2 сразу же возвращаются в исходное положение, перекрывая отверстие 3.
Благодаря наличию направляющих средств, состоящих из рельсов 10 и ползуна, образующего общий направляющий элемент 7, все подвижные элементы крана зафиксированы друг относительно друга во время своего перемещения.
Благодаря настоящему изобретению можно изготавливать кран для розлива жидкостей, содержащихся в жестких, полужестких и мягких емкостях, в частности пищевых жидкостей, при обеспечении очень надежной работы и простоты операций. Кроме того, этот кран имеет простую конструкцию, содержащую мало собираемых деталей, поэтому стоимость его изготовления является относительно низкой. Наконец, благодаря простой конструкции этот кран может быть выполнен компактным.
Само собой разумеется, что настоящее изобретение не ограничивается описанным и представленным на прилагаемых чертежах вариантом выполнения. В него можно вносить любые изменения, в частности, с точки зрения конструкции отдельных элементов или их замены техническими эквивалентами, не выходя при этом за рамки области правовой охраны изобретения.
Формула изобретения
1. Кран для розлива жидкостей, в основном состоящий из корпуса (1) для установки в разливочном отверстии емкости, клапана или мембраны (2) для герметичного закрытия разливочного отверстия (3), содержащего приводной узел (4) и выполненного моноблочно с указанным приводным узлом (4) и со средством (6) герметичного прижатия к седлу указанного клапана или мембраны (2) для герметичного закрытия разливочного отверстия (3), при этом указанный клапан установлен в части корпуса (1), противоположной части, предназначенной для установки в отверстие, и из средства (5) приведения в действие указанного приводного узла (4), отличающийся тем, что средство (6) герметичного прижатия к седлу клапана или мембраны (2) для герметичного закрытия разливочного отверстия (3) выполнено в виде упругодеформирующегося элемента, выполняющего роль пружины и соединенного, с одной стороны, с клапаном или мембраной (2) для герметичного закрытия разливочного отверстия (3) и с приводным узлом (4) через общий направляющий элемент (7) и, с другой стороны, с крепежным фланцем (8), взаимодействующим с крепежными и центровочными выступами (9) корпуса (1).
2. Кран по п.1, отличающийся тем, что общий направляющий элемент (7) выполнен в виде ползуна и взаимодействует с двумя направляющими рельсами (10), встроенными в корпус (1) крана, выполненный в виде моноблочного элемента, на конце, противоположном концу, предназначенному для установки указанного корпуса в сливное отверстие.
3. Кран по п.1, отличающийся тем, что средство (5) приведения в действие приводного узла (4) образовано нажимной кнопкой, выполненной в виде упругодеформирующейся мембраны на корпусе крана, и герметично соединено с корпусом.
4. Кран по п.1, отличающийся тем, что выполняющий роль пружины упругодеформирующийся элемент (6), образующий средство (6) герметичного прижатия к седлу клапана или мембраны (2) для герметичного закрытия разливочного отверстия (3), состоит из пары упругих пластин, каждая из которых одним концом соединена с общим направляющим элементом (7) со стороны, противоположной соединительной части между приводным узлом (4) и клапаном или мембраной (2), и другим концом – с крепежным фланцем (8), взаимодействующим с крепежными и центровочными выступами (9) корпуса (1), при этом указанные упругие пластины между двумя своими концами образуют петлю.
5. Кран по п.1, отличающийся тем, что крепежный фланец (8), соединенный с упругодеформирующимся элементом (6), выполняющим роль пружины и образующим средство (6) герметичного прижатия к седлу клапана или мембраны (2) для герметичного закрытия разливочного отверстия (3), содержит сквозные отверстия (9′), имеющие форму, соответствующую форме крепежных и центровочных выступов (9), и соединен с последними при помощи заклепок или путем сварки после сборки.
РИСУНКИ
|
|