|
|
(21), (22) Заявка: 2003125378/11, 17.01.2002
(24) Дата начала отсчета срока действия патента:
17.01.2002
(30) Конвенционный приоритет:
19.01.2001 US 60/264.224 19.01.2001 US 60/264.225 22.03.2001 US 09/815.390
(43) Дата публикации заявки: 27.01.2005
(46) Опубликовано: 20.04.2007
(56) Список документов, цитированных в отчете о поиске:
US 4896846 А, 30.01.1990. US 5299760 A, 04.05.1994. GB 568667 А, 16.04.1945. US 2553443 А, 15.05.1951. US 6065720 А, 23.05.2000. US 5542625 A, 06.08.1996. RU 2100253 C1, 27.12.1997. US 3680816 А, 01.03.1972. Aviation Week & Space Technology. July 2, 1990, p.16-21.
(85) Дата перевода заявки PCT на национальную фазу:
19.08.2003
(86) Заявка PCT:
US 02/01567 (17.01.2002)
(87) Публикация PCT:
WO 02/079031 (10.10.2002)
Адрес для переписки:
103735, Москва, ул. Ильинка, 5/2, ООО “Союзпатент”, пат.пов. Ю.В.Пинчуку, рег.№ 656
|
(72) Автор(ы):
НЕЛСОН Честер П. (US)
(73) Патентообладатель(и):
ТЕ БОИНГ КОМПАНИ (US)
|
(54) ИНТЕГРАЛЬНЫЙ И/ИЛИ МОДУЛЬНЫЙ ВЫСОКОСКОРОСТНОЙ САМОЛЕТ
(57) Реферат:
Изобретения относятся к области авиации. В вариантах выполнения самолет может содержать заднюю часть корпуса, интегрированную с треугольным крылом и сужающимся назад фюзеляжем, для обеспечения плавного распределения площади спереди назад. Силовая установка, содержащая двигатель, воздухозаборник и реактивное сопло, может быть интегрирована в заднюю часть корпуса для частично скрытого расположения позади крыла. В одном варианте выполнения вход воздухозаборника может быть расположен под крылом, а выход сопла может быть расположен на или над крылом. S-образный впускной канал может доставлять воздух к установленному сзади интегрированному двигателю. Самолет может содержать установленные сзади рули высоты, установленные на крыле элевоны и установленное спереди переднее оперение для управления тангажом. Конструкция самолета может быть модульной для использования преимуществ общих признаков между околозвуковой и сверхзвуковой структурами. Предложен также способ изготовления самолета. Технический результат – уменьшение лобового сопротивления. 6 н. и 54 з.п. ф-лы, 47 ил.
Область техники, к которой относится изобретение
Раскрытые варианты выполнения относятся к интегральным и/или модульным конфигурациям высокоскоростного самолета и к способам проектирования и изготовления таких конфигураций.
Уровень техники
Одна из целей коммерческого воздушного транспорта заключается в доставке пассажиров и грузов как можно быстрее из одного пункта в другой. Соответственно, многие коммерческие транспортные самолеты работают при крейсерских скоростях с числом Маха приблизительно 0,8-0,85. По мере нарастания ограничений по времени, предъявляемых к воздушным средствам и их пользователям, становится экономически выгодным перевозить пассажиров и грузы с более высокими скоростями. Однако полет самолета с околозвуковыми или сверхзвуковыми скоростями (при числе Маха более около 0,85) предъявляет относительно более высокие требования к реактивной тяге по сравнению с сопоставимым по размерам дозвуковым самолетом. Для получения достаточной реактивной тяги при больших высотах и числах Маха при одновременном снижении соответствующего возрастания лобового сопротивления, обычный околозвуковой и сверхзвуковой самолет содержит турбовентиляторные двигатели с низкой степенью двухконтурности или прямоточные турбореактивные двигатели. Такие конфигурации обычно имеют высокое удельное потребление топлива в крейсерских режимах, которое в целом перевешивает любое присущее им преимущество в аэродинамическом качестве, приводя к существенно меньшей общей топливной экономичности, чем для самолета с более низкой скоростью. Низкая топливная экономичность может также приводить к возрастанию выбросов в атмосферу.
Обычный околозвуковой и сверхзвуковой самолет обычно работает при очень высоких скоростях реактивной струи с целью создания достаточной реактивной тяги для взлета, что может приводить к существенным шумовым проблемам для аэропорта и окружения. Один подход к снижению шумности заключается в удлинении каналов воздухозаборника и сопла двигателя, а также в использовании в каналах покрытий, снижающий уровень шумности. Один из недостатков такого подхода состоит в том, что такие покрытия обычно увеличивают вес двигателя, что приводит к увеличению нагрузки на структуру крыла и чувствительности самолета к флаттеру крыла. Если увеличить толщину крыла для увеличения его несущей способности, то увеличивается также волновое сопротивление самолета. Увеличенный вес крыла также увеличивает количество топлива, которое должен нести самолет, что в свою очередь увеличивает вес структуры для топлива, а это в свою очередь требует еще больше топлива. В соответствии с этим может оказаться затруднительной разработка эффективного, экономичного, приемлемого для окружающей среды самолета, который работает на околозвуковых и/или сверхзвуковых скоростях.
На фиг.1А и 1В показан на виде сверху и снизу, соответственно, сверхзвуковой самолет 100а, согласно уровню техники, в изометрической проекции. Самолет 100а содержит фюзеляж 102а, треугольное крыло 104а, силовую установку 106а, подвешенную на крыле 104а, и установку управления 107 тангажом с задним стабилизатором. В качестве альтернативного решения самолет 100а может содержать установку управления тангажом без стабилизатора или по схеме “утка”. В любой конфигурации продольное распределение наружного поперечного сечения самолета и продольное распределение площади плоскостей в плане имеют тенденцию к преобладанию в околозвуковом и сверхзвуковом волновом сопротивлении (т.е. в увеличение лобового сопротивлении, возникающего при скоростях с числом Маха свыше около 0,85 из-за эффектов сжимаемости воздуха). В соответствии с этим фюзеляж 102а может быть длинным, тонким и с площадью поперечного сечения в соответствии с теорией площадей для снижения действия волнового лобового сопротивления при сверхзвуковых скоростях.
Изменение площади поперечного сечения фюзеляжа 102а в соответствии с теорией площадей может привести к тому, что средняя зона фюзеляжа является более узкой, чем передняя и задняя части фюзеляжа (т.е. “приталенная” конфигурация). Приталивание фюзеляжа может компенсировать увеличение площади поперечного сечения, обусловленное присутствием крыла 104а и силовой установки 106а. Силовая установка 106а может включать четыре гондолы 108а двигателей, установленных под крылом 104а для минимизации аэродинамического мешающего лобового сопротивления и для удаления вращающихся механизмов двигателей от основного лонжерона крыла и топливных баков, расположенных в крыле. Уменьшающие шумность сопла 110а обычно консольно располагаются полностью за задней кромкой 112а крыла 104а и могут, соответственно, приводить к увеличению консольных нагрузок на крыло 104а.
На фиг.1С-Е показан на виде сбоку, виде сверху и в разрезе по фюзеляжу, соответственно, высокоскоростной околозвуковой транспортный самолет 100b, имеющий фюзеляж 102b, стреловидное крыло 104b и гондолы 106b двигателей, подвешенные на крыле 104b, согласно уровню техники. Фюзеляж 102b имеет существенно зауженную или приталенную зону вблизи соединения 105 крыла и фюзеляжа. В соответствии с этим фюзеляж 102b выполнен для предотвращения или по меньшей мере снижения увеличения лобового сопротивления, как это было описано применительно к фиг.1А и 1В. Эта конструкция имеет несколько недостатков, включая повышенный вес структуры, повышенный риск появления флаттера крылья и уменьшенную грузовместимость. Конфигурации, показанные на фиг.1А-1Е, могут быть структурно неэкономичными и иметь пониженную грузовместимость как результат приталивания фюзеляжа, необходимого для уменьшения лобового сопротивления на околозвуковых и сверхзвуковых скоростях.
Раскрытие изобретения
Изобретение относится к высокоскоростному самолету и способам изготовления самолета. Согласно одному аспекту изобретения, самолет содержит фюзеляж, выполненный с возможностью перевозки полезного груза, и крыло, подвешенное к фюзеляжу. Крыло имеет переднюю зону с передней кромкой и заднюю зону с задней кромкой, верхнюю поверхность и нижнюю поверхность. Самолет дополнительно содержит силовую установку, расположенную, по меньшей мере, вблизи задней зоны крыла, при этом, по меньшей мере, часть силовой установки расположена между верхней и нижней поверхностями крыла. Силовая установка может содержать, по меньшей мере, одно впускное отверстие под нижней поверхностью крыла или над верхней поверхностью крыла, и по меньшей мере один двигатель, расположенный позади и с вертикальным смещением от впускного отверстия. Силовая установка дополнительно содержит, по меньшей мере, одно реактивное сопло позади, по меньшей мере, одного двигателя. Согласно другому аспекту изобретения, самолет дополнительно содержит, по меньшей мере, одно переднее оперение, расположенное на фюзеляже впереди от силовой установки. Согласно другому аспекту изобретения, фюзеляж может быть удлинен вдоль оси фюзеляжа, и самолет может содержать поверхность управления тангажом, имеющую заднюю кромку, расположенную внутрь от сопла между соплом и осью фюзеляжа.
Согласно еще одному аспекту изобретения, силовая установка содержит изогнутый назад S-образный канал между впускньм отверстием и двигателем. Самолет может быть выполнен для продолжительной работы с крейсерской скоростью с числом Маха от около 0,95 до около 0,99, или, в качестве альтернативного решения, с продолжительной крейсерской скоростью с числом Маха от около 1,5 до около 3,0. Фюзеляж может включать переднюю зону, заднюю зону вблизи силовой установки и промежуточную зону перед силовой установкой между передней и задней зонами. Фюзеляж может непрерывно сужаться от промежуточной зоны к задней зоне.
Изобретение также относится к модульной установке самолета, которая содержит фюзеляж, имеющий секцию полезной нагрузки, и стреловидное крыло, подвешенное к фюзеляжу части и имеющее верхнюю и нижнюю поверхности. Установока самолета дополнительно содержит первую и вторую носовые части, выполненные с возможностью взаимозаменяемой установки на фюзеляже, при этом первая носовая часть выполнена для полета с дозвуковой скоростью с числом Маха до около 0,99, а вторая носовая часть – для сверхзвукового полета. Установка дополнительно содержит первую и вторую гондолы, выполненные с возможностью взаимозаменяемого соединения с задней частью крыла, при этом первая гондола выполнена для полета с дозвуковой скоростью с числом Маха до около 0,99, а вторая гондола – для сверхзвукового полета.
Изобретение дополнительно относится к способу изготовления самолета. Согласно одному аспекту изобретения, способ содержит крепление крыла к фюзеляжу, при этом крыло имеет переднюю зону с передней кромкой и заднюю зону с задней кромкой, и верхнюю и нижнюю поверхность. Фюзеляж выполнен для перевозки полезного груза и имеет удлиненную форму вдоль оси фюзеляжа. Способ дополнительно содержит прикрепление силовой установки к крылу путем подъема силовой установки к задней зоне крыла и расположения, по меньшей мере, части силовой установки между верхней и нижней поверхностями крыла. Силовая установка содержит, по меньшей мере, одно впускное отверстие, расположенное под нижней поверхностью крыла или над верхней поверхностью крыла, при этом силовая установка включает, по меньшей мере, один турбовентиляторный двигатель, расположенный позади и с вертикальным смещением от впускного отверстия. Силовая установка дополнительно содержит, по меньшей мере, одно сопло позади, по меньшей мере, одного двигателя, и канал в целом S-образной формы между, по меньшей мере, одним двигателем и, по меньшей мере, одним впускным отверстием. Способ дополнительно содержит расположение поверхности управления тангажом между силовой установкой и осью фюзеляжа, или крепление переднего оперения к фюзеляжу.
Краткое описание чертежей
На чертежах изображено:
фиг.1А и 1В – сверхзвуковой транспортный самолет, имеющий суженный фюзеляж, согласно уровню техники;
фиг.1С-Е – дозвуковой/околозвуковой транспортный самолет, имеющий суженный фюзеляж, согласно уровню техники;
фиг.2 – сверхзвуковой транспортный самолет, имеющий интегрированную силовую установку и заднюю часть, согласно данному изобретению, на виде сбоку в изометрической проекции;
фиг.3 – самолет, в целом согласно фиг.2, согласно одному варианту выполнения изобретения, на виде сзади, в изометрической проекции;
фиг.4А-С – самолет, в целом согласно фиг.2, согласно одному варианту выполнения изобретения, на виде сверху, спереди и сбоку, соответственно;
фиг.5 – разрез силовой установки, интегрированной с задней частью фюзеляжа самолета, согласно одному варианту выполнения изобретения, на виде сбоку;
фиг.6А – график зависимости общей площади поперечного сечения и площади поперечного сечения отдельных компонентов самолета, имеющего интегрированную силовую установку, согласно одному варианту выполнения изобретения;
фиг.6В – сравнение суженного и не суженного фюзеляжа, согласно одному варианту выполнения изобретения;
фиг.6С – альтернативные не суженные расположения пассажирских мест, согласно другим вариантам выполнения изобретения;
фиг.7 – сравнение прогнозируемой взлетной массы и уровня шумности, соответствующих самолету, согласно вариантам выполнения изобретения;
фиг.8 – задняя часть конструкции высокоскоростного самолета, имеющего наклоненные наружу кили, согласно одному варианту выполнения, на виде сверху, в изометрической проекции;
фиг.9 – задняя часть конструкции высокоскоростного самолета, имеющего наклоненные внутрь кили, согласно одному варианту выполнения, на виде сверху, в изометрической проекции;
фиг.10 – высокоскоростной транспортный самолет, имеющий интегрированную, установленную сзади силовую установку, согласно другому варианту выполнения изобретения, в наложении на самолет, имеющий не интегрированную силовую установку, на виде сверху;
фиг.11А-С – разрез задней части фюзеляжа высокоскоростного самолета и сопла, согласно другому варианту выполнения изобретения, на виде сбоку;
фиг.12 – околозвуковой транспортный самолет, согласно одному варианту выполнения изобретения, на виде спереди справа, в изометрической проекции;
фиг.13 – околозвуковой транспортный самолет, показанный на фиг.12, согласно одному варианту выполнения изобретения, на виде спереди слева, в изометрической проекции;
фиг.14 – таблица данных околозвукового транспортного самолета, согласно одному варианту выполнения изобретения;
фиг.15А-С – околозвуковой транспортный самолет, в целом аналогичный показанному на фиг.12 и 13, на виде сверху, спереди и сбоку, согласно одному варианту выполнения изобретения;
фиг.15D-F – околозвуковой транспортный самолет, на виде сверху, спереди и сбоку, согласно другому варианту выполнения изобретения;
фиг.16А – данные сравнения прогнозируемого времени рейса для обычного дозвукового самолета и околозвукового транспортного самолета, согласно одному варианту выполнения изобретения;
фиг.16В – данные сравнения прогнозируемой дальности полета для обычного дозвукового самолета и околозвукового транспортного самолета, согласно одному варианту выполнения изобретения;
фиг.17А – околозвуковой самолет, согласно другому варианту выполнения изобретения, в изометрической проекции;
фиг.17В – сверхзвуковой коммерческий реактивный самолет, имеющий силовую установку, интегрированную с задней частью корпуса, согласно одному варианту выполнения изобретения, на виде сзади, в изометрической проекции;
фиг.18 – задняя часть самолета, имеющего интегрированную силовую установку с впускными отверстиями, расположенными над крылом, согласно другому варианту выполнения изобретения;
фиг.19 – околозвуковой транспортный самолет, имеющий интегрированную силовую установку с впускными отверстиями, расположенными над крылом, согласно еще одному варианту выполнения изобретения, в изометрической проекции;
фиг.20A-G – впускные отверстия для околозвукового или сверхзвукового самолета, согласно другим вариантом выполнения изобретения;
фиг.21 – гондола, интегрированная с задней частью корпуса самолета и имеющая впускные створки всасывания, согласно другому варианту выполнения изобретения, на виде сверху, в изометрической проекции;
фиг.22 – задняя часть корпуса самолета, выполненная с возможностью установки одной или трех интегрированных гондол, согласно другому варианту выполнения изобретения, на виде сверху, в изометрической проекции;
фиг.23 – задняя часть корпуса самолета, имеющая кили, установленные на лонжеронах, согласно другому варианту выполнения изобретения, на виде сверху, в изометрической проекции;
фиг.24 – модульный самолета для режима околозвуковых или сверхзвуковых крейсерских скоростей, согласно еще одному варианту выполнения изобретения, на виде сверху.
Осуществление изобретения
Для лучшего понимания специфичных деталей изобретения ниже приводится подробное описание вариантов его выполнения. Однако специалистам в данной области техники понятно, что изобретение может быть осуществлено на практике без использования этих деталей. В некоторых примерах хорошо известные структуры и функции не показаны или не описаны подробно во избежание излишнего усложнения описания вариантов выполнения изобретения.
На чертежах одинаковыми позициями обозначены одинаковые или в основном аналогичные элементы. Для облегчения идентификации при описании любого конкретного элемента самая старшая цифра или цифры позиции относится к номеру фигуры, на которой этот элемент был впервые приведен (например, элемент 1202 является впервые введенным и описанным применительно к фиг.12). Размеры, углы и другие технические параметры, показанные на фигурах, являются представительными для конкретных вариантов выполнения изобретения. В таком случае конфигурации в соответствии с другими вариантами выполнения могут иметь другие технические параметры.
Фиг.2-11 С и соответствующее описание относятся к сверхзвуковому самолету, имеющему установленные сзади, интегрированные силовые установки в соответствии с вариантами выполнения изобретения. Фиг.12-17А и соответствующее описание относятся к околозвуковому самолету, имеющему смонтированные сзади, интегрированные силовые установки в соответствии с другими предпочтительными вариантами изобретения. Фиг.17В и соответствующее описание относятся в целом к сверхзвуковым реактивным самолетам бизнес-класса, имеющим установленные сзади, интегрированные силовые установки в соответствии с другими вариантами выполнения изобретения. Фиг.18-23 и соответствующее описание относятся к компонентам интегрированных силовых установок в соответствии с другими вариантами выполнения изобретения. Фиг.24 и соответствующее описание относятся к модульным конфигурациям самолета в соответствии с другими вариантами выполнения изобретения.
На фиг.2 показан частично в изометрической проекции сверхзвуковой самолет 200, имеющий интегрированную силовую установку и заднюю часть в соответствии с одним вариантом выполнения изобретения. В одном варианте выполнения, самолет 200 может быть выполнен для доставки около 300 пассажиров при крейсерской скорости с числом Маха около 2,4. В других вариантах выполнения, самолет 200 может иметь другие вместимости для полезной нагрузки и другие крейсерские скорости, например крейсерскую скорость с числом Маха от около 1,5 до около 3,0.
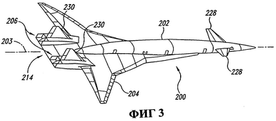
Фиг.3 представляет частично схематический изометрический вид сверху самолета 200, в целом аналогичного показанному на фиг.2, но имеющему укороченный фюзеляж 202. На фиг.4А-С показан на виде сверху, спереди и сбоку, соответственно, самолет 200, в целом аналогичный показанному на фиг.2. Как показано на фиг.3 и 4А-С, самолет 200, согласно варианту выполнения, содержит фюзеляж 202 (удлиненный вдоль оси 203 фюзеляжа), треугольное крыло 204 и силовую установку 206, интегрированную в задней части 214 корпуса. Согласно одному аспекту этого варианта выполнения (показанного на фиг.4В), фюзеляж 202 имеет в целом эллиптическую форму поперечного сечения для более простого приспособления к конфигурации посадочных мест пассажиров с двойным проходом между рядами. В других вариантах выполнения, фюзеляж 202 может иметь другие формы, такие как круговую форму поперечного сечения. В любом варианте выполнения, фюзеляж 202 может непрерывно сужаться от средней к задней зоне для улучшения характеристик лобового сопротивления самолета 200, как будет более подробно описано ниже. Крыло 204 может иметь в целом треугольную конфигурацию, такую как конфигурация тройного треугольника, показанную на фиг.3 и 4А. В качестве альтернативного решения, крыло 204 может иметь конфигурацию одиночного или двойного треугольника или непрерывно искривленную оживальную или стреловидную конфигурацию. Самолет может дополнительно содержать установленное спереди переднее оперение 228 по схеме “утка” и вертикальные кили 230. В других вариантах выполнения кили могут иметь иные конфигурации, как будет описано более подробно ниже применительно к фиг.8 и 9.
Как показано на фиг.4А-С, силовая установка 206 может включать двигатели 216 (фиг.4А), расположенные в относительно длинных гондолах 218 (фиг.4С). Согласно одному аспекту этого варианта выполнения, каждая гондола 218 может включать воздухозаборник 220, имеющий впускное отверстие 223, расположенное под нижней поверхностью 237 крыла 204, и впускной канал 221 S-образной формы, соединяющий впускное отверстие 223 с двигателем 216. Гондолы 218 могут далее включать выпускные каналы или сопла 222, расположенные на или над крылом 204. В альтернативных вариантах выполнения, впускное отверстие 223 может быть расположено над крылом 204, как более подробно описано ниже со ссылками на фиг.18 и 19. Согласно другому аспекту варианта выполнения, показанного на фиг.4А-С, воздухозаборники 220 и сопла 222 могут быть расположены довольно далеко сзади от обычных положений установки на крыле. Например, воздухозаборник 220 может быть расположен позади положения 30% хорды крыла. Сопла 222 могут быть расположены позади задней кромки 224 (фиг.4А) крыла 204 и около или выше хордовой линии крыла на задней кромке 224. Двигатели 216 могут быть расположены за основным корпусом 226 крыла и могут выступать за заднюю кромку 224 крыла, как описано более подробно со ссылками на фиг.5.
На фиг.5 показан разрез задней части самолета 200 по линии 5-5 на фиг.4А. Как показано на фиг.5, максимальная площадь поперечного сечения гондолы 218 может быть расположена за основным корпусом 226 крыла, так что гондола 218, по меньшей мере, частично “скрыта” за фронтом крыла 204. По меньшей мере, часть гондолы 218 и любые вращающиеся компоненты двигателя 216 могут быть также расположены позади зоны 232 полезной нагрузки или салона самолета 200. Например, вращающиеся компоненты двигателя (например, лопатки вентилятора, лопатки компрессора и лопатки турбины) могут быть расположены позади герметичной части фюзеляжа 202 для уменьшения вероятности разгерметизации салона в случае повреждения вращающихся компонентов. Вращающиеся компоненты двигателя 216 также могут быть размещены позади любого топливного бака в крыле 204 для уменьшения вероятности возгорания в случае повреждения вращающихся компонентов. В любом из вариантов выполнения, двигатель 216 может быть немного наклонен вниз, как показано на фиг.5, или в качестве альтернативного решения, двигатель 216 может быть примерно горизонтальным. Еще в одном варианте выполнения (например, когда воздухозаборник смонтирован над крылом, как описано ниже со ссылками на фиг.18 и 19), двигатель 216 может быть наклонен вверх.
Согласно одному аспекту варианта выполнения, показанного на фиг.5, шасси 234 может быть размещено в направлении задней зоны 232 салона и в направлении гондолы 218. Согласно другому аспекту этого варианта выполнения, может быть предусмотрен обтекатель 235 шасси для размещения шасси 234 и расположен в зоне, где фюзеляж 202 сужается в направлении гондолы 218. Другой обтекатель 236 может плавно соединять верхнюю часть гондолы 218 с верхней поверхностью 238 крыла 204.
Согласно одному аспекту этого варианта выполнения, увеличение площади поперечного сечения, вызванное гондолой 218 (и в одном варианте выполнения, обтекателем 235 шасси), может совпадать с уменьшением площади поперечного сечения фюзеляжа 202 для формирования плавного распределения общей площади, имеющего малую чисто фронтальную площадь. В соответствии с этим эта конфигурация может уменьшить возможность значительного роста лобового сопротивления при околозвуковых скоростях по сравнению с конфигурациями, имеющими другие положения силовой установки.
Фиг.6А иллюстрирует пример распределения площади, соответствующего конфигурации, согласно одному варианту выполнения изобретения. Распределение площади комбинации крыла и фюзеляжа и (по направлению к задней части самолета) комбинации крыла, фюзеляжа и гондолы, образует плавно изменяющуюся функцию, которая может существенно снизить динамическое воздействие волнового сопротивления при околозвуковых и сверхзвуковых скоростях.
Фиг.6В иллюстрирует расположение посадочных мест фюзеляжа 202 в соответствии с одним вариантом выполнения изобретения. Для сравнения на фиг.6В также показан фюзеляж 202а, имеющий примерно такую же вместимость посадочных мест, но в суженной конфигурации. На фиг.6С показаны два других варианта выполнения фюзеляжей 202b и 202с, имеющих не суженные конфигурации.
Как показано на фиг.4А, задняя часть 214 фюзеляжа самолета 200 может включать плоские зоны или “бобровые хвосты” 240 внутрь от каждого сопла 222. Плоские зоны 240 могут обеспечить структурную поддержку для гондол 218 и формировать интегрированный горизонтальный стабилизатор. Плоские зоны 240 могут быть объединены с задней частью 214 корпуса и создавать часть общей подъемной силы самолета, которая может уравновешивать часть статического веса и инерционной нагрузки двигателей 216. Задняя часть 214 корпуса может дополнительно включать подвижные поверхности 242 руля высоты, которые могут быть использованы в комбинации с наружными элевонами 244 крыла и передним оперением 228 для обеспечения продольных (т.е. по оси тангажа) функций триммирования и управления.
Согласно одному аспекту этого варианта выполнения, использование трех поверхностей (рулей 242 высоты, элевонов 244 и переднего оперения 228) может обеспечить работу в широком диапазоне положений центра тяжести, что может быть затруднительным или невозможным в конфигурациях, имеющих большие тяжелые двигатели, установленные в задней части самолета. Согласно одному аспекту этого варианта выполнения, передние крылья 228, элевоны 244 и рули 242 высоты можно одновременно отклонять для получения подъемной силы на всех трех поверхностях и поднимать центр тяжести самолета 200. В одном варианте выполнения, рули 242 высоты могут быть объединены с реактивными соплами 222 для изменения вектора реактивной тяги, описанного более подробно ниже со ссылками на фиг.10 и 11А-С. В еще одном варианте выполнения, например, переднее оперение 228 можно исключить, когда элевоны 244 и рули 242 высоты обеспечивают адекватное управление тангажом. Подобная конфигурация приемлема для самолета, сконструированного как реактивный самолет-заправщик, бомбардировщик, реактивный самолет бизнес-класса или другой тип самолета, для которых ограничена возможность смещения центра тяжести в ходе полета или между полетами.
Согласно одному аспекту варианта выполнения самолета 200, кили 230 могут быть вертикальными и смонтированными на тех же структурных элементах, которые поддерживают двигатели 216, на примерно той же линии сечения, что и двигатели 216. В соответствии с этим общий вес самолета может быть снижен по сравнению с конфигурациями, имеющими раздельные опорные структуры для двигателей и килей. В качестве альтернативного решения, единственный киль может быть установлен непосредственно на фюзеляже 202 в непосредственной близости от его задней зоны 214. В другом варианте выполнения, кили 230 могут быть выполнены полностью подвижными или, в качестве альтернативного решения, кили 230 могут включать неподвижную часть с подвижным рулем.
Один признак варианта выполнения самолета 200, описанного выше со ссылками на фиг.2-6С, состоит в том, что за счет интегрирования силовой установки 206 в задней части 214 корпуса может быть снижено влияние на площадь поперечного сечения фюзеляжа 202 по сравнению с другими конфигурациями установки двигателя. Соответственно, фюзеляж 202 не обязательно должен быть зауженным по его центру, что может оказывать неблагоприятное влияние на вместимость полезного груза, структурные характеристики и характеристики звукового удара.
Другим преимуществом варианта выполнения самолета 200, описанного выше со ссылками на фиг.2-6С, является то, что общая длина силовой установки 206 может быть увеличена по сравнению с другими конфигурациями без вредного воздействия на теорию площадей, указанную выше, и без существенного увеличения консольных нагрузок позади задней кромки 224 крыла. В соответствии с этим как воздухозаборники 220, так и сопла 222 могут быть обработаны с использованием акустических панелей или других шумопонижающих средств для уменьшения динамического воздействия шума, создаваемого самолетом 200, на окружающую среду. Например, на фиг.7 показаны прогнозируемые данные для самолета типа, описанного выше со ссылками на фиг.2-6С, сравнивающие уровни шумности для самолета при наличии и отсутствии смонтированных в задней зоне интегрированных силовых установок. Оба самолета выполнены для перевозки 300 пассажиров на расстояние 5500 морских миль при приблизительно одной и той же сверхзвуковой крейсерской скорости. Как показано на фиг.7, самолет, не имеющий интегрированной в задней части фюзеляжа силовой установки, имеет увеличение максимального взлетного веса от 753500 фунтов до 796800 фунтов (с 341782 до 361422 кг), когда уровень шумности после дросселирования подачи топлива (после взлета) уменьшается от 5 дБ до 7 дБ ниже норм шумности “Отчета по анализу отказов” (FAR), часть 36, этап III. Напротив, самолет, имеющий встроенную в заднюю зону фюзеляжа силовую установку, имеет увеличение веса от 652109 фунтов до 672411 фунтов (с 295791 до 305000) с обеспечением уровня шумности на 10 дБ ниже требований норм шумности при дросселировании, и на 6 дБ ниже норм шумности для боковой полосы (в конце взлетно-посадочной полосы при взлете). В соответствии с этим самолет, имеющий интегрированную силовую установку, согласно варианту выполнения изобретения (а), может иметь меньший взлетный вес брутто, чем другие конфигурации, и (b) может иметь больший запас с точки зрения шумности, чем другие конфигурации, поскольку уровень шумности может быть снижен на большую величину, не приводя к такому же большому увеличению веса самолета.
Еще одним признаком варианта выполнения самолета 200, описанного выше со ссылками на фиг.2-бС, является то, что, по меньшей мере, часть гондолы 218 “скрыта” за выступающей фронтальной площадью крыла 204 и интегрирована с крылом 204. Соответственно, самолет 200 может использовать двигатели 216, имеющие больший диаметр (для более высокой реактивной тяги и/или более высокой степени двухконтурности двигателя), чем не интегрированные конфигурации, без существенного ухудшения аэродинамических характеристик. Более того, интегрирование гондол 218 может уменьшить открытую смачиваемую площадь гондол 218 и соответственно общее приповерхностное трение самолета. Кроме того, S-образная форма канала 221 воздухозаборника может экранировать наружную от самолета зону от распространяющегося вперед шума, создаваемого компонентами вентилятора двигателя и/или другими компонентами двигателя.
Другим признаком интегрирования гондолы 218 с крылом 204 самолета и задней частью 214 фюзеляжа является то, что такая установка может более эффективно поддерживать двигатели 216. Например, двигатели 216 не обязательно консольно закрепляются или подвешиваются под крылом 204, и сопло 222 может быть объединено с задней частью 214 фюзеляжа, вместо консольного закрепления за крылом 204. Как указывалось выше, одно из преимуществ этого признака состоит в том, что сопло 222 может быть выполнено более длинным (обеспечивающим повышенную акустическую обработку) без существенного возрастания структурных нагрузок, создаваемых соплом. Например, в одном варианте выполнения сопло 222 может быть удлинено примерно на 150 дюймов (381 см) по сравнению с конструкциями, имеющими подвесные, установленные на крыле гондолы.
Еще одним признаком варианта выполнения самолета 200, описанного выше со ссылками на фиг.2-6С, является то, что он может содержать плоскую поверхность управления тангажом или ” бобровый хвост” 240 на задней части 214 корпуса. Одно преимущество плоской поверхности 240 состоит в том, что она может увеличивать общую длину хорды внутрь от крыла, тем самым снижая соотношение толщины к хорде (и, соответственно, уменьшая лобовое сопротивление) или обеспечивая увеличенную глубину крыла. Другое преимущество состоит в том, что плоская поверхность 240 может распределять часть аэродинамической подъемной силы по задней части фюзеляжа и тем самым снижать структурную нагрузку на крыло. Еще одно преимущество плоской поверхности 240 задней части фюзеляжа заключается в том, что она может в комбинации с формой в плане стреловидного крыла уменьшать или замедлять проблемы нестабильности роста тангажа при большом угле атаки по сравнению с другими конфигурациями, не имеющими этого признака.
Еще одним признаком варианта выполнения самолета 200, описанного выше со ссылками на фиг.2-6С, является то, что треугольная в плане форма крыла может создавать достаточную подъемную силу для уменьшения или исключения необходимости в средствах увеличения подъемной силы, таких как щелевые и/или нещелевые закрылки передней и/или задней кромки крыла. В соответствии с этим уменьшается механическая сложность крыла по сравнению с обычными конфигурациями.
Еще одним признаком варианта выполнения самолета, описанного выше со ссылками на фиг.2-6С, является то, что фюзеляж 202 не обязательно должен быть суженным или уменьшенным в поперечном сечении для согласования с присутствием крыла 204 и/или силовой установки 206. В соответствии с этим можно использовать более короткий, с большим диаметром фюзеляж для получения того же числа посадочных мест пассажиров. Более короткий фюзеляж может снизить общий вес самолета и повысить качество полета по сравнению с самолетами, имеющим более длинные (и более гибкие) фюзеляжи.
В других вариантах выполнения, самолет 200 может иметь признаки, отличные от описанных выше со ссылками на фиг.2-6С. Например, отверстие 223 воздухозаборника может иметь по существу эллиптическую форму (как показано на фиг.4В) или, в качестве альтернативного решения, другие формы и конфигурации, такие как описанные более подробно ниже со ссылками на фиг.20A-20G. В некоторых вариантах выполнения может быть предпочтительным уменьшение соотношения высоты к ширине отверстия 223 воздухозаборника для более полного интегрирования воздухозаборника в самолете. Каждый воздухозаборник 220 может обеспечивать подачу воздуха к одному двигателю или, в качестве альтернативного решения, к нескольким двигателям, как будет описано более подробно ниже со ссылками на фиг.19. Воздухозаборники 220 могут иметь подвижные внутренние поверхности для применения на сверхзвуковых скоростях или, в качестве альтернативного решения, фиксированную геометрию, например, как при установке в дозвуковом самолете, такие как будут описаны ниже со ссылками на фиг.12-17А.
Реактивное сопло 222 может иметь конфигурацию шумоподавляющего эжектора с фиксированной или изменяемой геометрией и может иметь по существу круглую, прямоугольную или другую форму. В одном варианте выполнения, сопло 222 может быть реактивным соплом с лопаточным эжектором, выполненное с возможностью увеличения подавления шумности и описанное подробно в находящейся на рассмотрении заявке US № 09/671870, поданной 27 сентября 2000 г., полное содержание которой включается в данное описание. В других вариантах выполнения, сопло 222 может обеспечивать изменение вектора реактивной тяги, как описано более подробно ниже со ссылками на фиг.10 и 11А-С. В одном варианте выполнения, крыло может иметь угол стреловидности передней кромки примерно от 28 градусов до 38 градусов снаружи от гондол 218 и примерно от 45 градусов до 75 градусов или более внутрь от гондол 218. В других вариантах выполнения, угол стреловидности крыла может иметь другие значения.
В других вариантах выполнения, самолет может иметь другие конфигурации. Например, как показано на фиг.8, самолет 800, согласно одному варианту выполнения изобретения, может иметь интегрированную заднюю часть 814 корпуса, по существу аналогичную задней части 214, описанной выше со ссылками на фиг.2-6С. Самолет 800 может также включать кили 830, наклоненные наружу. В качестве альтернативного решения, как показано на фиг.9, самолет 800 может включать заднюю часть 814 фюзеляжа, имеющую наклоненные внутрь кили 930. Конкретная конфигурация, выбранная для килей, может зависеть от аэродинамических характеристик и характеристик управления другими элементами самолета.
На фиг.10 показан на виде сверху самолет 1000, имеющий интегрированные гондолы 1018 и заднюю часть 1014 корпуса в соответствии с другим вариантом выполнения изобретения. Для целей иллюстрации план самолета 1000 наложен на план самолета 100а (в целом аналогичного показанному на фиг.1А), имеющего не интегрированную силовую установку. Согласно одному аспекту варианта выполнения, показанного на фиг.10, самолет 1000 может включать фюзеляж 1002, крыло 1004 и две гондолы 1018, каждая из которых имеет воздухозаборник 1020, смонтированный под фюзеляжем 1002 и/или под крылом 1004. Каждый воздухозаборник 1020 может обеспечивать подачу воздуха к двум двигателям 1016. Согласно другому аспекту этого варианта выполнения, самолет 1000 может включать сопла 1022 вблизи верхней поверхности задней части 1014 фюзеляжа. Элевоны 1042 расположены в задней части сопел 1022 для изменения вектора реактивной тяги, создаваемой двигателями 1016. Например, как показано в разрезе на фиг.11А, элевон 1042 может быть расположен непосредственно позади двигателя 1016 и ниже переднего верхнего щитка 1043 сопла. Положения элевона 1042 и верхнего щитка 1043 можно регулировать для управления площадью передней горловины 1045 сопла, в зависимости от скорости самолета. Положение, показанное на фиг.11А, может соответствовать обычному сверхзвуковому крейсерскому режиму. Положение, показанное на фиг.11С, может соответствовать обычному дозвуковому крейсерскому режиму (с необязательным эжекторным потоком), и положение, показанное на фиг.11В, может соответствовать обычному режиму взлета. В других вариантах выполнения, сопло 1022 может иметь другие конфигурации изменения вектора реактивной тяги. Например, верхний щиток 1043 может быть продолжен назад для обеспечения дополнительного изменения вектора реактивной тяги. Согласно другой альтернативной конфигурации, изменение вектора реактивной тяги может быть обеспечено в направлениях рыскания и/или крена, а также в плоскости тангажа.
На фиг.12 показан частично на виде спереди справа в изометрический проекции околозвуковой самолет 1200, имеющий установленную сзади интегрированную силовую установку, согласно другому варианту выполнения изобретения. На фиг.13 показан на виде спереди слева в изометрической проекции самолет, показанный на фиг.12. На фиг.14 показана таблица размерных данных, представляющих вариант выполнения самолета 1200, показанного на фиг.12 и 13. На фиг.15А-С показан вид сверху, вид сбоку и вид спереди, соответственно, варианта выполнения самолета 1200, в целом аналогичного показанному на фиг.12 и 13. Как показано на фиг.12-15С, самолет 1200 содержит фюзеляж 1202, крыло 1204 и гондолы 1218, интегрированные с задней частью 1214 корпуса способом, в основном аналогичным описанному выше со ссылками на фиг.2-6С. В соответствии с этим (как показано на фиг.15С) каждая гондола 1218 содержит воздухозаборник 1220, имеющий впускное отверстие 1223, расположенное под крылом 1204, двигатель 1216 позади воздухозаборника 1220 и реактивное сопло 1222, которое проходит над верхней поверхностью 1238 крыла. Самолет 1200 дополнительно содержит кили 1230, которые слегка наклонены внутрь, как показано на фиг.15В. В качестве альтернативного решения, кили могут быть наклонены наружу или же расположены вертикально в других вариантах выполнения. Самолет 1200 может дополнительно содержать переднее оперение 1228, которое совместно с рулями 1242 высоты и элевонами 1244 может управлять тангажом самолета способом, в основном аналогичным описанному выше со ссылками на фиг.2-6С.
На фиг.15D-F показан на виде сверху, спереди и сбоку, соответственно, околозвуковой самолет 1200, имеющий некоторые признаки, которые отличаются от показанных на фиг.15А-С. Конфигурация, согласно фиг.15А-С, показана штриховыми линиями на фиг.15D-F для целей сравнения. Самолет 1200, показанный на фиг.15D-F, может иметь фюзеляж 1202а, который длиннее фюзеляжа 1202, показанного на фиг.15А-С. Согласно одному аспекту этого варианта выполнения, фюзеляж 1202а может иметь цилиндр постоянной площади поперечного сечения для получения увеличенной длины. Самолет 1200, показанный на фиг.15D-F, может включать воздухозаборники 1220а, которые являются стреловидными на виде сбоку и более прямоугольными, чем воздухозаборники 1220, и гондолы 1218а, которые удлинены относительно гондол 1218 для размещения сопел смешанного потока. Задняя часть 1214а самолета 1200 может иметь небольшую изогнутость и может плавно и непрерывно соединяться с обтекателем 1235а шасси. Крыло 1204а самолета 1200 может иметь слегка отличную форму кромок и может включать наплывы 1206а, которые имеют большую стреловидность и короче в направлении размаха крыла, чем соответствующие части крыла 1204, показанного на фиг.15А-С. Самолет 1200, показанный на фиг.15D-F, может включать носовую часть 1205а, которая более опущена и заострена по сравнению с соответствующей структурой, показанной на фиг.15А-С. Переднее оперение 1228а и кили 1230а, показанные на фиг.15D-F, имеют меньший угол наклона, меньшее относительное удлинение и больший размер по сравнению с соответствующими структурами, показанными на фиг.15А-С. В других вариантах выполнения, самолет 1200 может иметь признаки и элементы с другими размерами, формами и конфигурациями.
Согласно одному аспекту вариантов выполнения, показанных на фиг.12-15F, самолет 1200 может иметь крейсерскую скорость в области околозвуковых скоростей. Например, крейсерская скорость может быть с числом Маха примерно от 0,85 до 0,99 в одном варианте выполнения и, согласно одном специальному аспекту этого варианта выполнения, крейсерская скорость может быть с числом Маха от 0,95 до 0,98. Самолет 1200 может иметь длину около 250 футов (76,2 м) и выполнен для перевозки примерно от 210 до 260 пассажиров на дальность примерно от 5000 до 11000 морских миль (9260-30372 км). В других предпочтительных вариантах самолет 1200 может иметь длину до 350 футов (107 м) или более для перевозки до 500 или более пассажиров на той же дальности. В других вариантах выполнения самолет может иметь более короткую дальность, например, примерно от 2000 до 5000 морских миль (3700-9000 км).
В одном варианте выполнения околозвуковой самолет 1200 может включать многие признаки, описанные выше со ссылками на сверхзвуковой самолет 200. В соответствии с этим, в самолете 1200 можно реализовать многие или все преимущества, описанные выше со ссылками на фиг.2-6С. Например, фюзеляж 1202 самолета может быть конусообразньм в его задней части для обеспечения равномерного общего распределения площади, когда он комбинирован с интегрированной задней частью 1214 корпуса. Гондолы 1218 и двигатели 1216 могут быть, по меньшей мере, частично скрыты крылом 1204, как описано выше. Интегрирование двигателей 1216 в задней зоне может обеспечивать более эффективную структурную опору гондол 1218 и увеличенные длины каналов воздухозаборника и сопла, что обеспечивает возможность улучшенной противошумовой обработки. В гондолах 1218 можно размещать двигатели 1216, имеющим степени двухконтурности, большие 1,0, например, примерно от 5 до 7 или 9, либо другие степени двухконтурности, типичные для дозвукового крейсерского транспортного самолета. Двигатели 1216 могут обеспечивать уровни реактивной тяги, которые зависят от конфигурации самолета. Например, уровни реактивной тяги могут составлять примерно от 75000 фунтов до 100000 фунтов (34-45 т) в одном варианте выполнения. Как описано выше со ссылками на фиг.2-6С, отношение аэродинамической тонкости крыла у фюзеляжа может быть улучшена (или увеличена глубина корпуса крыла), а установки большой подъемной силы, такие как сложный предкрылок передней кромки и закрылок задней кромки и установки щелей могут быть сокращены и/или исключены. Треугольное крыло 1204 и задняя часть 1214 фюзеляжа могут быть объединены для уменьшения или задерживания возникновения проблем нестабильности тангажа при большом угле атаки.
Еще одним преимуществом вариантов выполнения самолета 1200, описанного выше со ссылками на фиг.12-15F, является то, что он может быть более эффективным и экономичным, чем обычные дозвуковые транспортные самолеты. Например, на фиг.16А графически показаны дальность и время рейса для конфигурации в соответствии с вариантом выполнения изобретения, в сравнении с данными для двух обычных конфигураций. В данном случае, время рейса относится к интервалу времени между снятием тормозных колодок с колес шасси перед продвижением самолета для взлета и установкой на место тормозных колодок после приземления. На фиг.16А показано в сравнении прогнозируемое время рейса для полета с дальностью 8500 морских миль (15742 км), выполняемого любым самолетом, согласно варианту выполнения изобретения, (обозначено буквой “А”), по сравнению с двумя обычными дозвуковыми транспортными самолетами (обозначенными “В” и “С”). Прогноз для самолета, согласно варианту выполнения изобретения, показывает сокращение до 15% времени рейса по сравнению с обычным дозвуковым транспортным самолетом. В других вариантах выполнения изобретения, сокращение может иметь другие значения. В любом варианте выполнения, такое сокращение может переводиться в пропорциональное снижение денежных эксплуатационных расходов, связанных с самолетом, таких как расходы на команду, стоимость топлива и т.д.
На фиг.16В показана прогнозируемая дальность полета (обозначена буквой “А”) самолета, согласно варианту выполнения изобретения, по сравнению с дальностями полета для двух обычных дозвуковых транспортных самолетов (обозначены буквами “В” и “С”). Как показано на фиг.16В, для фиксированного времени рейса 16 часов самолет, согласно варианту выполнения изобретения, может иметь дальность полета до 15% больше, чем обычный дозвуковой транспортный самолет. В альтернативных вариантах выполнения, самолет может иметь другие дальности полета. Например, в одном варианте выполнения, самолет может быть выполнен с возможностью перевозки примерно от 200 до 300 пассажиров на расстояние примерно до 11000 морских миль (20372 км). Преимущество такой конфигурации состоит в том, что самолет может летать в любую точку земли без посадки при времени полета менее 20 часов.
В других вариантах выполнения, самолет, имеющий установленную в задней зоне интегрированную силовую установку, может иметь другие конфигурации. Например, на фиг.17А показан на виде сзади справа в изометрической проекции самолет 1200а, в целом аналогичный самолету 1200, описанному выше со ссылками на фиг.12-15С, однако имеющий меньший вес полезной нагрузки и фюзеляж 1202а, который заканчивается перед задней кромкой задней части 1214а корпуса. На фиг.17В показан на виде сзади в изометрической проекции сзади сверхзвуковой реактивный самолет 1700 бизнес-класса, имеющий фюзеляж 1702, выполненный для перевозки около 10 пассажиров, крыло 1704, переднее оперение 1728 и кили 1730. Самолет 1700 может далее включать две гондолы 1718 двигателей, каждая из которых содержит один двигатель (невидимый на фиг.17В) и интегрирована в заднюю часть 1714 фюзеляжа способом, в основном аналогичным описанному выше со ссылками на большие сверхзвуковые коммерческие самолеты и околозвуковые коммерческие самолеты. В соответствии с этим, варианты выполнения менее крупного самолета, такого как околозвуковой самолет 1200а и сверхзвуковой реактивный самолет 1700 бизнес-класса, могут включать многие признаки (и могут реализовать все или многие преимущества), описанные со ссылками на упомянутые выше конфигурации.
В других вариантах выполнения, самолет может иметь дополнительные конфигурации. Например, самолет может иметь любую вместимость полезного груза в диапазоне малого, среднего или большого по размерам коммерческого реактивного самолета до вместимости 500 или более мест для пассажиров. В других вариантах выполнения, самолет может быть выполнен как истребитель, штурмовик, дальний бомбардировщик или самолет-разведчик. Самолет может иметь длительную крейсерскую скорость с числом Маха от около 0,9 до около 2,7. Самолет может быть выполнен для одного, двух, трех или четырех первичных двигателей или другого числа первичных двигателей в альтернативных вариантах выполнения. В данном случае первичные двигатели различаются от вспомогательных двигателей, таких как вспомогательные силовые установки (APU).
На фиг.18 показан разрез на виде сбоку задней части самолета 1800, имеющего фюзеляж 1802, крыло 1804 и гондолу 1818, интегрированную с крылом 1804, согласно другому варианту выполнения изобретения. Согласно одному аспекту этого варианта выполнения, гондола 1818 содержит воздухозаборник 1820, имеющий впускное отверстие 1823, расположенное над верхней поверхностью 1838 крыла 1804. Согласно другому аспекту этого варианта выполнения, впускное отверстие 1823 может быть смещено от верхней поверхности 1838 крыла для уменьшения вероятности засасывания воздуха пограничного слоя, возникающего над передней поверхностью крыла 1804. В качестве альтернативного решения, впускное отверстие 1823 может быть смонтировано вровень с верхней поверхностью 1838 крыла, а верхняя поверхность 1838 крыла и/или воздухозаборник 1820 могут содержать установку управления пограничным слоем, такую как установка небольших отверстий для воздуха. В другом варианте выполнения воздухозаборник 1820 может дополнительно содержать по существу S-образный канал 1821 воздухозаборника, соединяющий впускное отверстие 1823 с двигателем 1816. В соответствии с этим, по меньшей мере, часть двигателя 1816 может быть расположена между верхней поверхностью 1838 и нижней поверхностью 1837 крыла 1804.
Одно преимущество установки впускного отверстия 1823 над крылом 1804 по сравнению с установкой под крылом 1804 состоит в том, что впускное отверстие 1823 может с меньшей вероятностью засасывать посторонние предметы, подбрасываемые вверх шасси (не показано на фиг.18), например, в ходе взлета или приземления. И наоборот, преимуществом расположения впускного отверстия 1823 под нижней поверхностью крыла (как описано выше со ссылками на фиг.2-17В) является то, что поток, входящий в воздухозаборник, с меньшей вероятностью отделяется от поверхности крыла при больших углах атаки. В любом варианте выполнения, расположение гондолы перед задней частью крыла и, по меньшей мере, частичное “утапливание” гондолы в крыле могут обеспечивать все или многие преимущества, описанные выше со ссылками на фиг.2-17В. Кроме того, вариант выполнения самолета 1800, показанный на фиг.18, может включать другие признаки, описанные выше, такие как несуженный фюзеляж, поверхность управления тангажом между гондолой 1818 и фюзеляжем 1802 и/или переднее оперение.
В других вариантах выполнения, самолет может иметь другие конфигурации выполнения воздухозаборника над крылом. Например, как показано на фиг.19, самолет 1900 может включать фюзеляж 1902, треугольное крыло 1904 и пару гондол 1918, каждая из которых имеет воздухозаборник 1920, смонтированный в непосредственной близости от верхней поверхности 1938 крыла 1904. Двигатели (не показаны на фиг.19) и реактивные сопла 1922 могут быть расположены на или выше верхней поверхности 1938 крыла и/или могут проходить ниже верхней поверхности 1938 крыла и/или под нижней поверхностью 1937 крыла. Каждая гондола 1918 может содержать впускной отклонитель или воздухозаборник 1921 совкового типа для удаления воздуха пограничного слоя, возникающего над крылом 1904 перед воздухозаборником 1920. Согласно одному аспекту этого варианта выполнения, воздух пограничного слоя может быть направлен к одной части двигателя. Воздухозаборник 1920 может подавать воздух в другую часть двигателя, который в целом свободен от влияний пограничного слоя. В альтернативном варианте выполнения, воздухозаборник 1921 совкового типа может сбрасывать воздух пограничного слоя или может быть дополнен либо заменен установкой активного управления пограничным слоем, которая придает энергию и/или удаляет пограничный слой перед воздухозаборником 1920. В одном варианте выполнения, самолет, имеющий воздухозаборники и турбовентиляторные двигатели, сконструированные способом, в основном аналогичным показанному на фиг.19, может быть пригоден для крейсерских скоростей с числом Маха от около 0,95 до около 0,98. В качестве альтернативного решения, самолет, имеющий такую конфигурацию воздухозаборника и турбовентиляторного двигателя, может быть выполнен для крейсерских скоростей с числом Маха около 1,2. В других вариантах выполнения, самолет может быть выполнен для крейсерских скоростей с другими числами Маха.
На фиг.20A-20G показаны впускные отверстия, на которые можно заменить любые впускные отверстия, описанные выше со ссылками на фиг.2-19, в соответствии с другими вариантами выполнения изобретения. Например, на фиг.20А показано полукруглое впускное отверстие 2023а. На фиг.20В показано прямоугольное впускное отверстие 2023b. На фиг.20С показано прямоугольное впускное отверстие 2023с, имеющее раздвоение 2027 для подачи воздуха к нескольким двигателям от единственного впускного отверстия. На фиг.20D показано по существу эллиптическое впускное отверстие 2023d, смещенное от нижней поверхности 2037 крыла с отклоняющей перегородкой 2028. В других вариантах выполнения, можно комбинировать впускные отверстия, показанные на фиг.20A-20D, предшествующих и последующих фигурах. Например, эллиптическое впускное отверстие 2023d может включать раздвоение и/или прямоугольное отверстие 2023b – отклоняющую перегородку.
На фиг.20Е показано впускное отверстие 2023е, которое не скошено и не наклонено (например, кромки боковой стенки отверстия, по меньшей мере, приблизительно вертикальны), согласно одному варианту выполнения изобретения. На фиг.20F показано скошенное впускное отверстие 2023f в соответствии с другим вариантом выполнения изобретения. На фиг.20G показано впускное отверстие 2023g, которое скошено и наклонено. Как описано выше, эти различные впускные отверстия можно комбинировать в других вариантах выполнения изобретения. Степень S-образного искривления впускных каналов в любой из показанных конфигураций может изменяться в зависимости от разных факторов, таких как высота шасси, присутствие или отсутствие отклоняющей перегородки, степень поворота самолета при взлете и/или точки, в которой поток впуска будет отделяться от искривленных стенок впускного канала.
На фиг.21 показана частично в изометрической проекции задняя часть самолета 2100, имеющего гондолу 2118, согласно другому варианту выполнения изобретения. Согласно одному аспекту этого варианта выполнения, гондола 2118 может включать воздухозаборник 2120, имеющий впускное отверстие 2123, расположенное под крылом 2104, и в целом S-образной впускной канал 2121 позади впускного отверстия 2123, в целом аналогичный S-образным каналам, описанным выше. Согласно другому аспекту этого варианта выполнения, впускной канал 2121 может содержать одну или несколько всасывающих створок, выполненных для увеличения воздушного потока к двигателю (не показаны на фиг.21) во время низкоскоростного режима с большой реактивной тягой, такой как при взлете. Например, впускной канал 2121 может содержать всасывающие створки 2129а, расположенные на верхней поверхности впускного канала 2121 перед двигателем. В другом варианте выполнения, канал 2121 может включать всасывающие створки 2129b на нижней поверхности этого канала 2121 в дополнение или вместо установленных сверху всасывающих створок 2129а. В еще одном варианте выполнения, гондола 2118 может включать всасывающие створки 2129с на внутренней боковой поверхности впускного канала 2121 (как показано на фиг.21) или на внешней боковой поверхности. В других вариантах выполнения, гондола 2118 может включать другие конфигурации всасывающих створок или другие средства форсирования впускного воздушного потока.
На фиг.22 показана в изометрической проекции задняя часть самолета 2200, имеющего фюзеляж 2202, треугольное крыло 2204 и три гондолы 2218 (показаны как гондолы 2218а-с), согласно одному варианту выполнения изобретения. Согласно одному аспекту этого варианта выполнения, первая и вторая гондолы 2218а и 2218b могут быть расположены на противоположных сторонах фюзеляжа 2202, а третья гондола 2218с – между первой и второй гондолами на одной линии с осью 2203 фюзеляжа. Согласно другому аспекту этого варианта выполнения, третья гондола 2218с может иметь впускное отверстие 2223, расположенное над фюзеляжем 2202. Впускное отверстие 2223 может быть установлено вровень с фюзеляжем 2202 или, в качестве альтернативного решения, входное отверстие 2223 может быть смещено от фюзеляжа 2202 с отклоняющей перегородкой, как показано на фиг.22. В любом варианте выполнения, третья гондола 2218с может иметь S-образной впускной канал для подачи воздуха от впускного отверстия 2223 к двигателю, по меньшей мере, частично “утопленной” под верхней поверхностью крыла 2204 и/или фюзеляжа 2202 способом, в основном аналогичным описанному выше со ссылками на фиг.18. Согласно другому аспекту этого варианта выполнения, самолет 2200 может включать один вертикальный киль 2230. В другом альтернативном варианте выполнения, первая и вторая гондолы 2218а, 2218b могут быть исключены для получения конфигурации с одним двигателем (или несколькими двигателями с одной гондолой). Такая конфигурация может быть пригодна для самолета авиации общего назначения, реактивного самолета бизнес-класса, истребителя или самолета-штурмовика.
На фиг.23 показана частично в изометрической проекции задняя часть самолета 2300, имеющего фюзеляж 2302, треугольное крыло 2304 и заднюю часть 2314 фюзеляжа с поверхностями 2342 руля высоты. Самолет 2300 может дополнительно содержать две гондолы 2318, по меньшей мере, частично “утопленные” в крыле 2304, и два вертикальных киля 2330, расположенных на лонжеронах 2331 позади гондол 2318, в соответствии с другим вариантом выполнения изобретения. Согласно другому аспекту этого варианта выполнения, лонжероны 2331 могут быть установлены снаружи от гондол 2318. В качестве альтернативного решения, лонжероны 2331 могут быть установлены внутрь от гондол 2318 и снаружи фюзеляжа 2302. Преимущество расположения вертикальных килей 2330 позади на лонжеронах 2331 состоит в том, что они могут обеспечивать повышенную эффективность управления за счет большего плеча момента относительно центра тяжести самолета 2300.
В других вариантах выполнения, выбранные компоненты самолета могут иметь модульную установку. Например, выбранные компоненты самолета можно комбинировать с другими компонентами в зависимости от выполнения самолета для дозвукового или сверхзвукового крейсерского режима. В одном варианте выполнения, самолет может иметь в целом фиксированный салон, переднее оперение, киль и внутреннюю конфигурацию крыла, которая является общей для дозвукового и сверхзвукового самолета. Внешнее крыло, носовая часть и гондолы могут быть выбраны для данного самолета на поточной линии (или заменены после того, как самолет был изготовлен) в зависимости от предназначения самолета для дозвукового или сверхзвукового режима. В одном варианте выполнения, раздел между внутренней и наружной частями крыла может совпадать с положением гондолы. В других вариантах выполнения, раздел может иметь другие положения. В любом варианте выполнения, преимущество признака модульной конструкции состоит в том, что многие компоненты (такие как салон, переднее оперение, кили и/или внутренняя часть крыла) могут быть общими для дозвукового и сверхзвукового самолета. В соответствии с этим как дозвуковой, так и сверхзвуковой самолет можно изготавливать и эксплуатировать более эффективно.
На фиг.24 показан на виде сверху самолет модульной конструкции, согласно другому варианту выполнения изобретения. Согласно одному аспекту этого варианта выполнения, самолет 2400 может содержать фюзеляж 2402, крыло 2404 и переднее оперение 2428, выполненные как для сверхзвуковой, так и околозвуковой крейсерской скорости. Самолет 2400 может дополнительно содержать взаимозаменяемые гондолы 2418, выполненные для околозвукового либо для сверхзвукового полета. Согласно другому аспекту этого варианта выполнения, самолет 2400 может содержать округленную околозвуковую носовую часть 2405а, прикрепленную к фюзеляжу 2402, когда самолет выполнен для околозвукового крейсерского полета, и остроконечную сверхзвуковую носовую часть 2405b, прикрепленную к фюзеляжу 2402, когда самолет предназначен для сверхзвукового крейсерского полета. Наплыв 2404а крыла может быть добавлен к крылу 2404, когда самолет сконструирован для сверхзвукового полета. Наплыв 2404а крыла может быть также добавлен к крылу 2404, когда околозвуковая конфигурация самолета удлинена по сравнению с базовой конфигурацией, например, когда цилиндр 2402а фюзеляжа добавлен между передней и задней областями фюзеляжа 2402. В других предпочтительных вариантах самолет 2400 может иметь другие модульные конфигурации, которые обеспечивают преимущества за счет признаков, общих как для околозвуковой, так и сверхзвуковой версий самолета.
Из вышеизложенного понятно, что, хотя для целей иллюстрации приведено описание специальных вариантов выполнения изобретения, могут иметь место различные модификации без отклонения от идеи и объема изобретения, Например, многие признаки и компоненты, описанные выше в контексте конкретной конфигурации самолета, могут быть применены в других конфигурациях самолета в соответствии с другими вариантами выполнения изобретения. В соответствии с этим, изобретение не ограничено приведенным выше описанием, за исключением прилагаемой формулы и/или пунктов формулы изобретения данной заявки.
Формула изобретения
1. Самолет, содержащий фюзеляж, удлиненный вдоль оси фюзеляжа и сконструированный для перевозки полезного груза; крыло, подвешенное к фюзеляжу, причем крыло имеет переднюю зону с передней кромкой и заднюю зону с задней кромкой, а также верхнюю поверхность и нижнюю поверхность; силовую установку, расположенную, по меньшей мере, вблизи задней зоны крыла, причем, по меньшей мере, часть силовой установки расположена между верхней и нижней поверхностями крыла, при этом силовая установка имеет, по меньшей мере, одно впускное отверстие, расположенное под нижней поверхностью крыла или над верхней поверхностью крыла, по меньшей мере, один турбовентиляторный двигатель, расположенный сзади и с вертикальным смещением от, по меньшей мере, одного впускного отверстия, и, по меньшей мере, одно реактивное сопло позади, по меньшей мере, одного двигателя; по существу S-образный канал между, по меньшей мере, одним двигателем и, по меньшей мере, одним входным отверстием; по меньшей мере, либо одно переднее оперение, подвешенное к фюзеляжу перед силовой установкой, либо поверхность управления тангажом между силовой установкой и осью фюзеляжа.
2. Самолет по п.1, отличающийся тем, что силовая установка содержит два впускных отверстия, по меньшей мере, два двигателя и два реактивных сопла, при этом одно впускное отверстие, по меньшей мере, один двигатель и одно реактивное сопло расположены на одной стороне фюзеляжа, и другое впускное отверстие, по меньшей мере, один другой двигатель и другое реактивное сопло – на другой стороне фюзеляжа, при этом ось фюзеляжа проходит между двумя двигателями, и самолет дополнительно содержит в основном горизонтальные поверхности управления, интегрированные с задней зоной крыла, причем одна поверхность управления расположена внутрь от одного реактивного сопла, а другая поверхность управления – внутрь от другого реактивного сопла.
3. Самолет по п.1, отличающийся тем, что силовая установка включает по существу искривленный в верхнем и заднем направлениях S-образный канал между, по меньшей мере, одним впускным отверстием и, по меньшей мере, одним двигателем.
4. Самолет по п.1, отличающийся тем, что дополнительно содержит подвижные поверхности элевона на задних кромках крыла.
5. Самолет по п.1, отличающийся тем, что фюзеляж включает переднюю часть, заднюю часть и промежуточную часть перед силовой установкой между передней и задней частями, при этом фюзеляж имеет по существу непрерывную и монотонную конусность от передней части к промежуточной части и по существу непрерывную и монотонную конусность от промежуточной части к задней части фюзеляжа.
6. Самолет по п.1, отличающийся тем, что реактивное сопло расположено позади задней кромки крыла.
7. Самолет по п.1, отличающийся тем, что впускное отверстие расположено позади передней кромки крыла.
8. Самолет по п.1, отличающийся тем, что фюзеляж включает самую переднюю точку, самую заднюю точку, конусообразную переднюю часть вблизи самой передней точки конусообразную заднюю часть вблизи самой задней точки и промежуточную часть между передней частью и задней частью, при этом промежуточная часть имеет по существу постоянную площадь поперечного сечения.
9. Самолет по п.1, отличающийся тем, что фюзеляж выполнен для перевозки от около 10 до около 500 пассажиров.
10. Самолет по п.1, отличающийся тем, что двигатель имеет степень двухконтурности, большую около 1,0.
11. Самолет по п.1, отличающийся тем, что фюзеляж сконструирован для пассажирской полезной нагрузки и/или грузовой полезной нагрузки.
12. Самолет по п.1, отличающийся тем, что фюзеляж выполнен для военной полезной нагрузки.
13. Самолет по п.1, отличающийся тем, что крыло имеет в плане треугольную форму.
14. Самолет по п.1, отличающийся тем, что крыло имеет в плане сдвоенную треугольную форму, при этом первая часть вблизи фюзеляжа имеет первый угол стреловидности, а вторая часть снаружи от первой части имеет второй угол стреловидности, меньший первого угла стреловидности.
15. Самолет по п.1, отличающийся тем, что крыло имеет выступающую переднюю зону и, по меньшей мере, часть двигателя расположена непосредственно позади выступающей передней зоны.
16. Самолет по п.1, отличающийся тем, что крыло включает топливную емкость для подачи топлива к силовой установке, а двигатель имеет вращающиеся компоненты, при этом все вращающиеся компоненты двигателя расположены позади топливной емкости.
17. Самолет по п.1, отличающийся тем, что фюзеляж включает герметичную часть и двигатель имеет вращающиеся компоненты, при этом все вращающиеся компоненты двигателя расположены позади герметичной части фюзеляжа.
18. Самолет по п.1, отличающийся тем, что фюзеляж имеет круглую форму поперечного сечения.
19. Самолет по п.1, отличающийся тем, что фюзеляж имеет эллиптическую форму поперечного сечения.
20. Самолет по п.1, отличающийся тем, что, по меньшей мере, часть двигателя установлена позади задней кромки крыла.
21. Самолет по п.1, отличающийся тем, что фюзеляж имеет полезный объем и двигатель расположен позади полезного объема.
22. Самолет по п.1, отличающийся тем, что впускное отверстие расположено с возможностью обеспечения подачи воздуха, по меньшей мере, к двум двигателям.
23. Самолет по п.1, отличающийся тем, что фюзеляж имеет в целом округленный нос для продолжительного полета при высоких дозвуковых крейсерских скоростях.
24. Самолет но п.1, отличающийся тем, что область фюзеляжа имеет в целом остроконечный нос для продолжительного полета при сверхзвуковых крейсерских скоростях.
25. Самолет по п.1, отличающийся тем, что силовая установка включает первый двигатель на одной стороне фюзеляжа и второй двигатель на другой стороне фюзеляжа, при этом самолет дополнительно содержит первую килевую поверхность, наклоненную относительно горизонтали и соединенную с самолетом приблизительно по той же линии сечения, что и первый двигатель, и вторую килевую поверхность, наклоненную относительно горизонтали и соединенную с самолетом приблизительно по той же линии сечения, что и второй двигатель.
26. Самолет по п.1, отличающийся тем, что дополнительно содержит первую и вторую килевые поверхности, установленные на противоположных сторонах фюзеляжа, при этом каждая килевая поверхность наклонена внутрь относительно фюзеляжа или наружу относительно фюзеляжа или ориентирована по существу вертикально относительно фюзеляжа.
27. Самолет по п.1, отличающийся тем, что передняя кромка крыла имеет угол стреловидности от около 28 до около 75°.
28. Самолет по п.1, отличающийся тем, что реактивное сопло включает, по меньшей мере, одну подвижную направляющую поверхность сопла для управления в выбранном направлении вектором, по меньшей мере, части реактивного потока двигателя.
29. Самолет по п.1, отличающийся тем, что двигатель является единственным основным двигателем.
30. Самолет по п.1, отличающийся тем, что двигатель является двигателем из двух, трех или четырех основных двигателей.
31. Самолет по п.1, отличающийся тем, что самолет дополнительно содержит поверхность управления тангажом между, по меньшей мере, одним реактивным соплом и осью фюзеляжа, переднее оперение, подвешенное к фюзеляжу, и элевон на задней части крыла, причем поверхность управления тангажом, элевон и переднее оперение выполнены подвижными для управления положением тангажа и/или подъема самолета.
32. Самолет, содержащий фюзеляж для перевозки полезного груза, удлиненный вдоль оси фюзеляжа; крыло, подвешенное к фюзеляжу, при этом крыло имеет переднюю зону с передней кромкой и заднюю зону с задней кромкой, а также верхнюю поверхность и нижнюю поверхность; силовую установку, по меньшей мере, вблизи задней части крыла, причем, по меньшей мере, часть силовой установки расположена между верхней и нижней поверхностями крыла, при этом силовая установка имеет, по меньшей мере, одно впускное отверстие, расположенное под нижней поверхностью крыла или над верхней поверхностью крыла, по меньшей мере, один турбовентиляторный двигатель, расположенный сзади и с вертикальным смещением, по меньшей мере, от одного впускного отверстия, и, по меньшей мере, одно реактивное сопло позади, по меньшей мере, одного двигателя, при этом силовая установка дополнительно включает по существу S-образный впускной канал между впускным отверстием и двигателем; и поверхность управления тангажом, имеющую сзади заднюю кромку, расположенную внутрь от реактивного сопла между реактивным соплом и осью фюзеляжа.
33. Самолет по п.32, отличающийся тем, что фюзеляж удлинен вдоль оси фюзеляжа, силовая установка включает первое впускное отверстие, первый двигатель и первое реактивное сопло, все расположенные на одной стороне фюзеляжа, и второе впускное отверстие, второй двигатель и второе реактивное сопло, все расположенные на противоположной стороне фюзеляжа, и дополнительно поверхность управления тангажом включает первую часть, расположенную между первым реактивным соплом и осью фюзеляжа, и вторую часть, расположенную между вторым реактивным соплом и осью фюзеляжа.
34. Самолет по п.32, отличающийся тем, что дополнительно содержит переднее оперение, подвешенное к фюзеляжу, и элевон на задней части крыла, при этом поверхность контроля тангажа, элевон и переднее оперение выполнены подвижными для управления положением тангажа и/или подъема самолета.
35. Самолет по п.32, отличающийся тем, что силовая установка включает по существу искривленный в верхнем и заднем направлениях 8-образный канал между, по меньшей мере, одним впускным отверстием и, по меньшей мере, одним двигателем.
36. Самолет по п.32, отличающийся тем, что впускное отверстие расположено позади передней кромки крыла.
37. Самолет по п.32, отличающийся тем, что фюзеляж выполнен для пассажирской полезной нагрузки и/или грузовой полезной нагрузки.
38. Самолет по п.32, отличающийся тем, что крыло имеет в плане треугольную форму.
39. Самолет по п.32, отличающийся тем, что фюзеляж включает герметичную часть, а двигатель имеет вращающиеся компоненты, при этом все вращающиеся компоненты двигателя расположены позади герметичной части фюзеляжа.
40. Самолет, содержащий фюзеляж, удлиненный вдоль оси фюзеляжа и сконструированный для перевозки пассажирской и/или грузовой полезной нагрузки, крыло, подвешенное к фюзеляжу, при этом крыло имеет переднюю кромку, заднюю кромку и заднюю зону вблизи задней кромки, а также верхнюю поверхность и нижнюю поверхность; силовую установку, расположенную в задней зоне крыла и, по меньшей мере, частично размещенную внутри крыла между верхней и нижней поверхностями крыла, причем силовая установка имеет, по меньшей мере, одно впускное отверстие, расположенное под нижней поверхностью крыла или над верхней поверхностью крыла и позади передней кромки крыла, по меньшей мере, один турбовентиляторный двигатель, расположенный сзади и с вертикальным смещением, по меньшей мере, от одного впускного отверстия; по меньшей мере, одно реактивное сопло позади, по меньшей мере, одного двигателя; по существу S-образный канал между, по меньшей мере, одним двигателем и, по меньшей мере, одним входным отверстием; по меньшей мере, либо поверхность управления тангажом между силовой установкой и осью фюзеляжа, либо одно переднее оперение, подвешенное к фюзеляжу.
41. Самолет по п.40, отличающийся тем, что силовая установка включает два впускных отверстия, по меньшей мере, два двигателя и два реактивных сопла, при этом одно впускное отверстие, по меньшей мере, один двигатель и одно реактивное сопло расположены на одной стороне фюзеляжа, и другое впускное отверстие, по меньшей мере, один другой двигатель и другое реактивное сопло расположены на другой стороне фюзеляжа, при этом ось фюзеляжа проходит между двумя двигателями, и самолет дополнительно содержит две по существу горизонтальные поверхности управления, интегрированные с задней частью крыла, при этом одна поверхность управления расположена внутрь от одного реактивного сопла, и другая поверхность управления расположена внутрь от другого реактивного сопла.
42. Самолет по п.40, отличающийся тем, что силовая установка включает по существу искривленный в верхнем и заднем направлениях 8-образный канал между, по меньшей мере, одним отверстием впускным и, по меньшей мере, одним двигателем.
43. Самолет по п.40, отличающийся тем, что дополнительно содержит поверхность управления тангажом между, по меньшей мере, одним реактивным соплом и осью фюзеляжа, переднее оперение, подвешенное к фюзеляжу, и элевон на задней части крыла, причем поверхность управления тангажом, элевон и переднее оперение выполнены подвижными для управления положением тангажа и/или подъема самолета.
44. Самолет по п.40, отличающийся тем, что фюзеляж содержит заднюю зону, которая имеет конусность в заднем направлении, и силовая установка в осевом направлении находится вблизи задней зоны фюзеляжа.
45. Транспортный самолет, содержащий фюзеляж для перевозки полезного груза, при этом фюзеляж имеет самую переднюю точку, самую заднюю точку и промежуточную зону между самой передней точкой и самой задней точкой, при этом фюзеляжная часть дополнительно имеет распределение площади поперечного сечения, которое увеличивается по существу монотонно от самой передней точки к промежуточной зоне, является постоянным в промежуточной зоне и уменьшается по существу монотонно от промежуточной зоны к самой задней точке; крыло, подвешенное к фюзеляжу, при этом крыло имеет переднюю зону с передней кромкой, заднюю зону с задней кромкой; и силовую установку, установленную интегрально в задней зоне крыла, причем силовая установка имеет, по меньшей мере, одно впускное отверстие, расположенное под крылом и позади передней кромки крыла, по меньшей мере, один двигатель, расположенный позади и выше, по меньшей мере, одного впускного отверстия, и, по меньшей мере, одно реактивное сопло позади, по меньшей мере, одного двигателя, и силовая установка дополнительно включает по существу S-образной формы впускной канал в направлении двигателя.
46. Самолет по п.45, отличающийся тем, что комбинированное распределение площади поперечного сечения фюзеляжа, крыла и силовой установки увеличивается по существу монотонно от самой передней точки фюзеляжа до промежуточной зоны фюзеляжа и уменьшается по существу монотонно от промежуточной зоны фюзеляжа к самой задней точке фюзеляжа.
47. Околозвуковой транспортный самолет, содержащий фюзеляж для перевозки полезного груза, при этом фюзеляж имеет самую переднюю точку, самую заднюю точку и промежуточную зону между самой передней точкой и самой задней точкой, при этом самая передняя точка образует часть по существу округленной носовой части, выполненной для высоких дозвуковых крейсерских скоростей, при этом фюзеляж имеет распределение площади поперечного сечения, которое по существу монотонно увеличивается от самой передней точки до промежуточной зоны, остается примерно постоянным в промежуточной зоне и по существу монотонно уменьшается от промежуточной зоны до самой задней точки; крыло треугольной формы, подвешенное к фюзеляжу, при этом крыло имеет переднюю зону с передней кромкой и заднюю зону с задней кромкой, причем ведущая кромка включает внутреннюю часть, имеющую первый угол стреловидности, и наружную часть, имеющую второй угол стреловидности, меньший первого угла стреловидности; силовую установку, интегрально установленную в задней зоне крыла, при этом силовая установка содержит первую гондолу на одной стороне фюзеляжа и вторую гондолу на другой стороне фюзеляжа, и каждая гондола включает впускное отверстие, расположенное под крылом и позади передней кромки крыла; двигатель, расположенный позади и над впускным отверстием, при этом двигатель имеет степень двухконтурности, по меньшей мере, около 1,0, и по, меньшей мере, часть двигателя расположена позади задней кромки крыла; по существу искривленный в верхнем и заднем направлениях S-образный впускной канал, размещенный между впускным отверстием и двигателем; реактивное сопло, расположенное позади двигателя.
48. Самолет по п.47, отличающийся тем, что реактивное сопло имеет, по меньшей мере, одну подвижную поверхность для изменения вектора выпускаемых двигателем реактивных газов.
49. Самолет по п.47, отличающийся тем, что двигатель имеет степень двухконтурности примерно от 5,0 до 7,0.
50. Способ изготовления самолета, содержащий крепление крыла к фюзеляжу, причем крыло имеет переднюю зону с передней кромкой, заднюю зону с задней кромкой, а также верхнюю поверхность и нижнюю поверхность, при этом фюзеляж выполнен для перевозки полезного груза и удлинен вдоль оси фюзеляжа; соединение силовой установки с крылом путем установки силовой установки в задней зоне крыла и расположения, по меньшей мере, части силовой установки между верхней и нижней поверхностями крыла, причем силовая установка содержит, по меньшей мере, одно впускное отверстие, расположенное под нижней поверхностью крыла или над верхней поверхностью крыла, при этом силовая установка дополнительно содержит, по меньшей мере, один турбовентиляторный двигатель, расположенный позади и с вертикальным смещением от, по меньшей мере, одного впускного отверстия, по меньшей мере, одно реактивное сопло позади, по меньшей мере, одного двигателя и по существу S-образный впускной канал между, по меньшей мере, одним двигателем и, по меньшей мере, одним впускным отверстием; и расположение поверхности управления тангажом между силовой установкой и осью фюзеляжа или крепление переднего оперения к фюзеляжной части.
51. Способ по п.50, отличающийся тем, что силовая установка содержит два впускных отверстия, по меньшей мере, два двигателя и два реактивных сопла, соединение силовой установки включает расположение одного впускного отверстия, по меньшей мере, одного двигателя и одного реактивного сопла на одной стороне фюзеляжа, и другого впускного отверстия, по меньшей мере, одного другого двигателя и другого реактивного сопла – на другой стороне фюзеляжа, причем ось фюзеляжа проходит между двумя двигателями, и что способ дополнительно содержит интеграцию двух по существу горизонтальных поверхностей управления в заднюю зону крыла, при этом одна поверхность управления расположена внутрь от одного реактивного сопла, а другая поверхность управления расположена внутрь от другого реактивного сопла.
52. Способ по п.50, отличающийся тем, что дополнительно содержит соединение по существу изогнутого в верхнем и заднем направлениях S-образного впускного канала между, по меньшей мере, одним впускным отверстием и, по меньшей мере, одним двигателем.
53. Способ по п.50, отличающийся тем, что дополнительно содержит расположение впускного отверстия позади передней кромки крыла.
54. Способ по п.50, отличающийся тем, что область фюзеляжа включает самую переднюю точку и самую заднюю точку и способ дополнительно содержит сужение передней части фюзеляжа вблизи самой передней точки, сужение задней части фюзеляжа вблизи самой задней точки и создание промежуточной части между передней и задней частями фюзеляжа, при этом промежуточная часть имеет по существу постоянную площадь поперечного сечения.
55. Способ по п.50, отличающийся тем, что в крыло включают топливную емкость, выполненную для перевозки топлива для силовой установки, двигатель имеет вращающиеся компоненты и способ дополнительно содержит расположение всех вращающихся компонентов двигателя позади топливной емкости.
56. Способ по п.50, отличающийся тем, что фюзеляж включает герметичную часть, двигатель имеет вращающиеся компоненты, при этом способ дополнительно содержит расположение всех вращающихся компонентов двигателя позади герметичной части фюзеляжа.
57. Способ по п.50, отличающийся тем, что дополнительно содержит выполнение фюзеляжа с круглой формой поперечного сечения.
58. Способ по п.50, отличающийся тем, что дополнительно содержит размещение впускного отверстия для обеспечения воздухозабора, по меньшей мере, к двум двигателям.
59. Способ по п.50, отличающийся тем, что дополнительно содержит размещение поверхности управления тангажом между, по меньшей мере, одним реактивным соплом и осью фюзеляжа, соединение переднего оперения с фюзеляжем и создание элевона в задней зоне крыла, причем поверхность управления тангажом, элевон и переднее оперение выполняют подвижными для управления положением тангажа и/или подъема самолета.
60. Способ по п.50, отличающийся тем, что двигатель содержит первую и вторую части, при этом впускной канал является первым впускным каналом и способ дополнительно содержит размещение впускного отверстия силовой установки над верхней поверхностью области крыла; размещение первого впускного канала на удалении от верхней поверхности крыла и в соединении по потоку с первой частью двигателя; размещение второго впускного канала между первым впускным каналом и верхней поверхностью крыла, при этом второй впускной канал соединяют по потоку со второй частью двигателя.
Приоритет по пунктам:
19.01.2001 – пп.1-26, 28-48, 50-60;
22.03.2001 – пп.27 и 49.
РИСУНКИ
MM4A – Досрочное прекращение действия патента СССР или патента Российской Федерации на изобретение из-за неуплаты в установленный срок пошлины за поддержание патента в силе
Дата прекращения действия патента: 18.01.2008
Извещение опубликовано: 10.08.2010 БИ: 22/2010
|
|