|
(21), (22) Заявка: 2005129229/11, 19.09.2005
(24) Дата начала отсчета срока действия патента:
19.09.2005
(46) Опубликовано: 20.04.2007
(56) Список документов, цитированных в отчете о поиске:
RU 2170803 C1, 20.07.2001. SU 945542 A1, 23.07.1982. US 6401398 B1, 11.06.2002.
Адрес для переписки:
347923, Ростовская обл., г. Таганрог, пл. Авиаторов, 1, ОАО ТАНТК им. Г.М. Бериева
|
(72) Автор(ы):
Степин Владимир Андреевич (RU)
(73) Патентообладатель(и):
Открытое акционерное общество Таганрогский авиационный научно-технический комплекс им. Г.М. Бериева (RU)
|
(54) УСТРОЙСТВО ГЕРМЕТИЗАЦИИ
(57) Реферат:
Изобретение относится к средствам герметизации дверей, крышек, створок люков и отсеков транспортных средств и может применяться в авиастроении, судостроении и других областях. Устройство герметизации содержит П-образный профиль герметизации 2, фиксируемый в желобе окантовки 3 эластичными распорной пластиной 13 и шнуром 12. Профиль герметизации выполнен в сечении с выпуклой верхней частью переменной жесткости и толщины, с двумя лапками 6, 7 и двумя ребрами 8, 9. Желоб окантовки выполнен с пазами под лапки и с расширяющимися компенсационными скосами 11. Торцы профиля герметизации выполняются с острым углом и при сопряжении образуют наклонную плоскость стыка, обеспечивая герметичность замкнутого контура. Изобретение упрощает монтаж и демонтаж профиля и повышает степень герметичности. 5 ил.
Предлагаемое изобретение относится к герметизации дверей, крышек, створок люков и отсеков транспортных средств и может применяться в авиастроении, судостроении и так далее.
Известные устройства герметизации (кл. В64С 1/148 SU №190782, кл. В64С 1/14 US №4741542) содержат замкнутый профиль герметизации (надувные шланги), закрепленный на окантовке, и крышку. Герметизация обеспечивается за счет усилия прижатия крышки и подачи давления во внутреннюю полость профиля герметизации. Фиксация профиля герметизации на окантовке в основном клеевая. Для образования герметичного контура торцы его склеиваются со вставками.
Недостатками таких устройств являются:
– зависимость степени герметичности от усилия прижатия замкнутого профиля герметизации к окантовке или давления внутри профиля герметизации;
– большая трудоемкость работ при монтаже и демонтаже замкнутого профиля герметизации, т.к. соединения клеевые;
– сложная стыковка частей замкнутых профилей герметизации – применение стыковочных деталей и трудоемкое склеивание;
– низкая технологичность и высокая стоимость изготовления самого замкнутого профиля герметизации и оснастки для изготовления.
Известно устройство герметизации (кл. В64С 1/14, RU №1080368), содержащее профиль герметизации с лепестками, окантовку для крепления его и крышку. Герметизация обеспечивается прижатием лепестков со стороны избыточного давления к ответной части (крышка или окантовка). Монтаж производится приклеиванием или при наличии у профиля герметизации лапок приклепыванием мягкими заклепками. Демонтаж производится отрыванием профиля герметизации от окантовки при клеевом соединении или высверливании заклепок при заклепочном соединении. Профиль герметизации с лепестками изготавливается цельным по всему контуру герметизации.
Недостатками этого устройства герметизации являются:
– уязвимость от механических повреждений лепестков профиля герметизации;
– низкая технологичность при монтаже и демонтаже профиля герметизации, т.к. клеевое и заклепочное соединения требуют подготовки поверхностей к соединению;
– низкая технологичность изготовления профиля герметизации с лепестками, т.к. профиль герметизации с лепестками необходимо выполнять замкнутым по периметру проема или люка.
Наиболее близким к предлагаемому изобретению является устройство герметизации (“Конструкция самолетов”, О.А.Гребеньков, Москва 1984 г., “Машиностроение”, стр.159, рис.9.32 б)), содержащее полый упругий профиль герметизации, установленный в полости желоба окантовки, для удержания эластичного профиля герметизации он вклеивается в полость желоба окантовки. Герметизация обеспечивается силою прижатия крышки к профилю герметизации, а также тем, что желоб окантовки удерживает профиль герметизации от местных деформаций и обеспечивает его деформацию заданной формы, при этом компенсацией для сохранения внутреннего объема профиля герметизации служит щель между желобом окантовки и плоскостью крышки.
Недостатками данной конструкции является:
– зависимость степени герметичности от усилия прижатия замкнутого профиля герметизации к окантовке или давления внутри профиля герметизации;
– сложность изготовления замкнутого профиля герметизации;
– низкая технологичность при монтаже и демонтаже профиля герметизации вклеиванием в желоб окантовки;
– низкая технологичность стыкования торцов замкнутого профиля герметизации;
– в месте, где образована щель, между крышкой и желобом окантовки наблюдается повышенный износ профиля герметизации, т.к. он в этих местах загибается на малые радиусы вдоль всего контура герметизации.
Задачей предлагаемого изобретения является обеспечение герметичности за счет применения П-образного профиля герметизации, как более технологичного, упрощение монтажа и демонтажа профиля герметизации из желоба окантовки, обеспечение герметичности стыков торцов профиля герметизации.
Технический результат достигается тем, что:
Устройство герметизации содержит профиль герметизации, который выполнен П-образным с выпуклой верхней частью переменной жесткости, ограниченной двумя ребрами, и снабженный двумя лапками, образованными в месте соединения выпуклой верхней части с лапками, закрепленный в желобе окантовки, выполненном с двумя пазами под лапки и с двумя расширяющимися компенсационными скосами при помощи элементов фиксации эластичных распорной пластины и шнура, при этом торцы профиля герметизации выполнены заостренными и при сопряжении между собой образуют наклонную плоскость стыка, обеспечивая герметичность замкнутого контура.
Предлагаемое изобретение поясняется чертежами, где:
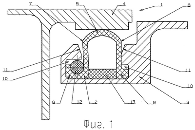
на фиг.1 – сечение устройства герметизации – крышка открыта;
на фиг.2 – сечение устройства герметизации- крышка закрыта;
на фиг.3 – фиксация профиля герметизации – установка распорной пластины;
на фиг.4 – фиксация профиля герметизации – установка эластичного шнура;
на фиг.5 – плановая проекция на наклонную плоскость стыка торцов профилей герметизации;
Устройство герметизации 1 включает профиль герметизации 2, желоб окантовки 3 и крышку 4. Профиль герметизации 2 выполнен П-образным, с выпуклой верхней частью 5 переменной жесткости (толщины), ограниченной двумя ребрами 6 и 7, в месте сопряжения выпуклой верхней части 5 с лапками 8 и 9. Лапка 8 выполнена с канавкой. Желоб окантовки 3 выполнен в виде профиля с пазами 10 под лапки 8 и 9 и с расширяющимися скосами 11, которые позволяют при деформации профиля герметизации 2 компенсировать его внутренний объем, для того чтобы не было необходимости производить перепуск воздуха, находящегося во внутреннем объеме профиля герметизации 2. В полости желоба окантовки 3 расположен профиль герметизации 2, а в пазы 10 вставлены лапки 8 и 9. Профиль герметизации 2 зафиксирован в желобе окантовки 3 при помощи фиксирующих элементов – эластичного шнура 12, фиксирующего лапку 8, и распорной пластины 13, распирающей (удерживающей) лапки 8 и 9 в пазах 10 желоба окантовки 3. Крышка 4 выполнена с плоской, прилегающей к профилю герметизации 2, поверхностью.
Монтаж профиля герметизации 2 производится следующим образом: внутрь профиля герметизации 2 вкладывается распорная пластина 13. Лапки 8 и 9 подгибаются, зажимая распорную пластину 13, и профиль герметизации 2 вводится в полость желоба окантовки 3. Лапки 8 и 9 разгибаются, заходят в пазы 10 и распорная пластина 13 свободно перемещается в крайнее нижнее положение внутри профиля герметизации 2, фиксируя лапки 8 и 9 в пазах 10 желоба окантовки 3. Для установки фиксирующего шнура 12 лапку 8 и верхнюю выпуклую часть 5 профиля герметизации 2 подгибают и через образовавшуюся щель между профилем герметизации 2 и желобом окантовки 3 в паз 10, с усилием и небольшой деформацией по диаметру вводится фиксирующий шнур 12, удерживающий лапку 8 в пазу 10 и распорную пластину 13 в крайнем нижнем положении, препятствуя ее перемещению внутри профиля герметизации 2. Профиль герметизации 2, фиксирующий шнур 12 и распорная пластина 13 могут быть выполнены по всему периметру герметизации замкнутыми, но могут состоять из частей любой длины. При этом торцы частей профиля герметизации 2 выполнены заостренными (например, 30-70 градусов к боковым сторонам) и при сопряжении торцы образуют наклонную плоскость стыка (типа стыка “на ус”), без применения клеящих материалов, а стыки фиксирующего шнура 12 и распорной пластины 13 могут выполняться как встык, так и с зазором, не превышающим, например, толщину распорной пластины 13 или диаметр фиксирующего шнура 12. Демонтаж производится в обратном порядке.
Работа устройства герметизации 1 осуществляется следующим образом.
При закрытии крышка 4 своей плоскостью деформирует верхнюю выпуклую часть 5 профиля герметизации 2. При этом лапки 8 и 9 изгибаются в противоположные стороны и прижимаются к скосам 11 желоба окантовки 3, деформируясь, верхняя выпуклая часть 5 профиля герметизации 2 вместе с лапкам 8 и 9 образуют два “клина”, упирающихся в крышку 4 и в скосы 11 желоба окантовки 3. Утолщение верхней выпуклой части 5 предотвращает ее проваливание внутрь профиля герметизации 2. При воздействии избыточного внешнего давления на профиль герметизации 2 происходит прижимание противоположной стороны профиля герметизации 2 – верхней выпуклой части 5 – к крышке 4, и соответственно лапки 8 или 9 к одному из скосов 11 желоба окантовки 3, тогда соответственно ребро 6 или 7 заходит в зазор между крышкой 4 и желобом окантовки 3. Чем сильнее внешнее избыточное давление, воздействующее на профиль герметизации 2, тем сильнее образующийся “клин” прижимается к крышке 4 и соответствующему скосу 11.
Герметичность стыка частей профиля герметизации обеспечивается наклоном плоскости стыка к вектору действующего давления и отсутствием зазора между ними, что позволяет под действием давления поверхности стыка одной части профиля герметизации 2 плотно прижиматься к поверхности стыка другой части.
Использование предлагаемой конструкции позволяет достигнуть высокой степени герметичности за счет деформации профиля герметизации (вдавливание “клина” в зазор между желобом окантовки 3 и крышкой 4), производственной и эксплуатационной технологичности за счет того, что используется П-образный профиль герметизации, который фиксируется в желобе окантовки эластичными распорной пластиной и шнуром, обеспечить герметичность стыка без склеивания торцов профиля герметизации за счет наклона плоскости стыка.
Формула изобретения
Устройство герметизации, содержащее профиль герметизации с выпуклой верхней частью, закрепленный в желобе окантовки, и крышку, отличающееся тем, что профиль герметизации выполнен П-образным с выпуклой верхней частью переменной толщины, ограниченной двумя ребрами, снабжен двумя лапками и закреплен при помощи элементов фиксации, выполненных в виде распорной пластины и шнура, в желобе окантовки, выполненном с двумя пазами под лапки и двумя компенсационными скосами, при этом торцы профиля герметизации выполнены заостренными и при сопряжении между собой образуют наклонную плоскость стыка, обеспечивая герметичность замкнутого контура.
РИСУНКИ
|