|
|
(21), (22) Заявка: 2006100634/11, 10.01.2006
(24) Дата начала отсчета срока действия патента:
10.01.2006
(46) Опубликовано: 20.04.2007
(56) Список документов, цитированных в отчете о поиске:
RU 2219096 C1, 20.12.2003. DE 2454738 A1, 17.05.1979. US 5025744 А, 25.06.1991.
Адрес для переписки:
190008, Санкт-Петербург, ул. Лоцманская, 3, СПбГМТУ, патентный отдел, Г.А. Косовцевой
|
(72) Автор(ы):
Форафонов Сергей Николаевич (RU), Ефимов Олег Иванович (RU), Юрин Вадим Феликсович (RU), Михлина Елена Борисовна (RU), Хорьков Павел Александрович (RU)
(73) Патентообладатель(и):
Государственное образовательное учреждение высшего профессионального образования “Санкт-Петербургский государственный морской технический университет” (RU)
|
(54) ПОДВОДНАЯ ЛОДКА С ВОЗДУШНЫМИ ТОРПЕДНЫМИ АППАРАТАМИ
(57) Реферат:
Изобретение относится к области кораблестроения, а именно к устройству подводных лодок. Подводная лодка содержит прочный корпус, легкий корпус с волнорезными щитами, корабельную систему воздуха высокого давления с забортными баллонами, систему заполнения-осушения торпедных аппаратов, включающую передний и задний клапаны осушения с трубопроводами. Воздушные торпедные аппараты оснащены передней и задней крышками, боевым баллоном с клапанами наполнения и продувания, боевым клапаном, отсечным клапаном, невозвратным клапаном и установлены на переборочных стаканах, вваренных в прочный корпус подводной лодки, проходя своей казенной частью внутрь прочного корпуса, а передней частью – между прочным и легким корпусами. Переборочный стакан выполнен в виде плиты, объединяющей не менее двух торпедных аппаратов в модуль, который оснащен группой забортных баллонов воздуха высокого давления с запорным клапаном. К плите вне прочного корпуса горловиной большого сечения подсоединен боевой баллон, соединенный с боевым клапаном, установленным на плите с внутренней стороны прочного корпуса и связанным трубопроводами с отсечными клапанами, которые связаны с невозвратными клапанами на казенных частях воздушных торпедных аппаратов, а противоположная сторона боевого баллона имеет трубопроводы наполнения и продувания, связанные через отверстия в плите с клапаном продувания и клапаном наполнения боевого баллона, связанным внутри подводной лодки трубопроводом с запорным клапаном и корабельной системой воздуха высокого давления. Трубопроводом передняя часть торпедных аппаратов соединена с установленным на внутренней стороне плиты передним клапаном осушения, связанным трубопроводом с системой заполнения-осушения торпедных аппаратов для улучшения компоновочных свойств, повышения пожаровзрывобезопасности торпедных аппаратов. 1 ил.
Изобретение относится к области кораблестроения, а именно к устройству подводных лодок.
Известно (С.Н.Просолов, М.Б.Амитин “Устройство подводных лодок”, М., Воениздат, 1973 г., стр.181-182), что торпедные аппараты имеют трубопроводы системы заполнения-осушения, соединяющие ТА с клапанами осушения, расположенными внутри прочного корпуса ПЛ. Также известно (патент RU №2182305 F41F 3/10), что наполнение боевого баллона производится от судовой системы воздуха высокого давления (ВВД) через клапан наполнения боевого баллона.
Недостатком известных технических решений является то, что монтаж ТА и сборка трубопроводов систем наполнения боевых баллонов, воздушного стреляющего устройства и системы заполнения-осушения на сборочном стапеле завода-строителя подводной лодки увеличивает трудоемкость монтажных работ, приводит к необходимости проведения большого объема наладочных испытаний систем и пристрелки стреляющего устройства ТА в период швартовных и заводских ходовых испытаний.
Наиболее близким к заявляемому изобретению является описанная в патенте RU 2219096 “Подводная лодка с воздушными торпедными аппаратами” кл. B63G 8/00, 8/32, содержащая легкий и прочный корпуса, корабельную систему воздуха высокого давления (ВВД), систему заполнения-осушения торпедных аппаратов (ТА), включающую передний и задний клапаны осушения, с трубопроводами, причем воздушные торпедные аппараты оснащены передней и задней крышками, боевым баллоном с клапанами наполнения и продувания, боевым клапаном, отсечным клапаном, невозвратным клапаном и установлены на переборочный стакан, вваренный в прочный корпус ПЛ, проходя своей казенной частью внутрь прочного корпуса, а передней частью – между прочным и легким корпусом.
Прототип обладает следующими недостатками.
Размещение боевых баллонов и трубопроводов в отсеке подводной лодки снижает пожаровзрывобезопасность ТА в случае аварии.
Большая трудоемкость работ по монтажу трубопроводов, связывающих боевой баллон с боевым клапаном и торпедным аппаратом на заводе-строителе ПЛ.
Большой объем наладочных и пристрелочных испытаний стреляющего устройства в период швартовных и заводских ходовых испытаний.
Техническим результатом изобретения является улучшение компоновочных свойств, повышение пожаровзрывобезопасности ТА, уменьшение трудоемкости монтажных работ, проводимых на заводе-строителе ПЛ, уменьшение объема наладочных и пристрелочных испытаний в период швартовных и заводских ходовых испытаний.
Поставленная задача достигается тем, что подводная лодка с воздушными торпедными аппаратами, содержащая прочный корпус, легкий корпус с волнорезными щитами, корабельную систему воздуха высокого давления (ВВД), систему заполнения-осушения торпедных аппаратов (ТА), включающую передний и задний клапаны осушения, с трубопроводами, причем воздушные торпедные аппараты оснащены передней и задней крышками, боевым баллоном с клапанами наполнения и продувания, боевым клапаном, отсечным клапаном, невозвратным клапаном и установлены на переборочном стакане, вваренном в прочный корпус ПЛ, проходя своей казенной частью внутрь прочного корпуса, а передней – частью между прочным и легким корпусом, согласно изобретению переборочный стакан выполнен в виде плиты, объединяющей не менее двух ТА в модуль, который оснащен группой забортных баллонов ВВД с запорным клапаном, при этом к плите вне прочного корпуса горловиной большого сечения подсоединен боевой баллон, соединенный с боевым клапаном, установленным на плите с внутренней стороны ПК и связанным трубопроводами с отсечными клапанами, которые, в свою очередь, связаны с невозвратными клапанами на казенных частях воздушных ТА, а противоположная сторона боевого баллона имеет трубопроводы наполнения и продувания, связанные через отверстия в плите с клапаном продувания и клапаном наполнения боевого баллона, связанным внутри ПК трубопроводом с запорным клапаном и корабельной системой ВВД, кроме того трубопроводом передняя часть ТА соединена с установленным на внутренней стороне плиты передним клапаном осушения, связанным трубопроводом с системой заполнения-осушения ТА.
Сравнительный анализ с прототипом показывает, что боевой баллон, боевой клапан, клапан наполнения и клапан продувания боевого баллона, передний клапан осушения ТА с трубопроводом, запорный клапан группы забортных баллонов ВВД установлены на одном комингсе, выполненном в виде плиты с отверстиями; боевой баллон установлен за бортом подводной лодки.
Таким образом, заявляемая ПЛ соответствуют критерию изобретения новизна .
Задача изобретения по улучшению компоновочных свойств ТА, уменьшению объема монтажных и испытательных работ на заводе-строителе ПЛ решается за счет установки боевого баллона, боевого клапана, клапана наполнения и клапана продувания боевого баллона, переднего клапана осушения с трубопроводом, запорного клапана группы забортных баллонов ВВД на одном переборочном стакане, что позволяет проводить сборку всего названного оборудования в специализированных цехах, а также проводить испытания ТА, в том числе пристрелочные, на специальных стендах завода-изготовителя ТА, поставлять ТА с названным оборудованием на завод-строитель ПЛ в собранном виде.
Задача изобретения по повышению пожаровзрывобезопасности ТА решается за счет установки боевого баллона за бортом ПЛ.
Сравнение заявляемой ПЛ с другими техническими решениями показывает, что ТА, имеющие систему заполнения-осушения, боевой баллон с невозвратными клапанами ТА, известны. Также известно, что наполнение боевых баллонов ТА осуществляется от группы забортных баллонов ВВД, связанной с системой наполнения боевого баллона и корабельной системой воздуха высокого давления.
Однако не известны:
установка на переборочном стакане ТА за бортом ПЛ боевого баллона воздушных ТА, а боевого клапана внутри отсека ПЛ;
установка на одном переборочном стакане с ТА переднего клапана осушения, клапана наполнения и клапана продувания боевого баллона, запорного клапана группы забортных баллонов ВВД.
Таким образом, заявляемая ПЛ соответствуют критерию “изобретательский уровень”.
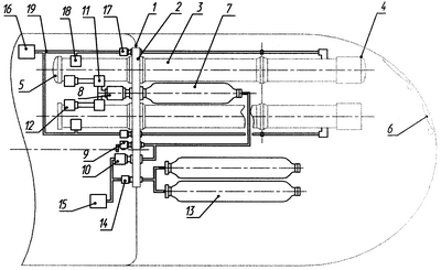
Изобретение поясняется чертежом, где на чертеже показано устройство заявляемой ПЛ.
Подводная лодка имеет прочный корпус 1 и легкий корпус с волнорезными щитами 6. В переборку прочного корпуса ПЛ на одном переборочном стакане 2, выполненном в виде плиты с отверстиями, установлены торпедные аппараты 3 с передней 4 и задней 5 крышками, а также боевой баллон 7, герметично подсоединенный к отверстию комингса вне прочного корпуса ПЛ. Внутри прочного корпуса, на этом же отверстии комингса установлен боевой клапан 8. Другая горловина боевого баллона связана трубопроводом с клапаном продувания 9 и клапаном наполнения 10. Боевой клапан связан трубопроводом с отсечными клапанами 11 и далее с невозвратными клапанами 12, установленными на казенных частях ТА. Группа забортных баллонов ВВД 13, расположенная вне прочного корпуса, соединена трубопроводом с запорным клапаном 14, который установлен на переборочном стакане и связан с корабельной системой ВВД 15 и клапаном наполнения 10, связанным с группой забортных баллонов ВВД 13, которая составляет автономный запас воздуха для работы ТА. Для заполнения ТА водой предусмотрена система заполнения-осушения 16, которая через передний клапан осушения 17 и задний клапан осушения 18 связана трубопроводами 19 с ТА. Клапаны и трубопроводы продувания ТА, входящие в состав системы заполнения-осушения давления, на чертеже не показаны.
Стрельба заявляемой ПЛ из торпедных аппаратов осуществляется следующим образом. Перед началом работы от корабельной системы ВВД 15 через запорный клапан 14 и клапан наполнения 10 боевого баллона 7 наполняются группа забортных баллонов ВВД 13 и боевой баллон 7. Исходным состоянием перед стрельбой является положение, при котором ТА осушены, боевой баллон и группа забортных баллонов ВВД заполнены воздухом до номинального давления, боевой клапан ТА закрыт. При непосредственной подготовке к стрельбе ТА 3 заполняются водой от системы заполнения-осушения 16 через передний 17 и задний 18 клапаны осушения ТА. После заполнения ТА водой через систему заполнения-осушения 16 происходит уравнивание давления в ТА с забортным давлением. После уравнивания давлений открываются передние крышки 4 и волнорезные щиты 6 ТА, набранных в залп. Одновременно с этим открывается отсечной клапан 11 ТА, из которого будет производиться первый выстрел. Торпедные аппараты готовы к выстрелу.
По команде на производство выстрела открывается боевой клапан 8, который обеспечивает подачу воздуха с заданным расходом из боевого баллона 7, через отсечной клапан 11 в невозвратный клапан 12. При достижении в полости невозвратного клапана давления, превышающего забортное, последний открывается и воздух начинает поступать в ТА 3.
Отсечка воздуха и прекращение процесса выстрела производится боевым клапаном 8. После выстрела закрывается отсечной клапан 11 того аппарата, из которого произведен выстрел. Для производства следующего выстрела открывается отсечной клапан следующего в залпе ТА. В случае необходимости в промежутке между выстрелами от группы забортных баллонов ВВД 13 через запорный клапан 14 и клапан наполнения боевого баллона 10 пополняется запас воздуха в боевом баллоне 7. Последующий выстрел производится так, как описано выше.
После производства залпа закрываются передние крышки 4 ТА, открываются передний 17 и задний 18 клапаны осушения, через которые в систему заполнения-осушения 16 производится слив воды из ТА, а группа забортных баллонов ВВД 13 может быть пополнена воздухом от корабельной системы ВВД 15.
Использование изобретения позволяет улучшить компоновочные свойства ТА за счет уменьшения межосевых расстояний, повысить пожаровзрывобезопасность торпедных аппаратов за счет выноса боевого баллона за борт ПЛ, сократить трудоемкость работ по монтажу ТА на заводе-строителе ПЛ за счет того, что ТА могут поставляться на завод-строитель ПЛ в виде модуля, с установленными на переборочном стакане торпедными аппаратами, боевыми баллонами, боевыми клапанами, клапанами и трубопроводами систем наполнения боевого баллона и заполнения-осушения ТА. Кроме этого, может быть снижен объем наладочных и пристрелочных испытаний ТА за счет испытаний последних на специальном стенде завода-изготовителя ТА.
Формула изобретения
Подводная лодка с воздушными торпедными аппаратами, содержащая прочный корпус, легкий корпус с волнорезными щитами, корабельную систему воздуха высокого давления с забортными баллонами, систему заполнения-осушения торпедных аппаратов, включающую передний и задний клапаны осушения с трубопроводами, причем воздушные торпедные аппараты оснащены передней и задней крышками, боевым баллоном с клапанами наполнения и продувания, боевым клапаном, отсечным клапаном, невозвратным клапаном и установлены на переборочных стаканах, вваренных в прочный корпус подводной лодки, проходя своей казенной частью внутрь прочного корпуса, а передней частью между прочным и легким корпусами, отличающаяся тем, что переборочный стакан выполнен в виде плиты, объединяющей не менее двух торпедных аппаратов в модуль, который оснащен группой забортных баллонов воздуха высокого давления с запорным клапаном, при этом к плите вне прочного корпуса горловиной большого сечения подсоединен боевой баллон, соединенный с боевым клапаном, установленным на плите с внутренней стороны прочного корпуса и связанным трубопроводами с отсечными клапанами, которые, в свою очередь, связаны с невозвратными клапанами на казенных частях воздушных торпедных аппаратов, а противоположная сторона боевого баллона имеет трубопроводы наполнения и продувания, связанные через отверстия в плите с клапаном продувания и клапаном наполнения боевого баллона, связанным внутри подводной лодки трубопроводом с запорным клапаном и корабельной системой воздуха высокого давления, а трубопроводом передняя часть торпедных аппаратов соединена с установленным на внутренней стороне плиты передним клапаном осушения, связанным трубопроводом с системой заполнения-осушения торпедных аппаратов.
РИСУНКИ
MM4A – Досрочное прекращение действия патента СССР или патента Российской Федерации на изобретение из-за неуплаты в установленный срок пошлины за поддержание патента в силе
Дата прекращения действия патента: 11.01.2008
Извещение опубликовано: 10.05.2009 БИ: 13/2009
|
|