|
|
(21), (22) Заявка: 2005116645/11, 31.05.2005
(24) Дата начала отсчета срока действия патента:
31.05.2005
(46) Опубликовано: 20.04.2007
(56) Список документов, цитированных в отчете о поиске:
RU 2224669 C1, 27.02.2004. US 4655466 A, 07.04.1987. RU 2175208 C1, 27.10.2001. SU 1191347 A, 15.11.1985. JP 2001270445 А, 02.10.2001.
Адрес для переписки:
390028, г.Рязань, ул. Промышленная, 31, ГП Рязанский завод “Банктехника”, ген.директору Д.В.Амелину
|
(72) Автор(ы):
Амелин Дмитрий Васильевич (RU), Якунин Юрий Константинович (RU)
(73) Патентообладатель(и):
Государственное предприятие Рязанский завод “Банктехника” (RU)
|
(54) УСТРОЙСТВО ДЛЯ ПРИЕМА-ПЕРЕДАЧИ ЦЕННОСТЕЙ
(57) Реферат:
Изобретение относится к средствам для перевозки ценностей, трансформируемым в тележку или стол для облегчения транспортировки штучных, тяжелых, объемных грузов преимущественно в кассовых центрах банков для приема-передачи ценностей на хранение. Устройство для приема-передачи ценностей включает платформу со стойками и колесами и снабжено выдвижными ножками. Стойка выполнена с основанием из горизонтально расположенных труб, установленных с возможностью крепления колес и выдвижных ножек. Выдвижные ножки соединены кинематической связью с педалью управления для изменения положения их опорной поверхности относительно опорной поверхности колес. При этом основание снабжено стаканами, каждый из которых имеет вертикальные пазы на боковой стенке и расположенную внутри него поперечную ось, соединенную через приводной механизм с педалью управления для ее перемещения в вертикальных пазах. Техническим результатом изобретения является повышение универсальности и грузоподъемности устройства при обеспечении безопасности, быстродействия и удобства работы при приеме-передаче ценностей. 4 з.п. ф-лы, 6 ил.
Изобретение относится к средствам для перевозки ценностей, трансформируемым в тележку или стол для облегчения транспортировки штучных, тяжелых, объемных грузов преимущественно в кассовых центрах банков для приема-передачи ценностей на хранение.
Известна транспортная тележка для перевозки грузов на предприятиях торговли, сборочных цехах, складских помещениях, выполненная в виде платформы прямоугольной формы на колесном ходу, по углам которой вертикально установлены стойки, а с каждой длинной стороны платформы попарно установлены дополнительные телескопические стойки, на которые установлены полки (патент РФ на изобретение №2189919, В62В 3/02, публ. 2002 г.).
Тележка может трансформироваться без значительных трудозатрат для перевозки широкого спектра изделий. Недостаток заключается в том, что при приеме-передаче грузов не исключены смещения и вибрации тележки, что снижает оперативность операций и затрудняет работу персонала при работе с банковскими ценностями.
Известно автоматизированное устройство для приема-передачи и перевозки ценностей в банке, выполненное в виде транспортной тележки, состоящей из рамы, смонтированной на четырех опорных роликах, снабженных тормозами, и имеющей в верхней и внутренней частях две площадки для установки двух контейнеров, выполненных с возможностью установки с передней открытой стороны рамы, причем в раме предусмотрены два свободных пространства, обеспечивающих доступ для захвата погрузчика-штабелера для снятия и установки контейнеров (патент РФ на изобретение №2224669, В60Р 3/03, публ. 2004 г. – прототип).
Устройство позволяет осуществлять прием-передачу ценностей, предварительно упакованных в контейнеры. Если груз имеет иную форму, то наличие двух параллельных площадок неудобно для укладки и перевозки груза. Недостаток известного устройства заключается в низкой оперативности, неудобстве и сложности приема-передачи ценностей с высокой грузоподъемностью, а также ценностей без предварительной упаковки в контейнеры. Наличие двух площадок и опорных роликов, не позволяющих обеспечить гарантированную неподвижность устройства при загрузке-выгрузке, затрудняет работу персонала на нижней площадке. Узкая номенклатура ценных грузов, низкая производительность и неудобство погрузочно-разгрузочных работ ограничивает применение известного устройства.
Технический результат изобретения в повышении универсальности и грузоподъемности устройства при обеспечении безопасности, быстродействия и удобства работы при приеме-передаче ценностей.
Технический результат достигается тем, что устройство для приема-передачи ценностей, включающее платформу со стойками и колесами, снабжено выдвижными ножками, стойка выполнена с основанием из горизонтально расположенных труб, установленных с возможностью крепления колес и выдвижных ножек, причем выдвижные ножки соединены кинематической связью с педалью управления для изменения положения их опорной поверхности относительно опорной поверхности колес, при этом основание снабжено стаканами, каждый из которых имеет вертикальные пазы на боковой стенке и расположенную внутри него поперечную ось, соединенную через приводной механизм с педалью управления для ее перемещения в вертикальных пазах.
Целесообразно в основании применить трубы с прямоугольным сечением.
Предпочтительно выдвижную ножку жестко установить на подвижной оси, поперечно расположенной внутри стакана, и подпружиненную верхнюю часть установить в полости труб основания.
Предпочтительно приводной механизм выполнить содержащим рычаг и планку, шарнирно соединенных между собой на внешней стороне стакана, педаль управления размещена на длинном плече рычага, при этом поперечная ось стакана является осью рычага.
Целесообразно основание снабдить втулками для крепления колес, причем колеса выполнены самоориентирующимися.
При проведении патентных исследований не обнаружены решения, идентичные заявленному, а следовательно, предложенное решение соответствует критерию “новизна”. Сущность изобретения не следует явным образом из известных решений, следовательно, предложенное изобретение соответствует критерию “изобретательский уровень”.
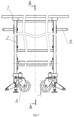
Фиг.1 изображает устройство в положении «стол» – вид спереди. На фиг.2 – устройство в положении «тележка» – вид спереди. На фиг.3 представлено устройство в положении «стол» – вид сбоку. На фиг.4 показан разрез А-А устройства на фиг.1. Фиг.5 изображает стакан в разрезе в положении «стол». На фиг.6 показан общий вид стакана с приводным механизмом для выдвижных ножек в положении «стол».
Устройство приема-передачи ценностей (фиг.1, 2, 3, 4) представляет собой трансформируемый стол-тележку и содержит 1 платформу 1 (столешницу) прямоугольной формы, две вертикально установленные стойки 2, имеющие основание 3 из по меньшей мере двух горизонтальных труб с прямоугольным сечением, выдвижные ножки 4 с опорной поверхностью 5 для неподвижной установки устройства в положении «стол» при приеме-передаче ценностей, четыре колеса 6.
Основание 3 жестко соединено (например, сваркой) со стаканами 7 и втулками 8. Каждая выдвижная ножка 4 жестко установлена на подвижной оси 9, поперечно расположенной внутри стакана 7 в вертикальных пазах 10 на его боковой стенке. Верхняя часть выдвижной ножки 4 подпружинена пружиной 11 и смонтирована в полости трубы основания 3.
С внешней стороны стакана 7 закреплен приводной механизм для выдвижения ножек (фиг.6), включающий планку 12, шарнирно соединенную с рычагом 13, осью которого является подвижная ось 9. Длинное плечо рычага 13 соединено с педалью 14 управления, обеспечивающей подъем-опускание выдвижных ножек 4. Поворот рычага 13 при нажатии педали 14 управления обеспечивает перемещение подвижной оси 9 вниз вместе с закрепленной на ней выдвижной ножкой 4. Планка 12 обеспечивает при этом передачу усилия с рычага 13 на стойку 2.
Колеса 6 выполнены самоориентирующимися для обеспечения перемещения устройства в положении «тележка» к местам приема-передачи и хранения ценностей. К стойкам 2 закреплены ручки 15 для захвата рукой и транспортирования устройства в положении «тележка». Платформа 1 предназначена для укладки на нее ценностей (груза), подлежащего перевозке.
Пользуются устройством следующим образом. Для применения его в качестве тележки (фиг.2) выдвижные ножки 4 приподняты на 15-20 мм выше опорной поверхности колес 6 (расстояние h на фиг.2). При использовании устройства в качестве стола (фиг.1, 3) опорная поверхность 5 выдвижных ножек 4 установлена на 4-5 мм ниже опорной поверхности колес 6 (расстояние на фиг.1).
Для перевода устройства из положения «тележка» в положение «стол» нажимают на педаль 14 управления, связанную через рычаг 13 и планку 12 с подвижной осью 9. При этом указанная ось 9 вертикально перемещается в пазу 10 (фиг.5), передвигая выдвижную ножку 4 из стакана вниз до тех пор, пока ее опорная поверхность 5 не окажется ниже опорной поверхности колес 6. Стол готов к приему-передаче ценностей.
Для преобразования устройства из положения «стол» в положение «тележка» нажимают на педаль 14, связанную через рычаг 13 и планку 12 с подвижной осью 9. При этом под действием пружины 11 выдвижные ножки 4 поднимаются вверх. Устройство готово к перемещению ценностей.
При приеме-передаче ценностей исключены перемещения и вибрации платформы при любой степени ее загрузки, значительно сокращается время приемки и сдачи ценностей, повышается удобство работы и быстродействие доставки ценностей для хранения.
Устройство применимо для широкой номенклатуры перевозимых ценностей и грузов, имеет повышенную грузоподъемность (до 200 кг), обеспечивает удобный прием и передачу ценностей на хранение, т.е. имеет расширенные эксплуатационные возможности.
Универсальность устройства при сохранении его компактности позволяет оперативно перевозить ценные грузы любой формы и грузоподъемности, что позволит упростить работу банков. Устройство может найти полезное применение также для погрузки и перевозки штучных грузов и сборочных единиц на предприятиях торговли, сборочных цехах, складских помещениях. Данная конструкция устройства промышленно применима. Изготовлен ее опытный образец, который успешно прошел испытания и подтвердил указанные преимущества.
Формула изобретения
1. Устройство для приема-передачи ценностей, включающее платформу со стойками и колесами, отличающееся тем, что оно снабжено выдвижными ножками, стойка выполнена с основанием из горизонтально расположенных труб, установленных с возможностью крепления колес и выдвижных ножек, причем выдвижные ножки соединены кинематической связью с педалью управления для изменения положения их опорной поверхности относительно опорной поверхности колес, при этом основание снабжено стаканами, каждый из которых имеет вертикальные пазы на боковой стенке и расположенную внутри него поперечную ось, соединенную через приводной механизм с педалью управления для ее перемещения в вертикальных пазах.
2. Устройство по п.1, отличающееся тем, что в основании применены трубы с прямоугольным сечением.
3. Устройство по п.1, отличающееся тем, что выдвижная ножка жестко установлена на подвижной оси, поперечно расположенной внутри стакана, и имеет подпружиненную верхнюю часть, установленную в полости труб основания.
4. Устройство по п.2, отличающееся тем, что приводной механизм содержит рычаг и планку, шарнирно соединенные между собой на внешней стороне стакана, педаль управления размещена на длинном плече рычага, при этом поперечная ось стакана является осью рычага.
5. Устройство по п.1, отличающееся тем, что основание снабжено втулками для крепления колес, причем колеса выполнены самоориентирующимися.
РИСУНКИ
|
|