|
|
(21), (22) Заявка: 2006120466/11, 13.06.2006
(24) Дата начала отсчета срока действия патента:
13.06.2006
(46) Опубликовано: 20.04.2007
(56) Список документов, цитированных в отчете о поиске:
RU 2236965 С2, 27.09.2004. DE 29622203 U1, 06.02.1997. DE 29622204 U1, 06.02.1997. EP 0849136 A2, 24.06.1998.
Адрес для переписки:
115054, Москва, Озерковская наб. 54, стр.1, ЗАО “Трансмашхолдинг”, дирекция корпоративных отношений, отдел нематериальных активов
|
(72) Автор(ы):
Комарец Александр Иванович (RU), Лукьянов Андрей Борисович (RU)
(73) Патентообладатель(и):
Закрытое акционерное общество “Трансмашхолдинг” (RU)
|
(54) ВАГОН ДЛЯ ПЕРЕВОЗКИ АВТОМОБИЛЕЙ
(57) Реферат:
Изобретение относится к области рельсовых транспортных средств и касается универсальных вагонов для перевозки автомобилей в два яруса. Вагон включает раму (1), закрепленные на ней боковые стойки (2) и двухъярусный пол, оба яруса которого выполнены с пониженной частью в базовой зоне вагона. Верхний ярус (4) выполнен съемным и имеет возможность перестановки по высоте и закрепления с помощью устройств фиксации на боковых стойких. Оба яруса содержат три горизонтальные: центральную (5) и боковые (6), и две наклонные секции (7), ограниченные зонами перегиба и габаритами вагона. Зоны перегиба наклонных секций верхнего яруса вынесены за пределы пространства, ограниченного зонами перегиба соответствующих наклонных секций нижнего яруса и нормалями к указанным секциям, проходящими через зоны перегиба. Технический результат – обеспечение оптимального соотношения коэффициента заполнения рабочего пространства вагона и устойчивости вагона. 4 з.п. ф-лы, 2 ил.
Изобретение относится к области рельсовых транспортных средств и касается универсальных вагонов для перевозки автомобилей в два яруса.
Известен вагон для перевозки автомобилей, включающий раму, закрепленные на ней боковые стойки и двухъярусный пол со съемным верхним ярусом, установленным с возможностью перестановки по высоте, а также закрепленное на боковых стойках устройство фиксации верхнего яруса (см., например, РЖ ВИНИТИ “Железнодорожный транспорт”, серия ЦБ “Локомотивостроение и вагоностроение”, N10, 1980 г., с.25, реф. 10 Б 125 П).
Недостатком этого вагона является невозможность одновременной перевозки на одном из ярусов (при перевозке в два яруса – на верхнем) автомобилей двух типоразмеров (высоты) с максимальным использованием высоты железнодорожного габарита, так как из-за выполнения пола прямолинейным высота грузового пространства над каждым ярусом постоянна по всей его длине, указанный недостаток препятствует устойчивости вагона, поскольку его центр тяжести завышен.
Известен вагон для перевозки автомобилей, состоящий из двух секций, объединенных по середине, включающий раму, закрепленные на ней боковые стойки и двухъярусный, оба яруса которого выполнены с пониженной частью в базовой зоне вагона, а верхний ярус выполнен съемным и установлен с возможностью перестановки по высоте, для чего боковые стойки снабжены устройствами фиксации (см. GB 2170461 А, МПК B61D 3/18, 06.08.1986 г.).
В этом вагоне решена задача понижения его центра тяжести, что обеспечивает вагону лучшую устойчивость по сравнению с аналогом.
Недостатком этого вагона является отсутствие оптимизации заполнения рабочего пространства с одновременным достижением максимальной устойчивости вагона.
Частичная оптимизация вышеуказанных параметров достигается в техническом решении, выбранном в качестве прототипа, – вагоне для перевозки автомобилей, включающем раму, закрепленные на ней боковые стойки и двухъярусный пол, оба яруса которого выполнены с пониженной частью в базовой зоне вагона, а верхний ярус выполнен съемным и установлен с возможностью перестановки по высоте, для чего боковые стойки снабжены устройствами фиксации, верхний ярус выполнен из шарнирно соединенных между собой трех горизонтальных – центральной и боковых – и двух наклонных секций, при этом шарнирные узлы, соединяющие центральную и наклонные секции, снабжены устройствами компенсации горизонтального смещения секций, а на боковых стойках с помощью устройств фиксации установлены горизонтальные секции (см. RU 2236965 С2, МПК B61D 3/18, 27.09.2004 г.).
Указанный вагон не позволяет оптимально использовать рабочее пространство, поскольку зазоры между устанавливаемыми на нижний ярус автомобилями и верхним ярусом достаточно велики. Следствием этого является достаточно высокое расположение центра тяжести вагона с грузом, что снижает его устойчивость при движении.
Задачей настоящего изобретения является улучшение заполнения рабочего пространства вагона и повышение его устойчивости.
Указанная задача решается тем, что в вагоне для перевозки автомобилей, включающем раму, закрепленные на ней боковые стойки и двухъярусный пол, оба яруса которого выполнены с пониженной частью в базовой зоне вагона, а верхний ярус выполнен съемным и имеет возможность перестановки по высоте и закрепления с помощью устройств фиксации на боковых стойких, причем оба яруса содержат три горизонтальные: центральную и боковые, и две наклонные секции, ограниченные зонами перегиба и габаритами вагона, согласно изобретению зоны перегиба наклонных секций верхнего яруса вынесены за пределы пространства, ограниченного зонами перегиба соответствующих наклонных секций нижнего яруса и нормалями к указанным секциям, проходящими через зоны перегиба.
Указанная задача решается также тем, что угол наклона каждой верхней наклонной секции может быть выполнен меньшим угла наклона соответствующей нижней наклонной секции.
Указанная задача решается также тем, что горизонтальные и наклонные секции верхнего яруса могут быть соединены между собой жестко.
Указанная задача решается также тем, что горизонтальные и наклонные секции верхнего яруса могут быть соединены между собой шарнирно.
Указанная задача решается также тем, что устройства фиксации могут представлять собой гнезда на боковых стойках и переставляемые по высоте опорные башмаки с фиксирующими штырями.
Техническим результатом от применения заявляемого вагона является оптимизированные параметры: коэффициент заполнения рабочего пространства и устойчивость вагона, полученные путем выбора оптимальных соотношений составляющих ярусы секций, рассчитанных с учетом широкого спектра перевозимой автомобильной техники, что позволяет перевозить большее количество автомобилей, а также автомобили различных габаритов, благодаря обеспечению минимального зазора между автомобилями, устанавливаемыми на нижнем ярусе, и верхним ярусом, при этом обеспечивая максимальную устойчивость вагона относительно поперечных колебаний и усилий опрокидывания, чему способствует оптимальное расположение центра тяжести вагона – наиболее низкое из возможных – при условии его полной загрузки в соответствии с техническими нормами.
Дополнительными характеристиками и преимуществами заявляемого вагона являются:
– жесткое или шарнирное соединение секций верхнего яруса, что позволяет устанавливать на боковые стойки различные верхние ярусы,
– выполнение устройства фиксации в виде гнезд на боковых стойках и переставляемых по высоте опорных башмаках с фиксирующими штырями, что обеспечивает простоту конструкции устройства и легкую установку верхнего яруса.
Изобретение поясняется чертежами, где
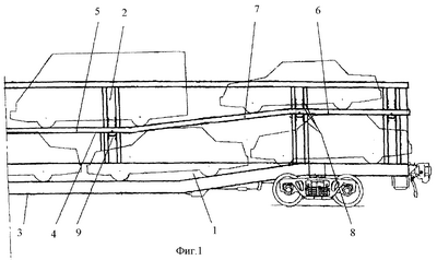
на фиг.1 дан общий вид вагона,
на фиг.2 дано схематическое изображение, характеризующее относительное положение друг от друга верхнего и нижнего ярусов.
Вагон для перевозки автомобилей имеет раму 1, установленные на ней боковые стойки 2 и пол с нижним 3 и верхним 4 ярусами, выполненными с пониженной частью в базовой зоне.
Верхний ярус 4 является съемным и может быть установлен на разной высоте в зависимости от высоты перевозимых автомобилей. Он выполнен из трех горизонтальных: центральной 5 и боковых 6, и двух наклонных 7 секций. Указанные секции могут быть соединены между собой жестко, или шарнирно, или иным образом. Горизонтальные секции 5 и 6 установлены на боковых стойках 2 с помощью устройств фиксации, представляющих собой, например, гнезда 8 на боковых стойках и переставляемые по высоте опорные башмаки 9 с фиксирующими штырями.
При этом зоны перегиба 10 наклонных секций 7 верхнего яруса 4 вынесены за пределы пространства, ограниченного зонами перегиба 11 соответствующих наклонных секций 12 нижнего яруса 3 и нормалями 13 к указанным секциям 12, проходящими через зоны перегиба 11.
Кроме того, угол Ав наклона верхних наклонных секций 7 выполнен меньшим соответствующего угла Ан наклона нижних наклонных секций 12.
Предлагаемые параметры разнесения зон перегиба верхнего 4 и нижнего 3 ярусов позволяют обеспечить минимальный зазор между устанавливаемыми в процессе загрузки нижнего яруса автомобилями, предназначенными для перевозки, и верхним ярусом 4, что позволяет использовать вагон для перевозки автомобилей различных габаритов и обеспечить оптимальное (самое нижнее из возможных при условии полной загрузки вагона) расположение центра тяжести вагона, что в свою очередь позволяет повысить коэффициент заполнения рабочего пространства с одновременным достижением максимальной устойчивости вагона.
Уменьшение угла Ав наклона верхних наклонных секций 7 по сравнению с углом Ан наклона нижних наклонных секций 12 еще в большей степени усиливает описанный выше эффект.
Формула изобретения
1. Вагон для перевозки автомобилей, включающий раму, закрепленные на ней боковые стойки и двухъярусный пол, оба яруса которого выполнены с пониженной частью в базовой зоне вагона, а верхний ярус выполнен съемным и имеет возможность перестановки по высоте и закрепления с помощью устройств фиксации на боковых стойках, причем оба яруса содержат три горизонтальные: центральную и боковые, и две наклонные секции, ограниченные зонами перегиба и габаритами вагона, отличающийся тем, что зоны перегиба наклонных секций верхнего яруса вынесены за пределы пространства, ограниченного зонами перегиба соответствующих наклонных секций нижнего яруса и нормалями к указанным секциям, проходящими через зоны перегиба.
2. Вагон для перевозки автомобилей по п.1, отличающийся тем, что угол наклона каждой верхней наклонной секции выполнен меньшим угла наклона соответствующей нижней наклонной секции.
3. Вагон для перевозки автомобилей по п.1, отличающийся тем, что горизонтальные и наклонные секции верхнего яруса соединены между собой жестко.
4. Вагон для перевозки автомобилей по п.1, отличающийся тем, что горизонтальные и наклонные секции верхнего яруса соединены между собой шарнирно.
5. Вагон для перевозки автомобилей по п.1, отличающийся тем, что устройства фиксации представляют собой гнезда на боковых стойках и переставляемые по высоте опорные башмаки с фиксирующими штырями.
РИСУНКИ
MM4A – Досрочное прекращение действия патента СССР или патента Российской Федерации на изобретение из-за неуплаты в установленный срок пошлины за поддержание патента в силе
Дата прекращения действия патента: 14.06.2008
Извещение опубликовано: 20.06.2010 БИ: 17/2010
|
|