|
|
(21), (22) Заявка: 2005102603/11, 03.07.2002
(24) Дата начала отсчета срока действия патента:
03.07.2002
(43) Дата публикации заявки: 20.01.2006
(46) Опубликовано: 20.04.2007
(56) Список документов, цитированных в отчете о поиске:
DE 10008582 A1, 31.08.2000. EP 1138553 A2, 04.10.2001. EP 0714228 A2, 29.05.1996. SU 1370772 A1, 30.01.1988.
(85) Дата перевода заявки PCT на национальную фазу:
03.02.2005
(86) Заявка PCT:
TR 02/00027 (03.07.2002)
(87) Публикация PCT:
WO 2004/005078 (15.01.2004)
Адрес для переписки:
129010, Москва, ул. Б. Спасская, 25, стр.3, ООО “Юридическая фирма Городисский и Партнеры”, пат.пов. Ю.Д.Кузнецову, рег.№ 595
|
(72) Автор(ы):
КУТЛУГИЛ Мехмет (TR)
(73) Патентообладатель(и):
КУНТ ЭЛЕКТРОНИК САНАЙИ ВЕ ТИЖАРЕТ АНОНИМ ШИРКЕТИ (TR)
|
(54) ЭЛЕКТРОННЫЙ ПЕРЕКЛЮЧАЮЩИЙ МОДУЛЬ
(57) Реферат:
Изобретение касается электронного переключающего модуля, предназначенного для использования в различных транспортных средствах. Пластмассовый корпус защищает электронный переключающий модуль от окружающей среды. Имеется электронная схема со схемой запуска, полупроводниковым переключателем в виде дискретного транзистора и печатной платой, на которой выполнены элементы электронной схемы. Алюминиевый блок закрывает периферию электронной схемы и предотвращает перегревание. Печатная плата размещена в кожухе, к которому прикреплены контакты для соединения с силовой цепью. Предложенный электронный переключающий модуль устанавливается легко, съемно и без модификаций вместо электромагнитных реле постоянного тока. При этом модуль является экономичным. 23 з.п. ф-лы, 6 ил.
Область техники
Настоящее изобретение касается электронного переключающего модуля, который может быть непосредственно установлен без модификаций вместо электромагнитных реле постоянного тока, используемых в различных транспортных средствах.
Предшествующий уровень техники
На современном техническом уровне электрическое оборудование в транспортных средствах приводится в действие постоянным током. Например, электромагнитные реле используются во многих узлах транспортного средства типа ламп, обогревателя, автоматической блокировки дверей, автоматического подъема стекол, запальной свечи дизеля, стеклоочистителя ветрового стекла, вентилятора, механизма сигнализации, привода стартера (пускателя), системы кондиционирования воздуха, топливного насоса, инжектора, ПБТС (противоблокировочной тормозной системы), ЭГС (электронного гашения скорости), ПШР (противоштопорного регулирования), СРТУ (системы регулирования тяговым усилием), дополнительного тормоза, трансмиссии и силовой передачи. Кроме того, электромагнитные реле постоянного тока используют в некоторых областях промышленности.
Однако упомянутые электромагнитные реле имеют многочисленные недостатки.
Поскольку контакт, формируемый и прерываемый магнитным полем, создаваемым катушкой приводной цепи, является механическим, во время размыкания/замыкания цепи создаются помехи.
Электромагнитные реле вызывают электромагнитное загрязнение в связанной электрической схеме, которое, в свою очередь, ведет к отрицательным воздействиям на электронные механизмы, используемые в современной технологии.
В результате механического контакта скорости переключений электромагнитных реле низкие, другими словами, их время срабатывания довольно высокое, например 100-200 мс. Медленное переключение задерживает время реакции системы, а также вызывает изнашивание (абразивное истирание) контакта.
Цепь питания для электромагнитного реле потребляет ток приблизительно 50-200 мА. Такая большая величина тока требует большой потребляемой мощности, а также ведет к различным проблемам. Прежде всего, катушка и контакт, противолежащий катушке, находятся в режиме прогрева и приводят к возникновению дуговых разрядов при выполнении и/или прерывании контакта. И нагревание, и формирование дуговых разрядов вызывают коррозию, которая повреждает контакт, а следовательно, реле. В частности, в транспортных средствах для перевозки, в которых безопасность пассажиров очень важна, дефектные электромагнитные реле приводят к многочисленным несчастным случаям. Кроме того, даже если реле не повреждено, при несчастном случае образующиеся дуговые разряды могут воспламенять топливо в баке и вызывать возгорания. Коррозийные воздействия от атмосферных условий и/или образующихся дуговых разрядов приводят к повышению контактных сопротивлений в упомянутых реле. В реле с повышенным контактным сопротивлением увеличиваются тепловые потери, и система начинает работать неэффективно. Наконец, поскольку требуется использовать толстые кабели, чтобы в приводных цепях также получать большой ток, стоимость значительно увеличивается, так как увеличивается длина кабелей.
Электромагнитные реле работают под заданным напряжением при определенных допустимых отклонениях. Эти отклонения определены пределами напряжения приведения в действие в диапазоне 8%-10%. Когда пределы превышены, реле будут отрицательно воздействовать на работу модуля, нагревая, либо не будут обеспечивать требуемой реакции.
В электронном переключающем модуле используется очень широкий диапазон приведения в действие. Короче говоря, электронный переключающий модуль (модуль либо на 12 В постоянного тока, либо на 24 В постоянного тока) работает в обоих диапазонах напряжения без каких-либо проблем. Дополнительно, он имеет такие признаки, как самообнаружение ошибок и обеспечение информации, по сравнению с электромагнитными реле.
В патенте ЕР № 1207622 раскрыты полупроводниковые реле, которые являются реле переменного тока, а не реле постоянного тока. Tristors (тиристоры), используемые в патенте, являются частицами кремния, используемыми для получения поляризации постоянного тока, пользуясь переменным током/напряжением.
Краткое изложение существа изобретения
Задачей настоящего изобретения является создание электронного переключающего модуля постоянного тока, который можно устанавливать легко и съемным образом, без модификации, вместо электромагнитных реле, причем модуль может найти широкое применение и является экономичным.
Краткое описание чертежей
В дальнейшем электронный переключающий модуль поясняется описанием предпочтительных вариантов воплощения со ссылками на прилагаемые чертежи, на которых:
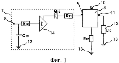
фиг.1 изображает электронную переключающую схему модуля, согласно изобретению;
фиг.2 – электронную переключающую схему модуля, когда нагрузка направлена от положительной клеммы к отрицательной клемме, согласно изобретению;
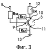
фиг.3 – электронную переключающую схему модуля, когда транзистор (3) на нижней стороне нагрузки возбужден, согласно изобретению;
фиг.4 – общий вид электронного переключающего модуля в разобранном виде, согласно изобретению;
фиг.5 – вид спереди в разобранном виде электронного переключающего модуля, согласно изобретению;
фиг.6 – вид сбоку электронного переключающего модуля в смонтированном виде, согласно изобретению.
Описание предпочтительных вариантов воплощения изобретения
В предпочтительном варианте осуществления изобретения электронный переключающий модуль 15 (фиг.4-6) состоит из пластмассового корпуса 1, защищающего модуль от окружающей среды, алюминиевого блока 2, предотвращающего перегревание электронной схемы, полупроводникового переключающего элементного транзистора 3, печатной платы 4, на которой выполнены элементы электронной схемы, кожуха 5, в который помещена упомянутая печатная плата, и контактов 6 для соединения с силовой цепью.
Пластмассовый корпус 1 защищает модуль от окружающей среды, а также электрически изолирует модуль. Корпус можно держать, не обжигая руку, даже при высоких температурах. Он снабжен рядом перфорационных отверстий, обеспечивающих возможность теплообмена.
Призматический алюминиевый блок 2 закрывает периферию схемы, чтобы обеспечивать более быструю передачу наружу образующегося тепла. На блоке 2 имеются ребра, увеличивающие передачу тепла.
Полупроводниковый переключающий элементный транзистор 3 используют для управления силовой цепью, включающей в себя нагрузку 12, током, подаваемым источником постоянного тока в задающую схему.
Транзистор 3 и элементы электронной схемы, помещенные в задающую схему 7, выполнены на печатной плате 4, которая, в свою очередь, размещена у верхней секции кожуха 5. Контакты 6 прикреплены к нижней секции кожуха 5. Кожух и контакты выполнены так, что не требуется никаких модификаций для помещения контактов в используемые прежде направляющие контактов электромагнитного реле.
На фиг.1 представлена электронная схема, которая размещена на печатной плате в электронном переключающем модуле. Задающая схема 7 состоит из источника 8 пусковых сигналов постоянного тока, резистора R10, ЛК 14, диода Q10 и второго резистора R11, все соединены последовательно с упомянутым источником, конденсатора C10, соединенного параллельно со всеми ними, и корпуса 13. Схема содержит транзистор 3, который подсоединен к задающей схеме 7 через вывод 9. Вывод 10 источника постоянного тока (сток) транзистора 3 соединен с источником 8 пусковых сигналов постоянного тока, тогда как вывод истока 11 соединен с резистором R12 и нагрузкой L10, ведущими к корпусу 13.
Когда схему, изображенную на фиг.1, используют в модуле, ток, подаваемый от источника постоянного тока, подают на затвор 9 транзистора, чтобы отпереть транзистор. Тогда транзистор переходит в проводящее состояние (замкнутый переключатель), и ток силовой цепи, подаваемый от вывода 10 источника постоянного тока (стока), передается на вывод 11 истока и активизирует силовую цепь, передавая по нагрузке, посредством контактов.
Резистор R12 обеспечивает управление тока, протекающего по нагрузке, и благодаря этой особенности он с точки зрения диагностики защищает элементы схемы, которые держит под контролем, в пределах текущих допустимых параметров.
В этой процедуре защиты нет никакого риска повреждений в конце работы, поскольку это является случаем с обычными плавкими предохранителями.
Когда отрицательные воздействия условий работы устранены, система запускается вновь и осуществляет защиту от следующих возможных отрицательных условий. Этими условиями являются тепловые факторы, параметры превышения напряжения и превышения тока.
Здесь, чрезвычайно низкое внутреннее сопротивление и емкость транзистора 3 и, в связи с этим, очень высокое сопротивление затвора приводят транзистор в случайные или неуправляемые положения “открыт или заперт” с неопределенными интервалами, и это нарушает операционную стабильность. Чтобы избежать такой ситуации, используют метод ИМВ (импульсной модуляции волн). Этот метод основан на улучшенной технологии ЛК, разработанной, чтобы приводить полупроводник в насыщенное или рабочее положение. Превышенные значения напряжения и тока контролируются ИМВ, чтобы обеспечивать более устойчивую работу транзистора.
В другом варианте осуществления настоящего изобретения используют схему, изображенную на фиг.2. Здесь, задающая схема 7, состоящая из резистора R20, последовательно соединенного с источником пусковых сигналов постоянного тока, транзистора T20 и диода Q20, соединенных друг с другом параллельно, которые, в свою очередь, последовательно соединены с упомянутым резистором, корпуса 13, соединяющего их с заземлением, и диода Q21, соединенного с ними последовательно, содержит диод Q22, транзистор 10 и резистор R21, соединенные друг с другом параллельно, которые, в свою очередь, соединены с упомянутой задающей схемой 7 последовательно, источник 8 пусковых сигналов постоянного тока, запитывающий упомянутую схему, и диод Q23 и нагрузку, соединенные друг с другом параллельно, которые подсоединяют их к корпусу 13.
Когда модуль работает со схемой, показанной на фиг.2, нагрузка остается на (отрицательной) стороне сплошного корпуса 13 электромагнитного поля. Напряжение аккумуляторной батареи передается на задающую схему 7 и на нагрузку 12 управляемым способом. Поскольку внутреннее сопротивление низкое, между источником 10 постоянного тока (стоком) и истоком 11 создается незначительное напряжение. Со стороны ввода 9 невозможно управлять минимальной разностью напряжений. Упомянутая разность подавляется ИМВ. Действие незначительного (пренебрежимо малого) внутреннего сопротивления между источником 10 постоянного тока (стоком) и истоком 11 устраняют различными интервалами динамического воздействия и, таким образом, создают разность напряжений для переноса в модуль гарантированным способом.
Задающий участок схемы и модуль работают в соответствии с циклической структурой заземления. Для получения 100%-ного соответствия работе реле в технологии автомобилей/транспортных средств ввод задающего участка и положительного одностороннего периодического изменения относительно корпуса 13 осуществляется через поляризацию n-p-n-транзистора.
Соединения диодов выполнены на задающей схеме, чтобы защитить модуль от действий обратных токов, образующихся в цикле заземления.
В другом варианте осуществления настоящего изобретения (фиг.3) схема состоит из резистора R30, запитываемого от источника 8 пусковых сигналов постоянного тока, транзистора 10, двух резисторов R31, R32, соединенных друг с другом параллельно, которые, в свою очередь, соединены с упомянутым резистором, и корпуса 13, который соединяет вышеупомянутые компоненты с заземлением.
Основное наблюдаемое различие в работе между этой схемой и схемой, показанной на фиг.2, состоит в том, что внутреннее сопротивление нагрузки структуры, присутствующей в системе, больше, чем внутреннее сопротивление транзистора 3, и это создает разность напряжений, которая достаточна для работы транзистора 3. Здесь импульсная модуляция не требуется. Входное напряжение синхронизировано с напряжением системы и находится в направлении блокирования.
Это удерживает транзистор 3 в режиме передачи непрерывно и постоянно. Когда входное напряжение устранено, транзистор 3 не выполняет какой-либо передачи. Поскольку для таких выполнений логической команды нет, периоды включения/выключения кремниевого кристалла поддерживаются в диапазоне 4,5 мкс, потому что задержка устройства в электронной среде незначительна. Поэтому упомянутый период является оптимальным временем переключения.
Для получения более высоких значений тока в силовой цепи используют более одной ЛК транзистора. Параллельную работу транзисторов обеспечивают одновременным управлением транзисторов, ЛК которых соединены, увеличивая таким образом значения тока, получаемые от силовой цепи. Здесь предварительным условием является одновременная работа транзисторов.
Внутренний температурный диапазон электронного переключающего модуля выше по сравнению с электромагнитными реле.
Верхний и нижний пределы температур p-n-переходов составляют -40°C и +150°C, соответственно. Внутренние сопротивления ограничены диапазоном между 3 и 5 мОм, даже на верхнем температурном пределе. Эта разница является ключевым моментом различия между электромагнитным реле и электронным переключающим модулем.
Каждый электронный переключающий модуль способен работать во всех диапазонах напряжений, 12В, 24В, 42В, постоянного тока, доступных для реле. Факт, что упомянутый модуль способен работать во всех видах диапазонов напряжений, обеспечивает гибкость в текущем управлении во время изготовления, и поскольку вместо параметра напряжения для хранения изделий выключателей используют параметр тока, создание запаса/хранение в значительной степени облегчается. Когда модуль работает при более высоких напряжениях, транзистор в задающей схеме можно заменить транзистором, имеющим другие значения напряжения и тока.
Период переключения в схеме электронного переключающего модуля выражен в микросекундах. На основании этого короткого периода модуль включается быстрее и работает более эффективно.
Этот признак быстрого срабатывания модуля снижает до минимума задержки задающей системы, которая посылает команды электромагнитным реле и соленоидам, в частности, в системы ПБТС и/или ЭГС. Этот признак устраняет задержку электромагнитного реле и обеспечивает возможность системе выдавать медленные срабатывания только из-за механических задержек (скорость подвижности соленоида), таким образом снижая до минимума задержки в максимально возможной степени. Поэтому этот эффект ускоряет время срабатывания ПБТС, ESB, ПШР и EBV на 10-20%.
Модуль согласно настоящему изобретению также способствует получению более быстрых срабатываний по сравнению с электромагнитными реле, посредством прямого внедрения в технологии ПБТС, ESD, ПШР при использовании в приводных блоках.
В задающей схеме 7 для запуска транзистора 3 используют низкое значение тока на уровне микроампер. Принимая во внимание, что когда для работы электромагнитных реле требуется значение тока 100 миллиампер (мА), работа силовых цепей с переключающим модулем приведет к размаху тока. Поскольку электронный переключающий модуль приводится в действие низким током и напряжением, это не вызывает никакого риска для здоровья человека. Кроме того, можно активизировать более одной силовой цепи параллельно с одной задающей схемой. В этом случае модуль используют в качестве выключателя. Самым важным моментом является одновременная работа ЛК. Иными словами, когда каждая ЛК работает независимо, силовая цепь не увеличивается, она уменьшается. Это нежелательное условие разрешают, добавляя к системе емкостно-резистивную цепь.
Также можно использовать упомянутый модуль на меньших площадях или в качестве основы ПП (печатной платы). Модуль отличается тем, что его можно использовать на очень маленьких площадях, если требуется.
Эта характеристика получена из технологии УПМ (устройства с поверхностным монтажом) или ВПС (внутриплатной схемы). Электронные элементы модуля перекомпонуют и размещают на очень маленьких физических площадях, например, составляющих несколько квадратных сантиметров.
В другом варианте осуществления настоящего изобретения модуль реконструируют в логику ПП, чтобы создать систему панели управления. Модуль вместе с панелью действует как плавкий предохранитель.
В другом варианте осуществления настоящего изобретения электронный переключающий модуль используют в производстве оружия, для систем электронного запуска, электронных мин и боеприпасов, для перемещения систем орудийных башен танков или самолетов и всех типов применений, которые управляются электромеханическими реле. В таких системах, поскольку время срабатывания (включение/выключение схемы) и внутренние сопротивления являются маленькими, скорость механического открывания/закрывания и количество пуль, выстреливающих в единицу времени, увеличены. Кроме того, некоторые нежелательные условия, повышенная температура и т.д., которые могут возникнуть внутри системы, оцениваются компьютером, и некоторым элементам схемы можно посылать команды “останова/запуска”.
Промышленная применимость
Электронный переключающий модуль согласно настоящему изобретению имеет простую конструкцию, которая облегчает его изготовление и работу. Его можно устанавливать вместо старых электромагнитных реле без каких-либо модификаций и его также можно устанавливать в новые устройства, не требуя существенного изменения технологической линии.
В дополнение, электронный переключающий модуль устраняет коррозийные воздействия на транспортных средствах в силу его высокой эффективности и быстродействия.
Благодаря высокой скорости срабатываний он не создает никаких неудобств в работе схемы в отношении загрязнений и влияний гармонических составляющих в системе.
Формула изобретения
1. Электронный переключающий модуль, предназначенный для непосредственной установки вместо электромагнитных реле постоянного тока в различных транспортных средствах и содержащий пластмассовый корпус (1), защищающий модуль от окружающей среды, электронную схему со схемой (7) запуска, полупроводниковым переключателем в виде дискретного транзистора (3) и печатной платой (4), на которой выполнены элементы электронной схемы, алюминиевый блок (2), закрывающий периферию электронной схемы и предотвращающий перегревание, кожух (5), в котором размещена печатная плата (4), и прикрепленные к кожуху (5) контакты (6) для соединения с силовой цепью.
2. Электронный переключающий модуль по п.1, отличающийся тем, что пластмассовый корпус (1) снабжен рядом перфорационных отверстий для обеспечения теплообмена.
3. Электронный переключающий модуль по любому из п.1 или 2, отличающийся тем, что алюминиевый блок (2) выполнен призматическим с ребрами для ускоренной передачи наружу тепла, производимого в схеме.
4. Электронный переключающий модуль по любому из п.1 или 2, отличающийся тем, что контакты (6) выполнены с возможностью размещения в немодифицированных контактных направляющих используемого прежде электромагнитного реле.
5. Электронный переключающий модуль по п.3, отличающийся тем, что контакты (6) выполнены с возможностью размещения в немодифицированных контактных направляющих используемого прежде электромагнитного реле.
6. Электронный переключающий модуль по любому из п.1 или 2, отличающийся тем, что электронная схема состоит из схемы (7) запуска, содержащей пусковой источник (8) постоянного тока, резистор (R10), логический узел (14), диод (Q10) и второй резистор (R11), причем все соединены последовательно с упомянутым источником, а конденсатор (C10) соединен параллельно с ними всеми, и корпуса (13), транзистора (3), который соединен со схемой (7) запуска своим выводом (9) (затвором), резистора (R12), причем вывод (10) источника постоянного тока (стока) транзистора (3) соединен с выводом истока (11) транзистора, и нагрузки (L10).
7. Электронный переключающий модуль по п.3, отличающийся тем, что электронная схема состоит из схемы (7) запуска, содержащей пусковой источник (8) постоянного тока, резистор (R10), логический узел (14), диод (Q10) и второй резистор (R11), причем все соединены последовательно с упомянутым источником, а конденсатор (С10) соединен параллельно с ними всеми, и корпуса (13), транзистора (3), который соединен со схемой (7) запуска своим выводом (затвором) (9), резистора (R12), причем вывод источника постоянного тока (стока) (10) транзистора (3) соединен с выводом истока (11) транзистора, и нагрузки (L10).
8. Электронный переключающий модуль по п.4, отличающийся тем, что электронная схема состоит из схемы (7) запуска, содержащей пусковой источник (8) постоянного тока, резистор (R10), логический узел (14), диод (Q10) и второй резистор (R11), причем все соединены последовательно с упомянутым источником, а конденсатор (С10) соединен параллельно с ними всеми, и корпуса (13), транзистора (3), который соединен со схемой (7) запуска своим выводом (затвором) (9), резистора (R12), причем вывод источника постоянного тока (стока) (10) транзистора (3) соединен с выводом истока (11) транзистора, и нагрузки (L10).
9. Электронный переключающий модуль по любому из пп.1, 2, 5, отличающийся тем, что электронная схема состоит из схемы (7) запуска, содержащей резистор (R20), соединенный последовательно с пусковым источником (8) постоянного тока, транзистор (Т20) и диод (Q20), соединенные параллельно друг с другом, заземляющий корпус (13) и диод (Q21), соединенный с ними последовательно, диода (Q22), транзистора (3) и резистора (R21), соединенных друг с другом параллельно, которые, в свою очередь, соединены со схемой (7) запуска последовательно, диода (С23) и нагрузки (L10), которые соединены друг с другом параллельно и подключены к корпусу (13).
10. Электронный переключающий модуль по п.3, отличающийся тем, что электронная схема состоит из схемы (7) запуска, содержащей резистор (R20), соединенный последовательно с пусковым источником (8) постоянного тока, транзистор (Т20) и диод (Q20); соединенные параллельно друг с другом, заземляющий корпус (13) и диод (Q21), соединенный с ними последовательно, диода (Q22), транзистора (3) и резистора (R21), соединенных друг с другом параллельно, которые, в свою очередь, соединены со схемой (7) запуска последовательно, диода (Q23) и нагрузки (L20), которые соединены друг с другом параллельно и подключены к корпусу (13).
11. Электронный переключающий модуль по п.4, отличающийся тем, что электронная схема состоит из схемы (7) запуска, содержащей резистор (R20), соединенный последовательно с пусковым источником (8) постоянного тока, транзистор (Т20) и диод (Q20), соединенные параллельно друг с другом, заземляющий корпус (13) и диод (Q21), соединенный с ними последовательно, диода (Q22), транзистора (3) и резистора (R21), соединенных друг с другом параллельно, которые, в свою очередь, соединены со схемой (7) запуска последовательно, диода (Q23) и нагрузки (L20), которые соединены друг с другом параллельно и подключены к корпусу (13).
12. Электронный переключающий модуль по любому из пп.1, 2, 5, отличающийся тем, что содержит электронную схему, состоящую из транзистора (3) и двух резисторов (R31, R32), соединенных друг с другом параллельно, которые, в свою очередь, соединены с резистором (R30), и корпуса (13), который предназначен для заземления указанных элементов.
13. Электронный переключающий модуль по п.4, отличающийся тем, что содержит электронную схему, состоящую из транзистора (3) и двух резисторов (R31, R32), соединенных друг с другом параллельно, которые, в свою очередь, соединены с резистором (R30), и корпуса (13), который предназначен для заземления указанных элементов.
14. Электронный переключающий модуль по любому из пп.1, 2, 5, 7, 8, 10, 11, 13, отличающийся тем, что печатная плата (4) содержит электронную схему, в которой используется более одного логических узлов и более одного одновременно работающих транзисторов для получения более высоких значений тока в силовой цепи.
15. Электронный переключающий модуль по п.4, отличающийся тем, что печатная плата (4) содержит электронную схему, в которой используется более одного логических узлов и более одного одновременно работающих транзисторов для получения более высоких значений тока в силовой цепи.
16. Электронный переключающий модуль по п.6, отличающийся тем, что печатная плата (4) содержит электронную схему, в которой используется более одного логических узлов и более одного одновременно работающих транзисторов для получения более высоких значений тока в силовой цепи.
17. Электронный переключающий модуль по п.9, отличающийся тем, что печатная плата (4) содержит электронную схему, в которой используется более одного логических узлов и более одного одновременно работающих транзисторов для получения более высоких значений тока в силовой цепи.
18. Электронный переключающий модуль по п.12, отличающийся тем, что печатная плата (4) содержит электронную схему, в которой используется более одного логических узлов и более одного одновременно работающих транзисторов для получения более высоких значений тока в силовой цепи.
19. Электронный переключающий модуль по любому из пп.1, 2, 5, 7, 8, 10, 11, 13, 15-18, отличающийся тем, что электронная схема содержит отдельную схему запуска, включающую в себя одновременно работающие логические узлы, и более чем одну силовых цепей, активизируемых посредством параллельного соединения, при этом модуль служит в качестве выключателя.
20. Электронный переключающий модуль по п.4, отличающийся тем, что электронная схема содержит отдельную схему запуска, включающую в себя одновременно работающие логические узлы, и более чем одну силовых цепей, активизируемых посредством параллельного соединения, при этом модуль служит в качестве выключателя.
21. Электронный переключающий модуль по п.6, отличающийся тем, что электронная схема содержит отдельную схему запуска, включающую в себя одновременно работающие логические узлы, и более чем одну силовых цепей, активизируемых посредством параллельного соединения, при этом модуль служит в качестве выключателя.
22. Электронный переключающий модуль по п.9, отличающийся тем, что электронная схема содержит отдельную схему запуска, включающую в себя одновременно работающие логические узлы, и более чем одну силовых цепей, активизируемых посредством параллельного соединения, при этом модуль служит в качестве выключателя.
23. Электронный переключающий модуль по п.12, отличающийся тем, что электронная схема содержит отдельную схему запуска, включающую в себя одновременно работающие логические узлы, и более чем одну силовых цепей, активизируемых посредством параллельного соединения, при этом модуль служит в качестве выключателя.
24. Электронный переключающий модуль по п.15, отличающийся тем, что электронная схема содержит отдельную схему запуска, включающую в себя одновременно работающие логические узлы, и более чем одну силовых цепей, активизируемых посредством параллельного соединения, при этом модуль служит в качестве выключателя.
РИСУНКИ
MM4A – Досрочное прекращение действия патента СССР или патента Российской Федерации на изобретение из-за неуплаты в установленный срок пошлины за поддержание патента в силе
Дата прекращения действия патента: 04.07.2009
Извещение опубликовано: 27.07.2010 БИ: 21/2010
|
|