|
|
(21), (22) Заявка: 2005112809/11, 27.04.2005
(24) Дата начала отсчета срока действия патента:
27.04.2005
(43) Дата публикации заявки: 10.11.2006
(46) Опубликовано: 20.04.2007
(56) Список документов, цитированных в отчете о поиске:
RU 2149777 C1, 27.05.2000. SU 1562177 A1, 05.07.1990. US 5676507 A, 14.10.1992. CA 2342593 A, 04.10.2001.
Адрес для переписки:
357112, Ставропольский край, г. Невинномысск, ул. Менделеева, 42а, ЗАО “АВТО”, ген. директору
|
(72) Автор(ы):
Тотфалушин Александр Васильевич (RU), Михеев Василий Иванович (RU), Черентаев Сергей Владимирович (RU)
(73) Патентообладатель(и):
Закрытое акционерное общество “АВТО” (RU)
|
(54) ТРАНСПОРТНОЕ СРЕДСТВО ДЛЯ ПЕРЕВОЗКИ ЛЕГКОВЫХ АВТОМОБИЛЕЙ
(57) Реферат:
Изобретение относится к транспортным средствам для перевозки легковых автомобилей. Транспортное средство для перевозки легковых автомобилей содержит раму 1 с ходовой частью 7, имеющую нижний ярус 2 и верхний ярус 4, снабженный подвижной платформой 8. Надседельная часть нижнего яруса 2 снабжена направляющими дорожками с углублениями в передней части, уклоном и – в задней части – с откидными дорожками 9. В задней части нижнего яруса 2 установлены въездной трап 10 с выдвижной секцией 12, ограничительными кронштейнами для погрузочного положения и откидными регулируемыми упорами 14 для фиксации транспортного положения. В средней части нижнего яруса 2, которая выполнена с увеличением размера между ярусами 2, 4, установлены первая грузовая платформа 16 с возможностью подъема передней части до откидных дорожек 9 надседельной части и опускания ниже транспортного положения и два механизма подъема 18, каждый их которых выполнен в виде контурной опоры колеса с системой рычагов, исключающей опрокидывание. Настил 3 с направляющими дорожками 6 за второй грузовой платформой 21 выполнен с углублением. Изобретение повышает безопасность и надежность закрепления. 3 ил.
Область техники, к которой относится изобретение
Изобретение относится к специализированным транспортным средствам, в частности к транспортным средствам для перевозки легковых автомобилей.
Уровень техники
Известно транспортное средство для перевозки шасси легковых автомобилей, содержащее несущую раму и опору под передний колесный мост перевозимого шасси, при этом на наружных боковых поверхностях рамы ниже ее опорной поверхности закреплены опоры с углублениями для задних колес перевозимых шасси, при этом первая опора установлена в передней части рамы под углом к ней консольно и направлена в сторону движения (см. а.с. СССР №998164, кл. В60Р 3/07).
Недостатком данного транспортного средства является недостаточная подвижность закрепления перевозимых шасси.
Известно устройство для крепления на транспортном средстве шасси легковых автомобилей, установленных с возможностью опирания передних колес каждого последующего автомобиля на шасси предыдущего, содержащего переднюю опору, а также опоры для задних колес перевозимых автомобилей, представляющие собой опорные площадки с трехсторонними упорами, причем на платформе закреплены продольные направляющие, к которым прикреплены все опоры, при этом передняя опора представляет собой размещенные на направляющих вдоль продольной оси транспортного средства фермы, соединенные поперечными балками, и размещенные на последних другие опорные площадки с трехсторонними упорами для передних колес первого автомобиля (см. а.с. СССР №1127785, кл. В60Р 3/07).
Недостатком данного устройства является сложность конструкции, недостаточная подвижность закрепления перевозимых шасси.
Наиболее близким по технической сущности и достигаемому положительному эффекту и принятый авторами за прототип является транспортное средство для перевозки легковых автомобилей, содержащее нижний и верхний ярусы, выполненные в виде рамы с поперечными балками и установленные на ходовую и опорную части, причем нижний ярус снабжен настилом с направляющими дорожками, расположенными параллельно основанию нижнего яруса рамы, а верхний ярус – подвижной платформой с направляющими дорожками, систему гидрооборудования, устройство для запасных колес, въездной трап, при этом оно снабжено дополнительными трапами, установленными в надседельной части нижнего яруса и состоящими из двух одинаковых частей, каждая из которых выполнена из направляющей дорожки, среднего и откидного трапов, шарнирно соединенных между собой, причем направляющие дорожки жестко закреплены на нижнем ярусе рамы, а часть настила с направляющими дорожками нижнего яруса перед откидным трапом выполнена с углублением для увеличения размера между ярусами, при этом устройство для запасных колес установлено в правой боковой части между нижнем и верхним ярусами, въездной трап выполнен в виде двух шарнирно соединенных секций с неподвижными дорожками, соединенными между собой поперечинами, причем первая секция трапа установлена с возможностью продолжения нижнего яруса, при этом в средней части первой секции установлен гидроцилиндр, шток которого шарнирно соединен с поперечным валом, снабженным захватами для фиксации первой секции трапа относительно нижнего яруса рамы, фиксирующее устройство второй секции трапа установлено на задней поперечной балке верхнего яруса и содержит гидроцилиндр, шток которого соединен тягой, снабженной крюками, соединяемыми с петлями, которые закреплены на крайней поперечине второй секции трапа, при этом с боковых сторон трапа установлены кинематические тяги, шарнирно соединенные через систему рычагов со штоками гидроцилиндров подъема-опускания трапа, причем угол наклона первой секции трапа устанавливается подвижным упором, расположенным на секции и взаимодействующим с балкой нижнего яруса, а угол наклона второй секции трапа ограничен ходом ползуна между упорами на кинематической тяге (см. пат. РФ №2149777, кл. В60Р 3/08, опубл. 27.05.2000 г.).
Недостатком данного транспортного средства является недостаточная вместимость транспортного средства, сложность погрузки и выгрузки автомобилей.
Раскрытие изобретения
Технический результат, который может быть достигнут с помощью предлагаемого изобретения сводится к упрощению погрузки и выгрузки автомобилей, исключая дополнительные механизмы, повышению безопасности эксплуатации и надежности закрепления перевозимых автомобилей.
Технический результат достигается с помощью транспортного средства для перевозки легковых автомобилей, содержащего установленную на ходовую часть раму, имеющую нижний с настилом и верхний ярусы с поперечными балками и направляющими дорожками, причем верхний ярус снабжен подвижной платформой, а надседельная часть нижнего яруса снабжена откидными дорожками, систему гидрооборудования, въездной трап, выполненный с возможностью продолжения нижнего яруса, при этом оно снабжено двумя грузовыми платформами, двумя механизмами подъема, установленными в средней части нижнего яруса, выполненной с увеличением размера между ярусами, а надседельная часть снабжена направляющими дорожками с углублением в передней и уклоном в задней части, при этом передняя часть верхнего яруса выполнена в виде зигзагообразной поверхности с направляющими дорожками, причем на поперечной балке с возможностью подъема передней до откидных дорожек надседельной части и опускания шарнирно закреплена задняя сторона первой грузовой платформы, на передней стороне которой шарнирно закреплены захваты транспортного положения, а снизу закреплен откидной упор погрузочного положения, установленный в гнездо на поперечной балке, причем каждый механизм подъема состоит из двух одинаковых частей и выполнен в виде контурной опоры колеса, снабженной системой рычагов, один из которых регулируемый, с возможностью параллельного перемещения и исключения опрокидывания с фиксацией откидными регулируемыми упорами, а передняя сторона второй грузовой платформы шарнирно закреплена на поперечной балке с возможностью подъема задней и с фиксацией откидными регулируемыми упорами, при этом за второй платформой настил с направляющими дорожками выполнен с углублением, а въездной трап снабжен выдвижной секцией, ограничительными кронштейнами погрузочного положения, откидными регулируемыми упорами транспортного положения и погрузочными дорожками.
Краткое описание чертежей
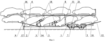
На фиг.1 дан общий вид транспортного средства для перевозки легковых автомобилей;
На фиг.2 – то же, вид сзади;
На фиг.3 – то же, механизм подъема.
Осуществление изобретения
Транспортное средство для перевозки легковых автомобилей содержит раму 1, имеющую нижний ярус 2 с настилом 3 и верхний ярус 4 с поперечными балками 5 и направляющими дорожками 6, установленную на ходовую часть 7, причем верхний ярус 4 снабжен подвижной платформой 8, а передняя часть выполнена в виде зигзагообразной поверхности с направляющими дорожками 6.
Надседельная часть нижнего яруса 2 снабжена направляющими дорожками 6 с углублениями (не показано) в передней части, уклоном (не показано) и откидными дорожками 9 в задней части.
В задней части яруса 2 с возможностью его продолжения установлен въездной трап 10, подъем и опускание которого осуществляется с помощью системы гидрооборудования 11, причем въездной трап 10 оборудован выдвижной секцией 12, ограничительными кронштейнами для погрузочного положения 13, откидными регулируемыми упорами 14 для фиксации транспортного положения и на въездном трапе 10 закреплены погрузочные дорожки 15; в средней части нижнего яруса 2, которая выполнена с увеличением размера между ярусами 2, 4, на поперечной балке 5 с возможностью подъема передней до откидных дорожек 9 надседельной части и опускания, шарнирно закреплена задняя сторона первой грузовой платформы 16, на передней стороне которой шарнирно закреплены захваты (не показано) транспортного положения, а снизу закреплен откидной упор 17 погрузочного положения, установленный в гнездо (не показано) на поперечной балке 5, два механизма подъема 18, причем каждый состоит из двух одинаковых частей и выполнен в виде контурной опоры колеса 19, снабженной системой рычагов 20, один из которых регулируемый, с возможностью параллельного перемещения и исключения опрокидывания, подъем и опускание которых осуществляется с помощью системы гидрооборудования 11 и с фиксацией в транспортном положении откидными регулируемыми упорами 14, а передняя сторона второй грузовой платформы 21 шарнирно закреплена на поперечной балке 5 с возможностью подъема задней с помощью системы гидрооборудования 11 и с фиксацией откидными регулируемыми упорами 14, при этом за второй грузовой платформой 21 настил 3 с направляющими дорожками 6 выполнен с углублением (не показан).
Транспортное средство для перевозки легковых автомобилей эксплуатируется следующим образом.
Транспортное средство, установленное на ходовую часть 7, загружается следующим образом. С помощью системы гидрооборудования 11, въездной трап 10, освобожденный от откидных регулируемых упоров 14, погрузочных дорожек 15 с выдвижной секцией 12 опускается до упора ограничительных кронштейнов 13 в нижнем ярусе 2 и опускается подвижная платформа 8, при этом первый автомобиль заезжает задним ходом по трапу 10 с выдвижной секцией 12, подвижной платформе 8 на зигзагообразную поверхность верхнего яруса 4, затем второй, третий и четвертый автомобили заезжают обычным ходом и производится подъем подвижной платформы 8. Перед погрузкой нижнего яруса 2 необходимо вторую погрузочную платформу 21 опустить и погрузочными дорожками 15 закрыть углубление настила 3 с направляющими дорожками 6 за второй грузовой платформой 21, затем поднять первую грузовую платформу 16 до откидных дорожек 9 надседельной части нижнего яруса 2, при этом откидной упор 17, установленный снизу платформы 16, должен попасть в гнездо на поперечной балке 5. Пятый автомобиль заезжает своим ходом по въездному трапу 10 с выдвижной секцией 12, по погрузочным дорожкам 15, по второй грузовой платформе 21, по настилу 3 с направляющими дорожками 6, по контурным опорам колес 19 механизмов подъема 18, по первой грузовой платформе 16, откидным дорожкам 9 на надседельную часть нижнего яруса 2 таким образом, чтобы передние колеса автомобиля попали в углубления, а задние стали на уклоне, затем откидные дорожки 9 поднимаются вверх, откидной упор 17 убирается и первая грузовая платформа 16 опускается в транспортное положение и фиксируется захватами. Шестой автомобиль заезжает задним ходом таким образом, чтобы передние колеса автомобиля попали в контурные опоры колес 19 механизмов подъема 18 и через систему рычагов 20 производится подъем передней части автомобиля до верхнего яруса 4. Механизмы подъема 18 фиксируются откидными регулируемыми упорами 14. Седьмой автомобиль заезжает таким образом, чтобы задние колеса попали в контурные опоры колес 19 второго механизма подъема 18, причем передняя часть автомобиля заезжает под приподнятый шестой автомобиль, производится подъем автомобиля аналогично предыдущему. Восьмой автомобиль заезжает таким образом, чтобы передняя часть была под приподнятой задней частью седьмого автомобиля, а задние колеса на второй погрузочной платформе 21, которая затем поднимается и фиксируется откидными регулируемыми упорами 14. Погрузочные дорожки 15 закрепляются на въездном трапе 10. Девятый автомобиль заезжает таким образом, чтобы его передние колеса попали в углубление настила 3, а задние остались на въездном трапе 10. Трап 10 поднимается, выдвижная секция 12 убирается и трап 10 фиксируется откидными регулируемыми упорами 14. Разгрузка в обратном порядке.
Предлагаемое изобретение по сравнению с прототипом и другими известными техническими решениями имеет следующее преимущества:
– упрощение погрузки и выгрузки автомобилей, исключая дополнительные механизмы;
– повышение безопасности эксплуатации;
– повышение надежности закрепления перевозимых автомобилей;
– исключение ручного труда при фиксации въездного трапа в транспортном положении, неподвижной и грузовых платформ.
Формула изобретения
Транспортное средство для перевозки легковых автомобилей, содержащее установленную на ходовую часть раму, имеющую нижний с настилом и верхний ярусы с поперечными балками и направляющими дорожками, причем верхний ярус снабжен подвижной платформой, а надседельная часть нижнего яруса снабжена откидными дорожками, систему гидрооборудования, въездной трап, выполненный с возможностью продолжения нижнего яруса, отличающееся тем, что оно снабжено двумя грузовыми платформами, двумя механизмами подъема, установленными в средней части нижнего яруса, выполненной с увеличением размера между ярусами, а надседельная часть снабжена направляющими дорожками с углублением в передней и уклоном в задней частях, при этом передняя часть верхнего яруса выполнена в виде зигзагообразной поверхности с направляющими дорожками, причем на поперечной балке с возможностью подъема передней до откидных дорожек надседельной части и опускания шарнирно закреплена задняя сторона первой грузовой платформы, на передней стороне которой щарнирно закреплены захваты транспортного положения, а снизу закреплен откидной упор погрузочного положения, установленный в гнездо на поперечной балке, причем каждый механизм подъема состоит из двух одинаковых частей и выполнен в виде контурной опоры колеса, снабженной системой рычагов, один их которых регулируемый, с возможностью параллельного перемещения и исключения опрокидывания с фиксацией откидными регулируемыми упорами, а передняя сторона второй грузовой платформы шарнирно закреплена на поперечной балке с возможностью подъема задней и с фиксацией откидными регулируемыми упорами, при этом за второй платформой настил с направляющими дорожками выполнен с углублением, а въездной трап снабжен выдвижной секцией, ограничительными кронштейнами погрузочного положения, откидными регулируемыми упорами транспортного положения и погрузочными дорожками.
РИСУНКИ
|
|