|
|
(21), (22) Заявка: 2005105193/02, 25.02.2005
(24) Дата начала отсчета срока действия патента:
25.02.2005
(43) Дата публикации заявки: 10.08.2006
(46) Опубликовано: 20.04.2007
(56) Список документов, цитированных в отчете о поиске:
ЕР 0458764 А1, 27.11.1991. SU 246323 A1, 14.11.1969. SU 556056 А1, 10.05.1977. SU 1479326 A1, 15.05.1989. WO 02/074527 А1, 14.03.2002.
Адрес для переписки:
109428, Москва, Рязанский пр-кт, 8а, АХК “ВНИИМЕТМАШ”, ЗАО “Прочность”, пат.пов.Е.Н.Чудной, рег.№ 250
|
(72) Автор(ы):
Мухин Олег Сергеевич (RU), Корнилов Владимир Владимирович (RU)
(73) Патентообладатель(и):
Закрытое акционерное общество “Прочность” (RU)
|
(54) УСТРОЙСТВО ЗАГРУЗКИ ПОРОШКОВОГО МАТЕРИАЛА В МАТРИЦУ ПРЕСС-ФОРМЫ
(57) Реферат:
Изобретение относится к области машиностроения, в частности к формообразующему оборудованию, и может быть использовано в многопозиционных прессах при прессовании керамических и металлических порошковых материалов. Устройство содержит загрузочную кассету, оснащенную средством выгрузки изделий с позиции прессования. Оно снабжено плитой, выполненной с возможностью горизонтального возвратно-поступательного перемещения внутри станины пресса. Плита образует в положении загрузки порошкового материала общую загрузочную плоскость с загрузочным столиком пресс-формы для перемещения по ней загрузочной кассеты. В положении выгрузки изделия с позиции прессования плита может образовывать зазор между загрузочным столиком и плитой. Зазор превышает габариты изделия. Средство выгрузки изделий с позиции прессования выполнено в виде рамки, установленной на наружной стенке загрузочной кассеты, размеры которой превышают габариты изделия. Плита выполнена самоустанавливающейся и фиксирующейся в положении загрузки порошкового материала. В результате обеспечивается создание компактного устройства, оснащенного средством удаления готовых изделий из зоны прессования. 1 з.п. ф-лы, 2 ил.
Изобретение относится к области машиностроения, в частности к формообразующему оборудованию, и может быть использовано в многопозиционных прессах при прессовании керамических и металлических порошковых материалов.
Известен пресс для получения брикетов из гранулированного материала, содержащий станину, матрицу, верхний и нижний пуансоны и устройство загрузки материала, снабженное отдельным приводом и выполненное в виде контейнера, оснащенного бампером для удаления готового изделия из зоны прессования (GB 1382786, МПК В30В 11/00, 05.02.1975). В данном прессе готовое изделие из зоны прессования выталкивается на конвейер бампером, установленным на торце контейнера, при его перемещении в позицию загрузки материала в матрицу. Такая схема удаления изделий из зоны прессования не применима в многопозиционных прессах, так как устройство загрузки является достаточно сложным и занимает значительную площадь, кроме того, оно требует подвода отдельных конвейеров к каждой позиции прессования, которые занимают зону обслуживания пресса и мешают работе оператора.
Известно также устройство удаления готовых изделий из пресса, содержащее рычажный механизм (DE 3541756, МПК В30В 15/32, 26.11.85). Конструкция рычажного механизма является многозвенной, так как для удаления изделия рычаг, сбрасывающий изделие, должен выполнить сложное движение. Недостатком этого устройства является наличие многозвенного механизма, усложняющего конструкцию, подобное устройство не применимо в многопозиционных прессах.
Ближайшим аналогом настоящего изобретения является устройство загрузки порошкового материала, оснащенное средством удаления готовых изделий из зоны прессования наружу пресса, выполненное в виде циклично перемещающейся кассеты, размещенное в прессе для изготовления изделий из порошковых материалов, содержащем станину, ползуны и пресс-форму (см. паспорт пресса модели PCH-20SU японской фирмы YOSHIZUKA INDASTRIES CO., LTD ). Недостатком данной конструкции является то, что удаление изделий из пресс-формы (из зоны прессования) осуществляется движением загрузочной кассеты в сторону оператора, что затрудняет обслуживание пресса. Такое конструктивное решение не применимо в многопозиционных прессах, так как в этом случае требуется размещение в зоне обслуживания пресса дополнительных транспортирующих устройств (по числу позиций прессования: лотки, транспортеры). Кроме того, при смене пресс-форм это оборудование необходимо удалять из зоны обслуживания, что повышает трудоемкость этого процесса.
Технической задачей настоящего изобретения является создание компактного устройства загрузки порошкового материала, оснащенного средством удаления готовых изделий из зоны прессования, обеспечивающим удаление изделий из зоны прессования к центру пресса, которое может быть использовано в многопозиционных прессах.
Поставленная задача решается в устройстве загрузки порошкового материала в матрицу пресс-формы, установленной в многопозиционном прессе, содержащем загрузочную кассету, оснащенную средством выгрузки изделий с позиции прессования, которое согласно изобретению снабжено плитой, выполненной с возможностью горизонтального возвратно-поступательного перемещения внутри станины пресса и образования в положении загрузки порошкового материала общей загрузочной плоскости с загрузочным столиком пресс-формы для перемещения по ней загрузочной кассеты, а в положении выгрузки изделия – с возможностью образования зазора между загрузочным столиком и плитой, превышающего габариты изделия, при этом средство выгрузки изделий с позиции прессования выполнено в виде рамки, установленной на наружной стенке загрузочной кассеты, размеры которой превышают габариты изделия.
Плита выполнена самоустанавливающейся и фиксирующейся в положении загрузки порошкового материала.
Конструкция указанного устройства позволяет удалять изделия из зоны прессования к центру пресса и уже оттуда отводить их к накопителю посредством одного транспортера, она не содержит движущихся частей в зоне обслуживания, что позволяет использовать устройство в многопозиционных прессах.
Сущность изобретения поясняется на конкретном примере его реализации со ссылкой на чертежи, на которых схематически показано следующее.
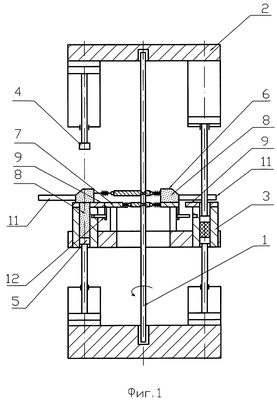
Фиг.1 – пресс, в котором установлены устройства загрузки порошкового материала, выполненные согласно настоящему изобретению, причем слева загрузочная кассета находится в позиции загрузки порошкового материала, а справа – в позиции прессования, общий вид, разрез.
Фиг.2 – то же, в процессе выгрузки изделия с позиции прессования, разрез.
Пресс содержит центральный вал 1, вокруг которого на станине 2 установлены пресс-формы 3 с матрицами, количество которых соответствует числу позиций прессования, и верхним и нижним пуансонами 4, 5. Между каждой пресс-формой 3 и центральным валом 1 размещено соответствующее данной пресс-форме 3 устройство загрузки порошкового материала, содержащее загрузочную кассету 6 и средство выгрузки изделий с позиции прессования. Устройства снабжены плитами 7, размещенными внутри пресса (станины 2) с возможностью горизонтального возвратно-поступательного перемещения в радиальном направлении относительно центрального вала 1 и образования каждой из плит 7 в положении загрузки порошкового материала 8 общей загрузочной плоскости с загрузочным столиком 9 соответствующей пресс-формы 3 для перемещения по ней загрузочной кассеты 6. В положении выгрузки изделия 10 между плитой 7 и загрузочным столиком 9 образуется зазор, габариты которого превышают габариты изделия 10. Каждое средство выгрузки изделий с позиции прессования выполнено в виде рамки 11, установленной на наружной стенке загрузочной кассеты 6, размеры которой превышают габариты изделия 10. Каждая плита 7 выполнена самоустанавливающейся и фиксирующейся в положении загрузки посредством фиксаторов 12, выполненных в виде цилиндрических штифтов с конической заходной частью и установленных на плите 7, при этом пресс-формы 3 снабжены ответными отверстиями. Пресс содержит склизы 13, устройство 14 удаления изделий 10 из пресса, лоток 15 и транспортер, примыкающий к лотку (не показан).
Устройство работает следующим образом.
Когда пресс-форма 3 находится в исходном положении, подвижная плита 7 перемещается синхронно с загрузочной кассетой 6 к загрузочному столику 9 пресс-формы 3. При контакте торцов плиты 7 и загрузочного столика 9 штифты фиксаторов 12 входят в соответствующие отверстия и положение плиты 7 фиксируется, при этом поверхности плиты 7 и загрузочного столика 9 образуют единую плоскость загрузки порошкового материала 8. Загрузочная кассета 6 перемещается по образованной загрузочной плоскости на позицию загрузки порошкового материала 8 в матрицу пресс-формы 3, заполняет матрицу порошковым материалом 8 и отходит в радиальном направлении относительно центрального вала 1 пресса на позицию прессования. В позиции прессования загрузочная кассета 6 находится на плите 7, а рамка 11 размещена таким образом, что ее контур охватывает матрицу пресс-формы 3. Процесс прессования осуществляется путем двустороннего формования изделия 10 верхним и нижним пуансонами 4, 5 при этом пуансон 4 перемещается внутри рамки 11. После завершения прессования верхний пуансон 4 возвращается в исходное положение, а нижний пуансон 5 выталкивает готовое изделие 10 из матрицы пресс-формы 3. Плита 7 вместе с загрузочной кассетой 6 отходит от загрузочного столика 9 в радиальном направлении относительно центрального вала 1, при этом рамка 11 захватывает изделие 10 и сбрасывает его внутрь пресса (станины), в зазор между плитой 7 и загрузочным столиком 9, на склиз 13. Затем изделие 10 посредством устройства 14 удаления переводится на лоток 15 и далее на транспортер, удаляющий готовые изделия 10 из зоны обслуживания пресса.
Устройство загрузки порошкового материала, выполненное согласно настоящему изобретению, имеет простую компактную конструкцию, которая позволяет упростить конструкцию пресса и удалить из зоны его обслуживания все движущиеся части, что особенно важно в многопозиционных прессах.
Формула изобретения
1. Устройство загрузки порошкового материала в матрицу установленной в многопозиционном прессе пресс-формы и удаления готовых изделий, содержащее загрузочную кассету, оснащенную средством выгрузки изделий с позиции прессования, отличающееся тем, что оно снабжено плитой, выполненной с возможностью горизонтального возвратно-поступательного перемещения внутри станины пресса и в положении загрузки порошкового материала образования общей загрузочной плоскости с загрузочным столиком пресс-формы для перемещения по ней загрузочной кассеты, а в положении выгрузки изделия с позиции прессования – с образованием зазора с загрузочным столиком, размеры которого превышают габариты изделия, при этом средство выгрузки изделий с позиции прессования выполнено в виде рамки, установленной на наружной стенке загрузочной кассеты, размеры которой превышают габариты изделия.
2. Устройство по п.1, отличающееся тем, что плита выполнена самоустанавливающейся и с возможностью фиксирования в положении загрузки порошкового материала.
РИСУНКИ
|
|