|
|
(21), (22) Заявка: 2004134318/03, 24.11.2004
(24) Дата начала отсчета срока действия патента:
24.11.2004
(43) Дата публикации заявки: 10.05.2006
(46) Опубликовано: 20.04.2007
(56) Список документов, цитированных в отчете о поиске:
SU 1778007 A1, 30.11.1992. SU 1720711 A1, 23.03.1992. WO 98/28079 A1, 02.07.1998. DE 19838023 A1, 10.02.2000. RU 2082503 C1, 27.06.1997. SU 1292831 A1, 28.02.1987. RU 2086302 C1, 10.08.1997.
Адрес для переписки:
644100, г.Омск, ул. Белозерова, 3, кв.97, И.Ф. Шлегелю
|
(72) Автор(ы):
Шлегель Игорь Феликсович (RU)
(73) Патентообладатель(и):
Шлегель Игорь Феликсович (RU)
|
(54) УСТРОЙСТВО ДЛЯ ИЗМЕЛЬЧЕНИЯ И ПЕРЕМЕШИВАНИЯ ПЛАСТИЧНЫХ МАТЕРИАЛОВ, ПРЕИМУЩЕСТВЕННО ГЛИНЫ
(57) Реферат:
Изобретение относится к производству строительных материалов, а именно к производству глиняного кирпича. Изобретение позволит повысить эффективность измельчения глины. Устройство содержит корпус с загрузочным бункером, шнек и установленные в корпусе с чередованием относительно друг друга поперечные решетки и вращающиеся ножи с режущими элементами в форме лепестков. Ножи и поперечные решетки установлены вплотную друг к другую. Режущие элементы ножей выполнены с поверхностями, размещенными с наклоном по отношению к плоскости поперечной решетки, следующей за ножом. Торцевые кромки режущих элементов выполнены примыкающими к плоскостям поперечных решеток, между которыми установлен нож. Торцевые кромки поверхностей выполнены примыкающими к упомянутым плоскостям и со скосом, направленным в противоположную сторону направлению вращения ножей. 13 з.п. ф-лы. 7 ил.
Изобретение относится к производству строительных материалов, в частности глиняного кирпича, и может быть использовано для измельчения и перемешивания исходного сырья, например различных глин и добавок, в технологических линиях подготовки керамической массы.
Уровень техники
Известен смеситель (см. SU 1622136, опубл. 23.01.91), предназначенный для приготовления силикатных смесей, содержащий основной корпус с загрузочным устройством и последовательно соединенные с основным корпусом и между собой дополнительные корпуса. В основном корпусе и в дополнительных корпусах смесителя смонтированы шнеки, на выходе каждого корпуса установлены решетка и после нее нож, при этом каждый дополнительный корпус может быть снабжен своим загрузочным устройством.
Повышение качества приготовления смеси в известном устройстве достигнуто последовательным и постепенным добавлением компонентов смеси, т.е. в первом дополнительном корпусе через его загрузочное устройство осуществляется добавление одного компонента, в следующем другого и т.д., при этом полуготовая масса на выходе каждого корпуса шнеком продавливается через решетки и срезается ножами. Однако такой конструктивный подход может быть оправдан для многокомпонентных смесей, подготовка которых сопровождается различными технологическими параметрами при введении в смесь того или иного компонента. В иных случаях такое конструктивное решение является нецелесообразным, поскольку существенно увеличивает габариты устройства и его энергоемкость.
В качестве прототипа заявляемого устройства принято устройство для измельчения пластичного материала (см. SU 1778007, опубл. 30.11.92), характеризующееся наибольшим количеством конструктивных признаков, совпадающих с существенными признаками заявляемого решения. Прототип содержит корпус с установленным в нем шнеком. Корпус соединен с накопителем, в котором расположены неподвижные фильтрующие решетки в виде перфорированных дисков с круглыми отверстиями и вращающиеся трехлепестковые ножи, каждая режущая кромка которых выполнена по дуге окружности.
Основным недостатком устройства является невысокая эффективность измельчения и смешивания обрабатываемого материала.
Раскрытие изобретения
Заявляемым изобретением решается задача повышения эффективности измельчения пластичных материалов, в частности глины, с одновременным выполнением заявляемым устройством функции смесителя.
Поставленная задача решена тем, что в устройстве для измельчения и перемешивания пластичных материалов, преимущественно глины, содержащем корпус с загрузочным бункером, шнек и установленные в корпусе с чередованием относительно друг друга неподвижные поперечные решетки и вращающиеся ножи с режущими элементами в форме лепестков, согласно заявляемому изобретению ножи и поперечные решетки установлены вплотную друг к другу, режущие элементы ножей выполнены с поверхностями, развернутыми под углом по отношению к плоскостям поперечных решеток, между которыми установлен несущий их нож, и одновременно с наклоном по отношению к плоскости поперечной решетки, следующей по ходу движения материала за ножом, при этом торцевые кромки режущих элементов выполнены примыкающими к упомянутым плоскостям поперечных решеток.
Отличительной особенностью заявляемого технического решения является выполнение формы ножей и их установка по отношению к поперечным решеткам, а именно каждый нож установлен между двух поперечных решеток вплотную к ним, при этом одна торцевая кромка каждого режущего элемента этого ножа примыкает к диаметральной плоскости одной решетки, а вторая – к диаметральной плоскости другой решетки. Зазор между ними минимальный и подобран исходя из условия свободного движения вращающихся ножей относительно неподвижных решеток. Режущие элементы ножей выполнены с формой, приближенной к форме пластины, с торцевыми вышеупомянутыми кромками и с плоскими поверхностями, которые развернуты под углом к продольной оси устройства, т.е. также под углом к плоскостям поперечных решеток, причем с наклоном по отношению к плоскости решетки, последующей по ходу движения обрабатываемого материала, т.е. угол между характеризуемой поверхностью режущего элемента и плоскостью решетки, следующей за ножом, является острым, а по отношению к плоскости предыдущей решетки, напротив, тупым. Таким образом, вышеуказанный разворот и наклон поверхностей режущих элементов обусловливает то, что материал на выходе из отверстий решетки не испытывает какого-либо сопротивления со стороны ножей, и более того эта наклонная (пластинчатая) поверхность режущих элементов способствует перемещению материала в зону острого угла между ней и диаметральной плоскостью последующей решетки. Поскольку диаметры решеток и диаметры ножей соразмерны внутреннему диаметру корпуса, продавленный через отверстия решетки материал попадает в замкнутый объем, и, оказываясь в зоне острого угла между наклонной поверхностью режущего элемента и плоскостью решетки, не просто продавливается в отверстия решетки, а подвергается при этом растирающему воздействию со стороны этой поверхности режущих элементов, что значительно повышает эффективность измельчения.
Вместе с тем, такое исполнение и установка режущих элементов предопределяют то, что торцевая кромка режущего элемента, движущаяся по плоскости предыдущей поперечной решетки, совместно с наклонной поверхностью образует направленное по ходу движения остроугольное лезвие, срезающее продавленный через предыдущую решетку материал, а противолежащая торцевая кромка с этой же наклонной поверхностью в направлении движения формирует тупой угол, обеспечивающий продавливание материала через отверстия последующей решетки. Наряду с повышением эффективности измельчения, такое исполнение режущих элементов значительно увеличивает их срок эксплуатации, поскольку нож при затуплении остроугольных лезвий режущих элементов может быть перевернут, и вышеописанные его части поменяются местами, т.е. торец, который осуществлял продавливание, своим острым углом будет срезать материал, а противоположный, с затупленным лезвием торец, своей обратной стороной – напротив, продавливать материал. При этом наблюдается самозаточка лезвия, т.е. возможна повторная перестановка ножа.
Если в последовательности поперечных решеток и ножей первым, по ходу движения материала, установить нож, при этом на последующей, примыкающей к его режущим элементам плоскости поперечной решетки выполнить тангенциально направленные канавки, а корпус снабдить патрубком, то заявляемое устройство приобретает новую функцию: нож будет работать как камневыделитель, обеспечивая удаление из массы измельчаемого материала всех твердых крупных включений, а канавки при этом являются направляющими для этих включений при их движении к периферии корпуса. С целью беспрепятственного вывода этих включений и их перемещения к периферии канала, а затем в патрубок, канавки необходимо выполнить тангенциально направленными. Это обеспечит то, что на любое включение со стороны наклонной поверхности ножа будет действовать сила, направленная по касательной к траектории движения ножа, т.е. однонаправлено с движением любой его точки. Вышеописанные канавки являются одновременно отверстиями поперечной решетки, поэтому канавки выполнены сквозными, однако с целью обеспечения со стороны канавки направляющего воздействия на камни и другие крупные включения (т.е. канавки являются, по сути, направляющими для перемещения камней к периферийной зоне, и соответственно к патрубку) они выполнены с переменным по ширине решетки поперечным сечением, расширенным в направлении входной ее плоскости. Это расширение может быть в виде треугольного, округлого или любого другого профиля, переходящего в паз меньшего размера. При этом является предпочтительным выполнить канавки сквозными только на части их длины.
В частном случае реализации заявляемого изобретения ножи могут быть выполнены четырехлепестковыми, при этом они установлены со смещением режущих элементов по отношению к режущим элементам соседних ножей. Такое смещение способствует перемешиванию, поскольку разрывает потоки материала и часть одного потока направляет в массу другого.
Эффективность измельчения при одновременном смешивании измельчаемого материала имеет наилучшие показатели (установлено опытным путем), при исполнении устройства с ориентацией наклонной поверхности режущих элементов по отношению к плоскости поперечной решетки, последующей по ходу движения материала, под углом в пределах от 20° до 40°. При угле менее 20° эффективность измельчения ухудшается за счет того, что пластичный материал не попадает под ту часть пластинчатой поверхности режущих элементов, которая в наибольшей степени оказывает растирающее воздействие, а при угле более 40° наклонные поверхности режущих элементов хуже проталкивают материал по ходу его движения.
При установке первого по ходу движения ножа с целью выполнения им функции камневыделения, целесообразно этот нож выполнить с ориентацией наклонной поверхности его режущих элементов по отношению к плоскости поперечной решетки, последующей по ходу движения материала, под углом в пределах от 60° до 90°. Ориентированная таким образом наклонная поверхность наиболее эффективно сдвигает крупные включения к периферийной зоне, откуда их можно удалить с помощью патрубка.
Целесообразно выполнить устройство со средством осевого поджатия всей совокупности ножей и решеток. При этом одним из вариантов конструктивного исполнения этого средства является распорная втулка, смонтированная между стоящей на выходе устройство решеткой и накидной гайкой, установленной с возможностью регулировочного перемещения на выходном торце корпуса.
При конкретном исполнении устройства, с целью повышения технологичности его сборки, а также с целью обеспечения осевого сдвига всей последовательности поперечных решеток и ножей при регулировке, необходимой для поджатия этих элементов друг к другу, поперечные решетки выполнены с проточкой на внешней цилиндрической поверхности по ее образующей и закреплены в корпусе посредством фиксирующего стержня, пропущенного через упомянутые проточки и аналогичную проточку, выполненную на внутренней поверхности корпуса. Вместе с тем фиксацию поперечных решеток относительно корпуса можно осуществить с помощью оппозитно размещенных (т.е. по диаметру решетки один против другого) радиальными выступами на цилиндрической поверхности решеток, которые будут заходить в продольные проточки, выполненные на внутренней поверхности корпуса оппозитно друг другу и по образующей корпуса. С целью повышения эксплуатационных характеристик устройства целесообразно корпус выполнить разъемным по вышеуказанным продольным проточкам, при этом также разъемными (составными из нескольких частей или из двух половинок) могут быть выполнены ножи. Торцевые кромки ножей, которые имеют определенную ширину, можно частично «срезать» под скос, который на торцевой кромке, которая срезает материал с плоскости предыдущей решетки, будет направлен в сторону, противоположную направлению вращения ножей, при этом по отношению к плоскости последующей решетки этот скос, который, напротив, «раскрытием» направлен в сторону движения, усилит эффект растирания массы и ее продавливания через решетку. Оптимальной величиной такого скоса является угол 20-30 градусов, который подобран опытным путем.
Перечень чертежей
Заявляемое изобретение поясняется прилагаемыми чертежами, на которых:
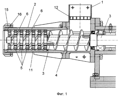
на фиг.1 показано заявляемое устройство для измельчения и перемешивания пластичных материалов, продольный разрез;
на фиг.2 – нож устройства (2 проекции);
на фиг.3 – продольный разрез устройства при установке перед первой поперечной решеткой ножа, обеспечивающего камневыделение;
на фиг.4 – сечение А-А на фиг.3;
на фиг.5 – поперечная решетка, устанавливаемая перед ножом, обеспечивающим камневыделение;
на фиг.6 – сечение В-В на фиг.5;
на фиг.7 – возможные варианты исполнения формы канавок (поперечное сечение С-С на фиг.6).
Осуществление изобретения
Устройство для измельчения и перемешивания глины, представленное на чертежах, содержит загрузочный бункер 1 и соединенный с ним корпус 2, по продольной оси которого пропущен вал 3, проходящий также через нижнюю зону бункера 1 и связанный с приводом его вращения (на чертежах не показан). Вал 3 в части, расположенной в зоне бункера и в начальной по ходу движения материала зоне корпуса, выполнен со шнековой лопастью 4. В корпусе 2 установлены с чередованием относительно друг друга неподвижные поперечные решетки 5 и вращающиеся ножи 6, жестко посаженные на вал 3, например, посредством шпоночного соединения. Ножи 6 (см. фиг.2) выполнены с лепестковыми режущими элементами 7, представляющими собой четыре пластины, развернутые на цилиндрическом основании 8 ножа 6 под углом пластинчатой поверхности 9 к продольной оси этого цилиндрического основания 8 и, соответственно, под углом к продольной оси устройства и одновременно с наклоном к плоскостям поперечных решеток 5, причем упомянутый наклон поверхности 9 режущего элемента образует с плоскостью поперечной решетки, следующей за ножом, острый угол , а с плоскостью поперечной решетки, стоящей перед ножом, – тупой угол . При этом торцевые кромки 10 этих элементов являются режущими. Поперечные решетки 5 и ножи 6 установлены вплотную друг к другу и таким образом, что торцевые режущие кромки 10 режущих элементов скользят по диаметральным плоскостям решеток 5 (одна кромка – по плоскости одной решетки, другая кромка – по плоскости другой, установленной с другой стороны ножа). Сопрягаемый зазор между ними достаточен для свободного перемещения этих элементов относительно друг другу, но минимален с целью исключения попадания в него материала. Все ножи 6 установлены со смещением режущих элементов 7 по отношению к режущим элементам соседних ножей, т.е. соседние ножи установлены в корпусе таким образом, что режущие элементы 7, например четных ножей, находятся с ориентацией в пространстве между режущими элементами нечетных. Пластинчатая поверхность 9 режущих элементов составляет с плоскостью последующей по ходу движения материала поперечной решеткой 5 угол , равный 30 град. Поперечные решетки закреплены в корпусе посредством фиксирующего штыря 11, который устанавливается в проточки, выполненные на внешней цилиндрической поверхности поперечных решеток 5 и продолженные (по окружности их поперечного сечения) на внутренней поверхности корпуса 2. В загрузочном бункере установлена предохранительная решетка 12, препятствующая попаданию в рабочую зону шнека крупных камней, металлических включений, а также повышающая безопасность работы устройства. Однако полностью исключить попадание камней в устройство удается не всегда. Поэтому с целью выделить и удалить из массы любые твердые крупные включения перед поступлением массы в ту часть устройства, где происходит измельчение и перемешивание посредством последовательности поперечных решеток и ножей, первый в этой последовательности нож 6 (см. фиг.3) установлен перед первой поперечной решеткой 5. Режущие элементы этого ножа развернуты под углом 75 град, а на поверхности первой поперечной решетки, обращенной к этому ножу выполнены тангенциально направленные канавки 13. (см. фиг.5). Канавки на части их длины выполнены сквозными (см. фиг.6 и фиг.7), при этом профиль этих канавок выполнен расширенным в части, открывающейся на плоскость решетки, контактирующей с первым ножом. Это расширение в поперечном сечении может быть в форме полукруга, треугольника и т.п. (см. фиг.7), т.е. формы, обеспечивающей наилучшее выполнение канавками их функции направляющих для каменистых включений при их перемещении к периферии корпуса. В зоне установки первого ножа корпус выполнен с тангенциальным патрубком 14 вывода камней и других включений.
Накидная гайка 15 и распорная втулка 16, установленная на выходе из корпуса 2 и опертая одним торцом на последнюю поперечную решетку 5, а другим на кольцевую, частично перекрывающую выход корпуса 2, часть накидной гайки, обеспечивают поджатие друг к другу всех поперечных решеток и ножей. Резьбовое соединение корпуса 2 и накидной гайки 15 позволяет осуществлять регулировку усилия этого поджатия. Шнек в концевой части 17 выполнен конической формы.
Устройство работает следующим образом.
Исходный пластичный материал, в частности глина, засыпается в бункер. Глина через решетку попадает в рабочую зону шнека 4, который первично измельчает, перемешивает и перемещает материал к первой по ходу движения решетке 5 или к первому ножу 6′ (в зависимости от исполнения устройства). За счет того, что концевая часть 17 шнека 4 выполнена в виде усеченного конуса, глина подпрессовывается к решетке и продавливается через ее отверстия, попадая в зону следующего ножа 6. При исполнении устройства с ножом 6′ поверхность 9 этого ножа воздействует на твердые включения, которые могут оказаться в массе глины, сдвигает их по тангенциальным канавкам 13 сначала к периферии корпуса, а затем по его стенке к выводному патрубку 14. Торцевые режущие кромки ножа 6, установленного между поперечными решетками 5, срезают материал с обратной стороны поперечной решетки 5, за которой этот нож установлен. При этом измельченная отверстиями решетки глина попадает в пространство между наклонными поверхностями 9 режущих элементов 7 ножа и за счет его вращения, а также за счет наклона поверхности 9 материал перемещается в сторону второй решетки и одновременно по окружности. Перемещение материала по окружности способствует перемешиванию, поскольку попадая в зону второго ножа, режущие элементы которого смещены, материал смешивается с порцией, которая движется по параллельному потоку. А воздействие поверхности 9 режущего ножа на массу глины, попадающую в угол , способствует ее истиранию при прохождении глины через стоящую за ножом решетку, поскольку кроме того, что глина проходит через отверстия решетки, она в какой-то момент времени оказывается между плоскостью решетки, в той части, где эта плоскость сплошная (без отверстий), и наклонной поверхностью 9 режущего элемента ножа 6. Вышеописанный процесс измельчения и перемешивания материла повторяется столько раз, сколько пар решеток и ножей установлено в объеме корпуса.
Таким образом, поскольку заявляемая конструкция устройства осуществляет не только измельчение материала при его прохождении через отверстия решеток и при срезании глины с их поверхностей торцевыми кромками ножей 6, но и благодаря исполнению режущих элементов ножей 6 с наклонной пластинчатой поверхностью 9, а также благодаря установке ножей и поперечных решеток вплотную друг к другу, при работе устройства обеспечивается растирание глины и попадание частичек в иной движущийся поток, что обусловливает повышение эффективности измельчения с одновременным более тщательным перемешиванием материала.
Формула изобретения
1. Устройство для измельчения и перемешивания пластичных материалов, преимущественно глины, содержащее корпус с загрузочным бункером, шнек и установленные в корпусе с чередованием относительно друг друга поперечные решетки и вращающиеся ножи с режущими элементами по форме лепестков, отличающееся тем, что ножи и поперечные решетки установлены вплотную друг к другу, режущие элементы ножей выполнены с поверхностями, развернутыми под углом по отношению к плоскостям поперечных решеток, между которыми установлен несущий их нож, при этом торцевые кромки этих поверхностей выполнены примыкающими к упомянутым плоскостям и со скосом, направленным в противоположную сторону направлению вращения ножей.
2. Устройство по п.1, отличающееся тем, что в последовательности поперечных решеток и ножей первым по ходу движения материала установлен нож, при этом на последующей, примыкающей к его режущим элементам плоскости поперечной решетки, выполнены тангенциально направленные канавки, а корпус снабжен патрубком вывода твердых включений.
3. Устройство по п.2, отличающееся тем, что канавки выполнены сквозными и с переменным по ширине решетки поперечным сечением, расширенным в направлении входной ее плоскости.
4. Устройство по п.3, отличающееся тем, что сквозными канавки выполнены на части их длины.
5. Устройство по п.1, отличающееся тем, что ножи выполнены четырехлепестковыми.
6. Устройство по п.5, отличающееся тем, что ножи установлены со смещением своих режущих элементов по отношению к режущим элементам соседних.
7. Устройство по п.1, отличающееся тем, что режущие элементы выполнены с наклоном поверхности по отношению к плоскости поперечной решетки, последующей по ходу движения материала, под углом от 20° до 40°.
8. Устройство по п.1, отличающееся тем, что оно снабжено средством осевого поджатия ножей и решеток.
9. Устройство по п.8, отличающееся тем, что средство осевого поджатия ножей и решеток выполнено в виде распорной втулки, смонтированной между стоящей на выходе устройства поперечной решеткой и накидной гайкой, установленной на выходном торце корпуса с возможностью регулировочного перемещения.
10. Устройство по п.1 или 8, отличающееся тем, что поперечные решетки выполнены с проточкой на внешней цилиндрической поверхности по ее образующей и закреплены в корпусе посредством фиксирующего стержня, пропущенного через упомянутые проточки и через продольную проточку, выполненную на внутренней поверхности корпуса по его образующей.
11. Устройство по п.1 или 8, отличающееся тем, что поперечные решетки выполнены с оппозитно размещенными радиальными выступами, устанавливаемыми в продольные проточки, выполненные на внутренней поверхности корпуса оппозитно друг другу и по его образующей.
12. Устройство по п.11, отличающееся тем, что корпус выполнен по продольным проточкам разъемным.
13. Устройство по п.12, отличающееся тем, что ножи выполнены составными из нескольких частей, при этом части установлены с обхватом вала и скреплены между собой или с валом.
14. Устройство по п.13, отличающееся тем, что скос выполнен под углом 20-30°.
РИСУНКИ
|
|