|
|
(21), (22) Заявка: 2005132069/02, 17.10.2005
(24) Дата начала отсчета срока действия патента:
17.10.2005
(46) Опубликовано: 20.04.2007
(56) Список документов, цитированных в отчете о поиске:
SU 1666290 A1, 30.07.1991. SU 218681 A1, 15.08.1968. SU 1013239 A2, 23.04.1983. SU 942967 A1, 15.07.1982. DE 665083 A, 13.04.1940.
Адрес для переписки:
302020, г.Орел, Наугорское ш., 29, ОрелГТУ
|
(72) Автор(ы):
Степанов Юрий Сергеевич (RU), Киричек Андрей Викторович (RU), Самойлов Николай Николаевич (RU), Афанасьев Борис Иванович (RU), Фомин Дмитрий Сергеевич (RU), Мельков Юрий Петрович (RU), Забродин Олег Михайлович (RU)
(73) Патентообладатель(и):
Государственное образовательное учреждение высшего профессионального образования “Орловский государственный технический университет” (ОрелГТУ) (RU)
|
(54) ОБКАТЫВАЮЩЕЕ ПРИСПОСОБЛЕНИЕ С ДЕФОРМИРУЮЩЕЙ ПРУЖИНОЙ
(57) Реферат:
Изобретение относится к технологии машиностроения, а именно к устройствам для отделочно-упрочняющей обработки заготовок в виде валов поверхностным пластическим деформированием. Устройство содержит корпус с дисками, между которыми установлены деформирующие элементы в виде витков стальной винтовой цилиндрической пружины круглого сечения. Пружина свернута в кольцо и плавающе установлена между дисками корпуса с возможностью охватывания заготовки с натягом относительно последней и размещена в корпусе с помощью пружин растяжения. Пружина имеет устройство для регулирования усилия обкатывания в виде двух шайб с центральными резьбовыми отверстиями, жестко закрепленных на торцах витков, и винта с левой и правой резьбой на концах, ввернутого в резьбовые отверстия упомянутых шайб. В результате расширяются технологические возможности, повышается параметр шероховатости обработанной поверхности, увеличивается ее твердость, повышается производительность и снижается себестоимость инструмента. 6 ил., 1 табл.
Изобретение относится к технологии машиностроения, в частности к отделочно-упрочняющей обработки заготовок типа валов из сталей и сплавов поверхностным пластическим деформированием многоэлементным обкатывающим приспособлением с деформирующей кольцевой пружиной.
Известно трехроликовое приспособление для обкатывания нежестких валов, которое состоит из корпуса, плавающей державки с роликами, шарнирно соединенной с корпусом, и пружины [1]. Приспособление, закрепляемое, например, на суппорте токарного станка, позволяет нейтрализовать биение поверхности заготовки-вала, которое не сказывается на обработке. Несколько деформирующих элементов приспособления позволяют разгрузить узлы от односторонне приложенного усилия при обкатывании нежестких заготовок.
Недостатками известного трехроликового приспособления являются: низкая производительность из-за малого точечного пятна контакта деформирующих элементов-роликов с обрабатываемой поверхностью, небольшого количества деформирующих элементов, малой подачи, а также сложности и больших массогабаритных показателей конструкции.
Известно обкатывающее приспособление, содержащее корпус с дисками, между которыми установлены деформирующие элементы в виде витков стальной винтовой цилиндрической пружины круглого сечения, которая имеет устройство для регулирования усилия обкатывания [2].
Недостатком известного приспособления является то, что обрабатываемая заготовка подвержена неуравновешенным радиальным нагрузкам, которые вызывают вибрации, ведущие к снижению точности и качества обработки.
Задачей изобретения является расширение технологических возможностей, заключающееся в том, что предлагаемое приспособление повышает параметр шероховатости обработанной поверхности, увеличивает ее твердость на значительную глубину благодаря выглаживающему действиям большого количества деформирующих элементов, повышает производительность за счет увеличения пятна контакта деформирующих элементов с обрабатываемой поверхностью и возможности применения больших подач и регулирования рабочих усилий, а также снижает себестоимость процесса и удешевляет изготовление приспособления благодаря компактности и простоте конструкции.
Поставленная задача решается с помощью предлагаемого обкатывающего приспособления, содержащего корпус с дисками, между которыми установлены деформирующие элементы в виде витков стальной винтовой цилиндрической пружины круглого сечения, которая имеет устройство для регулирования усилия обкатывания, причем упомянутая пружина свернута в кольцо и плавающе установлена между дисками корпуса с возможностью охватывания заготовки с натягом относительно последней и размещена в корпусе с помощью пружин растяжения, обеспечивающих восприятие радиальных перемещений заготовки, а устройство для регулирования усилия обкатывания выполнено в виде двух шайб с центральными резьбовыми отверстиями, жестко закрепленных на торцах витков, и винта с левой и правой резьбой на концах, ввернутого в резьбовые отверстия упомянутых шайб.
Особенности конструкции приспособления поясняются чертежами.
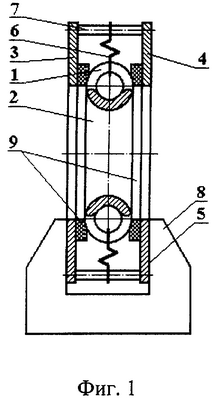
На фиг.1 показано предлагаемое обкатывающее приспособление с деформирующими элементами в виде витков кольцевой пружины, продольный разрез; на фиг.2 – общий вид слева на фиг.1; на фиг.3 – кольцевая многоэлементная деформирующая пружина приспособления с устройством регулирования усилия обкатывания; на фиг.4 – сечение А-А на фиг.3; на фиг.5 – кольцевая многоэлементная деформирующая пружина приспособления с постоянным усилием обкатывания (второй вариант); на фиг.6 – схема процесса обработки поверхностным пластическим деформированием наружной поверхности винта винтового насоса обкатывающим приспособлением.
Предлагаемое приспособление служит для обработки поверхностным пластическим деформированием наружных поверхностей вращения заготовок типа валов и винтов с большим шагом, например винтов винтовых насосов, а также эксцентриковых валов.
Обработку выполняют на токарных, карусельных станках с сообщением вращательного движения заготовке – Vз, а приспособлению – движение продольной подачи Sпр.
Деформирующими элементами предлагаемого обкатывающего приспособления являются витки 1 из стали круглого сечения винтовой цилиндрической пружины 2, свернутой в кольцо, которое плавающе установлено и размещено между вертикальными дисками 3 и 4 корпуса 5 с помощью пружин растяжения 6.
Вертикальные диски 3 и 4 корпуса 5 имеют центральные отверстия для расположения в них обрабатываемой заготовки.
Пружины растяжения 6 служат для восприятия радиальных перемещений, вызванных, например, биением поверхности заготовки, которое не должно сказываться на качестве обработки.
Корпус 5, помимо дисков 3 и 4, в своем составе имеет распорные штанги 7 для крепления на них пружин растяжения 6 в количестве 3-4 или более штук, горизонтальную планку 8, необходимую для закрепления приспособления на станке и придания ему жесткости, а также резиновые кольца 9 для восприятия и амортизации осевых усилий и перемещений.
Кольцевая пружина 2 имеет устройство для регулирования усилия обкатывания, состоящее из двух шайб 10, жестко закрепленных на торцах витков 1, с центральными резьбовыми отверстиями и винта 11 с левой и правой резьбой на концах, ввернутого в шайбы. Помимо этого, винт 11 имеет посередине квадратное сечение под ключ для ввертывания и вывертывания винта из шайб при регулировании усилия обкатывания.
Винтовая цилиндрическая пружина 2, свернутая в кольцо, может быть установлена в предлагаемом приспособлении и без устройства для регулирования усилия обкатывания (см. фиг.5). При этом внутренний диаметр пружинного кольца 2 должен быть выполнен меньше обрабатываемого диаметра заготовки, т.е. кольцо 2 устанавливается на заготовке с постоянным натягом, обеспечивающим необходимое усилие обкатывания.
Приспособление крепится на суппорте в резцедержателе 12 токарного станка (не показан), обрабатываемая заготовка, например винт 13, закрепляется в патроне 14 шпинделя 15 передней бабки 16 и поджимается центром 17 задней бабки 18.
После того как заготовка 13 закреплена в патроне 14, приспособление подводят к свободному концу заготовки и с помощью ручной продольной подачи суппорта, преодолевая сопротивление деформирующей пружины, нанизывают приспособление на заготовку, а затем поджимают задним центром 17.
Перед включением станка производят настройку на нужное усилие обкатывания путем вращения специальным ключом винта 11, сближая шайбы 10 и контролируя значение усилия по шкале.
Включают главное движение – вращение заготовки 13, и одновременно приспособлению сообщают поступательную продольную подачу Sпр.
Сущность процесса заключается в том, что при работе приспособления деформирующая пружина с помощью устройства регулирования устанавливается с некоторым натягом относительно обрабатываемой заготовки, охватывая ее.
Усилие сжатия деформирующей пружины контролируют по шкале, нанесенной на диск 3 или 4 корпуса (не показана).
Обкатывание осуществляется витками 1 пружины 2, оказывающими давление на поверхность обрабатываемой заготовки.
При определенном (рабочем) усилии в зоне контакта деформирующих элементов и заготовки интенсивность напряжений превышает предел текучести, в результате чего происходит пластическая деформация микронеровностей, изменяются физико-механические свойства и структура поверхностного слоя (например, увеличивается микротвердость или возникают остаточные напряжения в поверхностном слое).
Объемная деформация заготовки незначительна.
Наличие упругого элемента, которым является деформирующая пружина 2, обеспечивает постоянное усилие обкатывания в любой точке обрабатываемой поверхности.
В результате пластической деформации микронеровностей и поверхностного слоя параметр шероховатости поверхности повышается до Ra=0,1…0,4 мкм при исходном значении Ra=0,8…3,2 мкм. Твердость поверхности увеличивается на 30…80% при глубине наклепанного слоя 0,3…3 мм. Остаточные напряжения сжатия достигают на поверхности 400…800 МПа.
Предварительная обработка детали: шлифование до значения параметра шероховатости Ra=0,4…1,6 мкм, а также чистовое точение поверхностей с шероховатостью Ra=3,2 мкм.
Обкатывание предлагаемым приспособлением применяют при изготовлении заготовок из цветных металлов и сплавов, чугуна и стали твердостью до HRC 58…64.
Деформирующие элементы приспособления, т.е. пружину, изготовляют из сталей: легированных ШХ15, ХВГ, 9Х, 5ХНМ, углеродистых инструментальных У10А, У12А, быстрорежущих Р6М5, Р9. Твердость рабочей поверхности витков из сталей HRC 62…65. Параметр шероховатости рабочего профиля витков пружины Ra=0,32 мкм.
Производительность процесса обкатывания определяется радиусом витка деформирующей пружины и диаметром проволоки, из которой изготовлена пружина.
Приспособления с большими радиусом витка деформирующей пружины и диаметром проволоки позволяют вести обработку с большой подачей (до 3 мм/об), однако в этом случае для получения высокого качества поверхности необходимо создавать большие рабочие усилия. От значения допустимого рабочего усилия зависят параметры деформирующей пружины.
Предлагаемое многоэлементное обкатывающее приспособление обеспечивает постоянное усилие контакта деформирующих элементов и обрабатываемой поверхности и почти не уменьшает погрешности предшествующей обработки, являясь копирующим.
Изменение размера поверхности при обкатывании связано со смятием микронеровностей и пластической объемной деформацией заготовки. Таким образом, точность обработанной заготовки будет зависеть от ее конструкции и конструкции обкатывающего приспособления, режимов обработки, а также от точности размеров, формы и качества поверхности заготовки, полученной при обработке на предшествующем переходе. Величина изменения размера зависит от состояния исходной поверхности (см. таблицу).
Изменение размеров поверхностей заготовки при обкатывании предлагаемым приспособлением в зависимости от шероховатости исходной поверхности
| Способ предварительной обработки |
Параметр шероховатости Ra, мм |
Величина, на которую изменяется размер после обработки, мм |
| Точение |
6,3 3,2 1,6 |
0,025…0,065 0,015…0,045 0,010…0,025 |
| Точение бреющим (широким) резцом |
3,2 1,6 |
0,010…0,025 до 0,015 |
| Шлифование |
3,2 1,6 |
0,015…0,035 0,010…0,020 |
При этом точность размеров существенно не меняется.
Неблагоприятные условия обработки заготовки вблизи торцов приводят к увеличенной пластической деформации заготовки на участках длиной 3…15 мм.
Наиболее целесообразно обкатыванием обрабатывать исходные поверхности 7…11-го квалитетов.
При поверхностно-пластическом деформировании предлагаемым приспособлением практически достигаются параметры шероховатости Ra=0,2…0,8 мкм при исходных значениях этих параметров 0,8…6,3 мкм. Степень уменьшения шероховатости поверхности зависит от материала, рабочего усилия или натяга, подачи, исходной шероховатости, конструкции приспособления и т.д.
Обкатывание предлагаемым приспособлением следует проводить так, чтобы заданные результаты достигались за один проход. Не следует использовать обратный ход в качестве рабочего хода, так как повторные проходы в противоположных направлениях могут привести к излишнему деформированию и отслаиванию поверхностного слоя.
Скорость не оказывает заметного влияния на результаты обработки и выбирается с учетом требований производительности, конструктивных особенностей заготовки и оборудования. Обычно скорость составляет 30…150 м/мин. Значение усилия обкатывания выбирают в зависимости от цели обработки. Оптимальное усилие Р (Н), соответствующее максимальному пределу выносливости, определяют по формуле
Р=500+1,66D2,
где D – диаметр обкатываемой поверхности заготовки.
Подачу при обкатывании принимают 0,2…3 мм/об. Оптимальная подача Sэ на один деформирующий элемент не должна превышать 0,1…0,5 мм/об. Подачу на один оборот заготовки определяют по формуле
S=kSэ,
где k – число деформирующих элементов.
Смазывающе-охлаждающей жидкостью при обкатывании служат машинное масло, смесь машинного масла с керосином (по 50%), сульфофрезол (5%-ная эмульсия). Обработку чугуна рекомендуется вести без охлаждения.
Предлагаемое приспособление расширяет технологические возможности процесса поверхностного пластического деформирования, повышает параметр шероховатости обработанной поверхности, увеличивает ее твердость на значительную глубину, повышает производительность за счет увеличения пятна контакта большого количества деформирующих элементов с обрабатываемой поверхностью, а также снижает себестоимость процесса и сокращает расходы на изготовление.
Источники информации
1. Справочник технолога-машиностроителя. В 2-х т. Т.2 / Под ред. А.Г.Косиловой и Р.К.Мещерякова. – 4-е изд., перераб. и доп. – М.: Машиностроение, 1985. С.383-395, рис.7.
2. А.с. СССР 1666290 А1, МПК В24В 39/02. Опубл. 30.07.1991 – прототип.
Формула изобретения
Обкатывающее приспособление, содержащее корпус с дисками, между которыми установлены деформирующие элементы в виде витков стальной винтовой цилиндрической пружины круглого сечения, которая имеет устройство для регулирования усилия обкатывания, отличающееся тем, что упомянутая пружина свернута в кольцо и плавающе установлена между дисками корпуса с возможностью охватывания заготовки с натягом относительно последней и размещена в корпусе с помощью пружин растяжения, обеспечивающих восприятие радиальных перемещений заготовки, а устройство для регулирования усилия обкатывания выполнено в виде двух шайб с центральными резьбовыми отверстиями, жестко закрепленных на торцах витков, и винта с левой и правой резьбами на концах, ввернутого в резьбовые отверстия упомянутых шайб.
РИСУНКИ
MM4A – Досрочное прекращение действия патента СССР или патента Российской Федерации на изобретение из-за неуплаты в установленный срок пошлины за поддержание патента в силе
Дата прекращения действия патента: 18.10.2007
Извещение опубликовано: 27.06.2009 БИ: 18/2009
|
|