|
|
(21), (22) Заявка: 2005132068/02, 17.10.2005
(24) Дата начала отсчета срока действия патента:
17.10.2005
(46) Опубликовано: 20.04.2007
(56) Список документов, цитированных в отчете о поиске:
Справочник-технолога машиностроителя. В 2-х т. Под ред. А.Г. Косиловой и Р.К. Мещерякова. – М.: Машиностроение, 1985, т.2, с.383-395, рис.7. SU 218681 A1, 15.08.1968. SU 1666290 A1, 30.07.1991. SU 942967 A1, 15.07.1982. DE 665083 A, 13.04.1940.
Адрес для переписки:
302020, г.Орел, Наугорское ш., 29, ОрелГТУ
|
(72) Автор(ы):
Степанов Юрий Сергеевич (RU), Киричек Андрей Викторович (RU), Самойлов Николай Николаевич (RU), Афанасьев Борис Иванович (RU), Фомин Дмитрий Сергеевич (RU), Мельков Юрий Петрович (RU), Забродин Олег Михайлович (RU)
(73) Патентообладатель(и):
Государственное образовательное учреждение высшего профессионального образования “Орловский государственный технический университет” (ОрелГТУ) (RU)
|
(54) СПОСОБ МНОГОЭЛЕМЕНТНОГО ОБКАТЫВАНИЯ ВАЛОВ
(57) Реферат:
Изобретение относится к технологии машиностроения, а именно к отделочно-упрочняющей обработке заготовок в виде валов поверхностным пластическим деформированием. Способ включает сообщение вращательного движения заготовке и движения подачи вдоль обрабатываемой поверхности приспособлению, содержащему корпус с дисками, в котором установлены деформирующие элементы. Деформирующие элементы выполнены в виде витков свернутой в кольцо стальной винтовой цилиндрической пружины круглого сечения. Пружину устанавливают с возможностью схватывания заготовки и с натягом относительно последней. Осуществляют настройку пружины на усилие обкатывания посредством устройства для регулирования усилия обкатывания. Устройство для регулирования усилия обкатывания выполнено в виде двух шайб с центральными резьбовыми отверстиями, жестко закрепленных на торцах витков пружины, и винта с левой и правой резьбой на концах, который вворачивают в резьбовые отверстия упомянутых шайб. При этом пружину плавающе устанавливают между дисками корпуса и размещают в последнем с помощью пружин растяжения. В результате расширяются технологические возможности, повышается параметр шероховатости обработанной поверхности, увеличивается ее твердость, повышается производительность и снижается себестоимость инструмента. 6 ил., 1 табл.
Изобретение относится к технологии машиностроения, в частности к отделочно-упрочняющей обработке заготовок типа валов из сталей и сплавов поверхностным пластическим деформированием многоэлементным обкатывающим приспособлением с деформирующей кольцевой пружиной.
Известен способ обкатывания трехроликовым приспособлением нежестких валов, которое состоит из корпуса, плавающей державки с роликами, шарнирно соединенной с корпусом, и пружины [1]. Способ, реализуемый приспособлением, осуществляется на токарном станке и позволяет устранить биение поверхности заготовки – вала, при этом несколько деформирующих элементов приспособления позволяют разгрузить узлы от односторонне приложенного усилия при обкатывании нежестких заготовок.
Недостатками известного способа являются низкая производительность из-за малого точечного пятна контакта деформирующих элементов-роликов с обрабатываемой поверхностью, небольшого количества деформирующих элементов, малой подачи, а также сложности и больших массо-габаритных показателей конструкции приспособления.
Задачей изобретения является расширение технологических возможностей предлагаемого способа, заключающееся в повышении параметров шероховатости обработанной поверхности, увеличении ее твердости на значительную глубину благодаря действиям большого количества деформирующих элементов, повышении производительности за счет увеличения пятна контакта деформирующих элементов с обрабатываемой поверхностью и возможности применения больших подач и регулирования рабочих усилий, а также снижении себестоимости процесса и удешевлении изготовления оснастки благодаря компактности и простоте конструкции.
Поставленная задача решается с помощью использования предлагаемого способа обкатывания валов, включающего сообщение вращательного движения заготовке и движение подачи вдоль обрабатываемой поверхности приспособлению с корпусом, в котором установлены деформирующие элементы, при этом используют корпус с дисками и деформирующие элементы в виде витков свернутой в кольцо стальной винтовой цилиндрической пружины круглого сечения, которую устанавливают с возможностью схватывания заготовки и с натягом относительно последней, и осуществляют ее настройку на усилие обкатывания посредством устройства для регулирования усилия обкатывания в виде двух шайб с центральными резьбовыми отверстиями, жестко закрепленных на торцах витков пружины, и винта с левой и правой резьбой на концах, который вворачивают в резьбовые отверстия упомянутых шайб, при этом пружину плавающе устанавливают между дисками корпуса и размещают в последнем с помощью пружин растяжения, обеспечивающих восприятие радиальных перемещений заготовки.
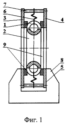
Особенности способа поясняются чертежами.
На фиг.1 показано приспособление с деформирующими элементами в виде витков кольцевой пружины, реализующее предлагаемый способ многоэлементного обкатывания валов, продольный разрез; на фиг.2 – общий вид слева на фиг.1; на фиг.3 – кольцевая многоэлементная деформирующая пружина приспособления с устройством регулирования усилия обкатывания; на фиг.4 – сечение А-А на фиг.3; на фиг.5 – кольцевая многоэлементная деформирующая пружина приспособления с постоянным усилием обкатывания (второй вариант); на фиг.6 – схема процесса обработки поверхностным пластическим деформированием наружной поверхности винта винтового насоса по предлагаемому способу.
Предлагаемый способ предназначен для обработки поверхностным пластическим деформированием наружных поверхностей вращения заготовок типа валов и винтов с большим шагом, например винтов винтовых насосов, а также эксцентриковых валов.
Обработку выполняют на токарных, карусельных станках с сообщением вращательного движения заготовке – Vз, а приспособлению с инструментом – движения продольной подачи Sпр.
Предлагаемый способ многоэлементного обкатывания валов реализуется с помощью приспособления, деформирующими элементами которого являются витки 1 из стали круглого сечения винтовой цилиндрической пружины 2, свернутой в кольцо, которое плавающе установлено и размещено между вертикальными дисками 3 и 4 корпуса 5 с помощью пружин растяжения 6.
Вертикальные диски 3 и 4 корпуса 5 имеют центральные отверстия для расположения в них обрабатываемой заготовки.
Пружины растяжения 6 служат для восприятия радиальных перемещений, вызванных, например, биением поверхности заготовки, которое не должно сказываться на качестве обработки.
Корпус 5 помимо дисков 3 и 4 в своем составе имеет распорные штанги 7 для крепления на них пружин растяжения 6 в количестве 3-4 или более штук, горизонтальную планку 8, необходимую для закрепления приспособления на станке и придания ему жесткости, а также резиновые кольца 9 для восприятия и амортизации осевых усилий и перемещений.
Кольцевая пружина 2 имеет устройство для регулирования усилия обкатывания, состоящее из двух шайб 10, жестко закрепленных на торцах витков 1, с центральными резьбовыми отверстиями и винта 11 с левой и правой резьбой на концах, ввернутого в шайбы. Помимо этого винт 11 имеет посередине квадратное сечение под ключ для ввертывания и вывертывания винта из шайб при регулировании усилия обкатывания.
Винтовая цилиндрическая пружина 2, свернутая в кольцо, может быть установлена в предлагаемом приспособлении и без устройства для регулирования усилия обкатывания (см. фиг.5). При этом внутренний диаметр пружинного кольца 2 должен быть выполнен меньше обрабатываемого диаметра заготовки, т.е. кольцо 2 устанавливается на заготовке с постоянным натягом, обеспечивающим необходимое усилие обкатывания.
Приспособление крепится на суппорте в резцедержателе 12 токарного станка (не показан), обрабатываемая заготовка, например, винт 13 закрепляется в патроне 14 шпинделя 15 передней бабки 16 и поджимается центром 17 задней бабки 18.
После того как заготовка 13 закреплена в патроне 14, приспособление подводят к свободному концу заготовки и с помощью ручной продольной подачи суппорта, преодолевая сопротивление деформирующей пружины, нанизывают приспособление на заготовку, а затем поджимают задним центром 17.
Перед включением станка производят настройку на нужное усилие обкатывания путем вращения специальным ключом винта 11, сближая шайбы 10 и контролируя значение усилия по шкале.
Включают главное движение – вращение заготовки 13 и одновременно приспособлению сообщают поступательную продольную подачу Sпр.
Сущность процесса заключается в том, что при работе приспособления деформирующая пружина с помощью устройства регулирования устанавливается с некоторым натягом относительно обрабатываемой заготовки, охватывая ее. Усилие сжатия деформирующей пружины контролируют по шкале, нанесенной на диск 3 или 4 корпуса (не показана).
Обкатывание осуществляется витками 1 пружины 2, оказывающими давление на поверхность обрабатываемой заготовки.
При определенном (рабочем) усилии в зоне контакта деформирующих элементов и заготовки интенсивность напряжений превышает предел текучести, в результате чего происходит пластическая деформация микронеровностей, изменяются физико-механические свойства и структура поверхностного слоя (например, увеличивается микротвердость или возникают остаточные напряжения в поверхностном слое).
Объемная деформация заготовки незначительна.
Наличие упругого элемента, которым является деформирующая пружина 2, обеспечивает постоянное усилие обкатывания в любой точке обрабатываемой поверхности.
В результате пластической деформации микронеровностей и поверхностного слоя параметр шероховатости поверхности повышается до Ra=0,1…0,4 мкм при исходном значении Ra=0,8…3,2 мкм. Твердость поверхности увеличивается на 30…80% при глубине наклепанного слоя 0,3…3 мм. Остаточные напряжения сжатия достигают на поверхности 400…800 МПа.
Предварительная обработка детали: шлифование до значения параметра шероховатости Ra=0,4…1,6 мкм, а также чистовое точение поверхностей с шероховатостью Ra=3,2 мкм.
Обкатывание по предлагаемому способу применяют при изготовлении заготовок из цветных металлов и сплавов, чугуна и стали твердостью до HRC 58…64.
Деформирующие элементы приспособления, т.е. пружину, изготовляют из сталей: легированных ШХ15, ХВГ, 9Х, 5ХНМ, углеродистых инструментальных У10А, У12А, быстрорежущих Р6М5, Р9. Твердость рабочей поверхности витков из сталей HRC 62…65. Параметр шероховатости рабочего профиля витков пружины Ra=0,32 мкм.
Производительность процесса обкатывания определяется радиусом витка деформирующей пружины и диаметром проволоки, из которой изготовлена пружина.
Приспособления с большими радиусом витка деформирующей пружины и диаметром проволоки позволяют вести обработку с большой подачей (до 3 мм/об), однако в этом случае для получения высокого качества поверхности необходимо создавать большие рабочие усилия. От значения допустимого рабочего усилия зависят параметры деформирующей пружины.
Предлагаемый многоэлементный способ обкатывания валов обеспечивает постоянное усилие контакта деформирующих элементов и обрабатываемой поверхности и почти не уменьшает погрешности предшествующей обработки, являясь копирующим.
Изменение размера поверхности при обкатывании связано со смятием микронеровностей и пластической объемной деформацией заготовки. Таким образом, точность обработанной заготовки будет зависеть от ее конструкции и конструкции обкатывающего приспособления, режимов обработки, а также от точности размеров, формы и качества поверхности заготовки, полученной при обработке на предшествующем переходе. Величина изменения размера зависит от состояния исходной поверхности (см. таблицу).
При этом точность размеров существенно не меняется.
Неблагоприятные условия обработки заготовки вблизи торцов приводят к увеличенной пластической деформации заготовки на участках длиной 3…15 мм.
Наиболее целесообразно обкатыванием обрабатывать исходные поверхности 7…11-го квалитетов.
Изменение размеров поверхностей заготовки при обкатывании предлагаемым способом в зависимости от шероховатости исходной поверхности.
| Способ предварительной обработки |
Параметр шероховатости Ra, мм |
Величина, на которую изменяется размер после обработки, мм |
| Точение |
6,3 |
0,025…0,065 |
| 3,2 |
0,015…0,045 |
| 1,6 |
0,010…0,025 |
| Точение бреющим (широким) резцом |
3,2 |
0,010…0,025 |
| 1,6 |
до 0,015 |
| Шлифование |
3,2 |
0,015…0,035 |
| 1,6 |
0,010…0,020 |
При поверхностно пластическом деформировании предлагаемым способом практически достигаются параметры шероховатости Ra=0,2…0,8 мкм при исходных значениях этих параметров 0,8…6,3 мкм.
Степень уменьшения шероховатости поверхности зависит от материала, рабочего усилия или натяга, подачи, исходной шероховатости, конструкции приспособления и т.д.
Обкатывание предлагаемым способом следует проводить так, чтобы заданные результаты достигались за один проход. Не следует использовать обратный ход в качестве рабочего хода, так как повторные проходы в противоположных направлениях могут привести к излишнему деформированию и отслаиванию поверхностного слоя.
Скорость не оказывает заметного влияния на результаты обработки и выбирается с учетом требований производительности, конструктивных особенностей заготовки и оборудования. Обычно скорость составляет 30…150 м/мин. Значение усилия обкатывания выбирают в зависимости от цели обработки. Оптимальное усилие Р (H), соответствующее максимальному пределу выносливости, определяют по формуле:
Р=500+1,66D2,
где D – диаметр обкатываемой поверхности заготовки.
Подачу при обкатывании принимают 0,2…3 мм/об. Оптимальная подача S на один деформирующий элемент не должна превышать 0,1…0,5 мм/об. Подачу на один оборот заготовки определяют по формуле:
S=kSэ,
где k – число деформирующих элементов.
Смазывающе-охлаждающей жидкостью при обкатывании служат машинное масло, смесь машинного масла с керосином (по 50%), сульфофрезол (5%-ная эмульсия). Обработку чугуна рекомендуется вести без охлаждения.
Предлагаемый способ расширяет технологические возможности процесса поверхностного пластического деформирования, повышает параметр шероховатости обработанной поверхности, увеличивает ее твердость на значительную глубину, повышает производительность за счет увеличения пятна контакта большого количества деформирующих элементов с обрабатываемой поверхностью, а также снижает себестоимость процесса и сокращает расходы на изготовление оснастки.
Источник информации
1. Справочник технолога-машиностроителя. В 2-х т. Т.2 / Под ред. А.Г.Косиловой и Р.К.Мещерякова. – 4-е изд., перераб. и доп. – М.: Машиностроение, 1985. С.383-395, рис.7.
Формула изобретения
Способ обкатывания валов, включающий сообщение вращательного движения заготовке и движения подачи вдоль обрабатываемой поверхности приспособлению с корпусом, в котором установлены деформирующие элементы, отличающийся тем, что используют корпус с дисками и деформирующие элементы в виде витков свернутой в кольцо стальной винтовой цилиндрической пружины круглого сечения, которую устанавливают с возможностью охватывания заготовки и с натягом относительно последней, и осуществляют ее настройку на усилие обкатывания посредством устройства для регулирования усилия обкатывания в виде двух шайб с центральными резьбовыми отверстиями, жестко закрепленных на торцах витков пружины, и винта с левой и правой резьбами на концах, который вворачивают в резьбовые отверстия упомянутых шайб, при этом пружину плавающе устанавливают между дисками корпуса и размещают в последнем с помощью пружин растяжения, обеспечивающих восприятие радиальных перемещений заготовки.
РИСУНКИ
MM4A – Досрочное прекращение действия патента СССР или патента Российской Федерации на изобретение из-за неуплаты в установленный срок пошлины за поддержание патента в силе
Дата прекращения действия патента: 18.10.2007
Извещение опубликовано: 27.06.2009 БИ: 18/2009
|
|