|
|
(21), (22) Заявка: 2005117516/02, 07.06.2005
(24) Дата начала отсчета срока действия патента:
07.06.2005
(43) Дата публикации заявки: 10.01.2007
(46) Опубликовано: 20.04.2007
(56) Список документов, цитированных в отчете о поиске:
SU 1493444 A1, 15.07.1989. ВИТЕНБЕРГ Ю.Р. Комбинированные методы управления параметрами шероховатости. Вестник машиностроения. №11, 1983, с.16-20. SU 1466917 A1, 23.03.1989. SU 1419869 A2, 30.08.1988. SU 522955 A1, 30.07.1976. US 2002029448 A1, 14.03.2002.
Адрес для переписки:
603600, г.Нижний Новгород, ул. Минина, 24, НГТУ, ОИС
|
(72) Автор(ы):
Сорокин Виталий Матвеевич (RU), Тудакова Нина Михайловна (RU), Михеев Александр Владимирович (RU), Фомичёва Ольга Владимировна (RU), Зотова Вера Александровна (RU)
(73) Патентообладатель(и):
Сорокин Виталий Матвеевич (RU)
|
(54) СПОСОБ ФОРМИРОВАНИЯ МИКРОРЕЛЬЕФА НА ПОВЕРХНОСТИ ДЕТАЛИ
(57) Реферат:
Изобретение относится к области машиностроения, а именно к способам формирования двухуровневых микрорельефов. Осуществляют вращение детали и подачи и формирование на ее поверхности двухуровневого регулярного микрорельефа, комбинированного по высоте путем вибронакатывания канавок шаром и индентором. Канавки, накатанные индентором, располагают между канавками, накатанными шаром. Канавки создают синусоидальными путем вибронакатывания шаром радиусом Rш=1,5…2,0 мм с усилием Рш=160…500 Н и индентором радиусом Rинд=0,5…0,8 мм с усилием Ринд=80…250 Н. Причем канавки, накатанные индентором, формируют с меньшим шагом и меньшей высотой, чем канавки, накатанные шаром. В результате увеличивается микротвердость поверхности, формируются в поверхностном слое остаточные напряжения сжатия, повышается сопротивляемость износу, увеличивается опорная длина и опорная площадь обработанной поверхности. 1 з.п. ф-лы, 2 ил., 1 табл.
Изобретение относится к области технологии машиностроения, в частности к способам формирования двухуровневых микрорельефов, и может быть использовано для получения качественных поверхностей кулачков, опорных шеек распределительных валов системы газораспределения двигателей внутреннего сгорания, штоков гидроцилиндров шасси и т.п.
Известен способ формирования регулярных микрорельефов (Шнейдер Ю.Г. Эксплуатационные свойства деталей с регулярным микрорельефом. Л.: Машиностроение. 1982 – с.84), который заключается в поверхностно-пластической деформации поверхности инструментом с радиусом при вершине (шарик, индентор и т.п.) с заданным шагом и усилием.
Однако в полученном данным способом профиле имеются участки с минимальной кривизной между канавками, полученными поверхностно-пластической деформацией шариком (индентором и др.), испытывающие более высокие контактные нагрузки по сравнению с впадинами. Эти участки наиболее уязвимы при эксплуатации, так как являются очагами возникновения повышенного износа и разрушения поверхности из-за неравномерности по высоте и шагу шероховатости, наличия микротрещин, неоднородности структуры, остаточных напряжений растяжения.
Известен способ формирования двухуровнего рельефа на поверхности детали, включающий формирование двухуровнего регулярного микрорельефа, комбинированного по высоте, путем вибронакатывания канавок шаром (d1) и индентором (d2), причем канавки, накатанные индентором, располагают между канавками, накатанными шаром (SU 149344 А1, В24В 39/00, 15.07.1989).
Однако при повышении маслоемкости поверхности трения и производительности данный способ не обеспечивает высоких эксплуатационных качеств деталей.
В качестве прототипа принят способ формирования микрорельефа на поверхности детали (Витенберг Ю.Р. Комбинированные методы управления параметрами шероховатости. Вестник машиностроения. 1983. №11 с.16-20). Способ включает осуществление вращения детали и подачи, формирование на ее поверхности двухуровнего микрорельефа, комбинированного по высоте, путем вибронакатывания канавок шаром и индентором, при этом канавки, накатанные индентором, располагают между канавками, накатанными шаром.
Однако этот способ формирует поверхность с неравномерными физико-механическими характеристиками: в образованных вибрационным накатыванием канавках – остаточные напряжения сжатия, а на участках профиля между канавками – остаточные напряжения ниже (возможно появление остаточных напряжений растяжения) с соответствующими микротвердостями. Причем поверхность, сформированная способом по прототипу, в процессе износа будет менять опорную длину и опорную площадь, так как участки профиля между канавками, полученные предварительной обработкой точением, воспринимающие эксплуатационную нагрузку первыми, будут сминаться, что снижает сопротивляемость поверхности износу.
Задачей предлагаемого способа является повышение износостойкости деталей с регулярным профилем поверхности.
Технический результат – увеличение микротвердости поверхности, формирование во всем поверхностном слое остаточных напряжений сжатия, повышение сопротивления износу, увеличение опорной длины профиля и опорной площади обработанной поверхности.
Этот технический результат достигается тем, что в способе формирования микрорельефа на поверхности детали, включающем осуществление вращения детали и подачу, формирование на ее поверхности двухуровнего регулярного микрорельефа, комбинированного по высоте, путем вибронакатывания канавок шаром и индентором, при этом канавки, накатанные индентором, располагают между канавками, накатанными шаром, канавки создают синусоидальным путем вибронакатывания шаром радиусом Rш=1,5…2,0 мм с усилием Рш=160÷500 Н и индентором Rинд=0,5…0,8 мм с усилием Ринд=80…250 Н, причем канавки, накатанные индентором, формируют с меньшим шагом и меньшей высотой, чем канавки, накатанные шаром; деталь вращают с частотой nизд=50…240 об/мин, подачу инструмента вдоль оси детали осуществляют с S=05…0,8 мм/об, при этом используют устройство с торцовым кулачком, выполненным из условия осуществления колебаний двойных ходов с частотой nдв.х=1400…2800 мин-1 для обеспечения колебательного движения упомянутых индентора и шара.
Синусоидальная форма канавок, вибронакатанных шаром, увеличивает опорную площадь регулярного микрорельефа.
При уменьшении радиуса шара Rш менее 1,5 мм увеличивается контактное давление, что вызывает перенаклеп (микротрещины, шелушение).
При увеличении радиуса шара Rш более 2,0 мм уменьшается контактное давление, что отрицательно влияет на формирование глубины низкочастотных синусоидальных канавок и остаточных напряжений сжатия, уменьшает их.
При уменьшении усилия вибронакатывания Рш менее 160 Н параметры: глубина низкочастотных канавок R1, остаточные напряжения ост, микротвердость H – не оптимальны.
При увеличении усилия вибронакатывания Рш более 500 Н возможен перенаклеп, выражающийся в шелушении, отслаивании поверхности.
При уменьшении радиуса алмазного индентора Rинд менее 0,5 мм увеличивается контактное давление, что вызывает перенаклеп (микротрещины, шелушение).
При увеличении радиуса алмазного индентора Rинд более 0,8 мм уменьшается контактное давление, что отрицательно влияет на формирование остаточных напряжений сжатия, уменьшает их.
При уменьшении усилия индентора менее Ринд=80 Н параметры: шероховатости Rа, остаточные напряжения ост, микротвердость H – не оптимальны.
При увеличении усилия индентора более Ринд=250 Н возможен перенаклеп, выражающийся в шелушении, отслаивании поверхности.
Меньший шаг и меньшая высота канавок, накатанных индентором, по сравнению с канавками, накатанными шаром, обеспечивает криволинейную поверхность кулачка, меньшее усилие при обработке.
При уменьшении частоты вращения детали менее 50 об/мин и увеличении более 240 об/мин, уменьшении менее 1400 мин-1 и увеличении более 2800 мин-1 частоты колебаний двойных ходов nдв.х, остаточные напряжения ост, микротвердость H – не оптимальны.
При уменьшении подачи инструмента вдоль оси детали S менее 0,05 мм/об снижается производительность обработки, возможно прохождение индентора по одному и тому же месту, что вызывает перенаклеп и шелушение обработанной поверхности.
При увеличении подачи инструмента вдоль оси детали S более 0,8 мм/об образуются места («островки») недонаклепа с исходной шероховатостью.
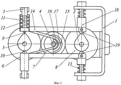
На фиг.1 показано устройство для реализации способа, которое состоит из основания 1, на котором размещены копировальное устройство 2, механизмы нагружения 3 и осцилляции 4, кинематически связанные между собой поворотным держателем обрабатываемой детали 5, например распредвала, посредством зубчатых колес 6, 7, 8. Причем зубчатое колесо 6, устанавливаемое на кольцо распредвала 5, выполнено разъемным с возможностью переустановки его для последовательной обработки всех кулачков распредвала.
Деформирующие инструменты: алмазный индентор 9 и шар 10 установлены на оправках 11 механизма нагружения по отношению друг к другу под углом 180° и обеспечивается регулировка на размер и поджатие пружинами 12 с настроенными усилиями шара Рш и индентора Ринд к обрабатываемой поверхности кулачка.
Устройство включает механизм нагружения, в который входят тарированные пружины 13 и комплект из четырех пластинчатых пружин 14. Для осуществления колебательного движения (осцилляции) индентора 9 и шара 10 служит торцовый кулачок 15, имеющий две разнесенные по оси профильные криволинейные поверхности с разной синусоидой, которые взаимодействуют с шаровыми опорами (не показаны), установленными на плоскостях рычагов 16 и 17, консоли которых соединены с пластинчатыми пружинами 14 и оправками 17. Другим концом пружины 14 прикреплены к державкам 18, несущим копирные ролики 19, которые установлены подвижно на вертикальных осях в консолях основания. Державки с роликами 19 поджимаются тарированными пружинами 13 к копировальному устройству 2, обеспечивая плотный контакт по всей криволинейной поверхности.
Способ осуществляют следующим образом. При обработке детали копирные ролики 19 и обрабатывающие инструменты – индентор 9 и шар 10, находясь в постоянном контакте с поверхностями соответственно копировального устройства 2 и обрабатываемой детали 5, копируя их, совершают возвратно-поступательные перемещения в перпендикулярном направлении относительно их осей, обеспечивая тем самым постоянство усилий обработки по всей криволинейной поверхности. Обрабатывающие инструменты (индентор 9 и шар 10), одновременно совершая колебательные движения с разными для каждого инструмента частотой и амплитудой, которые обеспечиваются разными (в зависимости от числа выпуклостей) криволинейными поверхностями торцового кулачка 15 через рычаги 16 и 17, на обрабатываемой поверхности детали 5 образуют микрорельеф профиля, состоящего из двух уровней. Нижний (первый) уровень микрорельефа образуется за счет вибронакатывания канавок шаром 10, причем между канавками в зависимости от величины подачи располагаются участки с необработанной поверхностью, на которых алмазным индентором 9 формируется микрорельеф с меньшей высотой и меньшим шагом – верхний (второй) уровень.
Профиль поверхности (фиг.2), полученный по предлагаемому способу, состоит из двух уровней. Нижний уровень образуется вибронакатыванием шаром 10 низкочастотных синусоидальных канавок (радиус шара Rш=1,5…2,0 мм с усилием Рш=160÷500 Н, с частотой колебаний шара nдв.х=1400…2800 мин-1), при этом на поверхности создаются глубокие низкочастотные синусоидальные канавки 20 высотой R1=8…12 мкм с шагом Sm1=2…3,2 мкм.
Верхний уровень образуется на необработанных участках поверхности между низкочастотными синусоидальными канавками 20 нанесением высокочастотных синусоидальных канавок высотой R2=2…3,2 мкм с шагом Sm2=0,8…1,2 мкм индентором 9 Rинд=0,5…0,8 мм с усилием Ринд=80…250 Н, с частототой вращения изделия nизд=50…240 об/мин, с частотой колебаний двойных ходов nдв.х=1400…2800 мин-1, подачей инструмента вдоль оси детали S=0,05…0,8 мм/об.
В результате формируется поверхность с двухуровневым профилем регулярного микрорельефа по высоте и шагу, для которой характерно отсутствие остаточных напряжений растяжения, неравномерности наклепа и структурной неоднородности металла.
Пример осуществления способа
Вал 60 мм из материала 38ХНМЮА с исходной шероховатостью поверхности Rz=14 мкм, установленный в центрах токарного станка вращали со скоростью 120 об/мин. Обработку поверхностным пластическим деформированием осуществляли устройством при следующих режимах деформирования: шар Rш=1,8 мм, усилие Рш=300 Н, nдв.х.ч=1400 мин-1, алмазный индентор Rинд=0,6 мм, Ринд=160 Н, nдв.х=2800 мин-1 (частота двойных ходов шара и индентора зависит от параметров торцового кулачка 15), продольная подача инструментов S=0,6 мм/об.
В других примерах, осуществляемых, как описанный пример, меняли значения: Rш, Pш, Rинд, Ринд, nизд, nдв.х, S.
Результаты испытаний приведены в таблице, из которой видно, что предлагаемый способ обеспечивает увеличение микротвердости поверхности в среднем на 30÷50%, формирование в поверхностном слое по сравнению с прототипом остаточных напряжений сжатия в пределах 300…600 МПа, повышение сопротивления износу на 40% по сравнению с прототипом 18%; значения параметров шероховатости: опорная длина по средней линии tp увеличилась с 5…8% до 23…45%, опорная площадь Тр увеличилась с 7…13% до 36…68%.
| Таблица |
| № |
Свойства поверхностного слоя |
Ед. изм. |
Прототип |
Предлагаемый способ |
| 1. |
Микротвердость H  |
% |
100 |
130…150 |
| 2. |
Остаточные напряжения ост на участках |
МПа |
+20…+80 |
-300…-600 |
| |
профиля между накатанным шаром канавками |
|
|
|
| 3. |
Повышение сопротивления износу |
% |
18 |
40 |
| 4. |
Изменение параметров шероховатости: |
|
|
|
| |
опорная длина по средней линии, tp |
% |
5…8 |
23…45 |
| |
опорная площадь Tp |
% |
7…13 |
36…68 |
Формула изобретения
1. Способ формирования микрорельефа на поверхности детали, включающий осуществление вращения детали и подачи и формирование на ее поверхности двухуровневого регулярного микрорельефа, комбинированного по высоте путем вибронакатывания канавок шаром и индентором, при этом канавки, накатанные индентором, располагают между канавками, накатанными шаром, отличающийся тем, что канавки создают синусоидальными путем вибронакатывания шаром радиусом Rш=1,5-2,0 мм с усилием Рш=160-500 Н и индентором радиусом Rинд=0,5-0,8 мм с усилием Ринд=80-250 Н, причем канавки, накатанные индентором, формируют с меньшим шагом и меньшей высотой, чем канавки, накатанные шаром.
2. Способ по п.1, отличающийся тем, что деталь вращают с частотой nизд=50-240 об/мин, подачу осуществляют с S=0,05-0,8 мм/об, при этом используют устройство с торцовым кулачком, выполненным из условия осуществления колебаний двойных ходов с частотой nдв.х.=1400-2800 мин-1 для обеспечения колебательного движения упомянутых индентора и шара.
РИСУНКИ
MM4A – Досрочное прекращение действия патента СССР или патента Российской Федерации на изобретение из-за неуплаты в установленный срок пошлины за поддержание патента в силе
Дата прекращения действия патента: 08.06.2007
Извещение опубликовано: 27.01.2009 БИ: 03/2009
|
|