|
|
(21), (22) Заявка: 2005122398/02, 14.07.2005
(24) Дата начала отсчета срока действия патента:
14.07.2005
(46) Опубликовано: 20.04.2007
(56) Список документов, цитированных в отчете о поиске:
НАВРОЦКИЙ Г.А. Прессы-автоматы для холодной штамповки. – М.: Машгиз, 1956, с.251-255, фиг.130. SU 262607 А, 29.05.1970. US 3831411 А, 27.08.1974. CH 680115 А5, 30.06.1992.
Адрес для переписки:
103735, Москва, ул. Ильинка, 5/2, ООО “Союзпатент”, пат.пов. Ю.В.Облову, рег.№ 905
|
(72) Автор(ы):
ЧАНГ Юн-Тэ (TW)
(73) Патентообладатель(и):
ФВУ КУАНГ ЭНТЕРПРАЙСИЗ КО., ЛТД. (TW)
|
(54) ФОРМОВОЧНАЯ МАШИНА С УСОВЕРШЕНСТВОВАННЫМ МЕХАНИЗМОМ ПЕРЕДАЧИ
(57) Реферат:
Изобретение относится к обработке металлов давлением и может быть использовано в формовочных машинах. Машина включает штамповочное устройство, отрубной механизм для рубки исходного материала, передающее зажимное устройство, подающий и приводной механизмы, а также первый и второй передающие механизмы. Второй передающий механизм предназначен для привода подающего механизма и включает ведомое колесо с эксцентриковым пальцем и первый качающийся элемент. Эксцентриковый палец скользит относительно первого качающегося элемента при повороте ведомого колеса вместе с эксцентриковым пальцем. При этом происходит цикличное перемещение первого качающегося элемента вперед и назад. Цикл совпадает с поворотом эксцентрикового пальца. Ось поворота качающегося элемента расположена ниже оси ведомого колеса и выдвинута вперед для перемещения эксцентрикового пальца на первый угол 1 и на второй угол 2. При этом первый качающийся элемент перемещается назад для продвижения подающим механизмом исходного материала и вперед. Первый угол 1 меньше второго 2. В результате обеспечивается интенсификация работы формовочной машины. 3 з.п. ф-лы, 6 ил.
Область техники, к которой относится изобретение
Изобретение относится к формовочным машинам, а более конкретно к формовочным машинам для производства кованых изделий.
Уровень техники
Формовочные машины для производства кованых изделий, как правило, содержат подающий механизм для подачи проволоки к отрубному механизму для нарезки проволоки на куски, направляемые с помощью передающего зажимного устройства на штамповочное устройство. Формовочная машина имеет приводной механизм, приводящий в действие посредством первого передающего механизма отрубной механизм и передающее зажимное устройство, а посредством второго передающего механизма – подающий механизм.
Первый передающий механизм включает кулачковый механизм, содержащий кулачковые пластины для приведения в действие соответственно отрубного механизма и передающего зажимного устройства, при этом и отрубной механизм, и передающее зажимное устройство работают толчками, скачкообразно. Второй передающий механизм включает ведомую шестерню, приводимую в действие ведущей шестерней приводного механизма, а также кулису, связанную с ведомой шестерней и осуществляющую с ее помощью возвратно-поступательное движение. Подающий механизм выполнен с возможностью приведения в действие кулисой и предназначен для продвижения проволоки также толчками.
Такое толчковое продвижение проволоки подающим механизмом выбрано для того, чтобы чередоваться с отрубающим действием отрубного механизма и подающим действием передающего зажимного устройства. Для того чтобы осуществлять толчковое продвижение проволоки, кулиса второго передающего механизма перемещается вперед/назад посредством ведомой шестерни. При повороте ведомой шестерни на 180 градусов кулиса перемещается назад, при этом подающий механизм временно прекращает продвижение проволоки. В это время отрубной механизм и передающее зажимное устройство и осуществляют отрубание и перемещение соответственно. Таким образом, частота продвижения проволоки и ее отрубания и перемещения нарубленных отрезков определяется как 1:1.
Для интенсификации работы такой формовочной машины предпринимались попытки увеличения скорости вращения ведущей и ведомой шестерен. Однако это приводило к повышению скорости возвратно-поступательного движения кулачковых пластин, в результате чего росло число ударов между кулачковой пластиной и отрубным механизмом или перемещающим зажимным устройством. Увеличение скорости создавало тенденцию создания значительных вибраций формовочной машины, что увеличивало вероятность повреждения ее компонентов.
Раскрытие изобретения
Задачей настоящего изобретения является создание формовочной машины с усовершенствованными механизмами передачи подающего и отрубного механизмов и передающего зажимного устройства.
В соответствии с настоящим изобретением в формовочной машине, содержащей штамповочное устройство, отрубной механизм для рубки исходного материала, передающее зажимное устройство для подачи отрезков материала от отрубного механизма к штамповочному устройству, подающий механизм для продвижения исходного материала к отрубному механизму, приводной механизм и выполненные с возможностью приведения в действие посредством упомянутого приводного механизма первый передающий механизм, соединенный с отрубным механизмом и передающим зажимным устройством, и второй передающий механизм для привода подающего механизма, второй передающий механизм для привода подающего механизма включает ведомое колесо с аксиально выступающим из него эксцентриковым пальцем, выполненное с возможностью приведения в действие посредством приводного механизма, и первый качающийся элемент, соединенный с подающим механизмом и расположенный против ведомого колеса, эксцентриковый палец установлен с возможностью скольжения относительно первого качающегося элемента при повороте ведомого колеса вместе с эксцентриковым пальцем для обеспечения цикличного перемещения первого качающегося элемента вперед и назад, при этом цикл совпадает с поворотом эксцентрикового пальца, а ось поворота первого качающегося элемента расположена ниже оси ведомого колеса и выдвинута вперед относительно последнего из условия обеспечения перемещения эксцентрикового пальца на первый угол 1 и на второй угол 2 для осуществления за один цикл соответственно первого перемещения первого качающегося элемента назад для осуществления продвижения подающим механизмом исходного материала и второго перемещения первого качающегося элемента вперед, при этом первый угол 1 меньше второго угла 2.
Кроме того, первый качающийся элемент содержит продолговатую качающуюся пластину, расположенную против ведомого колеса, в которой выполнено продольное сквозное отверстии, при этом эксцентриковый палец соединен с возможностью скольжения со сквозным отверстием, а качающаяся пластина имеет ось поворота, параллельную оси ведомого колеса.
Качающаяся пластина содержит скользящий блок, размещенный с возможностью скольжения в сквозном отверстии, а эксцентриковый палец соединен со скользящим блоком.
Ведомое колесо выполнено в виде ведомой шестерни, приводимой в действие посредством приводного механизма.
Краткое описание чертежей
Признаки и преимущества изобретения очевидны из последующего подробного описания предпочтительных вариантов выполнения изобретения со ссылкой на прилагаемые чертежи, на которых показаны:
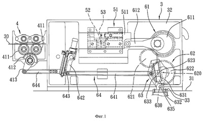
фиг.1 – вид спереди первого варианта выполнения настоящего изобретения;
фиг.2 – вид, согласно фиг.1, но с отведенной назад первой качающейся пластиной;
фиг.3 – вид в плане первого предпочтительного варианта выполнения изобретения;
фиг.4 – другой вид в плане первого предпочтительного варианта выполнения изобретения;
фиг.5 – первая качающаяся пластина и ведомая шестерня первого предпочтительного варианта выполнения; и
фиг.6 – вид спереди второго предпочтительного варианта выполнения изобретения.
Осуществление изобретения
Следует отметить, что одни и те же элементы конструкции обозначены одними и теми же ссылочными позициями в описании.
Как видно на фиг.1 машина согласно первому предпочтительному варианту выполнения изобретения содержит корпус 3 и расположенный в его передней части подающий механизм 4. В корпусе 3 расположен приводной механизм 61, первый передающий механизм 51, отрубной механизм 52, передающее зажимное устройство 53 и второй передающий механизм 62.
Корпус 3 имеет основание 31, от фронтальной к задней части указанного корпуса, остов 32 машины, смонтированный на основании 31 внутри корпуса 3 для установки ковочного механизма (не показан) и штамповочного устройства (не показано), и жестко закрепленную поворотную опору 33, установленную на основании 31 в левой части остова 32 машины.
Подающий механизм 4 предназначен для подачи исходного материала 30 (например, проволоки) спереди назад. Подающий механизм 4 содержит две верхние трансмиссионные шестерни 411, находящиеся в зацеплении с двумя нижними трансмиссионными шестернями 411, и секторную (выполненную в виде сектора) ведущую шестерню 412, находящуюся в зацеплении с нижними трансмиссионными шестернями 411. Верхние и нижние трансмиссионные шестерни соединены коаксиально и соответственно с четырьмя верхними и нижними подающими роликами (не показаны), между которыми зажимается подаваемый материал 30. Материал 30 в виде проволоки пропускается между верхними и нижними подающими роликами (не показано). Конструкции основания 31, остова 32 и подающего механизма 4 известны и поэтому подробно не описаны.
На фиг.2-4 показан отрубной механизм 52 и передающее зажимное устройство 53, предназначенные для нарезания исходного материала 30 и передачи отрезков исходного материала 30 к следующему этапу обработки, т.е. к штамповочному устройству (не показано). Отрубной механизм 52 расположен ниже передающего зажимного устройства 53. Первый передающий механизм 51 выполнен в виде кулачкового механизма, содержащего по существу вертикальную скользящую пластину 511, установленную с возможностью скольжения на остове 32 в направлении спереди назад, первую кулачковую пластину 512, установленную на скользящей пластине 511 против отрубного механизма 52, и вторую кулачковую пластину 516, установленную на скользящей пластине 511 над первой кулачковой пластиной 512 против передающего зажимного устройства 53. Первая и вторая кулачковые пластины 512 и 516 выполнены с возможностью приведения в действие отрубного механизма 52 и передающего зажимного устройства 53 соответственно.
Первая кулачковая пластина 512 имеет первый плоский участок 513 и второй плоский участок 515 и первую наклонную поверхность 514 между первым и вторым плоскими участками 513 и 515. Вторая кулачковая пластина 516 имеет участок выемки, образующий вторую наклонную поверхность 517, и третий и четвертый плоские участки 518, 519, образованные соответственно на двух сторонах второй наклонной поверхности 517. Поскольку конструкции первого передающего механизма 51, отрубного механизма 52 и передающего зажимного устройства 53 известны в данной области техники, для простоты их подробное рассмотрение опускается.
На фиг.5, а также на фиг.1 и 2 показан подключенный к источнику питания (не показан) приводной механизм 61, содержащий ведущую шестерню 611, и кривошип 612, имеющий передний конец, соединенный с вертикальной скользящей пластиной 511 первого передающего механизма 51, и задний конец, эксцентрично соединенный с возможностью вращения с ведущей шестерней 611 так, что кривошип 612 приводится от приводной шестерни 611 и сообщает скользящей пластине 511 возвратно-поступательное движение.
Второй передающий механизм 62 содержит реверсивную шестерню 621, введенную в зацепление с ведущей шестерней 611, ведомое колесо в виде ведомой шестерни 622, введенной в зацепление с реверсивной шестерней 621, эксцентриковый палец 623, соединенный эксцентрично с ведомой шестерней 622, первый качающийся элемент 63, соединенный с эксцентриковым пальцем 623, и устройство возвратно-поступательного движения 64, соединенное с первым качающимся элементом 63.
Устройство возвратно-поступательного движения 64 содержит первый соединительный шток 641, соединенный с первым качающимся элементом 63, устройство регулирования длины 642, установленное с возможностью перемещения на остове 32 машины и соединенное с первым соединительным штоком 641, и второй соединительный шток 644, соединенный с устройством регулирования длины 642. Устройство регулирования длины 642 имеет продолговатое регулировочное отверстие 643. Соединительный конец второго соединительного штока 644 соединен с возможностью скольжения с регулировочным отверстием 643. Передний конец второго соединительного штока 644 соединен со вторым качающимся элементом 413. Второй качающийся элемент 413 расположен коаксиально с секторным приводным колесом 412 для обеспечения синхронного движения. Положение соединительного конца второго соединительного штока 644 в регулировочном отверстии 643 может изменяться для регулировки общей длины устройства возвратно-поступательного движения (сумма длин первого и второго соединительных штоков 641, 644 плюс длина части устройства регулировки длины 642). Угол поворота второго качающегося элемента 413 может меняться для обеспечения регулировки длины исходного материала 30, продвигаемого подающим механизмом 4.
Когда нижний конец устройства регулировки длины 642 поворачивается назад первым соединительным штоком 641, секторное приводное колесо 412 поворачивается против часовой стрелки так, что подающие ролики (не показаны), соединенные с трансмиссионной шестерней 411, поворачиваются и продвигают исходный материал 30.
Первый качающийся элемент 63 содержит продолговатую качающуюся пластину 631, нижний конец которой соединен с возможностью поворота с поворотной опорой 33 для обеспечения поворота вокруг оси поворота 635. Ось поворота 635 по существу параллельна оси ведомой шестерни 622, а качающаяся пластина 631 располагается против ведомой шестерни 622. В качающейся пластине 631 выполнено продольное сквозное отверстие 632, в этом сквозном отверстии 632 установлен скользящий блок 633, способный совершать скользящее перемещение вдоль длины сквозного отверстия 632. Эксцентриковый палец 623 ведомой шестерни 622 соединен с возможностью поворота со скользящим блоком 633. Первый соединительный шток 641 соединен с возможностью поворота с качающейся пластиной 631.
В рабочем состоянии, когда ведущая шестерня 611 приводного механизма 61 поворачивается против часовой стрелки, кривошип 612 перемещает скользящую пластину 511 вперед так, что отрубной механизм 52 и передающее зажимное устройство 53 приводятся в действие. Одновременно реверсивная шестерня 621 перемещается по часовой стрелке, а ведомая шестерня 622 поворачивается против часовой стрелки. Эксцентриковый палец 623 поворачивается вокруг оси 620 ведомой шестерни 622 и перемещает скользящий блок 633. Скользящий блок 633 скользит внутри сквозного отверстия 632 качающейся пластины 631. При перемещении скользящего блока 633 качающаяся пластина 631 первого качающегося элемента 63 отклоняется вперед в первое положение, как показано на фиг.4, и назад во второе положение, как показано на фиг.5.
Поскольку первый качающийся элемент поворачивается вокруг оси 630 поворота, расположенной ниже оси 620 ведомой шестерни 622 и поскольку положение оси поворота 630 первого качающегося элемента 63 более выдвинуто вперед, чем у оси 620 ведомой шестерни 622 (т.е. ось поворота 630 не находится по вертикали на одной линии с осью 620 и выдвинута вперед относительно вертикали) угол поворота 1 эксцентрикового пальца 623, поворачивающегося против часовой стрелки и назад с тем, чтобы придать качающееся движение первому качающемуся элементу 63 от первого положения (фиг.1) ко второму положению (фиг.2), составляет менее 180 градусов. Когда первый качающийся элемент 63 поворачивается назад ко второму положению, как показано на фиг.2, он тянет первый соединительный шток 641 назад так, что нижний конец регулировочного элемента 42 перемещается назад. Второй качающийся элемент 413 поворачивает секторную ведомую шестерню 412 подающего механизма 4 против часовой стрелки, при этом подающий механизм 4 продвигает исходный материал 30. Кривошип 612 первого механизма передачи 61 тянет скользящую пластину 511 назад так, что отрубной механизм 52 не отрезает материал 30 в виде проволоки, а передающее зажимное устройство 53 не передает отрубленные отрезки исходного материала 30.
При перемещении первого качающегося элемента 63 от второго положения к первому положению эксцентриковый палец 623 совершает поворот против часовой стрелки на угол 2, равный (360 градусов – 1), очевидно больший 180 градусов. При этом подающий механизм 4 не продвигает исходный материал 30. Однако первый передающий механизм 51 перемещает скользящую пластину 511 вперед и приводит в действие отрубной механизм 52 и передающее зажимное устройство 53 с тем, чтобы отрубить исходный материал 30 и подать отрезки материала 30 к штамповочному устройству (не показано) соответственно.
Как упоминалось выше, когда эксцентриковый палец 623 поворачивается вместе с ведомой шестерней 622, первый качающийся элемент 63 приводится в качательное движение эксцентриковым пальцем 623 и первый качающийся элемент 63 перемещается циклично, туда и обратно, при этом каждый цикл завершается с каждым оборотом эксцентрикового пальца 623. Первый качающийся элемент 63 осуществляет первое ударное движение (из первого положения во второе положение первого качающегося элемента 63) и второе ударное движение (от второго положения к первому положению) за один цикл его циклического движения. Эксцентриковый палец 623 поворачивается на первый угол 1 для первого ударного движения первого качающегося элемента 63 и на второй угол 2 для второго ударного движения. Первый угол 1 меньше, чем второй угол 2.
В данном варианте выполнения изобретения 1 равен 140 градусам, а 2 равен 220 градусам. Таким образом, эксцентриковый палец 623 ведомой шестерни 622 поворачивается против часовой стрелки на угол 140 градусов для приведения в действие подающего механизма 4 с тем, чтобы один раз продвинуть исходный материал 30. Поскольку время, необходимое для поворота эксцентрикового пальца на 140 градусов меньше, чем на 220 градусов, то соответственно время, требуемое для продвижения исходного материала 30 подающим механизмом 4 меньше, чем время, требуемое для его остановки. Следовательно, время, предоставляемое отрубному механизму 52 и передающему зажимному приспособлению 53 для осуществления их функций нарезания и доставки может быть увеличено.
Рассмотрим фиг.2-4. Поскольку время, необходимое для приведения в действие отрубного механизма 52 и передающего зажимного устройства 53 увеличено, первая и вторая наклонные поверхности 514, 517 первой и второй кулачковой пластин 512, 516 могут быть увеличенной длины для сокращения углов их наклона, что уменьшит тем, самым нагрузку, действующую на первую и вторую кулачковые пластины 512, 516, когда они выполняют функцию кулачка. Поэтому можно понизить вибрацию, когда для повышения производительности формовочной машины сообщают большую скорость ведущей шестерне 611.
На фиг.6 показан второй предпочтительный вариант выполнения изобретения. Согласно данному предпочтительному варианту подающий механизм 4 содержит верхнюю секторную ведомую шестерню 411′ и нижнюю секторную ведущую шестерню 412, которые зацеплены друг с другом и соединены коаксиально с парами подающих роликов (не показаны), зажимающими между собой исходный материал 30 для осуществления его продвижения. При повороте нижней секторной шестерни по часовой стрелке исходный материал 30 продвигается к отрубном механизму 52.
В данном варианте выполнения для осуществления продвижения материала 30 направление поворота секторной ведущей шестерни 412 противоположно направлению согласно первому предпочтительному варианту выполнения. Более того, направление поворота ведомой шестерни 622′, приводящей в действие первый качающийся элемент 63, противоположно направлению поворота ведомой шестерни 622, согласно первому предпочтительному варианту. Здесь не предусмотрена реверсивная шестерня, и ведомая шестерня 622′ находится в непосредственном зацеплении с ведущей шестерней 611. Таким образом, при повороте ведущей шестерни 611 против часовой стрелки ведомая шестерня 622′ поворачивается по часовой стрелке.
Первый качающийся элемент 63 содержит продолговатую качающуюся пластину 631. Эксцентриковый палец 623 ведомой шестерни 622′ соединен через сквозное отверстие 632 качающейся пластины 631 непосредственно со скользящим блоком 633. Нижний конец качающейся пластины 631 присоединен с возможностью поворота непосредственно к левой стороне остова 32. Элемент регулирования длины 642 жестко присоединен непосредственно к передней стороне качающейся пластины 631 так, что элемент регулирования длины 642 совершает качательное движение синхронно с качающейся пластиной 631.
Поэтому, когда ведущая шестерня 611 поворачивает ведомую шестерню 622′ по часовой стрелке, качающаяся пластина 631 перемещается от первого положения во второе положение, и секторная ведущая шестерня 412 поворачивается против часовой стрелки так, что подающий механизм 4′ не продвигает исходный материал 30. В это время отрубной механизм 52 и передающее зажимное устройство 53 приводятся в действие для осуществления соответствующих функций отрезания и передачи. При продолжении вращения ведомой шестерни 622′ качающаяся пластина 631 перемещается из второго положения в первое положение, и секторная ведущая шестерня 412 поворачивается по часовой стрелке, при этом осуществляется продвижение исходного материала 30. В этом варианте ось поворота 630 качающейся пластины 631 также вынесена вперед относительно оси 620′ ведомой шестерни 622′.
Формула изобретения
1. Формовочная машина, содержащая штамповочное устройство, отрубной механизм (52) для рубки исходного материала, передающее зажимное устройство (53) для подачи отрезков материала (30) от отрубного механизма (52) к штамповочному устройству, подающий механизм (4, 4′) для продвижения исходного материала к отрубному механизму (52), приводной механизм (61) и выполненные с возможностью приведения в действие посредством упомянутого приводного механизма (61) первый передающий механизм (51), соединенный с отрубным механизмом (52) и передающим зажимным устройством (53), и второй передающий механизм (62) для привода подающего механизма (4, 4′), отличающаяся тем, что второй передающий механизм (62) для привода подающего механизма (4, 4′) включает ведомое колесо (622, 622′) с аксиально выступающим из него эксцентриковым пальцем (623), выполненное с возможностью приведения в действие посредством приводного механизма (61), и первый качающийся элемент (63), соединенный с подающим механизмом (4, 4′) и расположенный против ведомого колеса (622, 622′), эксцентриковый палец (623) установлен с возможностью скольжения относительно первого качающегося элемента (63) при повороте ведомого колеса (622, 622′) вместе с эксцентриковым пальцем (623) для обеспечения цикличного перемещения первого качающегося элемента (63) вперед и назад, при этом цикл совпадает с поворотом эксцентрикового пальца (623), а ось поворота первого качающегося элемента (63) расположена ниже оси ведомого колеса (622, 622′) и выдвинута вперед относительно последнего из условия обеспечения перемещения эксцентрикового пальца (623) на первый угол 1 и на второй угол 2 для осуществления за один цикл, соответственно, первого перемещения первого качающегося элемента (63) назад для осуществления продвижения подающим механизмом (4, 4′) исходного материала и второго перемещения первого качающегося элемента (63) вперед, при этом первый угол 1 меньше второго угла 2.
2. Машина по п.1, отличающаяся тем, что первый качающийся элемент (63) содержит продолговатую качающуюся пластину (631), расположенную против ведомого колеса (622, 622′), в которой выполнено продольное сквозное отверстие (632), при этом эксцентриковый палец (623) соединен с возможностью скольжения со сквозным отверстием (632), а качающаяся пластина (631) имеет ось поворота (630), по существу параллельную оси (620, 620′) ведомого колеса (622, 622′).
3. Машина по п.2, отличающаяся тем, что качающаяся пластина (631) содержит скользящий блок (633), размещенный с возможностью скольжения в сквозном отверстии (632), а эксцентриковый палец (623) соединен со скользящим блоком (633).
4. Машина по п.2, отличающаяся тем, что ведомое колесо (622, 622′) выполнено в виде ведомой шестерни, приводимой в действие посредством приводного механизма (61), а второй передающий механизм (62) содержит устройство возвратно-поступательного движения (64), соединенное с первым качающимся элементом (63) и подающим механизмом (4, 4′).
5. Машина по п.4, отличающаяся тем, что приводной механизм (61) содержит ведущую шестерню (611) для приведения в действие ведомой шестерни (622, 622′) и кривошип (612), соединенный с ведущей шестерней (611) и первым передающим механизмом (51).
РИСУНКИ
|
|