|
|
(21), (22) Заявка: 2004114339/11, 11.05.2004
(24) Дата начала отсчета срока действия патента:
11.05.2004
(30) Конвенционный приоритет:
09.05.2003 (пп.1-18) DE 20307314.2
(43) Дата публикации заявки: 27.10.2005
(46) Опубликовано: 20.04.2007
(56) Список документов, цитированных в отчете о поиске:
US 2001/0039718 A1, 15.11.2001. SU 1623855 A1, 30.01.1991. RU 2133897 C1, 27.07.1999. EP 0454890 A1, 06.11.1991. SU 1618626 A1, 07.01.1991.
Адрес для переписки:
103735, Москва, ул. Ильинка, 5/2, ООО “Союзпатент”, пат.пов. Ю.В.Пинчуку, рег. № 656
|
(72) Автор(ы):
ЗОЛЬФРОНК Антонин (CZ)
(73) Патентообладатель(и):
МС ГЕРЭТЕБАУ ГМБХ (DE)
|
(54) ПЕРЕДНЯЯ ГИЛЬЗА УСТАНОВОЧНОГО ИНСТРУМЕНТА И УСТАНОВОЧНЫЙ ИНСТРУМЕНТ
(57) Реферат:
Изобретение относится к установочным инструментам. Передняя гильза для ограждения тягового устройства и/или связанных с тяговым устройством деталей установочного инструмента, предназначенного для установки деталей, в частности заклепок, содержит устройство для измерения растягивающего напряжения, а также первую деталь, выполненную с возможностью соединения с корпусом установочного инструмента, вторую деталь, закрепленную на первой детали подвижно в направлении тягового усилия, третью деталь, которая размещена между первой и второй деталью и снабжена упомянутым устройством для измерения растягивающего напряжения. Установочный инструмент для установки деталей, например заклепок, содержит устройство для приема устанавливаемой детали, устройство для захвата устанавливаемой детали, тяговое устройство, связанное с устройством для захвата устанавливаемой детали, упомянутую переднюю гильзу для укрытия кожухом тягового устройства и/или соединенных с тяговым устройством деталей. В результате имеется возможность контроля заклепочных соединений в процессе установки заклепок, при этом устройство для такого контроля является простым в подналадке и техобслуживании. 2 н. и 16 з.п. ф-лы, 4 ил.
Изобретение относится к передней гильзе установочного инструмента, предназначенного для установки деталей, преимущественно заклепок, и относится, в частности, к передней гильзе, имеющей устройство для измерения растягивающих напряженки.
Заклепочные соединения находят разнообразное применение в промышленном производстве для соединения деталей и узлов. В частности, в автомобильной и авиационной промышленности в аспекте безопасности предъявляются высокие требования к стойкости узлов и их способности выдерживать длительную нагрузку. Причем стойкость заклепочного соединения в решающей степени зависит от протекания процесса клепки. Например, в случае преждевременного обрыва штифта глухой заклепки прочность и долговечность заклепочного соединения подвергаются опасности или, по меньшей мере, являются неоптимальными. Аналогично дело обстоит, например, в том случае, когда глухая заклепка вставлена в отверстие металлических листов неровно, или неоптимально подогнано отверстие под заклепку. Последнее имеет место, например, в случае некруглых отверстий или отверстий с неподходящим диаметром.
С помощью известных установочных инструментов установку заклепок производят с предварительно настроенными параметрами, такими, например, как применяемое тяговое усилие. При оптимальных условиях процесс установки заклепок с использованием такого инструмента может также давать оптимальный результат, однако при этом отсутствует возможность обнаружения отклонений от заданных параметров, влияющих на прочность соединения. Это особенно важно потому, что дефектное заклепочное соединение при внешней проверке вполне может производить впечатление правильно установленной глухой заклепки или заклепочной гайки. Подобные дефектные соединения негативно сказываются на качестве изготавливаемых с их помощью узлов, а в областях, чувствительных с точки зрения безопасности, например в авиастроении, они могут иметь даже фатальные последствия.
Из ЕР 0454890 известен инструмент для установки заклепок, снабженный динамометрическим устройством, которое обеспечивает работу инструмента с заданным тяговым усилием. При этом динамометрическое устройство установлено в тяговом механизме инструмента. Недостаток здесь состоит в том, что подналадку существующих инструментов с таким динамометрическим устройством производить сложно. В этой конструкции также невозможно осуществлять простую замену динамометрического устройства в случае его выхода из строя или в целях техобслуживания.
Из US 2001/0039718 известна конструкция для ограждения тягового устройства и/или связанных с тяговым устройством деталей установочного инструмента, предназначенного для установки деталей, в частности, заклепок. Однако указанная конструкция чрезвычайно сложна в подналадке и техобслуживании.
В основу изобретения поставлена задача создания устройства для контроля заклепочных соединений в процессе установки заклепок, которое было бы простым в подналадке и техобслуживании. Неожиданно эта задача предельно простым образом решается посредством передней гильзы для ограждения тягового устройства и/или связанных с тяговым устройством деталей установочного инструмента, предназначенного для установки деталей, в частности заклепок, которая согласно изобретению содержит устройство для измерения растягивающего напряжения, а также содержит первую деталь, выполненную с возможностью соединения с корпусом установочного инструмента, вторую деталь, закрепленную на первой детали подвижно в направлении тягового усилия, третью деталь, которая размещена между первой и второй деталью и снабжена упомянутым устройством для измерения растягивающего напряжения.
Устройство для измерения растягивающего напряжения позволяет определять и обрабатывать измеренные значения этого напряжения. Оказалось, что измерение характеристики растягивающего напряжения во время установочного цикла дает подробную информацию о ходе процесса установки и позволяет, в частности, на основе характеристики растягивающего напряжения обнаруживать дефектные установочные процессы.
Передняя гильза установочного инструмента образует соединение между корпусом и мундштуком, причем мундштук представляет собой ту деталь, которая является приемной для устанавливаемой детали. Между мундштуком и передней гильзой может быть предусмотрена дополнительная промежуточная вставка. Передняя гильза образует, таким образом, укрывающий кожух для тягового устройства и/или связанных с тяговым устройством деталей установочного инструмента. Эти связанные детали могут представлять собой, например, зажимную втулку или оправку с резьбой.
Предпочтительно, чтобы передняя гильза содержала, по меньшей мере, две детали, причем одна деталь снабжена устройством для измерения растягивающего напряжения.
Особенно предпочтительно, в частности, в целях замены или техобслуживания, чтобы деталь, снабженная устройством для измерения растягивающего напряжения, была соединена с возможностью разъема, по меньшей мере, с еще одной деталью передней гильзы.
Предпочтительная конструкция передней втулки содержит, по меньшей мере, три детали, из которых первая деталь выполнена с возможностью соединения с корпусом установочного инструмента. Вторая деталь выполнена с возможностью установки на первой детали, в результате чего первая и вторая детали являются подвижными относительно друг друга в направлении тягового усилия. Третья деталь, снабженная устройством для измерения растягивающего напряжения, установлена между первой и второй деталью.
Можно простым способом измерять растягивающее напряжение косвенно посредством датчика давления, измеряющего, например, противодействующее усилие, оказываемое через тяговое устройство на переднюю гильзу установочного инструмента.
Предпочтительная форма выполнения предложенной согласно изобретению передней гильзы включает устройство для измерения растягивающего напряжения, имеющее, по меньшей мере, одну тензометрическую полоску (ТМП).
ТМП являются резистивными датчиками, то есть работают по принципу изменения сопротивления растягиваемой проволоки или металлической фольги. Тензометрическая полоска благодаря своей конструктивной прочности и большому числу возможных изменений нагрузки особенно пригодна для использования в промышленной измерительной технике. Другие преимущества ТМП заключаются в низком гистерезисе, незначительной температурной зависимости и небольшой собственной массе.
Размещение тензометрической полоски, а также ее подсоединение, в частности, для компенсации температурных влияний, известны специалисту. Для крепления можно использовать, например, быстро затвердевающий клей, обладающий термостабильностью, изоляционной прочностью и упругостью после растяжения. Для измерения изменений величины сопротивления ТМП могут применяться мостовые схемы, в частности, схемы Уитстона. При этом ввиду незначительных напряжений предпочтительно использовать измерительный усилитель.
Следующая форма выполнения предусматривает такую переднюю гильзу, у которой устройство для измерения растягивающего напряжения имеет, по меньшей мере, один пьезоэлектрический датчик.
Пьезоэлектрический датчик является недорогим, дает точные результаты измерений и может размещаться в минимальном пространстве. Кроме того, такой датчик подает сигнал напряжения. Здесь, в отличие от ТМП, подводить напряжение не требуется.
Предпочтительно, чтобы устройство для измерения растягивающего напряжения было выполнено с возможностью подсоединения к устройству для регистрации и обработки измеренных значений растягивающего напряжения, которое, например, может содержать вышеупомянутую мостовую схему.
Поставленная задача решается также посредством установочного инструмента для установки деталей, например заклепок, содержащего устройство для приема устанавливаемой детали, устройство для захвата устанавливаемой детали, тяговое устройство, связанное с устройством для захвата устанавливаемой детали, переднюю гильзу для укрытия кожухом тягового устройства и/или соединенных с тяговым устройством деталей, в котором согласно изобретению передняя гильза содержит устройство для измерения растягивающего напряжения, а также первую деталь, выполненную с возможностью соединения с корпусом установочного инструмента, вторую деталь, закрепленную на первой детали подвижно в направлении тягового усилия, третью деталь, которая размещена между первой и второй деталью и снабжена упомянутым устройством для измерения растягивающего напряжения.
Изобретение пригодно для всех типов инструментов для обработки и установки заклепок, в том числе, например, инструментов для установки глухих заклепок, инструментов для установки заклепочных гаек или инструментов для установки штырей замыкающих колец.
Для промышленного применения предпочтительными являются, в частности, тяговые устройства с гидравлическим приводом, при помощи которых могут проводиться быстрые установочные циклы с воспроизводимыми установочными параметрами. Однако изобретение охватывает также и электрические, электрогидравлические и гидропневматические тяговые устройства. Среди электрических тяговых устройств особенно предпочтительным является бескабельное устройство с интегрированным аккумулятором.
В одной из форм выполнения предложенного в изобретении установочного инструмента устройство для измерения растягивающего напряжения, создаваемого тяговым устройством, содержит тензометрическую полоску.
Однако в рамках изобретения предусматривается применение и других датчиков давления, например, пьезоэлектрических датчиков.
Для регистрации и обработки измеренных значений, полученных в устройстве для измерения растягивающего напряжения, в установочном инструменте предпочтительно разместить соответствующее устройство. Кроме того, в установочном инструменте может быть предусмотрен счетчик, подсчитывающий установочные циклы. С помощью счетчика, который на основании измеренных значений растягивающего напряжения записывает количество произведенных установочных циклов, можно, например, контролировать интервалы техобслуживания. Дополнительно счетчик может использоваться для контроля возможных пропусков заклепок, что, прежде всего, касается крупных узлов с большим количеством заклепок.
Устройство для обработки и регистрации может также содержать устройство регистрации даты и/или времени суток. Устройство регистрации даты позволяет, например, контролировать гарантийные сроки и сроки техобслуживания. Устройство может иметь такое выполнение, при котором регистрация даты начинается после некоторого количества установочных циклов, что дает возможность перед началом регистрации даты производить, например, пробные циклы. Благодаря дополнительной регистрации времени суток можно, к примеру, проследить, когда проводились дефектные установочные циклы.
Измеренные значения растягивающего напряжения и/или показания счетчика через соответствующее устройство передачи измеренных значений растягивающего напряжения могут передаваться во внешний блок. Этот блок может представлять собой, например, вычислительную машину для обработки данных и/или управления. При этом передача сигналов может осуществляться предпочтительно с помощью устройства для передачи инфракрасных, ультразвуковых или радиосигналов.
Предпочтительным является то, что внешний блок включает в себя вычислительный блок.
Целесообразным является то, что внешний блок содержит оконечное устройство мобильной радиосвязи. Данные могут также передаваться через мобильную радиосеть в оконечное устройство мобильной радиосвязи. Это позволяет, например, в целях дистанционной диагностики при дефектном функционировании инструмента передавать данные непосредственно в отдел техобслуживания или изготовителю. Благодаря этому изготовитель имеет возможность контролировать соблюдение требуемых интервалов техобслуживания.
Предпочтительно, чтобы устройство для захвата устанавливаемой детали содержало зажимные губки, приводимые в действие через патрон, связанный с ходовым валиком. Растягивающее напряжение передается при этом через ходовой валик.
Для быстрого распределения данных по нескольким внешним блокам для их обработки установочный инструмент может быть также снабжен устройством для подключения к локальной сети.
Предпочтительно, чтобы установочный инструмент содержал устройство для его отключения и срабатывал по сигналу, который генерируется в случае дефектного установочного процесса. При этом такой сигнал может генерироваться и внешним блоком.
Изобретение более подробно поясняется ниже с помощью предпочтительных примеров выполнения со ссылками на прилагаемые чертежи, при этом на отдельных чертежах одинаковые позиции относятся к одинаковым или аналогичным элементам.
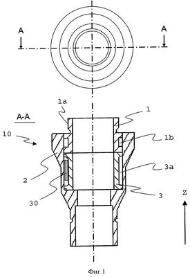
Фиг.1 показывает схематичный вид в поперечном сечении формы выполнения передней гильзы согласно изобретению.
Фиг.2 – схематичное изображение в перспективе формы выполнения передней гильзы согласно изобретению.
Фиг.3 – схематичное изображение в перспективе другой формы выполнения передней гильзы согласно изобретению.
Фиг.4 – схематичное изображение установочного инструмента согласно изобретению.
Фиг.1 показывает схематично вид в поперечном сечении формы выполнения предложенной согласно изобретению передней гильзы 10. Ось сечения А-А проходит через центр детали. Передняя гильза 10 содержит в этой форме выполнения в целом три детали 1, 2 и 3. Первая деталь 1 служит для соединения передней гильзы 10 с установочным инструментом. Для этого указанная первая деталь 1 с наружной стороны 1а может иметь резьбу. Вторая деталь 2 передней гильзы соединена с первой деталью 1. Между первой и второй деталью установлена третья деталь 3 передней гильзы. Третья деталь 3 предпочтительно вставлена во вторую деталь 2 по точной посадке. Третья деталь имеет с наружной стороны углубление 3а, в котором на этой детали 3 закреплена тензометрическая полоска 30. Тензометрическая полоска закреплена на третьей детали предпочтительно таким образом, чтобы она не соприкасалась с внутренней стенкой второй детали, что предотвращает повреждение тензометрической полоски.
Поскольку тензометрическая полоска служит для измерения растягивающего напряжения, которому подвержена передняя гильза 10, первая деталь 1 и вторая деталь 2 передней гильзы соединены между собой подвижно относительно друг друга в направлении тягового усилия. В виде примера это может быть достигнуто за счет соединения обеих деталей, например, тремя винтами, каждый из которых проходит перпендикулярно направлению тягового усилия Z по резьбе через первую деталь и упирается в углубление 1b с наружной стороны первой детали 1.
На фиг.2 схематично изображена в перспективе показанная на фиг.1 и описанная выше передняя гильза 10.
Для различных целей применения, как правило, используются различные установочные инструменты. Кроме того, на тяговом устройстве может быть закреплена, например, оправка с резьбой для установки заклепочных гаек или зажимная втулка для установки глухих заклепок. Это также требует различных форм выполнения передней гильзы.
На фиг.3 в качестве примера схематично изображена в перспективе другая форма выполнения 11 передней гильзы. Передняя гильза согласно изобретению в зависимости от цели применения может иметь различную форму или различные размеры.
Фиг.4 показывает схематично вид в поперечном сечении предложенного в изобретении установочного инструмента, предназначенного в этой форме выполнения для установки глухих заклепок; с ее помощью может быть пояснен принцип измерения растягивающего напряжения. При помощи пускового устройства 70, приводимого в действие вручную, внутри установочного инструмента запускается тяговое устройство, принцип действия которого поясняется ниже. В установочном инструменте 40 размещен гидроцилиндр 50. В цилиндре 50 движется гидравлический поршень, на котором закреплен ходовой винт 54, передающий развиваемое поршнем усилие на закрепленный на указанном винте патрон 56. Если поршень развивает усилие в направлении стрелки, когда в участок 51 цилиндра нагнетается соответствующая гидрожидкость, зажимные губки 58 сжимаются движущимся назад патроном 56 вплоть до захвата и зажима находящегося между ними заклепочного штифта. Затем зажимные губки тянут назад заклепочный штифт до тех пор, пока не произойдет его отрыв от головки заклепки, прилегающей к мундштуку 60.
Тяговое усилие, действующее через патрон 56, оказывает давление на переднюю гильзу 10. Деталь 1 передней гильзы 10, закрепленная на корпусе установочного инструмента, соединена со второй деталью 2 передней гильзы 10, причем обе детали 1 и 2 подвижны относительно друг друга в направлении тягового усилия. Поэтому давление передается непосредственно на третью деталь 3 передней гильзы, установленную между описанными двумя деталями 1 и 2. Вызванное указанным давлением относительное сжатие этой третьей детали 3 может быть измерено посредством жестко закрепленной на ней тензометрической полоски 30.
Для регистрации и обработки измеренных значений тензометрическая полоска 30 соединена в этом примере выполнения с соответствующим, интегрированным в установочный инструмент устройством 80 посредством, по меньшей мере, одного двухжильного кабеля. В качестве альтернативы тензометрическая полоска может соединяться также с интегрированным в установочный инструмент устройством для подключения внешнего устройства обработки данных.
Формула изобретения
1. Передняя гильза (10) для ограждения тягового устройства и/или связанных с тяговым устройством деталей установочного инструмента, предназначенного для установки деталей, в частности, заклепок, отличающаяся тем, что содержит устройство для измерения растягивающего напряжения, а также содержит первую деталь (1), выполненную с возможностью соединения с корпусом установочного инструмента, вторую деталь (2), закрепленную на первой детали подвижно в направлении тягового усилия, третью деталь (3), которая размещена между первой и второй деталью и снабжена упомянутым устройством для измерения растягивающего напряжения.
2. Передняя гильза по п.1, отличающаяся тем, что устройство измерения растягивающего напряжения содержит, по меньшей мере, одну тензометрическую полоску (30).
3. Передняя гильза по п.1, отличающаяся тем, что устройство измерения растягивающего напряжения содержит, по меньшей мере, один пьезоэлектрический датчик.
4. Передняя гильза по п.1, отличающаяся тем, что устройство измерения растягивающего напряжения выполнено с возможностью подсоединения к устройству (80) для регистрации и обработки измеренных значений растягивающего напряжения.
5. Установочный инструмент (40) для установки деталей, например заклепок, содержащий устройство (60) для приема устанавливаемой детали, устройство (58) для захвата устанавливаемой детали, тяговое устройство (54, 52), связанное с устройством для захвата устанавливаемой детали, переднюю гильзу (10) для укрытия кожухом тягового устройства (54) и/или соединенных с тяговым устройством деталей (56), отличающийся тем, что передняя гильза содержит устройство для измерения растягивающего напряжения, а также первую деталь (1), выполненную с возможностью соединения с корпусом установочного инструмента, вторую деталь (2), закрепленную на первой детали подвижно в направлении тягового усилия, третью деталь (3), которая размещена между первой и второй деталью и снабжена упомянутым устройством для измерения растягивающего напряжения.
6. Установочный инструмент по п.5, отличающийся тем, что тяговое устройство имеет электрический, в частности, от аккумулятора, электрогидравлический, гидравлический или гидропневматический привод.
7. Установочный инструмент по п.6, отличающийся тем, что устройство для измерения создаваемого тяговым устройством растягивающего напряжения содержит тензометрическую полоску (30).
8. Установочный инструмент по п.6, отличающийся тем, что устройство для измерения создаваемого тяговым устройством растягивающего напряжения содержит пьезоэлектрический датчик.
9. Установочный инструмент по п.6, отличающийся тем, что содержит устройство (80) для регистрации и обработки измеренных значений растягивающего напряжения.
10. Установочный инструмент по п.9, отличающийся тем, что устройство для регистрации и обработки измеренных значений растягивающего напряжения содержит счетчик, производящий подсчет установочных циклов.
11. Установочный инструмент по п.9, отличающийся тем, что устройство для регистрации и обработки измеренных значений растягивающего напряжения содержит устройство регистрации даты и/или времени суток.
12. Установочный инструмент по п.6, отличающийся тем, что содержит устройство передачи измеренных значений растягивающего напряжения во внешний блок.
13. Установочный инструмент по п.12, отличающийся тем, что устройство передачи измеренных значений растягивающего напряжения содержит устройство для передачи инфракрасных, ультразвуковых или радиосигналов.
14. Установочный инструмент по п.12 или 13, отличающийся тем, что внешний блок включает в себя вычислительный блок.
15. Установочный инструмент по п.14, отличающийся тем, что внешний блок содержит оконечное устройство мобильной радиосвязи.
16. Установочный инструмент по п.6, отличающийся тем, что содержит устройство для подключения к локальной сети.
17. Установочный инструмент по п.6, отличающийся тем, что содержит устройство для отключения установочного инструмента при срабатывании по сигналу, который генерируется в случае дефектного установочного процесса.
18. Установочный инструмент по п.17, отличающийся тем, что сигнал генерируется внешним блоком.
РИСУНКИ
|
|