|
|
(21), (22) Заявка: 2005138622/02, 12.12.2005
(24) Дата начала отсчета срока действия патента:
12.12.2005
(46) Опубликовано: 20.04.2007
(56) Список документов, цитированных в отчете о поиске:
SU 1260056 A1, 30.09.1986. RU 2074547 C1, 27.02.1997. CH 578381 A, 13.08.1976.
Адрес для переписки:
454080, г.Челябинск, пр. им. В.И. Ленина, 76, ЮУрГУ, технический отдел
|
(72) Автор(ы):
Баричко Борис Владимирович (RU), Выдрин Александр Владимирович (RU)
(73) Патентообладатель(и):
ГОСУДАРСТВЕННОЕ ОБРАЗОВАТЕЛЬНОЕ УЧРЕЖДЕНИЕ ВЫСШЕГО ПРОФЕССИОНАЛЬНОГО ОБРАЗОВАНИЯ “ЮЖНО-УРАЛЬСКИЙ ГОСУДАРСТВЕННЫЙ УНИВЕРСИТЕТ” (RU)
|
(54) СПОСОБ ВОЛОЧЕНИЯ ПРЯМОУГОЛЬНЫХ ПРОФИЛЕЙ В РОЛИКОВОЙ ВОЛОКЕ
(57) Реферат:
Способ предназначен для уменьшения нестабильности размеров поперечного сечения профиля при производстве волочением прутков прямоугольного сечения. Волочение производят в роликовой волоке со смещенными по оси волочения парами роликов, имеющих гладкую рабочую поверхность. Соблюдением соотношения относительных обжатий в парах роликов, регламентированного математической зависимостью, в диапазоне 0,4…1,0 достигаются значительные колебания свободного уширения. Уменьшение нестабильности размеров поперечного сечения профиля возможно за счет исключения работы волоки в режиме «утяжки» профиля. 3 ил.
Изобретение относится к области обработки металлов давлением, а именно к волочильному производству, и может быть использовано при производстве прутков и проволоки прямоугольного сечения.
Основным недостатком известного способа, выбранного в качестве аналога, является нестабильность свободного размера прямоугольного сечения проволоки, формируемого во второй по ходу волочения паре роликов. Причиной этой нестабильности является ряд факторов, а именно: отклонения размеров исходной заготовки; неравномерность механических свойств материала по длине заготовки; точность изготовления рабочих роликов; соотношение обжатий в парах роликов. Последний фактор при прочих равных условиях является определяющим при практической реализации способа.
Наиболее близким к предлагаемому является способ волочения проволоки в двух и более парах роликов одним тяговым устройством (А.с. 1260056 СССР, МКИ В 21 С 1/00. Способ волочения / А.К.Григорьев, Б.Х.Шлиомензон, Н.Х.Давильбеков и др. (СССР). – № 3703339/22-02; Заявлено 22.02.84; Опубл. 30.09.86. Бюл. №.36) – прототип, согласно которому деформацию при волочении в двух парах роликов производят с одинаковыми коэффициентами вытяжки

где 1, 2 – коэффициенты вытяжки соответственно в первой и второй по ходу волочения парах роликов;
0 – суммарный коэффициент вытяжки.
Предложенное в прототипе распределение коэффициентов вытяжки является оптимальным с точки зрения достижения наименьшего усилия волочения в двух парах неприводных роликов. Однако предложенное распределение величины деформации в парах роликов не позволяет стабилизировать свободный размер получаемого профиля, то есть не устраняет недостаток, присущий способу-аналогу.
В основу изобретения положена техническая задача, заключающаяся в уменьшении нестабильности размеров поперечного сечения получаемого профиля.
Для решения этой задачи в способе волочения прямоугольных профилей в роликовой волоке, преимущественно со смещенными по оси волочения парами роликов, имеющими гладкую рабочую поверхность, волочение ведут с соотношением относительных обжатий в парах роликов, равным

где 1, 2 – величина относительного обжатия металла соответственно в первой и второй парах роликов;
 – суммарная величина относительного обжатия металла, обеспечивающая при заданном значении величины 1 максимальное уширение металла во второй паре роликов,
при этом предлагается осуществлять волочение металла в интервале соотношений относительных обжатий в парах 1/ 2=0,4…1,0.
Предлагаемая зависимость между обжатиями металла в парах роликов получена в результате обработки экспериментальных данных, представленных в работе (Баричко Б.В. Оптимальные соотношения обжатий при волочении прямоугольных профилей в смещенных парах роликов / ЮУрГУ. – Челябинск. – 1999. – 11 с. – Деп. в ВИНИТИ 11.03.99, № 732. – В.99). Анализ полученных экспериментальных зависимостей величины уширения от величины обжатия во второй паре роликов показал наличие экстремумов, величина и положение которых определяются величиной обжатия металла в первой паре роликов. При реализации процесса волочения с обжатием металла в области этих экстремумов наблюдается повышение стабильности размера поперечного сечения получаемого профиля, определяемого свободным уширением металла. Увеличение величины обжатия металла в первой паре роликов приводит к уменьшению абсолютной величины экстремума уширения во второй паре и смещению последнего в направлении величины меньшего обжатия во второй паре роликов. Исследования показали, что при этом появление экстремума уширения металла во второй паре роликов всегда соответствовало определенному узкому интервалу значений суммарного обжатия металла в парах роликов, величина которого зависела от параметров процесса (материал и форма сечения заготовки, диаметр роликов, условия контактного трения). Сделанные выводы имеют физический смысл, а именно: при параболическом характере кривой уширения изменениям величины обжатия в сравнительно широком интервале значений в области экстремума кривой соответствуют незначительные изменения величины уширения, тогда как в области восходящих (или ниспадающих) участков этой кривой аналогичным интервалам изменения величины обжатия соответствуют значительно большие колебания величины уширения, которая в конечном итоге определяет свободный (неконтролируемый роликами) размер сечения готового профиля и, следовательно, его стабильность.
Увеличение соотношения деформаций в парах 1/ 2>1,0 приводит к резкому увеличению величины продольного усилия в промежутке между очагами деформации. При этом малейшее изменение величины обжатия в любом из очагов деформации, например, из-за нестабильности размера исходной заготовки ведет к существенным изменениям величины уширения (работа волоки в режиме “утяжки” профиля).
Уменьшение соотношения деформаций в парах 1/ 2<0,4 приводит к снижению величины продольного усилия в деформируемом материале, создаваемого первой парой роликов по отношению ко второй паре роликов, что, в свою очередь, ведет к потере устойчивого положения промежуточного сечения металла в очаге деформации, образованном второй парой роликов.
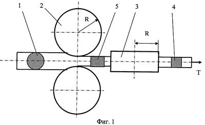
Заявляемое техническое решение поясняется чертежами, где на фиг.1 приведена схема процесса волочения, на фиг.2 – схема калибровки металла, на фиг.3 – графики изменения величины относительного уширения при изменении величины относительного обжатия для второй по ходу волочения пары роликов при различных значениях величины обжатия металла в первой паре роликов при волочении проволоки из стали 65Г.
Предлагаемый способ осуществляют следующим образом. После проведения операций подготовки поверхности и острения переднего конца исходную заготовку 1 (фиг.1), например круглого поперечного сечения диаметром d0 (фиг.2), последовательно пропускают между горизонтальными 2 и вертикальными 3 роликами волоки и захватывают тянущим устройством волочильного стана (условно не показано). Ролики 2 заранее устанавливают с зазором, обеспечивающим получение промежуточного профиля 4 с размерами сечения h1×b1 (фиг.2), а ролики 3 – с зазором, обеспечивающим получение заданного профиля 5 с размерами h2×b2 (фиг.2). Величину зазора для первой по ходу волочения пары роликов определяют исходя из предлагаемого данным техническим решением соотношения значений частных деформаций в парах роликов 1/ 2. В свою очередь, величину суммарной деформации  заранее определяют для конкретных условий реализации технологического процесса (материал и форма поперечного сечения заготовки, диаметр роликов и др.) по методике, изложенной в работе (Баричко Б.В. Оптимальные соотношения обжатий при волочении прямоугольных профилей в смещенных парах роликов / ЮУрГУ. – Челябинск. – 1999. – 11 с. – Деп. в ВИНИТИ 11.03.99, № 732. – В.99). После осуществления указанных операций производят волочение металла в роликовой волоке на заданный профилеразмер сечения 5 посредством приложения тянущего усилия Т к переднему концу заготовки.
Пример реализации предлагаемого способа.
В случае волочения заготовки круглого сечения из стали 65Г в некалиброванных роликах с диаметром 180 мм суммарная величина относительного обжатия металла составляет  =0,46…0,53. Эта величина была получена статистической обработкой экспериментальных данных, представленных в виде графиков зависимости величины уширения металла во второй паре роликов от величины обжатия металла в этой паре роликов при различных значениях величины обжатия металла в первой паре роликов (фиг.3). Интервал варьирования соотношения обжатий в парах согласно предлагаемому техническому решению составляет 1/ 2=0,4…1,0. Приняв за основу средние значения суммарной величины относительного обжатия металла  =0,495 и величины соотношения деформаций 1/ 2=0,7, согласно выражению (1) получим:
1=0,291; 2=0,204.
Положим, требуется получить профиль сечения квадратной проволоки с размером стороны 2,0 мм (распространенное сечение проволоки для изготовления пружинных шайб). Зазор между роликами второй пары определяется размерами одной из сторон готового квадратного сечения и составит (фиг.2) b2=2,0 мм. Относительное уширение металла определяем по графику на фиг.3, при этом выбираем ближайшее к расчетному значение величины обжатия металла в первой паре роликов – 1=0,295. Величина относительного обжатия в первой паре роликов равна . С учетом известного размера ширины готового профиля h2=2,0 мм зазор между роликами первой пары составит h1=1,86 мм. При заданных режимах деформации в парах роликов получение требуемого готового профиля обеспечивает только один конкретный размер исходной заготовки круглого сечения, который может быть определен исходя из выбранной величины относительного обжатия в первой паре роликов:

откуда находим диаметр исходной заготовки d0=2,62 мм.
Предельные отклонения размеров сечения проволоки согласно техническим условиям не должны были превышать ±0,05 мм. Разработка режимов волочения сводилась к определению требуемого сечения исходной заготовки. Промышленные испытания, проведенные на однократном волочильном стане ВСМ – 1/650 с роликовой волокой ВР-2/2.180 (номинальный диаметр роликов – 180 мм), показали, что при получении требуемых сечений за один проход наблюдалось превышение требуемых предельных отклонений размеров сечений. Например, проволоку сечением 4,50×6,0 мм первоначально получали в один проход из заготовки круглого сечения 7,0 мм с суммарной вытяжкой в двух очагах деформации  =1,51, так как меньшее сечение заготовки не обеспечивало требуемых радиусов закруглений готового профиля. При этом отклонения размеров получаемого сечения составляли . Анализ режимов обжатий в парах роликов показал, что в данном случае величина обжатий в парах роликов не соответствует заявляемому в предлагаемом способе интервалу оптимальных обжатий. Согласно предлагаемого способа волочения было реализовано получение проволоки в два прохода с заготовки большего сечения по маршруту
7,60 мм 5,60×6,45 мм 4,50×6,0 мм
В последнем случае точность получаемого прямоугольного сечения составила , что соответствовало ТУ и позволило сдать всю промышленную партию объемом 1,2 т.
Формула изобретения
Способ волочения прямоугольных профилей в роликовой волоке, преимущественно со смещенными по оси волочения парами роликов, имеющих гладкую рабочую поверхность, отличающийся тем, что волочение ведут с соотношением относительных обжатий в парах роликов, равным

где 1, 2 – величина относительного обжатия металла соответственно в первой и второй парах роликов;
 – суммарная величина относительного обжатия металла, обеспечивающая при заданном значении величины 1 максимальное уширение металла во второй паре роликов,
при этом интервал варьирования соотношения относительных обжатий в парах составляет 1/ 2=0,4…1,0.
РИСУНКИ
MM4A – Досрочное прекращение действия патента СССР или патента Российской Федерации на изобретение из-за неуплаты в установленный срок пошлины за поддержание патента в силе
Дата прекращения действия патента: 13.12.2007
Извещение опубликовано: 20.08.2009 БИ: 23/2009
|
|