|
|
(21), (22) Заявка: 2005128111/15, 08.09.2005
(24) Дата начала отсчета срока действия патента:
08.09.2005
(46) Опубликовано: 20.04.2007
(56) Список документов, цитированных в отчете о поиске:
БАРАНОВ Д.С. Переработка нефтяных шламов и битуминизированных песков, Автомобильные дороги, 1992, №5-6, с.18-19. RU 2100405 C1, 27.12.1997. RU 2078740 C1, 10.05.1997. RU 2173223 C2, 10.09.2001. JP 57-117590 A, 22.07.1982.
Адрес для переписки:
614039, г.Пермь, а/я 1629, пат. пов. Г.Х. Филоновой, рег.№ 876
|
(72) Автор(ы):
Вяткин Александр Павлович (RU), Афанасьев Иван Афанасьевич (RU)
(73) Патентообладатель(и):
Общество с ограниченной ответственностью “Уралэкоресурс” (RU)
|
(54) УСТРОЙСТВО ДЛЯ ОЧИСТКИ НЕФТЕЗАГРЯЗНЕННОГО ГРУНТА ОТ НЕФТЕПРОДУКТОВ
(57) Реферат:
Изобретение относится к устройствам для очистки нефтезагрязненных грунтов (НЗГ) и может быть использовано при переработке нефтесодержащих материалов, применяемых для дорожного строительства. Устройство содержит корпус шнекового транспортера, помещенный в него шнек, загрузочный бункер, нагреватель, резервуар для сбора нефти. Нагреватель выполнен масляным, состоит из емкости, заполненной маслом, и узла подогрева масла. Корпус шнекового транспортера помещен в емкость масляного нагревателя. Технический эффект – повышение надежности устройства за счет исключения взрывоопасности и повышение качества получаемого грунта за счет обеспечения полного и равномерного прогрева НЗГ. 2 ил.
Изобретение относится к устройствам для очистки нефтезагрязненных грунтов (НЗГ) и может быть использовано при переработке нефтесодержащих материалов, применяемых для дорожного строительства.
Известна установка для переработки нефтяных шламов (заявка России на изобретение № 2002102467), включающая транспортер, бункер сырья, гидроциклон для извлечения нефтепродуктов, снабженный паровой рубашкой, сборники нефтепродуктов. Недостатком является проблематичность использования гидроциклона для переработки НЗГ, т.к. он обладает гораздо большей плотностью по сравнению с нефтяным шламом.
Известно устройство для переработки нефтешламов (патент России № 2111061, В03В 9/02, 1998), содержащее реактор с загрузочным приспособлением, с патрубками для подвода воды, слива жидкой фазы и выгрузки твердых включений. Устройство снабжено вибратором для создания низкочастотных колебаний в режиме кавитации. Недостатком является сложность устройства и необходимость использования воды с флотореагентом для флотации нефти на ее поверхность, что нецелесообразно при переработке НЗГ.
За ближайший аналог заявляемому техническому решению выбрано устройство для переработки нефтяных шламов и битумизированных песков (Д.С.Баранов. Переработка нефтяных шламов и битуминизированных песков. «Автомобильные дороги» № 5-6, 1992, стр.18-19). Устройство содержит бункер для шлама, в котором размещены нагревательные элементы, бункер закреплен на корпусе шнекового транспортера, в котором размещен транспортирующий шнек. К корпусу присоединен лоток для выгрузки получаемой смеси, кроме того, корпус шнекового транспортера соединен с резервуаром для сбора нефти. Недостатком является использование локально размещенных нагревательных элементов и установка их непосредственно в загрузочный бункер, в результате чего происходит неравномерное нагревание нефтяного шлама в бункере, влияющее на качество получаемой смеси, и контактирование очищаемой смеси с нагревательными элементами, что может привести к взрывоопасной ситуации.
Технической задачей предлагаемого изобретения является повышение надежности устройства и эффективности его работы.
Технический результат достигается тем, что в устройстве для очистки нефтезагрязненного грунта от нефтепродуктов, содержащем корпус шнекового транспортера, помещенный в него шнек, загрузочный бункер, нагреватель, резервуар для сбора нефти, нагреватель выполнен масляным, состоит из емкости, заполненной маслом, и узла подогрева масла, корпус шнекового транспортера помещен в емкость масляного нагревателя.
Технический результат достигается за счет помещения корпуса шнекового транспортера в масляный нагреватель, что обеспечивет равномерный нагрев очищаемого грунта.
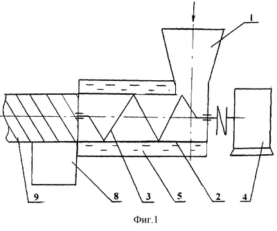
На фиг.1 представлена схема устройства для очистки нефтезагрязненного грунта от нефтепродуктов.
На фиг.2 представлена схема масляного нагревателя.
Устройство для очистки нефтезагрязненного грунта от нефтепродуктов состоит из загрузочного бункера 1, корпуса шнекового транспортера 2, шнека 3, привода 4 шнека 3, емкости масляного нагревателя 5, узла подогрева масла 6, трубопроводов подвода масла 7, резервуара для сбора нефти 8, транспортера 9.
Устройство работает следующим образом.
НЗГ подают в загрузочный бункер 1, откуда он попадает в корпус шнекового транспортера 2, помещенного в емкость масляного нагревателя 5. Пропуская масло по трубопроводам подвода масла 7 через узел подогрева масла 6, нагревают масло до температуры 200°С. Придают вращение шнеку 3 от привода 4. НЗГ 1 нагревается в корпусе шнекового транспортера 2 до температуры 50-70°С. При вращении шнека 3 подогретый НЗГ подпрессовывается, в результате чего происходит отжим жидкой фракции нефти, которая поступает в резервуар для сбора нефти 8. Очищенный грунт подается на транспортер 9 для дальнейшего использования.
За счет разрыва связей между поверхностным слоем нефти и внутренним, более прочным и тяжелым, под воздействием нагрева происходит отделение жидкой фракции нефти от ее смолистых компонентов, обволакивающих поверхность частиц грунта.
Таким образом, предлагаемое техническое решение позволит повысить надежность устройства за счет исключения взрывоопасности благодаря использованию масляного нагревателя и повысить качество получаемого грунта за счет обеспечения полного и равномерного прогрева НЗГ.
Формула изобретения
Устройство для очистки нефтезагрязненного грунта от нефтепродуктов, содержащее корпус шнекового транспортера, помещенный в него шнек, загрузочный бункер, нагреватель, резервуар для сбора нефти, отличающееся тем, что нагреватель выполнен масляным, состоит из емкости, заполненной маслом, и узла подогрева масла, корпус шнекового транспортера помещен в емкость масляного нагревателя.
РИСУНКИ
MM4A – Досрочное прекращение действия патента СССР или патента Российской Федерации на изобретение из-за неуплаты в установленный срок пошлины за поддержание патента в силе
Дата прекращения действия патента: 09.09.2007
Извещение опубликовано: 10.03.2009 БИ: 07/2009
|
|