|
|
(21), (22) Заявка: 2005132688/15, 24.10.2005
(24) Дата начала отсчета срока действия патента:
24.10.2005
(46) Опубликовано: 20.04.2007
(56) Список документов, цитированных в отчете о поиске:
SU 1301476 A1, 07.04.1987. SU 1572688 A1, 23.06.1990. SU 775011 A1, 30.10.1980. US 2004151064 A1, 05.08.2004. US 4737036 A1, 12.04.1988.
Адрес для переписки:
665709, Иркутская обл., г. Братск, ул. Макаренко, 40, ГОУВПО “БрГУ”, Патентный отдел, С.В. Кварацхелия
|
(72) Автор(ы):
Ефремов Игорь Михайлович (RU), Лобанов Дмитрий Викторович (RU), Савонь Василий Михайлович (RU), Янин Виталий Сергеевич (RU)
(73) Патентообладатель(и):
Государственное образовательное учреждение высшего профессионального образования “Братский государственный университет” (RU)
|
(54) РОТОРНЫЙ СМЕСИТЕЛЬ С МЕХАНИЧЕСКИМ ВИБРОВОЗБУДИТЕЛЕМ
(57) Реферат:
Изобретение относится к смесителям периодического действия и может быть использовано в промышленности строительных материалов, в строительстве и других областях строительной индустрии для производства полидисперсных материалов. Роторный смеситель с механическим вибровозбудителем содержит камеру смешения и вибратор, выполненный в виде тарельчатых пружин с резиновыми амортизаторами. Вибратор жестко закреплен в середине камеры смешения и имеет кривошипно-шатунный механизм, с помощью которого тарельчатые пружины возбуждают колебания частиц в горизонтальном направлении. В смесителе имеется возможность регулировать интенсивность вибрации посредством изменения частоты вращения привода кривошипно-шатунного механизма. Техническим результатом является повышение производительности смесителя, снижение энергоемкости процесса смешивания. 2 з.п. ф-лы, 1 ил.
Изобретение относится к смесителям периодического действия и может быть использовано в промышленности строительных материалов, в строительстве и других областях строительной индустрии для производства полидисперсных материалов.
Известен смеситель принудительного перемешивания, содержащий установленный в цилиндрической чаше ротор с лопастями, соединенный с размещенным в стакане приводом его вращения в виде зубчатой передачи, ведущая шестерня которой закреплена на вертикальном валу посредством подшипников эксцентрично, а ведомая выполнена с внутренним зацеплением, вертикальный вал снабжен дебалансом в виде маховика с кольцевой канавкой и размещенными в ней шарами (Королев К.М. Производство бетонной смеси и раствора. М.: Высшая школа, 1973, с.156-161, рис.107).
Известен также растворосмеситель СВ-79, содержащий установленный в цилиндрической чаше ротор с лопастями, соединенный с приводом его вращения (Королев К.М. Производство бетонной смеси и раствора. М.: Высшая школа, 1973, с.156-161, рис.107).
К недостаткам известных смесителей относятся невысокая производительность, большая энергоемкость процесса, низкая надежность несущих элементов деталей привода ротора, нестабильность процесса.
Наиболее близким к предлагаемому является роторный смеситель периодического действия, содержащий камеру смешивания, ротор с приводом вращения, выполненный с лопастями, установленными под углом 45° к его радиусу, и вибратор с кинематическим возбуждением колебаний, консольно установленный по оси камеры смешивания, коаксиально лопастям ротора, причем вибратор выполнен в виде полого цилиндра с ребрами по наружной поверхности и установлен на коленчатом валу с помощью сферических подшипников (Патент SU 1301476 А1, 17.04.1985, В01F 11/00).
К недостаткам известной конструкции относятся невысокая производительность, значительные энергозатраты на вращение ротора и дополнительные энергозатраты на вращение вибратора, а также очень высокий процент износа подшипниковых узлов и невозможность регулирования интенсивности воздействия вибратора на приготавливаемую смесь.
Технической задачей, решаемой изобретением, является повышение производительности смесителя, снижение энергоемкости процесса смешивания, снижение вибрационного воздействия, также других факторов, влияющих на износ подшипниковых узлов.
Технический результат достигается тем, что роторный смеситель с механическим вибровозбудителем, содержащий камеру смешивания, ротор с приводом вращения, выполненный с лопастями, вибратор, выполненный в виде тарельчатых пружин с резиновыми амортизаторами, жестко закреплен в середине камеры смешивания. Вибратор имеет кривошипно-шатунный механизм, с помощью которого тарельчатые пружины возбуждают колебания частиц в горизонтальном направлении. В смесителе имеется возможность регулировать интенсивность вибрации посредством изменения частоты вращения привода кривошипно-шатунного механизма.
Сравнение с прототипом показывает, что в вибрационном механизме предлагаемого смесителя отсутствует вибрационная нагрузка на подшипниковые узлы привода вращения ротора, полностью исключено попадание частиц приготавливаемой смеси внутрь вибратора. Заявляемая конструкция смесителя обеспечивает более равномерную проработку смеси вибратором во всем пространстве рабочей камеры смесителя, однородное разрушение структуры материала, создание эффекта виброкипения, более интенсивную турбулизацию и циркуляцию материала в корпусе смесителя и в целом большую производительность и меньший расход энергии на процесс смешивания.
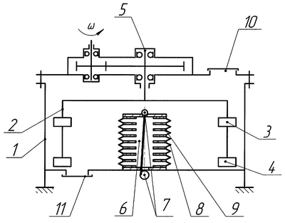
Сущность изобретения поясняется чертежом, на котором представлена схема роторного смесителя с механическим вибровозбудителем.
Смеситель содержит камеру 1 смешивания, ротор 2, выполненный с лопастями 3, 4. Ротор 2 имеет привод 5 вращения. В центре камеры 1 смешивания установлен вибратор 6 с механическим возбуждением колебаний от кривошипно-шатунного механизма 7. Вибратор 6 выполнен в виде тарельчатых пружин 8 и резиновых амортизаторов 9. В смесителе имеются также окна 10 и 11 загрузки и выгрузки материалов соответственно.
Роторный смеситель с механическим вибровозбудителем работает следующим образом: привод 5 вращает ротор 2 и лопасти 3, 4, тем самым перемешивая приготавливаемую смесь. Тарельчатые пружины 8 и амортизаторы 9 вибратора 6 при помощи кривошипно-шатунного механизма 7 совершают колебательные движения в возвратно-поступательном направлении, тем самым возбуждая колебания частиц смеси в горизонтальном направлении. В целом конструкция смесителя позволяет интенсифицировать процесс смешивания при одновременном снижении потерь энергии на вращение ротора 2, вследствие снижения сил сопротивления перемещению лопастей 3 и 4, повышении подвижности и турбулизации смеси во всем объеме камеры смесителя 1.
Конструкция смесителя позволяет повысить производительность и снизить затраты энергии на процесс смешивания особенно жестких бетонных смесей, объясняющиеся тем, что при колебательном движении вибратора с амплитудным значением ускорения вибрации 180…250 м/с2 происходит более однородное тиксотропное разрушение структуры материала во всем пространстве камеры смешивания, проявляющееся в уменьшении вязкости в 50…60 раз и более по сравнению с вязкостью известного неразрушенного материала. В связи с этим уменьшаются сопротивление перемещению лопастей и потребляемая мощность привода вращения ротора. Вместе с тем достигаются эффект виброкипения смеси под действием колебательного движения диска вибратора, большая турбулизация и более интенсивная циркуляция частиц смеси, в результате чего сокращается время смешивания, повышается производительность смесителя.
Формула изобретения
1. Роторный смеситель с механическим вибровозбудителем, содержащий камеру смешивания, ротор с приводом вращения, выполненный с лопастями, вибратор, жестко закрепленный в середине камеры смешивания, отличающийся тем, что вибратор выполнен в виде тарельчатых пружин с резиновыми амортизаторами и жестко закреплен в середине камеры смешивания.
2. Смеситель по п.1, отличающийся тем, что вибратор имеет кривошипно-шатунный механизм, с помощью которого тарельчатые пружины возбуждают колебания частиц в горизонтальном направлении.
3. Смеситель по п.1, отличающийся тем, что имеется возможность регулировать интенсивность вибрации посредством изменения частоты вращения привода кривошипно-шатунного механизма.
РИСУНКИ
MM4A – Досрочное прекращение действия патента СССР или патента Российской Федерации на изобретение из-за неуплаты в установленный срок пошлины за поддержание патента в силе
Дата прекращения действия патента: 25.10.2007
Извещение опубликовано: 27.03.2009 БИ: 09/2009
|
|