|
(21), (22) Заявка: 2005123578/12, 25.07.2005
(24) Дата начала отсчета срока действия патента:
25.07.2005
(43) Дата публикации заявки: 27.01.2007
(46) Опубликовано: 20.04.2007
(56) Список документов, цитированных в отчете о поиске:
RU 22052 U1, 10.03.2002. US 4275882 А, 30.01.1981. US 4917379 A, 17.04.1990. US 6216535 А, 17.04.2001.
Адрес для переписки:
462633, Оренбургская обл., г. Гай, ул. Молодежная, 19, Ю.А. Денисову
|
(72) Автор(ы):
Денисов Юрий Александрович (RU)
(73) Патентообладатель(и):
Денисов Юрий Александрович (RU)
|
(54) ТРЕНАЖЕР МАКСИМАЛЬНО ДИНАМИЧЕСКОЙ НАГРУЗКИ
(57) Реферат:
Тренажер предназначен для использования в области спорта и позволяет повысить эффективность увеличения силы мышц, их объема и рельефности. Подвижный рычаг шарнирно установлен на раме с возможностью поднятия его с нагрузкой для обеспечения максимального напряжения мышц в верхней точке подъема. Нагрузка в виде шара размещена в чаше. При поднятии рычага в верхнюю точку шар имеет возможность скатываться из чаши по полозьям в исходное положение, обеспечивая падение нагрузки на мышцы. 1 ил.
Изобретение относится к спортивному оборудованию и направлено для целевой тренировки изолированных групп мышц динамическими способом с максимальной нагрузкой в единицу времени.
Известна спортивная штанга с набором дисков.
Недостатком данного спортивного снаряда является то, что при занятиях с ним его вес постоянно действует на все тело. А для изменения веса штанги во время сетов нужна помощь ассистентов, которые должны менять количество дисков, что значительно увеличивает перерывы между циклами.
Наиболее близким техническим решением является грузоблочный тренажер.
Недостатком данного механизма является обратный принцип при возвратных движениях, который требует адекватных усилий для торможения противовесов, пока они не вернутся в исходное положение.
Кроме того, система блоков вынуждает создавать массу противовесов пропорционально выше, чем нагрузка на тренировочных рычагах. Все это значительно усложняет сам тренажер, увеличивая его габариты и массу, что снижает его надежность и долговечность при эксплуатации.
Задачами, на решение которых направленно заявляемое изобретение, является целевая проработка изолированных групп мышц с максимальным напряжением и минимальными перерывами на отдых в единицу времени, динамическим способом.
Для достижения указанного технического результата тренажер максимально динамической нагрузки, содержащий подвижный рычаг, шарнирно установленный на раме с возможностью поднятия его с нагрузкой для обеспечения максимального напряжения мышц в верхней точке подъема, имеет наклонные направляющие полозья в чащу для размещения нагрузки в виде шара, который имеет возможность при поднятии рычага в верхнюю точку скатываться из чаши по полозьям в исходное положение, обеспечивая падение нагрузки на мышцы.
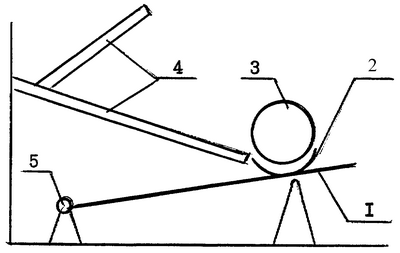
Тренажер максимально динамической нагрузки содержит подвижный рычаг 1 на шарнире 5, чашу 2, шар 3 и наклонные направляющие полозья 4.
Тренажер максимально динамической нагрузки действует следующим образом.
При поднятии рычага 1 на поворотном шарнире 5 шар 3, находящийся в чаше 2, достигает верхней точки, обеспечивая максимальное напряжение мышц, и скатывается по наклонным направляющим полозьям 4 в исходное положение, обеспечивая резкое падение нагрузки на мышцы.
Циклы интенсивно повторяются. Можно быстро заменить шар другого веса.
Таким образом, целевые группы мышц начинают работать только с момента поднятия рычага с шаром и в верхней точке их напряжение достигает максимального значения. После скатывания шара из чаши нагрузка на задействованные мускулы резко падает, и они моментально расслабляются до следующего пикового напряжения. При такой системе тренировок на прорабатываемые узлы мышц будут действовать динамические нагрузки, что является наиболее эффективным способом для увеличения силы, объемов и рельефности всего тела.
А это весьма полезно для здоровья и приятно для души.
Формула изобретения
Тренажер максимально динамической нагрузки, содержащий подвижный рычаг, шарнирно установленный на раме с возможностью поднятия его с нагрузкой для обеспечения максимального напряжения мышц в верхней точке подъема, отличающийся тем, что он имеет наклонные направляющие полозья и чашу для размещения нагрузки в виде шара, который имеет возможность при поднятии рычага в верхнюю точку скатываться из чаши по полозьям в исходное положение, обеспечивая падение нагрузки на мышцы.
РИСУНКИ
|