|
(21), (22) Заявка: 2006104480/14, 16.02.2006
(24) Дата начала отсчета срока действия патента:
16.02.2006
(46) Опубликовано: 20.04.2007
(56) Список документов, цитированных в отчете о поиске:
SU 42261 A1, 31.03.1935. JP 9000591 A, 07.01.1997. DE 19503280 A1, 02.10.1996. DE 4233606 A1, 07.10.1993. FR 2558700 A1, 02.08.1985. SU 1389772 A1, 23.04.1988. RU 2262914 C1, 27.10.2005.
Адрес для переписки:
142004, Московская обл., г.Подольск, ул. Профсоюзная, 2, корп. 1, кв.49, М.И.Югаю
|
(72) Автор(ы):
Югай Марат Инокентьевич (RU)
(73) Патентообладатель(и):
Югай Марат Инокентьевич (RU)
|
(54) ОРТОПЕДИЧЕСКИЙ ЛЕЧЕБНО-ВОССТАНОВИТЕЛЬНЫЙ СТУЛ
(57) Реферат:
Изобретение относится к области медицинской техники и может быть использовано для реабилитации позвоночника. Ортопедический лечебно-восстановительный стул содержит перемещаемое по высоте сиденье и спинку. Стул снабжен регулируемыми по высоте подлокотниками, закрепленным в верхней части спинки стула регулируемым по высоте подголовником с опорой затылка и шеи, имеющей конфигурацию шейного лордоза, механизмом для изменения кривизны поясничного лордоза в глубину и по высоте и грудного кифоза, выполненным в виде упорного профилированного элемента, и ремнями для фиксации грудной части туловища и области таза. Механизм для изменения кривизны поясничного лордоза и грудного кифоза жестко установлен на спинке в области перехода верхнепоясничного отдела позвоночника в нижегрудной посредством опорных пластин и выполнен с возможностью горизонтального и вертикального перемещения за счет взаимодействия зубьев, выполненных на горизонтальной и вертикальной направляющих и соответствующих шестерней, приводимых в движение ручками. Спинка закреплена на сиденье с возможностью перемещения по вертикали и расположена стабильно под углом 90 градусов. Технический результат – обеспечение за счет воздействия упорного профилированного элемента на позвоночник в разных направлениях улучшения обмена веществ во всем организме и восстановления функций внутренних органов и систем. 6 ил.
Изобретение относится к области медицины.
Известен ортопедический лечебно-восстановительный стул, содержащий перемещаемое по высоте сиденье и спинку (см., например, авторское свидетельство СССР №42261 от 31.03.1935 г.).
Существующие ортопедические стулья обладают ограниченными лечебными свойствами;
– ни в одном из существующих стульев физиологические изгибы активно не поддерживаются;
– регулирование по высоте подлокотников при этом не сочетается с другими свойствами;
В существующих ортопедических стульях принципы восстановления позвоночника основаны на пассивном действии силы тяжести при определенном положении тела человека, т.е. при опоре позвоночника на определенные выступы. Фактически при таких положениях тело человека находится в состоянии покоя, не в вертикальном и не в рабочем положении.
Технический результат, достигаемый при использовании предлагаемого стула, заключается в восстановлении до нормы межпозвонковых отверстий, что восстанавливает связи центральной нервной системы с периферией и улучшает отток из клеток тканей отработанной лимфы с токсинами и венозной крови. Все это создает условия для обновления клеток – способствует активному поступлению в межпозвонковые пространства питательных веществ, для формирования костных и хрящевых тканей, т.е. восстановлению межпозвонковых дисков.
Сущность изобретения поясняется чертежами.
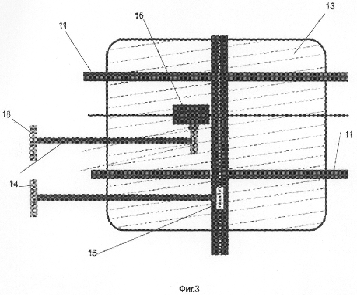
На фиг.1 изображен стул, вид сбоку; на фиг.2 – то же, вид сзади; на фиг.3 – вид сзади на механизм перемещения упора; на фиг.4 – то же, вид сбоку; на фиг.5 – схема механизма перемещения упора, вид сбоку; на фиг.6 – то же, вид сверху.
Указанный результат достигается тем, что ортопедический лечебно-восстановительный стул, содержащий перемещаемое по высоте сидение и спинку, снабжен регулируемыми по высоте подлокотниками, закрепленным на спинке подголовником, регулируемым поясничным упором и ремнями для фиксации грудной части туловища и области таза, при этом спинка закреплена на сидении с возможностью перемещения по вертикали.
Поясничный упор состоит из профилированного упорного элемента и механизма его перемещения по вертикали и горизонтали.
Ортопедический лечебно-восстановительный стул имеет спинку 1, регулируемую по высоте посредством передвижения по направляющим втулкам 2 спинки стула. Спинка стула имеет механизм 3 для изменения кривизны поясничного лордоза в глубину и по высоте. Сиденье 4 имеет ножки 5 с винтовым устройством 6 для изменения общей высоты по отношению к полу. По бокам на сиденье имеются регулируемые по высоте подлокотники 7. На спинке сиденья, для закрепления верхнегрудной и тазовой областей к ней, имеются крепежные ремни 8 и 9. В верхней части спинки стула имеется регулируемый по высоте подголовник 10 с опорой шеи и затылка. Опора для шеи имеет конфигурацию шейного лордоза в норме.
Механизм для изменения величины поясничного лордоза и грудного кифоза жестко, сварным соединением закрепляется к боковым стенкам спинки стула в области перехода верхнепоясничного отдела позвоночника в нижнегрудной посредством опорных пластин 11, которые служат направляющими для вертикального перемещения механизма. На вертикальной направляющей 12 имеются зубья. Перемещение опорной площадки 13 (упорного профилированного элемента) в вертикальном направлении осуществляется перемещением направляющей 12 вращением ручки 14 с шестерней 15. Опорная площадка 13 в профиль имеет вид дуги.
Опорная площадка 13 вместе с горизонтальной направляющей 16 и опорная пластина 17 закреплены на вертикальной направляющей с зубьями и двигаются в вертикальном направлении вместе с ней.
Перемещение опорной площадки в горизонтальном брюшном и спинном направлении осуществляется вращением ручки 18 с шестерней 19.
Спинка стула расположена стабильно, под углом 90°, без его изменения по отношению к горизонтальной плоскости сиденье.
Высота подлокотников регулируется в зависимости от длины предплечья.
Спинка стула позволяет изменять общую высоту изгибов позвоночника по отношению к сиденью в зависимости от индивидуальных пропорций тела человека.
Изменять величину кривизны поясничного лордоза и грудного кифоза как брюшном-спинном, так и в черепном-хвостовом направлениях в зависимости от роста человека и сложившихся патологических деформаций кифозов и лордозов.
Высота подголовника регулируется в зависимости от длины шеи. Поддержание физиологических изгибов кифозов и лордозов тела осуществляется фиксацией тела к спинке в грудной и тазовой областях при помощи ремней в сочетании с механизмом для изменения величин кривизны поясничного лордоза и грудного кифоза.
Формула изобретения
Ортопедический лечебно-восстановительный стул, содержащий перемещаемое по высоте сиденье и спинку, отличающийся тем, что снабжен регулируемыми по высоте подлокотниками, закрепленным в верхней части спинки стула регулируемым по высоте подголовником с опорой затылка и шеи, имеющей конфигурацию шейного лордоза, механизмом для изменения кривизны поясничного лордоза в глубину и по высоте и грудного кифоза, выполненным в виде упорного профилированного элемента, и ремнями для фиксации грудной части туловища и области таза, при этом механизм для изменения кривизны поясничного лордоза и грудного кифоза жестко установлен на спинке в области перехода верхнепоясничного отдела позвоночника в нижнегрудной посредством опорных пластин и выполнен с возможностью горизонтального и вертикального перемещения за счет взаимодействия зубьев, выполненных на горизонтальной и вертикальной направляющих и соответствующих шестерней, приводимых в движение ручками, а спинка закреплена на сиденье с возможностью смещения по вертикали и расположена стабильно под углом 90°.
РИСУНКИ
MM4A – Досрочное прекращение действия патента СССР или патента Российской Федерации на изобретение из-за неуплаты в установленный срок пошлины за поддержание патента в силе
Дата прекращения действия патента: 17.02.2008
Извещение опубликовано: 10.10.2008 БИ: 28/2008
NF4A – Восстановление действия патента СССР или патента Российской Федерации на изобретение
Дата, с которой действие патента восстановлено: 27.10.2008
Извещение опубликовано: 27.10.2008 БИ: 30/2008
QB4A – Регистрация лицензионного договора на использование изобретения
Лицензиар(ы): Югай Марат Инокентьевич
Вид лицензии*: НИЛ
Лицензиат(ы): Государственное(унитарное) предприятие учреждения ОД 1/5 УИН Минюста России по Владимирской области.
Договор № РД0043688 зарегистрирован 21.11.2008
Извещение опубликовано: 10.01.2009 БИ: 01/2009
* ИЛ – исключительная лицензия НИЛ – неисключительная лицензия
|