|
|
(21), (22) Заявка: 2005118538/14, 15.06.2005
(24) Дата начала отсчета срока действия патента:
15.06.2005
(43) Дата публикации заявки: 20.12.2006
(46) Опубликовано: 20.04.2007
(56) Список документов, цитированных в отчете о поиске:
RU 2217119 C1, 27.11.2003. SU 1676622 A1, 15.09.1991. SU 1507383 A1, 15.09.1989. US 1591529 A, 12.05.1926. ФРОСИН В.Н. Больничное оборудование. – М.: Медицина, 1982, с.80, рис.22.
Адрес для переписки:
197046, Санкт-Петербург, Каменноостровский пр., 1-3, оф.30, ООО “Юридическая фирма Городисский и Партнеры”, филиал в г. Санкт-Петербург, директору В.М.Станковскому, пат.пов. Н.В.Потаниной
|
(72) Автор(ы):
Элизов Александр Дмитриевич (RU)
(73) Патентообладатель(и):
Элизов Александр Дмитриевич (RU)
|
(54) ТРАНСФОРМИРУЕМОЕ ТРАНСПОРТНОЕ СРЕДСТВО
(57) Реферат:
Изобретение относится к области реабилитационной техники и может быть использовано в качестве индивидуального транспортного средства для перемещения по лестнице. Трансформируемое транспортное средство содержит кресло, рулевое управление, переднее колесо и два задних колеса. Два задних колеса установлены на шарнирной раме и снабжены приводом подъема. Привод подъема переднего колеса снабжен консольно-эксцентричным рычагом. Консольно-эксцентричный рычаг установлен с возможностью поворота и опоры на ступеньку. Привод подъема каждого заднего колеса выполнен в виде параллелограммно-рычажного механизма с опорным рычагом. При подъеме на ступень лестницы опорный рычаг установлен с возможностью выдвижения за габарит заднего колеса при возвратно-поступательном перемещении параллелограммно-рычажного механизма. В результате обеспечена возможность преодоления лестничных маршей и сохранения устойчивости при упрощенной конструкции транспортного средства. 1 з.п. ф-лы, 3 ил.
Изобретение относится к области реабилитационной техники, в частности к индивидуальным транспортным средствам, способным двигаться по лестнице.
Существует две группы устройств, обеспечивающих подъем по лестнице: силовые и кинематические (по методу шагания).
Реализация первой группы устройств осуществляется с использованием силы трения в контакте движителя и лестницы. Зависимость работоспособности таких конструкций от таких параметров, как коэффициент трения и прочих подобных параметров, является самым слабым местом этой группы. Наиболее распространенными движителями этой группы являются колесный и гусеничный.
Кинематические конструкции не предъявляют высоких требований к коэффициенту трения. Из реабилитационной техники таким способом движется кресло IBOT за счет использования ротации колесного кластера.
Кинематические конструкции являются более предпочтительными, так как в значительно меньшей мере зависят от свойств материала покрытия лестницы.
В качестве прототипа выбрано трансформируемое транспортное средство [патент РФ 2217119, опубл. 27 ноября 2003 г.], которое имеет в своем составе кресло, установленное на опорной рычажной конструкции, которая включает несущую раму и задний мост. Несущая рама представляет собой шарнирный четырехзвенный механизм, состоящий из двух опорных стоек, шарнирно соединенных поперечинами, снабженных приводом. На передней опорной стойке прикреплена колесная пара (кластер), привод которой обеспечивает возможность совместного вращения колес вокруг общей оси. На верхней части опорной стойки закреплено рулевое управление. Несущая рама соединена с задним мостом, на котором установлены колеса, снабженные приводами вращения. Устройство снабжено двумя телескопическими упорами, установленными на осях задних колес, и имеющими загнутый рабочий конец. Длина упоров выбирается таким образом, чтобы рабочий конец выступал за внешнюю окружность колеса. Каждый из упоров снабжен приводом, обеспечивающим его вращение. Основным недостатком прототипа является наличие кластера передних колес, т.к. возникают проблемы с обеспечением продольной устойчивости транспортного средства на лестнице.
В основу изобретения поставлена задача упрощение конструкции при обеспечении возможности преодоления лестничных маршей и сохранении устойчивости.
Поставленная задача решается тем, что трансформируемое транспортное средство имеет в своем составе кресло, рулевое управление, переднее колесо, два задних колеса, установленных на шарнирной раме. Колеса снабжены приводами подъема, в состав каждого из которых входит упор. От прототипа устройство отличается тем, что привод подъема переднего колеса выполнен в виде консольно-эксцентричного рычага, а привод подъема каждого заднего колеса выполнен в виде параллелограммно-рычажного механизма с обеспечением возможности осуществления возвратно-поступательного перемещения и с обеспечением возможности в момент подъема на ступень лестницы выдвижения рычага параллелограммно-рычажного механизма за габарит колеса.
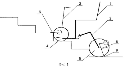
Более подробно сущность изобретения раскрывается в приведенном ниже примере реализации и иллюстрируется чертежами, на которых представлено: Фиг.1 – общая схема транспортного средства. Фиг.2 – схематично – переднее колесо в момент, предшествующий подъему на ступеньку. Фиг.3 – схематично – одно из задних колес в момент, предшествующий подъему на ступеньку.
Транспортное средство имеет в своем составе кресло 1, шарнирно установленное на раме 2, к которой прикреплена передняя стойка с рулевым управлением 3. На передней стойке закреплено одним из известных способом переднее колесо 4. Сзади на осях или полуосях на раме установлены задние колеса 5. Для подъема по лестнице устройство снабжено целым набором специальных средств. Так переднее колесо снабжено приводом, который включает в себя консольно-эксцентричный рычаг 6, который может иметь горизонтально загнутый конец 7. При этом каждое заднее колесо 5 также снабжено средством, обеспечивающим передвижение по лестнице, оно представляет собой параллелограммно-рычажный механизм 8 с опорным рычагом 9. Параллелограммно-рычажный механизм также снабжен соответствующим приводом.
Передвижение устройства по ровной поверхности осуществляется традиционным способом.
Подъем на ближайшую верхнюю ступеньку лестницы переднего колеса осуществляется следующим образом. При вращении рычага 6 осуществляется его вынос над верхней ступенькой, опора на верхнюю ступеньку с переносом нагрузки с переднего колеса на рычаг 6 и подъем колеса на верхнюю ступеньку. После подъема колеса продолжается вращение рычага 6 и за счет его эксцентричной установки вылет рычага 6 уменьшается до нуля, нагрузка снова переносится на колесо и осуществляется качение колеса до основания следующей ступеньки. Оптимизацией координат оси вращения рычага и его размеров можно обеспечить заданный вылет рычага 6 впереди колеса, минимальный подъем колеса над ступенькой при опоре на рычаг 6.
Подъем задних колес 5 обеспечивает реверсивные рычажные механизмы 8, работающие совместно с задними колесами. Кинематика рычажных механизмов такова, что, отталкиваясь от той же ступеньки, на которой стоят задние колеса, и вынося рычаги 9 за габарит колеса, оба задних колеса переносятся на верхнюю ступеньку. После всхода задних колес осуществляется возврат опорных рычагов в исходное положение, для чего весь механизм наклоняется (прокачивается) вперед примерно на 20° специальным приводом прокачки. После реверсирования рычагов механизм возвращается в исходное положение.
Колесная база устройства устанавливается такой, чтобы обеспечить одновременное касание очередной для переднего колеса и очередной для задних колес ступенек. Если вести отсчет от начального этапа подъема, то при подъеме задних колес на первую ступеньку переднее поднимается на третью, т.е. между задними колесами и передним находится одна ступенька. Колесная база при этом постоянна.
Система управления обеспечивает синхронную работу переднего и задних приводов, а также поддержание сиденья пользователя с постоянным комфортным углом наклона.
Таким образом, подъем по ступенькам осуществляется при помощи вращающихся рычагов, отсутствует кластер передних колес и опора всегда осуществляется на три точки (либо колеса, либо рычаги), что упрощает конструкцию по сравнению с прототипом и делает ее более устойчивой.
Формула изобретения
1. Трансформируемое транспортное средство, содержащее кресло, рулевое управление, переднее колесо и два задних колеса, установленных на шарнирной раме и снабженных приводом подъема, отличающееся тем, что привод подъема переднего колеса снабжен консольно-эксцентричным рычагом, установленным с возможностью поворота и опоры на ступеньку, а привод подъема каждого заднего колеса выполнен в виде параллелограммно-рычажного механизма с опорным рычагом, установленным с возможностью выдвижения за габарит заднего колеса при возвратно-поступательном перемещении параллелограммно-рычажного механизма при подъеме на ступень лестницы.
2. Транспортное средство по п.1, отличающееся тем, что консольно-эксцентричный рычаг выполнен с горизонтально-загнутым концом.
РИСУНКИ
PC4A – Регистрация договора об уступке патента СССР или патента Российской Федерации на изобретение
Прежний патентообладатель:
Элизов Александр Дмитриевич
(73) Патентообладатель:
Общество с ограниченной ответственностью “Риал Мобилити”
Договор № РД0056012 зарегистрирован 22.10.2009
Извещение опубликовано: 10.12.2009 БИ: 34/2009
|
|