|
|
(21), (22) Заявка: 2005110932/14, 11.09.2003
(24) Дата начала отсчета срока действия патента:
11.09.2003
(30) Конвенционный приоритет:
13.09.2002 US 60/410,903
(43) Дата публикации заявки: 20.09.2005
(46) Опубликовано: 20.04.2007
(56) Список документов, цитированных в отчете о поиске:
GB 2317555 А, 01.04.1998. WO 99/44465 A1, 10.09.1999. RU 98117083 A, 20.09.2000. US 5735012 A, 07.04.1998. WO 01/17391 A1, 15.03.2001.
(85) Дата перевода заявки PCT на национальную фазу:
13.04.2005
(86) Заявка PCT:
US 03/28292 (11.09.2003)
(87) Публикация PCT:
WO 2004/024022 (25.03.2004)
Адрес для переписки:
103735, Москва, ул. Ильинка, 5/2, ООО “Союзпатент”, пат.пов. Т.С.Фомичевой
|
(72) Автор(ы):
ЧАН Джон Джеффри (US), УИТНИ Джон Рой (US), БРАУН Патрик В. (US)
(73) Патентообладатель(и):
ЧЕРЧ ЭНД ДУАЙТ КО, ИНК. (US)
|
(54) УСОВЕРШЕНСТВОВАННАЯ КОНСТРУКЦИЯ КОРПУСА ЭЛЕКТРИЧЕСКОЙ ЗУБНОЙ ЩЕТКИ
(57) Реферат:
Изобретение относится к медицинской технике. Электрическая зубная щетка содержит корпус, образованный из первого материала, и включает в себя рукоятку, щеточную головку и шейку. Шейка проходит между рукояткой и щеточной головкой. Корпус дополнительно содержит первый и второй элементы для захватывания, расположенные вдоль наружной зоны корпуса симметрично по отношению к его продольной оси. Каждый из элементов для захватывания имеет углубленную зону и образован из второго материала, более мягкого, чем первый материал. Изобретение позволяет обеспечить эргономичность, повысить практичность и функциональность зубной щетки. 7 з.п. ф-лы, 7 ил.
Область применения изобретения
Настоящее изобретение относится к электрическим зубным щеткам, а точнее к усовершенствованным конструкциям корпуса электрических зубных щеток.
Предпосылки для создания изобретения
Предыдущими разработчиками предложено широкое разнообразие конструкций корпусов и рукояток электрических зубных щеток. Во многих из этих конструкций выполнено множество выступов, проходящих как в направлении, параллельном продольной оси корпуса, например, как в патентах США 375204 и 454251, так, в общем, и перпендикулярно к этой оси, как в патенте 382407. Наряду с определенными эстетическими характеристиками, которые может обеспечить создание множества параллельных выступов, выполнение таких выступов также может служить для содействия захватыванию корпуса пользователем, в частности, в течение использования зубной щетки. Хотя множество выступов вдоль внешней части зубной щетки и удовлетворительно во многих отношениях, оно может привести к накапливанию средства для чистки зубов и других агентов в течение определенного периода внутри щелей вдоль выступов. Соответственно, благоприятны конструкции корпуса, которым придают, в общем, гладкую наружную поверхность.
Следует признать, что в этой области имеется необходимость в создании усовершенствованных конструкций рукояток зубных щеток. Для надлежащего манипулирования электрической зубной щеткой и для ее ориентации при использовании требуется контур рукоятки, который хорошо сопрягается с рукой пользователя, и поверхность, имеющая относительно низкую тенденцию к скольжению при ее захватывании. Патент США 6390818 относится к проблеме создания эргономического места захватывания на зубном инструменте. Однако это устройство предназначено для втулки, которая может быть установлена поверх зубного инструмента, например, такого, который может быть использован стоматологом. При этом такое устройство непросто применить в области электрических зубных щеток, в частности, к таким щеткам, которые должны быть широко распространены в розничной продаже для их приобретения потребителями.
Хотя конструкция согласно патенту 6390818 во многих отношениях удовлетворительна, другими разработчиками предложены иные конструкции корпуса. Во многих из этих конструкций используют плоскую зону вдоль части длины корпуса. Плоская зона может облегчить захватывание корпуса, поскольку такая зона прерывает в остальном плавный контур цилиндрического корпуса. Однако в зависимости от ориентации щеточной головки такая плоская зона фактически может помешать захватыванию корпуса. Кроме того, ориентация плоской зоны по отношению к щеточной головке может быть, но может и не быть желательной в зависимости от того, какой рукой пользователь держит щетку. Примеры таких корпусов с одной или более плоскими зонами приведены в патентах США 453626 и 454695 на промышленный образец. Соответственно, остается необходимость в создании усовершенствованного корпуса электрической зубной щетки.
Краткое изложение существа изобретения
В настоящем изобретении решены все указанные выше задачи, при этом согласно первому аспекту создана электрическая зубная щетка, содержащая корпус, образованный из первого материала и включающий в себя рукоятку, щеточную головку и шейку, проходящую между рукояткой и щеточной головкой. Корпус дополнительно включает в себя первый элемент для захватывания, расположенный вдоль внешней зоны корпуса. Первый элемент для захватывания образован из второго материала, более мягкого, чем первый материал. Первый элемент для захватывания образует первую углубленную зону. Зубная щетка также содержит второй элемент для захватывания, расположенный вдоль внешней зоны корпуса. Второй элемент для захватывания также образован из второго материала. Второй элемент для захватывания образует вторую углубленную зону.
Согласно еще одному аспекту настоящего изобретения создана электрическая зубная щетка, содержащая корпус, имеющий рукоятку, щеточную головку и шейку, проходящую между рукояткой и щеточной головкой и выполненную как одно целое с ними. Корпус образует полую внутреннюю зону. Электрическая зубная щетка дополнительно содержит два элемента для захватывания, симметрично расположенные на корпусе по отношению к его продольной оси. Каждый из элементов для захватывания образован из материала, выбранного из группы, состоящей из эластомеров и материалов на основе резины, и имеющего твердость по Шору А, примерно составляющую от 30 до 99.
Согласно еще одному аспекту настоящего изобретения создана электрическая зубная щетка, содержащая корпус, включающий в себя рукоятку, щеточную головку и шейку, проходящую между рукояткой и щеточной головкой и выполненную совместно с ними как одно целое. Зубная щетка также содержит первый и второй элементы для захватывания, симметрично расположенные на корпусе по отношению к его продольной оси. Первый элемент для захватывания имеет длину, примерно составляющую от 25 до 65 мм, и ширину, примерно составляющую от 12 до 25 мм. Каждый из элементов для захватывания образует соответствующую углубленную зону.
Краткое описание чертежей
Настоящее изобретение может быть сформировано из разных компонентов и с разными компоновками элементов посредством разных технологий, способов или процессов и комбинаций стадий. Чертежи, на которые сделаны ссылки, приведены только в целях иллюстрации предпочтительных вариантов осуществления конструкции, при этом они не обязательно представлены в масштабе и не ограничивают объем изобретения.
Полагаем, что настоящее изобретение может быть лучше понято из последующего описания при его рассмотрении совместно с прилагаемыми чертежами, на которых:
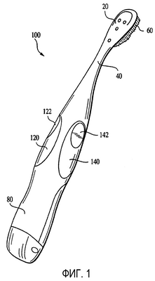
на фиг. 1 представлен вид в перспективе предпочтительного варианта осуществления конструкции зубной щетки, показанной с двумя предпочтительными элементами для захватывания согласно настоящему изобретению;
на фиг. 2 представлен вид сзади предпочтительного варианта осуществления зубной щетки согласно настоящему изобретению;
на фиг. 3 представлен боковой вид предпочтительного варианта осуществления зубной щетки согласно настоящему изобретению;
на фиг. 4 представлен подробный вид предпочтительного варианта осуществления элемента для захватывания согласно настоящему изобретению;
на фиг. 5 представлен частичный вид в поперечном сечении элемента для захватывания по линии 5-5, показанной на фиг. 4;
на фиг. 6 представлен другой частичный вид в поперечном сечении элемента для захватывания по линии 6-6, показанной на фиг. 4;
на фиг. 7 представлен вид в перспективе предпочтительного варианта осуществления зубной щетки, демонстрирующий третий элемент для захватывания вдоль передней части зубной щетки.
Подробное описание предпочтительных вариантов осуществления конструкции
На фиг. 1-3 представлен предпочтительный вариант осуществления конструкции зубной щетки 100 согласно настоящему изобретению. Предпочтительный вариант конструкции зубной щетки 100 содержит рукоятку 80, щеточную головку 20, шейку 40, проходящую между ними и предпочтительно соединенную с рукояткой 80 и головкой 20 как единое целое. На головке 20 расположено множество щетинок 60. Эти щетинки могут представлять собой неподвижные щетинки или подвижные щетинки. Под подвижными щетинками следует понимать щетинки, к которым подводят энергию или которые иным образом находятся в функциональном зацеплении с двигателем и приводным механизмом, в общем, установленными внутри корпуса или рукоятки 80 зубной щетки. Вдоль задней и боковых сторон корпуса зубной щетки 100, предпочтительно в зоне рукоятки 80 и/или рукоятки 80 и шейки 40, расположены два элемента 120 и 140 для захватывания. Эти элементы образованы из более мягкого материала, чем относительно жесткий материал, формирующий рукоятку 80, шейку 40 и щеточную головку 20 зубной щетки 100. Первый элемент 120 для захватывания расположен на одной задней боковой зоне щетки 100, а второй элемент 140 для захватывания расположен на второй задней боковой зоне зубной щетки 100. Это показано на фиг. 2. Можно видеть, что два элемента 120 и 140 расположены предпочтительно симметрично по отношению друг к другу и к продольной оси L (показана на фиг. 2 и 7) зубной щетки 100. Каждый из элементов 120 и 140 проходит вдоль части задней поверхности щетки, что показано на фиг. 2, и, как представлено на фиг. 3, предпочтительно проходит вокруг части рукоятки 80 к боковой стороне зубной щетки 100.
Каждый из элементов 120 и 140 для захватывания определяет углубленную зону соответственно 122 и 142. Эти углубленные зоны предпочтительно сформированы или определены внутри каждого из элементов 120 и 140.
На фиг. 4 более подробно представлен элемент 120 для захватывания. Предпочтительно, чтобы элементы для захватывания были идентичными, поэтому последующее описание, касающееся элемента 120, применимо и к элементу 140. Элемент 120 для захватывания в плоскостном виде предпочтительно имеет форму овала. При этом овал имеет большую ось, которая проходит в направлении, параллельном продольной оси L щетки 100. Длина элемента 120 для захватывания вдоль этой большой оси на фиг. 4 обозначена как Н1. Н1 предпочтительно составляет примерно от 25 до 65 мм, а более предпочтительно примерно от 40 до 46 мм. Все приведенные здесь измерения или размеры выполнены вдоль поверхности измеряемого объекта, если не указано иначе. Полная или максимальная ширина элемента 120 для захватывания, обозначенная на фиг. 4 как W1, составляет примерно от 12 до 25 мм, а предпочтительно примерно от 15 до 22 мм. Как указано, элемент 120 образует углубленную зону 122 захватывания. Предпочтительно, чтобы зона 122 также имела форму овала на виде в плоскости, как показано на фиг. 4. Зона 122 захватывания предпочтительно имеет длину, обозначенную на фиг. 4 как Н2. Н2 находится в диапазоне примерно от 25 до 38 мм, а более предпочтительно примерно от 18 до 25 мм. Полная ширина зоны 122 захватывания, обозначенной на фиг. 4 как W2, составляет примерно от 9 до 15 мм, а более предпочтительно примерно от 10 до 14 мм. Понятно, что зона 122 захватывания также выполнена в форме овала. Однако зона захватывания необязательно должна быть концентрично образована внутри элемента 122. На фиг. 4 показано, что зона 122 захватывания смещена от центра элемента 120. Когда каждый из элементов 120 и 140 для захватывания установлен и закреплен, либо иначе образован, вдоль корпуса 80 зубной щетки 100, как показано, например, на фиг. 1, зона 122 захватывания предпочтительно будет расположена ближе к щеточной головке 20, чем к противоположному концу щетки 100.
На фиг. 5 и 6 представлены частичные подробные виды в поперечном сечении элемента 120 для захватывания, показанного на фиг. 4. Точнее, на фиг. 5 представлен частичный вид элемента 120 в поперечном сечении по линии 5-5, показанной на фиг. 4. На фиг. 6 представлен частичный вид в поперечном сечении по линии 6-6, показанной на фиг. 4. На каждой из фиг. 5 и 6 показана пониженная или углубленная зона 122 захватывания, образованная в элементе 120. Величина или степень понижения достигает максимальной глубины D2, как показано на фиг. 5 и 6. Величина D2 находится в диапазоне примерно от 3 до 10 мм, а предпочтительно примерно от 5 до 8 мм.
Настоящее изобретение частично основано на задании определенных размеров первого и второго элементов для захватывания и образованных в них углубленных зон. Указанные размеры, как установлено, позволяют обеспечить особенно выгодные и благоприятные эргономические аспекты. Кроме того, отличительный признак, заключающийся в симметрии, когда используют два противоположно расположенных элемента для захватывания, обеспечивает повышение практичности и функциональности зубной щетки.
Каждый из элементов 120 и 140 для захватывания предпочтительно расположен в том месте, которое находится приблизительно в середине или в средней точке полной длины зубной щетки 100. Хотя настоящее изобретение охватывает широкий ряд конфигураций симметричного расположения, предпочтительно, чтобы каждый из элементов 120 и 140 был расположен в определенном месте на теле или корпусе зубной щетки 100 так, чтобы средняя точка полной длины от дальнего конца щеточной головки 20 до самой отдаленной зоны противоположного конца попадала в углубленную зону элемента для захватывания.
На фиг. 7 представлен вид в перспективе, иллюстрирующий переднюю зону предпочтительного варианта осуществления зубной щетки 100. Зубная щетка 100 предпочтительно также включает в себя третий элемент 200 для захватывания, определяющий углубленную зону 202. Внутри углубленной зоны 202 предпочтительно расположен или установлен подвижный выключатель или исполнительный механизм 204. Исполнительный механизм 204 управляет работой зубной щетки 100. Предпочтительно, чтобы элемент 200 для захватывания окружал подвижный исполнительный механизм 204, а наиболее предпочтительно, чтобы он окружал исполнительный механизм 204 независимо от его положения внутри углубленной зоны 202.
В предпочтительной зубной щетке 100 использованы конкретные ориентация и расположение третьего элемента 200 для захватывания по отношению к первому и второму элементам для захватывания соответственно 120 и 140. Эту конфигурацию можно будет понять, если рассмотреть фиг. 7 и обратить внимание на различные плоскости и линии, показанные на ней, которые пересекают зубную щетку 100.
На фиг. 7 представлена плоскость Q, которая проходит вдоль продольной оси L зубной щетки 100. Плоскость Q рассекает зубную щетку 100 фактически на две половины – первую половину и вторую половину. Плоскость Q пересекает зубную щетку 100 по всей ее длине. Плоскость Q пересекает зубную щетку 100 по линии Y, показанной на фиг. 7. Плоскость Р также пересекает зубную щетку 100, однако она ориентирована перпендикулярно плоскости Q. Зона пересечения плоскости Р и зубной щетки 100 определяется линией Х, показанной на фиг. 7. Эта зона пересечения соответствует поперечному сечению корпуса зубной щетки в месте пересечения плоскости Р. Согласно отличительному признаку настоящего изобретения предпочтительно, чтобы тело зубной щетки 100, в общем, имело овальное или овалообразное поперечное сечение, по меньшей мере, на большей части ее длины. Хотя форма поперечного сечения может изменяться в зависимости от места по длине тела зубной щетки, в котором плоскость Р пересекает это тело, обычно предпочтительно, чтобы эта форма по существу была овальной. Кроме того, также предпочтительно, чтобы большая ось проходила внутри плоскости Q и таким образом тоже пересекала бы продольную ось L зубной щетки 100.
На фиг. 7 также представлены различные профили или линии, которые проходят по внешней периферии корпуса или тела зубной щетки 100 в разных местах по его длине. Эти линии показаны на фиг. 7, чтобы лучше проиллюстрировать относительное положение и ориентацию третьего элемента 200 для захватывания по отношению к каждому из первого и второго элементов для захватывания соответственно 120 и 140. Как было отмечено ранее, относительные положения первого и второго элементов для захватывания соответственно 120 и 140 симметричны и, в общем, одни и те же по отношению друг к другу и в отношении их места вдоль тела зубной щетки 100. Соответственно, последующее описание положения и ориентации третьего элемента 200 для захватывания приведено по отношению только ко второму элементу 140 для захватывания, показанному на фиг. 7.
Третий элемент 200 для захватывания предпочтительно расположен вдоль передней зоны или передней поверхности зубной щетки 100. Предпочтительно, чтобы третий элемент 200 был симметрично расположен вдоль передней стороны, так что линия Y рассекает третий элемент 200 соответственно на две равные половины. Третий элемент 200 для захватывания расположен несколько далее к концу зубной щетки 100, противоположному щеточной головке 20, по сравнению с местоположением по длине тела зубной щетки элемента 140 для захватывания. То есть, конец элемента 200, наиболее близкий к щеточной головке 20, определен линией В. Эта линия В находится ближе к дальнему концу щетки, противоположному щеточной головке 20, чем линия А, которая определяет дальний конец второго элемента 140 для захватывания, который наиболее близок к щеточной головке 20. Подобным же образом, другой конец третьего элемента 200 для захватывания, определяемый линией F, ближе к концу зубной щетки 100, противоположному щеточной головке 20, чем соответствующий конец второго элемента 140, определяемый линией Е.
Углубленная зона 202, образованная внутри третьего элемента 200 для захватывания, также имеет предпочтительное местоположение вдоль внешней части зубной щетки 100, которое описано далее. Дальний конец углубленной зоны 202, наиболее близкий к щеточной головке 20, определен линией С и находится ближе к щеточной головке 20, чем конец второй углубленной зоны 142, противоположный щеточной головке 20 и определенный линией D. Кроме того, противоположный конец углубленной зоны 202, определяемый линией G, находится ближе к концу зубной щетки 100, противоположному щеточной головке 20, чем дальний конец первого элемента 140 для захватывания, определяемый линией Е. Результат этой конкретной ориентации углубленной зоны 202 внутри третьего элемента 200 для захватывания заключается в том, что подвижный исполнительный механизм 204 расположен со смещением от центра по отношению к длине третьего элемента для захватывания и предпочтительно расположен ближе к концу зубной щетки 100, противоположному щеточной головке 20, чем центр или средняя точка как первого, так и второго элементов 120 и 140 для захватывания.
Полная длина, измеренная вдоль линии Y третьего элемента 200 для захватывания, предпочтительно больше длины как первого, так и второго элементов 120 и 140 для захватывания, обозначенной здесь как Н1. Подобным же образом, полная длина углубленной зоны 202, определяемая вдоль линии Y, больше, чем длина любой из углубленных зон 122 или 142.
В предпочтительном варианте осуществления зубной щетки 100 также могут быть использованы дополнительные элементы для захватывания в разных зонах вдоль корпуса или тела щетки. Кроме того, элементы для захватывания согласно настоящему изобретению, то есть первый, второй и третий элементы, не ограничены овальными формами, а также не ограничены их конкретными местоположением и ориентацией, указанными на прилагаемых фигурах. Элементы для захватывания согласно настоящему изобретению могут быть обеспечены в разных местах вдоль наружной поверхности тела или корпуса зубной щетки. Далее, один или более из этих элементов могут быть ориентированы иначе, чем на упомянутых фигурах.
Материалы для формирования каждого из элементов 120, 140 и 200 для захватывания предпочтительно представляют собой материалы, которые обладают определенной степенью упругости и податливости, и, кроме того, способствуют захватыванию вдоль их наружной поверхности. Примеры таких материалов включают в себя эластомеры и материалы на основе резины.
Как указано, материалы, используемые для формирования первого, второго и третьего элементов 120, 140 и 200, более мягкие и более упругие, чем материалы, формирующие корпус зубной щетки 100. В общем, твердость материала, формирующего корпус, составляет по Шору D примерно от 30 до 80, а более предпочтительно от 50 до 70. Предпочтительно, чтобы материал, формирующий элементы 120, 140 и 200 для захватывания, имел твердость примерно от 30 до 99, а более предпочтительно примерно от 40 до 70, если измерять ее по шкале А Шора. Понятно, что настоящее изобретение не ограничено этими конкретными значениями твердости и могут быть использованы материалы, которые мягче или тверже.
Для формирования корпуса 80 предпочтительного варианта осуществления зубной щетки 100 может быть использован широкий ряд полимеров. В последующем описании предпочтительных полимерных материалов для использования в настоящем изобретении сокращения, которые обычно используют квалифицированные специалисты в этой области для указания определенных полимеров, будут приведены в скобках, следующих за полным наименованием полимера. Полимер предпочтительно представляет собой полипропилен (“РР”), либо он может быть выбран из группы, состоящей из других коммерчески доступных материалов, таких как полистирол (“PS”), полиэтилен (“РЕ”), сополимер стирола и акрилонитрила (“SAN”) и ацетопропионат целлюлозы (“САР”). Эти материалы могут быть смешаны с одним или более дополнительными полимерами, включая термопластичный эластомер (“ТРЕ”), термопластичный олефин (“ТРО”), мягкий термопластичный полиолефин (например, полибутилен), либо они могут быть выбраны из других эластомерных материалов, таких как сополимер этилена и винилацетата (“EVA”) и этиленпропиленовый каучук (“EPR”). Примеры приемлемых термопластичных эластомеров в данном случае включают в себя блок-сополимер стирола, этилена и бутадиена с чередованием блоков (“SEBS”), блок-сополимер стирола и бутадиена с чередованием блоков (“SBS”) и блок-сополимер стирола и изопрена с чередованием блоков (“SIS”). Примеры приемлемых термопластичных олефинов в данном случае включают в себя полибутилен (“РВ”) и полиэтилен (“РЕ”).
Кроме того, может быть обеспечен цвет, чтобы придать зубной щетке приятный, с эстетической точки зрения, внешний вид. Могут быть обеспечены непрозрачные и прозрачные цвета. Для прозрачных щеток, кроме того, может быть создана вставка в рукоятку. Такие вставки могут иметь любой цвет, и их обычно изготавливают из полипропиленого материала.
Для изготовления зубной щетки согласно настоящему изобретению могут быть использованы технологии, известные квалифицированным специалистам в этой области, например инжекционное формование.
В настоящем изобретении могут быть использованы отличительные признаки, аспекты, компоненты, материалы и характеристики одной или более из нижеследующих опубликованных заявок на патент или выпущенных патентов: публикации WO 01/29128, патента США 6000083, патента США 432312 на промышленный образец, патента США 433814 на промышленный образец, патента США 6178579, патента США 6189693, патента США 6311837, опубликованной заявки на патент США 2002/0032941, патента США 6360395 и патента США 6371294, все из которых введены сюда посредством ссылки на них.
Приведенное выше описание в настоящее время следует считать предпочтительными вариантами осуществления настоящего изобретения. Однако предполагается, что могут быть выполнены без отклонения от сущности настоящего изобретения различные изменения и модификации, очевидные для квалифицированных специалистов в этой области. При этом предполагается, что приведенное выше описание охватывает все такие изменения и модификации, заключенные в пределах существа и объема настоящего изобретения, включая все эквивалентные аспекты.
Все документы, на которые сделаны ссылки в подробном описании изобретения, представляют собой соответствующую часть описания, введенную сюда посредством их упоминания; ссылку на какой-либо документ не следует рассматривать как допущение того, что он является известным уровнем техники по отношению к настоящему изобретению.
Хотя представлены и описаны определенные варианты осуществления настоящего изобретения, квалифицированным специалистам в этой области будет очевидно, что без отклонения от существа и объема изобретения могут быть выполнены различные изменения и модификации. При этом предполагается охватить в прилагаемых пунктах формулы изобретения все такие изменения и модификации, которые находятся в объеме этого изобретения.
Формула изобретения
1. Электрическая зубная щетка, содержащая корпус, образованный из первого материала и включающий в себя рукоятку, щеточную головку и шейку, проходящую между рукояткой и щеточной головкой, характеризующаяся тем, что корпус дополнительно содержит первый и второй элементы для захватывания, расположенные вдоль наружной зоны корпуса симметрично по отношению к его продольной оси, причем каждый из элементов для захватывания имеет углубленную зону и образован из второго материала, более мягкого, чем первый материал.
2. Электрическая зубная щетка по п.1, характеризующаяся тем, что первый элемент для захватывания имеет длину примерно от 25 до 65 мм и ширину примерно от 12 до 25 мм.
3. Электрическая зубная щетка по п.1, характеризующаяся тем, что углубленная зона в первом элементе для захватывания имеет длину примерно от 25 до 38 мм, ширину примерно от 9 до 15 мм и глубину примерно от 3 до 10 мм.
4. Электрическая зубная щетка по п.1, характеризующаяся тем, что второй материал имеет твердость по Шору А между примерно 30 и 99.
5. Электрическая зубная щетка по п.1, характеризующаяся тем, что указанные элементы для захватывания образованы из материала, выбранного из группы, состоящей из эластомеров и материалов на основе резины.
6. Электрическая зубная щетка по п.1, характеризующаяся тем, что корпус дополнительно содержит третий элемент для захватывания, расположенный вдоль наружной зоны корпуса между первым и вторым элементами для захватывания.
7. Электрическая зубная щетка по п.6, характеризующаяся тем, что на третьем элементе для захватывания расположен подвижный выключатель для управления работой зубной щетки.
8. Электрическая зубная щетка по п.7, характеризующаяся тем, что третий элемент для захватывания образован из материала, имеющего твердость по Шору А примерно между 30 и 99.
РИСУНКИ
|
|