|
(21), (22) Заявка: 2005126849/14, 25.08.2005
(24) Дата начала отсчета срока действия патента:
25.08.2005
(46) Опубликовано: 20.04.2007
(56) Список документов, цитированных в отчете о поиске:
RU 2159093 C1, 20.11.2000. US 6159010 А, 12.12.2000. US 5681167 A, 26.10.1997. RU 2125852 C1, 10.02.1999. US 6068438 А, 30.05.2000. КОПЕЙКИН В.Н., ДЕМНЕР Л.М. Зубопротезная техника. – М.: Из-во «Триада-Х», 1998, с.167-180.
Адрес для переписки:
119421, Москва, Ленинский пр-кт, 99, кв.226, пат. пов. Ю.И. Копырину
|
(72) Автор(ы):
Солодкий Владимир Григорьевич (RU), Иванов Сергей Юрьевич (RU), Широков Юрий Евгеньевич (RU), Алешин Николай Алексеевич (RU)
(73) Патентообладатель(и):
Солодкий Владимир Григорьевич (RU), Иванов Сергей Юрьевич (RU), Широков Юрий Евгеньевич (RU), Алешин Николай Алексеевич (RU), Государственное образовательное учреждение высшего профессионального образования “Московский Государственный Медико-Стоматологический Институт” (RU)
|
(54) СПОСОБ ИЗГОТОВЛЕНИЯ ЗУБНОГО ПРОТЕЗА С ИСПОЛЬЗОВАНИЕМ ИМПЛАНТАТОВ, УСТРОЙСТВО ЗУБНОГО ПРОТЕЗА С ИСПОЛЬЗОВАНИЕМ ИМПЛАНТАТОВ И НАБОР ПРИСПОСОБЛЕНИЙ ДЛЯ ЗУБНОГО ПРОТЕЗИРОВАНИЯ
(57) Реферат:
Изобретение относится к области медицины и медицинской техники, в частности к стоматологии, и предназначено для использования при лечении больных с потерей зубов, а также при наличии заболеваний пародонта или предрасположенности к ним. Технический результат – возможность оказания профессиональной гигиены тканей вокруг имплантата в полном объеме с помощью минимальных пародонтологических и хирургических операций и последующей установки этого же протеза обратно. Для лечения используется способ изготовления зубного протеза с использованием имплантатов, при котором выполняют оттиск челюсти с образованными на имплантатах выступающими частями головок конусообразной формы, охваченными копирующими выемками слепочных модулей, в выемках замоноличенных слепочных модулей полученного оттиска фиксируют копии выступающих частей, отливают модель челюсти с замоноличенными в ней копиями выступающих частей и после снятия оттиска челюсти на полученной модели челюсти с копиями выступающих частей изготавливают протез, причем согласно изобретению выполняют оттиск образованной на каждом имплантате выступающей части с возможностью регулирования ее геометрических размеров, в том числе высоты цилиндрической десневой части. В устройстве зубного протеза с использованием имплантатов каждый имплантат выполнен составным из базовой части и головки, содержащей корпус, обращенный к протезу торец которого выполнен конусообразной формы, а протез выполнен с конусообразной выемкой, посредством которой смонтирован на головке имплантата, при этом протез и головка имплантата соединены между собой разъемным соединением. Для осуществления изобретения предложен набор приспособлений для зубного протезирования, содержащий, по меньшей мере, один слепочный модуль, одну копию выступающей части имплантата и одну выжигаемую заготовку. 3 н. и 6 з.п. ф-лы, 26 ил.
Изобретение относится к медицине, в частности к стоматологии, и может быть использовано, например, для лечения больных с потерей зубов, а также при наличии заболеваний пародонта или предрасположенности к ним.
Известен способ изготовления зубного металлического протеза (1).
Согласно способу протез закрепляют на естественных зубах на искусственных коронках, которые являются неотъемлемой частью протеза.
Недостаток известного способа заключается в том, что изготовленный протез является неразборным. При необходимости лечить опорные зубы под протезом или десна или при необходимости ремонта протеза для того, чтобы снять протез, его необходимо разрушить. Поэтому лечение продолжается длительное время и дорого для пациента. Другой недостаток известного способа состоит в использовании в качестве опоры естественных зубов, что ведет к их расшатыванию и не позволяет использовать способ при заболеваниях пародонта или при расположенности к ним.
Известен способ изготовления зубного несъемного цельнолитого металлокерамического протеза с имплантированными металлическими опорами (2).
Недостаток этого способа, как и предыдущего, заключается в том, что изготовленный протез является неразборным.
Для того чтобы пояснить существенность данного недостатка, рассмотрим прежде всего вопрос о том, чем отличается имплантат от зуба.
Как известно, зуб в самом общем случае состоит из коронки и корня. Но в организме – это зубочелюстной сегмент, который включает собственно зуб и часть кости челюсти, в которой он находится. Между зубом и челюстью, точнее костью челюсти, имеется щель, называемая пародонтом. Она выполняет разные функции, одна из них – защитная: из пародонтовой щели выделяется десневая жидкость, которая препятствует образованию микробной бляшки, которая, в свою очередь, в дальнейшем является звеном в патологии болезни десны, пародонта, которая ведет к воспалительным процессам в десне и к атрофии костной ткани.
Имплантаты, как известно, применяются вместо зубов для их замены. Каждый имплантат состоит из собственно имплантата, вживленного в кость, и покрывающей его сверху коронки. Но имплантат в организме – это имплантато-десневой сегмент. Одно из существенных отличий имплантата от здорового зуба состоит в том, что для вживленного в кость имплантата характерна остеоинтеграция, заключающаяся в том, что костная ткань непосредственно присоединяется к имплантату, врастая в его лакунки. Имплантато-десневой сегмент не имеет пародонтальной защиты и, значит, не имеет возможности самоочистки коронки за счет природой предусмотренного механизма. Это означает, что сам пациент, имеющий имплантат, должен самостоятельно или с помощью доктора компенсировать данный механизм. Можно сказать, что недостаточно вместо зуба поставить имплантат, важно добиться, чтобы имплантат прослужил многие годы. Для этого надо поддерживать здоровую ткань вокруг имплантата, а для этого надо создать условия для индивидуальной и профилактической гигиены. Поэтому важно создать способы и устройства, дающие возможность быстро и дешево снимать мосты и коронки с имплантатов, чтобы поддерживать здоровую ткань вокруг имплантата, чтобы не приходилось из-за одного имплантата разрушать весь имплантато-десневой сегмент с последующим его восстановлением, что требует много времени и дорого. Например, для того чтобы добраться к ткани вокруг имплантата требуется разрушить существующий мост, пролечить ткань, затем создать новый мост и его установить.
С целью устранения данного недостатка и изготовления съемного протеза был предложен способ изготовления зубного протеза с использованием имплантатов, при котором выполняют оттиск челюсти с образованными на имплантатах выступающими частями конусообразной формы, охваченными копирующими выемками слепочных модулей, в выемках замоноличенных слепочных модулей полученного оттиска фиксируют копии выступающих частей, отливают гипсовую модель челюсти с замоноличенными в ней копиями выступающих частей и после снятия оттиска челюсти на полученной модели челюсти с копиями выступающих частей изготавливают протез (3).
Согласно этому техническому решению устройство зубного протеза с использованием имплантатов включает, по меньшей мере, пару имплантатов и протез, а для его реализации дополнительно используется набор приспособлений для зубного протезирования, включающий слепочные модули и копии выступающих частей, образованных на имплантатах.
Способ изготовления зубного протеза с использованием имплантатов, устройство зубного протеза с использованием имплантатов и набор приспособлений для зубного протезирования, охарактеризованные в источнике (3), приняты в качестве прототипа заявленных изобретений, поскольку являются наиболее близкими к ним по совокупности общих существенных признаков и достигаемому результату.
Примечание: согласно принятой в стоматологии терминологии под термином «имплантат» понимается непосредственно вживленное в костную ткань инородное тело, расположенное внутри костной ткани под десной. Остальные детали «образуют», «монтируют», «выполняют» уже на имплантате. Данная особенность была учтена при характеристике описанного выше прототипа.
По сравнению с описанными в источниках (1) и (2) техническими решениями охарактеризованный в источнике (3) протез является съемным, что является его преимуществом.
Однако при использовании прототипа следует заметить следующее.
Во-первых, использование технического решения по прототипу ограничено узким перечнем материалов, применяемых в стоматологии. Это обусловлено следующим.
Одним из существенных признаков прототипа является прилегающий к выступающей части имплантата металлический колпачок, впрессованный в материал протеза. Для нормальной работы протеза необходимо, чтобы между колпачком и протезом, в который он впрессован, обеспечивалось бы непрерывное физико-механическое соединение. Однако, поскольку колпачок изготовлен из металлического сплава, то он характеризуется определенными физико-техническими свойствами (например, имеет определенное значение коэффициентов линейного и объемного расширения при нагревании и т.д.). Очевидно, что материал протеза, контактирующий с металлическим колпачком, должен соответствовать этим физико-техническим свойствам металла колпачка, так как только при этом условии между ними обеспечивается непрерывное физико-механическое соединение. Очевидно, что таких материалов очень мало. В прототипе указан только материал Dental D для изготовления протеза.
В стоматологии для изготовления зубных протезов используются сплавы с разной физико-химической основой: сплавы на основе хрома-кобальта, сплавы на основе хрома-никеля, титановые сплавы, сплавы на основе благородных металлов и другие. Это обусловлено требованиями к материалам (они должны обладать биосовместимостью, отвечать требованиям гигиены, подвергаться стерилизации и т.д.).
Поэтому, если использовать техническое решение по прототипу, то к каждому из этих сплавов, если из них изготавливается протез (или его каркас), потребуется разработать отдельный (свой) состав сплава колпачка, что невозможно реально осуществить, так как в стоматологии используется более 500 видов сплавов.
Другим недостатком прототипа является то, что в нем затруднен в ряде случаев ремонт протеза, в частности при поломке винта и его заклинивании в осевом отверстии имплантата. В последнем случае извлечение винта возможно только при условии разрушения имплантата, что нежелательно. Однако данный вид поломки вполне возможен, поскольку винт несет значительную нагрузку после установки протеза. Например, винт может износиться, он может от жевательных нагрузок раскрутиться и даже поломаться. Перелом расположенного по центру винта поэтому является наиболее вероятным частым осложнением узла сопряжения.
Кроме того, следует отметить, что в прототипе не обеспечивается возможность заживления десны после установки имплантатов, поскольку имплантаты сразу выполнены с выступающими над десной частями. Обычно более приемлемо после установки имплантатов зашить десну над ними и дать время на заживление ран и остеоинтеграцию. И только после этого производить установку протеза.
Наконец, в прототипе не учитывается разная толщина десны в местах установки имплантатов, что не дает возможность создать дополнительный положительный эстетический эффект и улучшенные условия для гигиены вокруг остова имплантата в полости рта.
Целью заявленных изобретений является намерение найти техническое решение, характеризующееся наряду с повышенной прочностью и долговечностью съемного протеза, также возможностью использовать для его изготовления полный перечень разрешенных стоматологических материалов (сплавов), повышенным удобством ремонта, в том числе удобством извлечения заклинившего винта. Целью изобретений является также обеспечение возможности заживления десны после установки имплантатов перед проведением работ по созданию протеза, а также создание улучшенных условий и контроля гигиены вокруг имплантата в полости рта после протезирования.
Первым объектом заявленного изобретения является способ изготовления зубного протеза с использованием имплантатов, при котором выполняют оттиск челюсти с образованными на имплантатах выступающими частями конусообразной формы, охваченными копирующими выемками слепочных модулей, в выемках замоноличенных слепочных модулей полученного оттиска фиксируют копии выступающих частей, отливают модель челюсти с замоноличенными в ней копиями выступающих частей и после снятия оттиска челюсти на полученной модели челюсти с копиями выступающих частей изготавливают протез, причем согласно изобретению выполняют оттиск образованной на каждом имплантате выступающей части в виде съемной головки с возможностью регулирования ее геометрических размеров, в том числе высоты цилиндрической десневой части.
Такое техническое решение имеет следующие преимущества по сравнению с прототипом: возможность использовать для его изготовления полный перечень разрешенных стоматологических материалов (сплавов), повышенное удобство его ремонта, в том числе удобство извлечения заклинившего винта, обеспечение возможности заживления десны после установки имплантатов перед проведением работ по созданию протеза, а также создание улучшенных условий для гигиены вокруг остова имплантата в полости рта.
Кроме того, применительно к способу, мы считаем необходимым выделить следующие развития и/или уточнения совокупности его существенных признаков, относящиеся к частным случаям выполнения или использования.
Протез на копии торца конусообразной формы головки имплантата может быть изготовлен различными приемами. Однако наиболее предпочтителен прием, согласно которому для изготовления протеза одевают на копию торца конусообразной формы головки имплантата конусообразной выемкой выжигаемую модель с моделированием вокруг выжигаемым материалом, например воском, модели каркаса протеза, отделяют полученную модель каркаса протеза, которую после изготовления литниковой системы помещают в опоку из огнеупорной массы с последующим выгоранием выжигаемой модели и выжигаемого материала и заполнением освободившегося пространства металлом, причем полученный каркас протеза после покрытия облицовочным материалом фиксируют конусообразной выемкой на торце конусообразной формы головки имплантата.
С другой стороны, изобретение относится к устройству зубного протеза с использованием имплантатов, включающее, по меньшей мере, пару имплантатов и протез, причем согласно изобретению имплантат выполнен составным из базовой части и выступающей части в виде головки, содержащей корпус, обращенный к протезу торец которого выполнен конусообразной формы, а протез выполнен с конусообразной выемкой, посредством которой смонтирован на головке имплантата, при этом протез и головка соединены между собой разъемным соединением.
Заявитель считает необходимым отметить, что выделение устройства в качестве самостоятельного объекта обусловлено тем, что выполнять оттиск выступающей части каждого имплантата с возможностью регулирования ее геометрических размеров можно различными конструктивными решениями. Помимо вышеизложенного в предыдущем абзаце, геометрические размеры можно менять, например, путем изготовления имплантата раздвижным, что значительно сложнее.
При этом возможны многочисленные модификации отдельных элементов и узлов заявленного устройства.
Например, обращенный к имплантату торец корпуса головки может быть выполнен также конусообразной формы с концевым выступом цилиндрообразной формы с отверстием с винтовой резьбой, а имплантат выполнен с выходящим на наружную поверхность отверстием, имеющим у наружной поверхности расширяющуюся в ее сторону конусообразную форму, а на остальной части – цилиндрическую форму, оснащенную винтовой резьбой.
Это же относится и к конструкции разъемного соединения. По мнению заявителя, наиболее целесообразна конструкция, согласно которой разъемное соединение содержит установленный в сквозном отверстии протеза винт, ножка которого с винтовой резьбой ввинчена в винтовое отверстие в головке, а шляпка оперта в выступ в сквозном отверстии протеза и закрыта сверху пломбировочным материалом. При этом протез может представлять собой как мост, так и иную конструкцию, выполненную на зубах.
Для реализации способа и устройства используется набор приспособлений для зубного протезирования, включающий слепочные модули и копии выступающих частей имплантатов, причем согласно изобретению каждый слепочный модуль содержит корпус, выполненный стержнеобразной формы с насечками на наружной поверхности и конусообразной выемкой на одном торце, соединенной посредством зауженной части со сквозным осевым отверстием, а также расположенный внутри него винт, выполненный по длине составным из частей разного диаметра, меньший из которых оснащен наружной винтовой резьбой и расположен внутри конусообразной выемки; каждая копия выступающей части имплантата выполнена в виде копии торца конусообразной формы головки, содержит корпус стержнеобразной формы, выполненный с имеющим отверстие с винтовой резьбой конусообразным выступом с одной стороны, а с другой стороны корпуса на наружной боковой поверхности образованы насечки; и, кроме того, набор дополнительно содержит выжигаемые заготовки для установки на копии торцов конусообразной формы головки, каждая из которых включает корпус стержнеобразной формы, с одного торца выполненный с выемкой конусообразной формы, соединенной посредством зауженной части со сквозным осевым отверстием, а также расположенный внутри него винт, оснащенный наружной винтовой резьбой, стержень которого расположен внутри конусообразной выемки, а шляпка оперта на зауженную часть.
Отдельные элементы каждого приспособления могут иметь различные конструктивные исполнения.
В частности, желательно, чтобы корпус головки был бы выполнен с цилиндрической десневой частью между торцом конусообразной формы и противоположной стороной конусообразной формы с концевым выступом цилиндрообразной формы с винтовой резьбой.
Предпочтительно, чтобы выжигаемая заготовка была бы изготовлена из беззольной пластмассы.
Важным преимуществом заявленных изобретений является также то, что для их реализации может быть использовано технологическое оборудование, уже применяемое в медицинской промышленности.
Изобретение поясняется чертежом.
На фиг.1 изображена схематично кость челюсти с десной, поперечное сечение;
На фиг.2 – то же, в процессе установки имплантата;
На фиг.3 – то же, после вживления имплантата;
На фиг.4 схематично изображен зубной ряд в процессе открытия имплантатов и удаления винтов-заглушек, аксонометрия;
На фиг.5 схематично изображен зубной ряд в процессе установки формирователей десны на зубном ряду, аксонометрия;
На фиг.6 изображен отдельно предпочтительный вариант формирователя десны, вид сбоку;
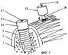
На фиг.7 – то же, вид А фиг.6;
На фиг.8 изображен предпочтительный вариант головки имплантата, вид сбоку;
На фиг.9 схематично изображен имплантат в процессе установки в него головки при помощи транспортировочного винта, аксонометрия, рядом отдельно показан транспортировочный ключ;
На фиг.10 схематично изображен зубной ряд после установки промежуточных головок с различной толщиной десневой (трансмукозной) части, аксонометрия;
На фиг.11 схематично изображен защитный колпачок, закрепленный на головке;
На фиг.12 изображен вариант защитного колпачка, вид сбоку;
На фиг.13 изображен корпус слепочного модуля, вид сбоку, продольное сечение;
На фиг.14 – то же, вид Б фиг.13;
На фиг.15 изображен винт слепочного модуля, вид сбоку, продольное сечение;
На фиг.16 – то же, вид В фиг.15;
На фиг.17 схематично изображен зубной ряд в процессе установки слепочных модулей, аксонометрия;
На фиг.18 схематично изображен вырыв Г фиг.17;
На фиг.19 схематично изображен зубной ряд в процессе снятия слепка импланто-десневого сегмента, аксонометрия;
На фиг.20 схематично изображен отсоединенный слепок импланто-десневого сегмента в процессе прикрепления копии торца конусообразной формы головки к конусообразной выемке замоноличенного в нем слепочного модуля, аксонометрия;
На фиг.21 изображена копия торца конусообразной формы головки, вид сбоку;
На фиг.22 – то же, сечение Д-Д фиг.21;
На фиг.23 схематично изображена модель челюсти с выступающей копией торца конусообразной формы головки в процессе одевания на нее конусообразной выемкой выжигаемых заготовок, аксонометрия;
На фиг.24 схематично изображена модель челюсти с изготовленной на ней моделью каркаса протеза в процессе его отделения от модели челюсти, аксонометрия;
На фиг.25 схематично изображена отдельно модель каркаса протеза с литниковой системой, аксонометрия;
На фиг.26 схематично изображен изготовленный протез (представляющий собой облицованный металлический каркас протеза) в процессе установки его на зубной ряд, аксонометрия.
Заявленные изобретения, объединенные единым общим изобретательским замыслом, поясняются на следующем примере, реализующем заявленный способ, позволяющем создать заявленное устройство при помощи заявленных приспособлений. По мере описания изобретений будут даны как подробные описания деталей в статике, так и в процессе их функционирования.
Установка протеза начинается с обследования пациента. Сначала производится планирование операции по вживлению имплантатов, которое включает в себя: сбор анамнеза, рентгенологическое исследование с использованием рентгенологических шаблонов. Проводимое лабораторное исследование, в частности, состоит из сбора анализов, выявления противопоказаний, изготовления диагностических моделей и операционных шаблонов, контроля гигиены полости рта, обучения пациентов за контролем гигиены полости рта. Пациенту производят предоперационные назначения, включающие в себя, в том числе, и профилактику развития постоперационных инфекций. Намечаются места установки имплантатов. Их может быть различное количество в зависимости от конкретной ситуации у пациента – от одного (например, если на зуб надо установить коронку), до двух и более (например, если надо установить мост). На фиг.1 показано одно из мест установки имплантата в костной ткани 1 челюсти, покрытой десной 2.
Для установки имплантата 3 сначала производится разрез десны 2 в пределах альвеолярного отростка (фиг.2). После этого отслаиваются слизисто-надкостничные лоскуты 4 и 5. С помощью специальных хирургических инструментов производится подготовка ложа под имплантат, а именно сверление костной ткани 1 хирургическими сверлами с последовательно увеличивающимися диаметрами под охлаждением стерильным раствором, затем нарезание резьбы в костной ткани (в кости) метчиком и промывание от костной стружки ложа под имплантатом. После этого устанавливают имплантат 3 вровень (заподлицо) или чуть ниже краев образованной костной раны. Имплантат 3 представляет собой металлический стержень, например, из титана с лакунами на наружной поверхности для остеоинтеграции. Внутри имплантата 3 вдоль продольной оси выполнено отверстие 6, имеющее у наружной поверхности расширяющуюся в ее сторону конусообразную форму, а на остальной части – цилиндрическую форму, оснащенную винтовой резьбой (не показана на фигурах, чтобы их не перегружать). После установки имплантата 3 в него сверху ввинчивается заглушка 7, которая состоит из шляпки 8 и ножки 9 с винтовой резьбой 10 на ней. Для установки заглушки 7 ее ножка 9 опускается в отверстие 6 в имплантате 3 и путем вращения ножки 9 винтовая резьба 10 заглушки 7 ввинчивается в винтовую резьбу отверстия 6 имплантата 3. Затем слизисто-надкостничные лоскуты 4 и 5 укладываются на свое место и фиксируются швами.
Через некоторое время после установки имплантата 3 в костную ткань 1 слизисто-надкостничный лоскут заживает над имплантатом. Этот момент показан на фиг.3. Период заживления зависит от плотности костной ткани, топографоанатомических особенностей строения челюстей, усилия при установке имплантата и равен в среднем на нижней челюсти – не менее трех месяцев, на верхней челюсти – не менее шести месяцев. За это время происходит окончательная остеоинтеграция между поверхностью имплантата 3 и костной тканью 1 челюстей.
После вживления имплантата 3 в костную ткань 1 осуществляется открытие имплантата 3. Это производится следующим рядом последовательно следующих друг за другом операций:
а) Разрезают скальпелем 11 в проекции заглушки 7 десну 2. Возможно использование перфоратора для удаления сверхлежащей ткани. Если слизистая оболочка толстая, а имплантат 3 был установлен ниже краев костной раны, то может потребоваться «щадящее» поднятие слизисто-надкостничного лоскута и удаление сверхлежащей ткани.
б) Используя отвертку 12 с шестигранной рабочей головкой выворачивают заглушку 7. Для этого конец шестигранной отвертки 12 вставляют в имеющееся в шляпке 8 заглушки 7 углубление 13 шестигранной формы и вращают ее против часовой стрелки, обозначенной позицией 14 на фиг.4 (примечание вместо отвертки с шестигранной рабочей головкой может быть использована отвертка с четырехгранной рабочей головкой или головкой иной формы в зависимости от формы углубления в шляпке).
После удаления заглушки 7 в открывшееся отверстие 6 с винтовой резьбой имплантата 3 вводят формирователь десны 15 и плотно его фиксируют в имплантате 3 с помощью резьбовой части (фиг.5). Формирователь десны 15 нужен для формирования десневого края вокруг имплантата 3. Его конструкция изображена на фиг.6 и 7. Формирователь десны 15 содержит корпус 16 цилиндрической формы для формирования резьбы. Корпус 16 выполнен с отверстием 17 шестигранной в плане формы для установки в нее шестигранного конца отвертки. Кроме того, корпус 16 оснащен резьбовой частью в виде цилиндрического выступа 18 с наружной винтовой резьбой. Для установки формирователя десны 15 в имплантат 3 конец его цилиндрического выступа 18 вставляют в отверстие 6 с винтовой резьбой имплантата 3, затем шестигранный конец отвертки вставляют в отверстие 17 в корпусе 16 формирователя десны 15 и вращением отвертки ввинчивают цилиндрический выступ 18 в отверстие 6 с винтовой резьбой имплантата 3. Для удаления формирователя десны конец отвертки 19 после вставления в отверстие 17 вращают в обратном направлении.
Формирователь десны 15 меняется на головку 20 после окончания заживления десны 2.
Установка головки 20 (иначе называемой – абатмент) производится следующим образом.
Как отмечалось ранее, после окончания заживления десны 2 и формирования десневого края формирователь десны 15 откручивается и меняется на головку 20. Подробная конструкция головки 20 представлена на фиг.8. Она состоит из корпуса 21 с торцом 22 конусообразной формы с оснащенным винтовой резьбой отверстием 23. Противоположная сторона 24 корпуса 21 выполнена также конусообразной формы с концевым выступом 25 цилиндрообразной формы с винтовой резьбой.
Заявитель считает необходимым обратить внимание на следующую особенность заявленной головки 20. Между его торцом 22 конусообразной формы с оснащенным винтовой резьбой отверстием 23 и противоположной стороной 24 конусообразной формы располагается цилиндрическая десневая часть 26. Выбор головки 20 осуществляется в зависимости от толщины слизистой оболочки. Чем толще слизистая оболочка, тем больше десневая (трансмукозная) часть 26 головки 20. Следует отметить, что головка 20 должна либо поставляться в стерильной упаковке или стерилизоваться перед установкой на имплантат 3. Она используется однократно и не предназначена для штатного выкручивания из имплантата 3. Головка 20 устанавливается в имплантате 3 при помощи специального транспортировочного ключа 27, который концом 28 с винтовой резьбой путем вворачивания фиксируется в отверстии 23 с винтовой резьбой торца 22 конусообразной формы головки 20 (фиг.9). После этого головка 20 концевым выступом 25 с винтовой резьбой вворачивается в отверстие 6 с винтовой резьбой имплантата 3, осуществляя тем самым посадку на конус в имплантате. При этом усилия для вворачивания достаточно от силы пальцев и не превышает 5-10 н/см2. Сила трения, возникающая между противоположной стороной 24 конусообразной формы головки 20 и верхней частью отверстия 6, имеющей конусообразную форму, позволяет всегда без значительных усилий выкручивать транспортировочный ключ 27 и никогда при этом не откручивать головку 20 от имплантата 3.
После установки головок на зубной ряд получаем картину, изображенную на фиг.10. Как хорошо заметно на фиг.10 десневая (трансмукозная) часть 26 каждой головки 20 подобрана в зависимости от толщины слизистой оболочки.
Затем устанавливают путем навинчивания защитные колпачки 29 на головку 20. Защитный колпачок 29 служит для предохранения торца 22 конусообразной формы головки 20 от воздействия негативных факторов внешней среды, порчи и забивания резьбы в отверстии 23 остатками пищи, препятствует разрастанию десневого края слизистой оболочки на торец 22 конусообразной формы головки 20. Защитный колпачок 29 находится на торце 22 конусообразной формы головки 20 все время, пока происходит изготовление протеза, и снимается только для снятия слепков, припасовки и проверки конструкций протезов. Защитный колпачок 29 заменяется на протез после его изготовления. Как показано на фиг.11, защитный колпачок 29 состоит из полого корпуса 30 и винта 31. Для установки защитного колпачка 29 стержень с винтовой резьбой его винта 31 ввинчивается в отверстие 23 торца 22 конусообразной формы до упора подошв 24 полого корпуса 30 в кольцевой уступ 32 головки 20. Защитный колпачок 29 может иметь различные конструкции. Например, корпус 30 защитного колпачка может иметь конусную внутреннюю поверхность 33, соответствующую торцу 22 конусообразной формы головки 20, как это изображено на фиг.12.
Для изготовления протезов необходимо установить на головки 20 слепочные модули 34 (трансферы).
Для этого снимаются защитные колпачки 29 с промежуточных головок 20 и на них монтируются слепочные модули 34 путем их ввинчивания в головки 20.
Для объяснения, как это происходит, рассмотрим конструкцию слепочного модуля 34 (трансфера). Слепочный модуль 34 (трансфер) используется для переноса месторасположения имплантата 3 с головкой 20 с полости рта пациента в рабочую модель зубного техника. Слепочный модуль 34 подробно изображен на фиг.13 и 14. Он содержит корпус 35, выполненный стержнеобразной формы с множественными насечками 36 на наружной поверхности и конусообразной выемкой 37 на одном торце, соединенной посредством зауженной части 38 с выступами 39 со сквозным осевым отверстием 40, а также расположенный внутри него винт 41 (фиг.15 и 16). Винт 41 выполнен по длине составным из частей разного диаметра. Часть 42, имеющая больший диаметр, располагается внутри сквозного осевого отверстия 40, часть 43 меньшего диаметра оснащена наружной винтовой резьбой и расположена большей частью внутри конусообразной выемки 37. Для обеспечения вращения часть 42, имеющая больший диаметр, имеет торцевой паз 44 шестиугольной в плане формы для вращения при помощи отвертки, а также головку 45 для вращения пальцами.
Конусообразная выемка 37 на торце соответствует углу торца 22 головки 20. Насечки 36 на наружной поверхности корпуса 35 предназначены для придания антиротационных свойств слепочному модулю 34 (необходимо предохранить слепочный модуль (трансфер) от проворачивания в слепочной массе – подробнее см. ниже).
Винт 41 предназначен для фиксирования слепочного модуля 34 к головке 20.
Конкретно установка на головки 20 слепочных модулей 34 (трансферов) осуществляется следующим образом.
Для этого опирают подошвой 46 каждый слепочный модуль 34 в кольцевой уступ 32 головки 20 и ввинчивают часть 43 меньшего диаметра с винтовой резьбой винта 41 в отверстие 23 головки 20 до упора.
После установки слепочных модулей на зубной ряд производят снятие слепка импланто-десневого сегмента.
Эта операция осуществляется с помощью открытой слепочной ложки 47, слепочных модулей 34 и слепочного материала 48 (массы). Слепочная ложка 47 напоминает обычную слепочную ложку и подготавливается таким образом, чтобы слепочные модули (трансферы) свободно проходили сквозь выполненные в ней сквозные отверстия 49. Для снятия слепка импланто-десневого сегмента слепочный (оттискной) материал 48 (массу) помещают на слепочную ложку 47 и вокруг слепочных модулей 34. Слепочную ложку 47 со сквозными отверстиями 49 одевают на зубной ряд. При этом слепочную ложку 47 со слепочным материалом 48 позиционируют таким образом, чтобы слепочные модули 34 располагались в сквозных отверстиях 49 слепочной ложки 47, не задевая ее. После застывания слепочного материала 48 (массы) винты 41 слепочного модуля 34 выкручиваются из отверстий 23 головки 20, слепочная ложка 47 вместе с замоноличенными в ней слепочными модулями 34 освобождается и готовый слепок 50 в слепочной ложке 47 аккуратно выводится из полости рта. Защитные колпачки 29 устанавливаются обратно на торцы 22 конусообразной формы промежуточных головок 20.
После снятия слепка производят изготовление модели челюсти. Для этого прикрепляют копию 51 торца конусообразной формы головки к конусообразной выемке 37 замоноличенного в модели челюсти каждого слепочного модуля 34 (фиг.20).
Данная операция производится в зуботехнической лаборатории зубным техником. Ее целью является изготовление гипсовой модели челюсти с выступающими из нее аналогами конусных головок.
Рассмотрим подробнее конструкцию копии 51 торца конусообразной формы головки (фиг.21 и 22).
Копия 51 торца конусообразной формы головки содержит корпус 52 стержнеобразной формы, выполненный с конусообразным выступом 53 с одной стороны, а с другой стороны корпуса 52 на наружной боковой поверхности образованы насечки 54. Кроме того, конусообразный выступ 53 выполнен с отверстием 55 с винтовой резьбой, аналогичной таковой в головке.
Для изготовление модели челюсти сначала берут готовый слепок 50 в слепочной ложке 47 с замоноличенными в нем слепочными модулями (трансферами) 34 и вводят в конусообразные выемки 37 слепочных модулей 34 конусообразные выступы 53 копий 51 торцов конусообразной формы промежуточных головок. После этого вновь вкручивают каждый винт 41 слепочного модуля 34 в отверстие 55 с винтовой резьбой конусообразного выступа 53, прочно стягивая их между собой. Каждая копия 51 торца конусообразной формы головки полностью повторяет форму соответствующего торца 22 конусообразной формы головки, возвышающейся над десной. Данное обстоятельство обеспечивает полное и надежное стягивание. Повторяют это для каждого слепочного модуля. При этом каждая копия 51 торца конусообразной формы головки (далее – копии 51) имеет на другом своем конце насечки 54, например, в виде выемок той или иной формы для придания антиротационных свойств. Дело в том, что после заливки слепка с копиями 51 они не должны изменять своего месторасположения в гипсовой модели челюсти.
Затем приступают к изготовлению собственно самой гипсовой модели челюсти.
Для этого изготавливают опоку вдоль открытой части слепочной ложки. Толщина опоки такова, чтобы полностью погрузить в нее каждую копию 51. Заполняют пространство внутри опоки гипсовой массой и ждут застывания гипсовой модели челюсти 56.
После застывания гипсовой модели винты 41 слепочного модуля 34, фиксирующие слепочные модули 34 к копиям 51, раскручивают и слепок 50 аккуратно снимается с рабочей гипсовой модели 56 челюсти.
В итоге получаем гипсовую модель 56 челюсти с выступающими из нее конусными выступами 53 копий 51, являющимися точными копиями торцов 22 конусообразной формы промежуточных головок 20.
Затем приступают к установке выжигаемых заготовок 57 на конусные выступы 53 копий 51 (фиг.23).
Каждая выжигаемая заготовка 57 содержит заводским образом изготовленный из беззольной пластмассы корпус 58 стержнеобразной формы, с одного торца выполненный с выемкой 59 конусообразной формы, соединенной посредством зауженной части 60 со сквозным осевым отверстием 61, а также расположенный внутри корпуса 58 винт 62, оснащенный наружной винтовой резьбой стержень 63 которого предназначен для расположения внутри конусообразной выемки 59, а шляпка 64 – для опирания на стенки 63 зауженной части 60. Выемка 59 конусообразной формы корпуса 58 выжигаемой заготовки 57 точно соответствует конусному выступу 53 соответствующей копии 51, на который она устанавливается, а зауженная часть 60 точно соответствует отверстию 55 с винтовой резьбой в конусном выступе 53 копии 51. Это позволяет винту 62 точно прикрепить каждую выжигаемую заготовку 57 к конусному выступу 53 соответствующей копии 51. Для прикрепления в шляпке 64 каждого винта 62 выполнено углубление 65 шестигранной формы для вставления конца отвертки. Все детали прецизионно, то есть очень точно, соответствуют друг другу.
После прикрепления выжигаемых заготовок 57 на конусные выступы 53 копий 51 приступают к моделировке с помощью воска вокруг выжигаемых заготовок каркаса 66 будущего протеза (фиг.24).
Операция осуществляется при помощи воска. После окончания моделировки откручиваются винты 62, удерживающие каркас 66 будущего протеза на модели 56 челюсти, и изготавливается литниковая система 67 с литниками 68 для отливки каркаса будущего протеза из металла (фиг.25).
Затем приступают к изготовлению металлического каркаса будущего протеза. Для этого сначала изготавливается опока из огнеупорной массы вокруг каркаса 66 будущего протеза с литниковой системой 67 для отливки этого каркаса из металла. После этого опока помещается в муфельную печь, которая разогревается, и из опоки выгорает воск и беззольная пластмасса. В образовавшееся пространство загоняется металл. После застывания металла отбивают опоку и получают металлический каркас протеза. Данные операции общеизвестны и поэтому не показаны подробно на фигурах. После этого, наконец, приступают к изготовлению протеза 68 с последующим его монтажом (фиг.26).
Для этого металлический каркас облицовывается керамикой, композиционным материалом, пластиком и другим материалом по форме реальных размеров протеза 68 таким образом, чтобы были сохранены все посадочные места без изменений. Готовый протез 68 содержит корпус 69, в котором в определенных местах с одного торца выполнены выемки 70 конусообразной формы, каждая из которых соединена посредством зауженной части с уступом 71 со сквозным осевым отверстием 72, а также расположенный внутри него винт 73, оснащенный наружной винтовой резьбой стержень 74 которого расположен внутри выемки 70 конусообразной формы, а шляпка 75 оперта на уступ 71 зауженной части.
При установке готовый протез 68 устанавливают выемками 70 на соответствующие торцы 22 конусообразной формы промежуточных головок 20. Сквозь сквозные осевые отверстия 72 протеза 68 пропускают винты 73 и ввинчивают их стержни 74 с винтовой резьбой в отверстие 23, оснащенное винтовой резьбой, в торце 22 конусообразной формы головки 20. Для этого устанавливают конец шестигранной отвертки в выемку 76 шестигранной формы в шляпке 75 каждого винта 73 и вращают отвертку, осуществляя ввинчивание винта 73. После завинчивания на головку каждого винта 73 может быть уложена изолирующая прокладка. Со стороны жевательной поверхности остальная часть сквозного отверстия 73 закрывается пломбировочным материалом, например фотополимером.
Для того чтобы снять протез необходимо высверлить пломбы из пломбировочного материала, вытащить прокладки и вывинтить винты 73.
Последовательное использование конгруэнтных друг другу деталей при изготовлении протеза 68 позволяет добиться прецизионной точности при припасовке протеза 68 в полости рта и фиксации его на винты.
Если в результате эксплуатации протеза сломался винт 73 и при этом его стержень 74 с винтовой резьбой заклинило в имплантате 3, то его можно легко и быстро отремонтировать, отвинтив головку 20 имплантата 3.
С другой стороны, если при съеме протеза обнаружится изменение толщины десны вокруг имплантата, то вместо замены имплантата будет достаточно вывернуть головку 20 имплантата 3 и заменить ее на другую с требуемой толщиной промежуточной десневой части 26.
Сущность изобретения поясняем клиническим примером.
Больной Н., 60 лет, поступил с жалобами на отек в области проведенной два года тому назад операции имплантации: протезирование осуществлялось согласно заявленным изобретениям. Объективно: мягкие ткани в области 47; 46; 45; 44 отечны, гиперемированы. Из анамнеза – четыре дня назад – травма рыбной костью во время еды.
На рентгенограмме состояние имплантатов в области 47; 46; 45; 44 удовлетворительное, при сравнении с панорамным рентгеновским снимком двухлетней давности изменений не обнаружено. Пациенту было предложено снять мостовидный протез с опорами на имплантаты в области 47; 46; 45; 44 для проведения профессиональной гигиены вокруг имплантатов. Проведено удаление пломб над винтами, выкручены винты, снят мостовидный протез. Между 47 и 46 имплантатами обнаружен осколок рыбной кости. Сняты отложения вокруг головок на имплантатах пластмассовыми кюретками, на мостовидном протезе между 47 и 46 имплантатами увеличен зазор для улучшения условий личной гигиены. Пациенту на головки установлены колпачки. Рекомендовано полоскание антисептическими растворами.
В результате проведенного лечения через трое суток все жалобы исчезли. Мостовидный протез установлен на место, фиксирован винтами, винтовые каналы закрыты пломбами.
Осмотр через одну неделю, через три месяца и через один год показал адекватность вовремя проведенного лечения.
Данное лечение иллюстрирует наиболее типичный пример оперативного лечения, для которого может быть применено заявленное изобретение.
В общей сложности в Московском Государственном медико-стоматологическом институте запротезировано 25 больных, у которых установлено 112 имплантатов с использованием вышеописанного изобретения с хорошим результатом лечения. Использование заявленного изобретения позволило значительно улучшить результаты хирургического лечения. При других видах оперативного лечения в области имплантации без травматического снятия мостовидных протезов с последующей их переделкой полноценное лечение с профессиональной гигиеной вокруг имплантатов невозможно.
Таким образом, использование заявленного изобретения позволяет осуществить наряду с повышенной прочностью и долговечностью съемного протеза, также следующие преимущества:
1. использовать для изготовления протеза полный перечень разрешенных стоматологических материалов (сплавов);
2. повышенное удобство лечения вокруг имплантатов в короткие сроки без переделки дорогого ортопедического этапа;
3. обеспечение возможности заживления десны после установки имплантатов перед проведением работ по созданию протеза;
4. создание возможности подбора головок после окончательного заживления десны, что дает положительный эстетический эффект и улучшенные условия для гигиены вокруг остова имплантата в полости рта;
5. работать только со стерильно-чистыми головками заводского изготовления.
Резюмируя, можно отметить, что с помощью заявленных изобретений впервые имеется возможность оказывать профессиональную гигиену тканей вокруг имплантата в полном объеме с помощью минимальных парадонтологических и хирургических операций и затем устанавливать обратно этот же протез на имплантаты без его переделки.
Применение заявленного изобретения особенно эффективно при лечении адентий любых этиологий.
Помимо приведенных вариантов изобретения, возможны и другие многочисленные его модификации.
Эти и многочисленные другие варианты изобретения охватываются приведенной далее заявителем формулой изобретения.
Источники информации
1. Ортопедическая стоматология, под редакцией В.Н.Копейкина. – М., Медицина, 1988, с.189, 195.
2. Авторское свидетельство СССР № 1577779, класс А61С 13/00, опубликован 15.07.1990.
3. Патент Российской Федерации №2159093, Кл. А61C 13/00, опубликован 20.11.2000 (прототип).
Формула изобретения
1. Способ изготовления зубного протеза с использованием имплантатов, при котором выполняют оттиск челюсти с образованными на имплантатах выступающими частями конусообразной формы, охваченными копирующими выемками слепочных модулей, в выемках замоноличенных слепочных модулей полученного оттиска фиксируют копии выступающих частей, отливают модель челюсти с замоноличенными в ней копиями выступающих частей и после снятия оттиска челюсти на полученной модели челюсти с копиями выступающих частей изготавливают протез, отличающийся тем, что выполняют оттиск образованной на каждом имплантате выступающей части в виде съемной головки с возможностью регулирования длины цилиндрической части, причем для изготовления протеза одевают на копию торца конусообразной формы головки конусообразной выемкой выжигаемую модель с моделированием вокруг выжигаемым материалом модели каркаса протеза, отделяют полученную модель каркаса протеза, которую после изготовления литниковой системы помещают в опоку из огнеупорной массы с последующим выгоранием выжигаемой модели и выжигаемого материала и заполнением освободившегося пространства металлом, причем полученный каркас протеза после покрытия облицовочным материалом фиксируют конусообразной выемкой на торце конусообразной формы головки.
2. Способ изготовления зубного протеза с использованием имплантатов по 1, отличающийся тем, что в качестве выжигаемого материала используют воск.
3. Устройство зубного протеза с использованием имплантатов, включающее, по меньшей мере, два имплантата и расположенный на них зубной протез, отличающееся тем, что каждый имплантат оснащен головкой, смонтированной с возможностью съема и содержащей корпус, обращенный к протезу торец которого выполнен конусообразной формы, а протез выполнен с конусообразной выемкой, посредством которой смонтирован на головке имплантата, при этом протез и головка имплантата соединены между собой разъемным соединением.
4. Устройство зубного протеза с использованием имплантатов по п.4, отличающееся тем, что обращенная к имплантату сторона корпуса головки выполнена конусообразной формы с концевым выступом цилиндрообразной формы с отверстием с винтовой резьбой, а имплантат представляет собой стержень с лакунами на наружной поверхности, внутри которого вдоль продольной оси выполнено отверстие, имеющее у наружной поверхности расширяющуюся в ее сторону конусообразную форму, а на остальной части – цилиндрическую форму, оснащенную винтовой резьбой.
5. Устройство зубного протеза с использованием имплантатов по п.4, отличающееся тем, что разъемное соединение содержит установленный в сквозном отверстии протеза винт, ножка которого с винтовой резьбой ввинчена в винтовое отверстие в головке, а шляпка установлена в выступ в сквозном отверстии протеза и закрыта сверху пломбировочным материалом.
6. Устройство зубного протеза с использованием имплантатов по п.4, отличающееся тем, что протез представляет собой мостовидный зубной протез.
7. Устройство по п.4, отличающееся тем, что корпус головки выполнен с цилиндрической десневой частью между торцом конусообразной формы и противоположной стороной конусообразной формы с концевым выступом цилиндрообразной формы с винтовой резьбой.
8. Набор приспособлений для зубного протезирования, включающий слепочные модули и копии выступающих частей, образованных на имплантатах, отличающийся тем, что каждый слепочный модуль содержит корпус, выполненный стержнеобразной формы с насечками на наружной поверхности и конусообразной выемкой на одном торце, соединенной посредством зауженной части со сквозным осевым отверстием, а также расположенный внутри него винт, выполненный по длине составным из частей разного диаметра, меньший из которых оснащен наружной винтовой резьбой и расположен внутри конусообразной выемки, каждая копия выступающей части имплантата выполнена в виде копии торца конусообразной формы головки, содержащий корпус стержнеобразной формы, выполненный с имеющим отверстие с винтовой резьбой конусообразным выступом с одной стороны, а с другой стороны корпуса на наружной боковой поверхности образованы насечки, и, кроме того, набор дополнительно содержит выжигаемые заготовки для установки на копии торцов конусообразной формы головки, каждая из которых включает корпус стержнеобразной формы, с одного торца выполненный с выемкой конусообразной формы, соединенной посредством зауженной части со сквозным осевым отверстием, а также расположенный внутри него винт, оснащенный наружной винтовой резьбой стержень которого расположен внутри конусообразной выемки, а шляпка оперта на зауженную часть.
9. Набор по п.8, отличающийся тем, что выжигаемая заготовка изготовлена из беззольной пластмассы.
РИСУНКИ
TK4A – Поправки к публикациям сведений об изобретениях в бюллетенях “Изобретения (заявки и патенты)” и “Изобретения. Полезные модели”
Напечатано: (73) Патентообладатель (ли): Солодкий Владимир Григорьевич (RU); Иванов Сергей Юрьевич (RU); Широков Юрий Евгеньевич (RU); Алешин Николай Алексеевич (RU); Государственное образовательное учреждение высшего профессионального образования “Московский Государственный Медико-Стоматологический Институт” (RU)
Следует читать: (73) Патентообладатель (ли): Солодкий Владимир Григорьевич (RU); Иванов Сергей Юрьевич (RU); Широков Юрий Евгеньевич (RU); Алешин Николай Алексеевич (RU); Государственное образовательное учреждение высшего профессионального образования «Московский Государственный Медико-Стоматологический Университет» (RU)
Номер и год публикации бюллетеня: 11-2007
Код раздела: FG4A
Извещение опубликовано: 27.12.2007 БИ: 36/2007
|