|
|
(21), (22) Заявка: 2004102042/14, 20.06.2002
(24) Дата начала отсчета срока действия патента:
20.06.2002
(30) Конвенционный приоритет:
20.06.2001 NL 1018334
(43) Дата публикации заявки: 10.03.2005
(46) Опубликовано: 20.04.2007
(56) Список документов, цитированных в отчете о поиске:
ЕР 0538259 А1,28.04.1993. WO 9725081 A1, 17.07.1997. ЕР 0303824 А1, 22.02.1989. SU 1174008 А, 23.08.1985. SU 307790 А, 01.07.1971.
(85) Дата перевода заявки PCT на национальную фазу:
20.01.2004
(86) Заявка PCT:
NL 02/00405 (20.06.2002)
(87) Публикация PCT:
WO 03/000146 (03.01.2003)
Адрес для переписки:
191186, Санкт-Петербург, а/я 230, “АРС-ПАТЕНТ”, пат.пов. В.М.Рыбакову, рег. № 90
|
(72) Автор(ы):
ЛЕХНЕР Тимотеус Йоан Мария (NL)
(73) Патентообладатель(и):
ЛЕХНЕР Тимотеус Йоан Мария (NL), ВАН НИКЕРК Ян (NL), ТЕУНИССЕН Леонардус Йоханнес Мария (NL), ВАН ВИЙК Маартен Герардус Франсискус (NL), ДРОСТ Маринус Адриан (NL), ВАН ДОРСТЕН Франклин Роберт Христиаан (NL), ЛАНГЕНБЕРГ Христианус Якобус Мария (NL), МААС Андрианус Якобус Йоханнес (NL)
|
(54) УСТРОЙСТВО ДЛЯ ОПРЕДЕЛЕНИЯ ПОЛОЖЕНИЯ УЧАСТКА ВНУТРИ ТЕЛА, ИЗМЕРИТЕЛЬНО-СИГНАЛИЗИРУЮЩЕЕ УСТРОЙСТВО И МОДУЛЬ ИЗМЕРЕНИЯ И ОТОБРАЖЕНИЯ ДЛЯ УКАЗАННОГО УСТРОЙСТВА, А ТАКЖЕ СПОСОБ ВЫДАЧИ СИГНАЛА О ДАВЛЕНИИ В ТОЧКЕ ТЕЛА
(57) Реферат:
Изобретение относится к медицинской технике, а именно к устройствам и способам определения положения анатомической полости в теле. Устройство для определения положения анатомической полости в теле содержит полую иглу, резервуар, заполненный текучей средой и сообщающийся с полой иглой, накачивающие средства для создания давления в текучей среде, средство измерения для формирования сигнала измеренного давления, зависящего от давления в текучей среде, средство преобразования сигнала для преобразования сигнала измеренного давления, выработанного средством измерения, в форму, пригодную для дальнейшей обработки, и средства воспроизведения для генерирования акустического сигнала, зависящего от сигнала измеренного давления, преобразованного посредством средства преобразования сигнала, при этом средства воспроизведения выполнены с возможностью генерирования акустического сигнала, непрерывным образом характеризующего давление в текучей среде. Измерительно-сигнализирующее устройство для определения положения участка внутри тела содержит дополнительно корпус с предусмотренным внутри корпуса объемом, адаптированным для установки в него резервуара, заполненного текучей средой, присоединенного к накачивающим средствам для создания давления в текучей среде и выполненного с возможностью присоединения к полой игле. Указанные средства осуществляют выдачу наблюдателю сигнала о давлении в точке тела у острия полой иглы, введенной в тело. Использование изобретения позволяет повысить достоверность обнаружения искомой анатомической полости при надежной интерпретации измеренного давления. 4 н. и 32 з.п. ф-лы, 2 ил.
Область техники, к которой относится изобретение
Настоящее изобретение относится к устройству и способу определения положения анатомической полости или каких-либо иных участков внутри тела, которые по своим свойствам отличаются от непосредственно окружающей их зоны.
Уровень техники
Определение положения определенного участка в теле пациента, например анатомической полости, является важной задачей, в частности, при анестезии. При осуществлении анестезии часто оказывается необходимым ввести обезболивающие вещества (медикаменты-анестетики) внутрь анатомической полости, например, в эпидуральное пространство, расположенное вблизи спинного мозга. Известно, что для того, чтобы определить положение анатомической полости, обычно применяют полую иглу и резервуар, заполненный изотонической жидкостью или газовой смесью, чаще всего медицинский шприц с перемещаемым плунжерным поршнем. В этом случае полая игла вводится в тело пациента вблизи от места, в котором расположена полость, точное положение которой требуется определить. На свободный (задний) конец иглы устанавливается медицинский шприц, так что жидкость или газовая смесь может быть введена из медицинского шприца через иглу в тело пациента.
Человек, который работает со шприцем и иглой, например врач, пользуется одной рукой для того, чтобы ввести иглу глубже в тело, и использует большой палец другой руки для того, чтобы создать давление на плунжерный поршень шприца. Жидкость стремится вытечь из шприца через открытый конец иглы, однако при этом встречает сопротивление со стороны ткани, в которой находится острие иглы. Как следствие, к плунжерному поршню необходимо приложить некоторое усилие, так что в жидкости создается давление. Когда острие иглы достигает анатомической полости, жидкость, вытекающая из иглы, больше не испытывает сопротивления со стороны окружающей ткани, так что давление в жидкости падает. Человек, который осуществляет описанную процедуру, может ощутить это рукой, которую он использует для манипулирования шприцем. После того, как игла была введена в эпидуральное пространство, в него через иглу обычно вводится катетер, с помощью которого может быть произведена подача анестетика.
Когда эпидуральное пространство обнаружено, очень важно, чтобы острие иглы не прошло насквозь за его пределы, поскольку в этом случае возникает риск затронуть спинномозговой канал или спинной мозг, что может привести к крайне неблагоприятным последствиям для пациента. По этой причине были разработаны разнообразные способы и устройства, которые облегчают определение положения анатомической полости и уменьшают риск ввода иглы на слишком большую глубину.
Примеры устройства и способа описанного типа приведены, в частности, в документе ЕР 0538259.
Известное устройство содержит полую иглу, резервуар, заполненный текучей средой и сообщающийся с иглой, накачивающие средства для создания давления в текучей среде, средство измерения для формирования сигнала, характеризующего измеренное давление (называемого далее сигналом измеренного давления), зависящего от давления в текучей среде, и средство преобразования сигнала для преобразования сигнала измеренного давления, выработанного средством измерения, в форму, пригодную для дальнейшей обработки. Имеются также средства воспроизведения для генерирования акустического сигнала, зависящего от сигнала измеренного давления, преобразованного посредством средства преобразования сигнала.
Игла в известном устройстве предназначена для введения в тело, причем она присоединена к резервуару в форме медицинского шприца. Шприц содержит текучую среду в виде изотонической жидкости. Игла и медицинский шприц сообщаются друг с другом через Т-образный соединитель. Средство измерения давления, которое служит для измерения давления в жидкости, находящейся в шприце, также присоединено к Т-образному соединителю. Известное устройство содержит также процессор для обработки сигнала измеренного давления для того, чтобы обеспечить постоянную возможность определения скорости изменения давления. Это изменение давления обусловлено, в основном, движением иглы внутри тела. Данные о давлении, вырабатываемые процессором и средством измерения давления, постоянно сравниваются со значениями, хранящимися в памяти процессора.
При использовании известного устройства исходный момент соответствует ситуации, когда острие иглы уже находится вблизи полости, точную локализацию которой требуется определить. Игла, шприц и средство измерения подсоединяются друг к другу изменением положения переключателя. У шприца имеется плунжерный поршень, который действует как накачивающее средство для прокачивания жидкости через иглу и тем самым создает давление в жидкости. Значение давления отображается на дисплее, причем при отсутствии давления, приложенного к плунжерному поршню шприца, значение давления устанавливается равным нулю.
После этого человек (пользователь), который работает со шприцем и иглой, оказывая давление на плунжерный поршень, повышает давление в жидкости, находящейся в шприце, до определенного уровня. При выполнении этой операции он в любой момент может считать значение давления, отображаемое на дисплее. Когда давление жидкости в шприце достигает заданного уровня, пользователь может двигать иглу в направлении полости в теле, используя при этом отображаемые на дисплее данные о давлении для того, чтобы обеспечить точное поддержание давления, оказываемого на плунжерный поршень. В процессе перемещения иглы давление в жидкости будет изменяться. Если изменение давления превысит минимальный уровень, хранящийся в памяти процессора, и/или если скорость изменения давления в течение заданного отрезка времени находится в пределах минимального интервала, также хранящегося в памяти процессора, активируются средства предупреждения, которые с помощью генерирующих средств генерируют первый предупреждающий акустический сигнал.
Если давление может быть восстановлено за счет небольшого смещения плунжерного поршня, без дополнительного перемещения иглы, первый предупреждающий акустический сигнал прекращается. С другой стороны, если происходит более резкое изменение давления и давление не может быть восстановлено смещением плунжерного поршня, средства предупреждения генерируют второй предупреждающий акустический сигнал, который заметно отличается от первого предупреждающего сигнала. На основании второго предупреждающего сигнала пользователь может сделать вывод о том, что острие иглы достигло анатомической полости, так что он должен прекратить ее перемещение.
Недостаток устройства и способа, которые описаны в документе ЕР 0538259, состоит в том, что предупреждающие акустические сигналы генерируются на основе интерпретации процессором данных о давлении. Хотя человек, работающий с устройством (т.е. пользователь), может наблюдать мгновенные значения давления на дисплее и, кроме того, может воспринимать эту же информацию через плунжерный поршень, он очень быстро привыкает опираться только на свой слух и доверять предупреждающим акустическим сигналам. Однако практика не подтвердила эффективность такого режима; как следствие, пользователь будет все же смотреть на дисплей, теряя при этом из виду иглу.
Раскрытие изобретения
Задача, на решение которой направлено настоящее изобретение, состоит в создании более совершенного устройства для определения положения анатомической полости, в котором отмеченный недостаток будет устранен или ослаблен.
В соответствии с настоящим изобретением поставленная задача решена созданием устройства для определения положения анатомической полости, содержащего полую иглу и резервуар, который сообщается с полой иглой и заполнен текучей средой. Резервуар подсоединен также к накачивающим средствам для создания давления в текучей среде. Кроме того, предусмотрено средство измерения для выработки сигнала, соответствующего измеренному давлению (сигнала измеренного давления) в текучей среде, а также средство преобразования сигнала для преобразования сигнала измеренного давления, выработанного средством измерения, в форму, пригодную для дальнейшей обработки. Предусмотрены также средства воспроизведения для генерирования акустического сигнала, характеризующего давление в текучей среде.
Устройство в соответствии с изобретением обеспечивает постоянное представление непрерывным образом пользователю, а также любым наблюдателям, которые могут присутствовать при вводе иглы в тело, данных о давлении в текучей среде с помощью акустического сигнала, который адекватно характеризует данное давление, т.е. сигнала, соответствующего мгновенному (текущему) измеренного давления. Благодаря этому пользователь может использовать свой слух для того, чтобы постоянно получать данные о мгновенном значении давления, причем эти данные непосредственно связаны с давлением в игле, которая присоединена к резервуару. Как следствие, пользователь может непрерывным образом наблюдать за иглой, т.е. у него нет необходимости строить свою работу на основе визуальной и/или тактильной информации. Важным преимуществом, реализуемым в данном случае, является то, что обязанность интерпретации измеренного давления лежит на человеке, использующем устройство, а не на процессоре. Благодаря этому становится возможным осуществлять эту интерпретацию с учетом индивидуальных вариаций давления в каждом конкретном случае.
Один из недостатков устройства и способа, известных из ЕР 0538259, связан с риском того, что острие иглы будет введено слишком глубоко. Известное устройство снижает этот риск, поскольку ощущения человека, использующего устройство, подкрепляются предупреждающими сигналами. Тем не менее, риск того, что игла после достижения анатомической полости углубится слишком далеко в результате того, что одна рука пользователя продолжает оказывать давление на иглу, а вторая рука – на плунжерный поршень медицинского шприца, все же имеет место. Поскольку продвижение иглы требует довольно значительного усилия, подобный риск отнюдь не является пренебрежимо малым.
Описанный недостаток, по меньшей мере, частично преодолевается использованием одного из предпочтительных вариантов изобретения, который предусматривает наличие автоматических накачивающих средств, в частности таких средств, которые выполнены с возможностью непрерывной подачи текучей среды.
При применении устройства согласно настоящему изобретению пользователь постоянно (т.е. непрерывным образом) получает текущую информацию, используя для этого свой слух. Как следствие, отпадает необходимость ощущать рукой давление в текучей среде. Соответственно, главным преимуществом применения автоматических накачивающих средств является то, что пользователь может использовать обе руки для продвижения острия иглы в направлении анатомической полости. Когда для этой цели используются обе руки, пользователь способен производить ввод иглы более управляемым образом, чем при пользовании только одной рукой. Кроме того, теперь ему не требуется прикладывать какое-либо усилие для того, чтобы создать давление, так что ему достаточно прикладывать усилие только к игле.
В соответствии с особо предпочтительным вариантом осуществления изобретения накачивающие средства содержат перемещаемый плунжерный поршень и снабжены приводным блоком, который выполнен с возможностью перемещения плунжерного поршня в резервуаре, предпочтительно с постоянной скоростью.
Тот факт, что приводной блок осуществляет перемещение плунжерного поршня предпочтительно с постоянной скоростью, означает, что усилие, которое прикладывается к плунжерному поршню со стороны автоматических накачивающих средств, должно изменяться во времени, поскольку острие иглы, по мере его продвижения, постоянно проходит через ткани различных типов. В случае относительно твердой ткани текучая среда, вытекающая из иглы, будет испытывать большее сопротивление со стороны ткани, чем в случае мягкой ткани. Когда острие иглы достигнет анатомической полости, текучая среда будет вытекать в анатомическую полость практически без сопротивления, так что в этом случае на плунжерный поршень не требуется подавать практически никакого давления. Данная ситуация приводит к значительному падению давления в текучей среде.
С учетом изложенного риск слишком глубокого ввода острия иглы существенно снижается по сравнению с известным устройством по ЕР 0538259.
Устройство по настоящему изобретению особенно полезно для использования для целей обучения, особенно при подготовке медицинского персонала. Инструктор может легко контролировать действия студента или практиканта и давать полезные инструкции, поскольку он всегда может на слух оценивать информацию об уровне давления у острия иглы. Если используется предпочтительный вариант устройства, снабженный автоматическими приводными средствами, реализуется и дополнительное преимущество: студент или практикант должен концентрироваться только на продвижении иглы, причем он может использовать обе руки для осуществления такого продвижения.
Настоящее изобретение относится также к измерительно-сигнализирующему устройству, которое специально предназначено для использования в описанном устройстве для определения положения различных участков внутри тела, а также к способу выдачи наблюдателю сигнала о давлении в точке тела у острия полой иглы, введенной в тело. Кроме того, изобретение относится к модулю измерения и отображения в устройстве для определения положения участка внутри тела, выполненном в соответствии с изобретением.
Краткое описание чертежей
Рассмотренные и другие аспекты, характеристики и преимущества настоящего изобретения будут более подробно разъяснены в нижеследующем описании двух предпочтительных вариантов устройства согласно изобретению. Описание приводится со ссылками на прилагаемые чертежи, где идентичные цифровые обозначения соответствуют идентичным компонентам.
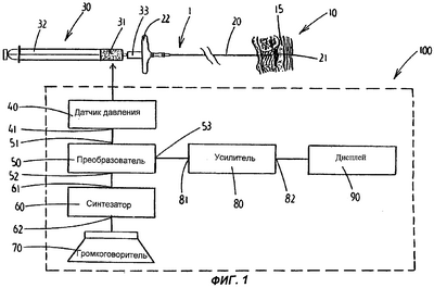
На фиг.1, на виде сбоку, представлен первый предпочтительный вариант устройства согласно изобретению, причем часть этого устройства изображена в схематичной форме.
На фиг.2 в схематичной форме изображена часть второго предпочтительного варианта устройства согласно изобретению.
Осуществление изобретения
На фиг.1 показан первый предпочтительный вариант устройства согласно изобретению, обозначенного в целом как 1.
При этом фиг.1 иллюстрирует одно из возможных применений устройства 1, а именно его использование для определения положения анатомической полости, преимущественно эпидурального пространства, в теле человека. Представленный на фиг.1 в сечении небольшой участок человеческого тела обозначен как 10. Анатомическая полость (например, эпидуральное пространство) обозначена как 15.
Устройство 1 содержит полую пункционную иглу 20 с острием 21. В примере, представленном на фиг.1, пункционная игла 20 введена в тело 10 на часть требуемой глубины, причем острие 21 иглы находится вблизи от эпидурального пространства 15. У пункционной иглы 20 имеется рукоятка 22, за которую ее может держать человек (например, врач), который пользуется пункционной иглой 20. Наличие рукоятки 22 позволяет пользователю нажимать на пункционную иглу 20 или вытягивать ее для того, чтобы переместить в нужном направлении.
Резервуар 30 в форме медицинского шприца расположен на одной линии с пункционной иглой 20. У резервуара 30 имеется пространство 31, заполненное текучей средой, и перемещаемый плунжерный поршень 32, который герметично закрывает резервуар 30 с одной стороны. Перемещаемый плунжерный поршень 32 функционирует в качестве накачивающих средств, создающих давление в текучей среде, находящейся в резервуаре 30. В качестве альтернативы использованию плунжерного поршня, в качестве накачивающих средств можно применить меха или иные средства создания давления. Резервуар 30 сообщается с пункционной иглой 20 через соединительный элемент 33, благодаря которому текучая среда может перетекать из резервуара 30 в пункционную иглу 20. Текучая среда, находящаяся в резервуаре 30, может представлять собой жидкость, например стерильную изотоническую жидкость. В дальнейшем описании в качестве примера рассматривается случай, когда в резервуаре 30 находится именно изотоническая жидкость, однако изобретение с равным успехом может применяться в ситуациях, когда в резервуаре 30 находится газ.
Для того чтобы измерять давление в резервуаре 30, устройство 1 по изобретению снабжено электрическим датчиком 40 давления. Выход 41 датчика 40 давления соединен с входом 51 преобразователя 50 сигнала, который способен преобразовать сигнал измеренного давления, поступающий от датчика 40 давления, в форму, пригодную для дальнейшей обработки, например в электрическое напряжение. При этом преобразователь 50 сигнала выполнен с возможностью подачи преобразованного сигнала как на свой акустический выход 52, так и на видеовыход 53. Следует отметить, что датчик 40 давления и преобразователь 50 сигнала могут представлять собой единый блок, а не два раздельных компонента.
К акустическому выходу 52 подключен один из входов (вход 61) синтезатора 60. Синтезатор 60 сконструирован с возможностью производить обработку преобразованного сигнала давления с формированием звукового сигнала, который адекватно характеризует давление, имеющееся в резервуаре 30, а, следовательно, и сигнал измеренного давления. Для того чтобы обеспечить выдачу звукового сигнала, синтезатор 60 подключен своим выходом 62 к громкоговорителю 70. Если это необходимо, может иметься также усилитель звуковой частоты (не изображен) для повышения интенсивности звукового сигнала.
Поскольку звуковой сигнал обусловлен преобразованным сигналом давления, этот звуковой сигнал отображает (характеризует) образом давление, которое имеется внутри резервуара 30 с жидкостью. В зависимости от настройки синтезатора 60 один или несколько аспектов звукового сигнала могут быть непосредственно и непрерывным (в противоположность дискретному) образом зависеть от преобразованного сигнала давления. Например, давление может характеризоваться высотой тона звукового сигнала. Однако возможно характеризовать давление также и громкостью сигнала или частотой звуковых импульсов (в том случае, если сигнал является импульсным). Еще одна возможность заключается в использовании сочетания высоты, громкости и частоты следования импульсов. Одной из возможных, потенциально полезных комбинаций может быть использование высоты тона сигнала в качестве меры давления и громкости в качестве меры скорости его изменения. В таком варианте в случае быстрого изменения давления звучит более громкий звуковой сигнал, чем в случае медленного его изменения. Естественно, можно также передать функцию высоты тона параметру громкости и наоборот.
К видеовыходу 53 подключен вход 81 усилителя 80, который построен с возможностью подачи усиленного преобразованного сигнала давления на свой выход 82. Усилитель 80 присоединен своим выходом 82 к дисплею 90 для отображения на нем визуального сигнала, который непрерывным образом характеризует давление в жидкости, находящейся в резервуаре 30, на основе усиленного преобразованного сигнала давления.
Обведенный на фиг.1 штриховой линией комплекс, содержащий датчик 40 давления, преобразователь 50 сигнала, синтезатор 60, громкоговоритель 70, усилитель 80 и дисплей 90, далее будет именоваться модулем 100 измерения и отображения.
Перед тем, как устройство 1 сможет быть использовано для определения положения (локализации) эпидурального пространства 15 в теле 10, необходимо ввести в тело 10 пункционную иглу 20 на небольшую глубину вблизи участка, на котором находится эпидуральное пространство. После этого к пункционной игле 20 можно подсоединить резервуар 30 вместе со связанным с ним модулем 100 измерения и отображения. Можно также сначала соединить между собой все компоненты устройства, затем создать давление в жидкости и ввести острие 21 пункционной иглы 20 в тело, как только из иглы 20 начнет истекать жидкость. Данный вариант представляется предпочтительным, т.к. в этом случае измерение давления может начаться немедленно.
Если человек, который использует устройство 1, прикладывает давление к плунжерному поршню 32, в находящейся в резервуаре 30 жидкости будет создаваться давление. Как следствие, жидкость будет стремиться вытекать из сборки, образованной резервуаром 30 и пункционной иглой 20, через острие 21 иглы. При этом ткань, внутри которой находится острие 21, будет оказывать сопротивление поглощению жидкости, которая вытекает из острия иглы. Это сопротивление проявляется в давлении, которое человек, работающий с устройством 1, должен преодолевать путем прикладывания усилия к плунжерному поршню 32. Если человек, который работает с устройством, при перемещении пункционной иглы 20 в направлении эпидурального пространства 15 всегда производит небольшое перемещение плунжерного поршня 32, усилие, прикладываемое к плунжерному поршню 32, и, следовательно, давление, имеющее место в жидкости, всегда являются мерой давления у острия 21 иглы.
Синтезатор 60 настраивают таким образом, чтобы звуковой сигнал, который он формирует, всегда (т.е. непрерывным образом) характеризовал измеренное давление. В результате звуковой сигнал всегда может рассматриваться как акустическое представление мгновенного давления в жидкости.
Любые изменения сопротивления, которое жидкость испытывает в момент выхода из острия 21 иглы, оказывают непосредственное влияние на давление внутри резервуара 30. В свою очередь, изменения давления в резервуаре непосредственно приводят к изменениям звукового сигнала. Человек, который работает с пункционной иглой 20, может благодаря этому использовать любые изменения звукового сигнала, которые он воспринимает во время работы, для того, чтобы определить, как изменяется давление. Если используется также возможность визуального отображения давления, все сказанное применимо также и к визуальному сигналу.
Когда острие 21 иглы достигнет эпидурального пространства, вытекающая из него жидкость будет испытывать значительно более слабое сопротивление. В результате потребуется прикладывать меньшее усилие к плунжерному поршню 32 для того, чтобы выводить жидкость из резервуара 30. Как следствие, давление в резервуаре 30 упадет. Зная это, из неожиданного и значительного изменения звукового сигнала можно вывести, что острие 21 иглы достигло эпидурального пространства 15, так что дальнейший ввод пункционной иглы 20 в тело 10 может быть остановлен. Если используется также возможность визуального отображения давления, человек, работающий с устройством 1, может взглянуть на дисплей 90 и получить подтверждение тому, что эпидуральное пространство 15 достигнуто.
Калибровка сигнала измеренного давления при использовании устройства 1 не является критичной, поскольку пользователь учитывает воспринимаемые изменения звукового сигнала. Поэтому абсолютные значения, например, громкости или высоты тона звукового сигнала имеют вспомогательное значение.
Как было упомянуто, сигнал измеренного давления постоянно (непрерывным образом) подается, в виде сигнала напряжения, через видеовыход 53 на вход 81 усилителя 80. С его выхода 82 усиленный сигнал, соответствующий сигналу давления, подается на дисплей 90, который отображает визуальный сигнал, сформированный на основе сигнала измеренного давления. Таким образом, и в этом случае имеется связь между измеренным сигналом давления и визуальным сигналом, т.е. визуальный сигнал характеризует давление у острия 21 иглы.
Дисплей 90 может быть спроектирован таким образом, чтобы воспроизводить визуальный сигнал в форме численных значений; альтернативно, на нем может строиться, в форме кривой, зависимость давления от времени. Последний вариант, соответствующий построению зависимости давления от времени, представляется особенно предпочтительным, поскольку было обнаружено, что достижение эпидурального пространства соответствует весьма характеристичной, т.е. легко распознаваемой кривой. Дисплей 90 может быть оснащен средствами, позволяющими осуществить калибровку воспроизводимых численных значений. Однако такая калибровка также не является критичной. Действительно, и в случае использования визуального сигнала можно определять, вошло ли острие 21 иглы в эпидуральное пространство, на основе изменений этого сигнала.
В процессе ввода пункционной иглы 20 в тело непрерывный звуковой сигнал является более важным, чем непрерывный визуальный сигнал. Это объясняется тем, что пользователь не может постоянно наблюдать за дисплеем 90 для отслеживания визуального сигнала, поскольку он должен смотреть также на пункционную иглу 20, по меньшей мере, во время ее перемещения. Поэтому в процессе работы с устройством 1 пользователь может полностью опираться на звуковой сигнал и использовать зрение для слежения за движением пункционной иглы 20.
Звуковой сигнал может снабжать пользователя достаточной информацией о давлении в точке расположения острия 21. Поэтому в устройстве 1 по изобретению видеовыход 53 на преобразователе 50 сигнала, усилитель 80 и дисплей 90, по желанию, могут быть опущены. Другими словами, устройство 1, содержащее видеовыход 53 на преобразователе 50 сигнала, усилитель 80 и дисплей 90, соответствует конкретной реализации первого варианта осуществления изобретения.
На фиг.2 в схематичной форме изображена часть второго предпочтительного варианта устройства (обозначенного как 2) согласно изобретению. Устройство 2 содержит те же компоненты, что и представленный на фиг.1 первый вариант устройства по изобретению.
Полая пункционная игла 20 (см. фиг.1) хотя и образует часть устройства 2, на фиг.2 не изображена. Резервуар 30 присоединен к пункционной игле посредством трубки (шланга) 34 и соединительного элемента 33.
Устройство 2 снабжено автоматическими накачивающими средствами, которые служат для вытеснения текучей среды. Конкретным вариантом этих средств является плунжерный поршень 32, который вытесняет находящуюся в пространстве 31 резервуара 30 жидкость (или газовую смесь) под действием усилия, прикладываемого к плунжерному поршню 32. Для этой цели устройство содержит соединительный шток 35, один конец которого связан с приводным блоком 110, а на другом конце которого имеется передающий давление диск 36. Приводной блок 110 служит для создания усилия, прикладываемого к соединительному штоку 35 для того, чтобы осуществить перемещение этого штока в осевом направлении. Передающий давление диск 36 служит для того, чтобы прикладывать давление, по меньшей мере, к части поверхности плунжерного поршня 32. В качестве примера, приводной блок 110 может представлять собой электродвигатель, который подключен к батарее 120. Примером приводного блока, пригодного для предпочтительного автоматического перемещения штока, может служить также инжекционный насос, который хорошо известен специалистам в данной области техники. Насос данного типа особенно удобен для подачи малых количеств жидкости с высокой точностью.
Возможны и другие альтернативы для снабжения энергией приводного блока 110. Например, устройство 2 может быть снабжено средствами подключения приводного блока 110 к сети питания. Альтернативно, между резервуаром 30 и иглой 20 может быть установлен насос. В этом случае накачивающие средства не создают давления в резервуаре, а, скорее, отбирают жидкость из резервуара и закачивают ее под давлением внутрь иглы. В связи с этим описанное ранее измерение давления внутри резервуара уже не имеет смысла. Вместо этого, данное измерение целесообразно осуществлять в игле, непосредственно за насосом. Другой альтернативный вариант измерения создаваемого давления заключается в измерении мощности, расходуемой накачивающими средствами, с использованием получаемой таким образом информации для расчета перепада давления, созданного этими средствами. Данная возможность подробно не рассматривается.
Существенным достоинством автоматического перемещения плунжерного поршня 32 является то, что человек, работающий с устройством 2, может использовать обе руки для осуществления продвижения пункционной иглы. Как это было пояснено при описании первого варианта осуществления устройства по изобретению (со ссылкой на фиг.1), давление в резервуаре 30 постоянно (т.е. непрерывным, а не дискретным образом) отображается в звуковой форме. Как следствие, человеку, работающему с устройством, нет необходимости прикладывать давление непосредственно к плунжерному поршню 32. В случае же применения известных устройств, например устройства по ЕР 0538259, подобная необходимость существует.
Резервуар 30, соединительный шток 35, приводной блок 110 и батарея 120 размещены внутри корпуса 130 вместе с компонентами модуля 100 измерения и отображения, который на фиг.2 не выделен в отдельный блок Такая компоновка представляется предпочтительной, поскольку она является более компактной и обеспечивает удобное присоединение к пункционной игле.
Резервуар 30 расположен в зоне, выделенной для него внутри корпуса 130. При этом корпус 130 выполнен таким образом, чтобы резервуар 30 можно было легко устанавливать внутрь корпуса 130 перед началом использования устройства и легко извлекать из этого корпуса по завершении использования.
На наружной поверхности корпуса 130 могут быть предусмотрены зажимные средства (не изображены), предназначенные для закрепления корпуса 130 на любом выбранном объекте, например на столе или на кровати.
В рассматриваемом примере датчик 40 давления содержит датчик усилия, который предназначен для восприятия усилия, прикладываемого к соединительному штоку 35 со стороны приводного блока 110. В данном случае преобразователь 50 сигнала представляет собой преобразователь усилие/напряжение. Приводной блок 110 содержит блок 111 управления, который связан с датчиком усилия, входящим в состав датчика 40 давления. Блок 111 управления обеспечивает перемещение плунжерного поршня 32 с постоянной скоростью и тем самым обеспечивает постоянство потока, текущего через иглу. В результате перемещения плунжерного поршня 32 в находящейся в резервуаре 30 жидкости будет создаваться давление. Как следствие, жидкость будет стремиться вытекать из сборки, образованной резервуаром 30 и пункционной иглой 20, через острие 21 иглы. При этом ткань, внутри которой находится острие 21, будет оказывать сопротивление поглощению жидкости, которая вытекает из острия иглы. Это сопротивление проявляется в давлении, которое приводной блок 110 должен преодолевать путем прикладывания усилия к плунжерному поршню 32.
Постоянная, но малая скорость, с которой перемещается плунжерный поршень одновременно с продвижением пункционной иглы в направлении эпидурального пространства, приводит к тому, что усилие, прикладываемое к плунжерному поршню 32, и, следовательно, давление, имеющее место в жидкости, всегда являются мерой давления у острия 21 иглы.
Хотя желательно, чтобы плунжерный поршень 32 перемещался с постоянной скоростью, допустимо использование и шаговых перемещений. Однако в этом случае для того, чтобы избежать риска слишком глубокого ввода иглы, желательно, чтобы эти шаги следовали один за другим с достаточно короткими интервалами.
Усилие, с которым приводной блок 110 воздействует на плунжерный поршень 32, контролируется блоком 111 управления. Из соображений безопасности блок 111 управления может быть снабжен средствами ограничения давления, ограничивающими максимальное давление в жидкости и, следовательно, максимальное давление, которое может действовать на плунжерный поршень 32. Тем самым предотвращается возможность возникновения неконтролируемых усилий на плунжерный поршень 32, которые могли бы привести к повреждению тела в случае подачи в него жидкости под слишком большим давлением.
Для удобства передачи приводного усилия часть соединительного штока 35 может быть снабжена винтовой зубчатой нарезкой, а приводной блок 110 соответственно снабжен зубчатым колесом, которое входит в зацепление с данной частью штока. В этом случае датчик усилия в составе датчика 40 давления может быть выполнен с возможностью измерения усилия, прикладываемого к соединительному штоку 35 со стороны указанного колеса.
Описанный второй предпочтительный варианта устройства согласно изобретению (т.е. устройство 2) без резервуара, заполненного текучей средой, и без накачивающих средств представляет собой измерительно-сигнализирующее устройство. Таким образом, данное измерительно-сигнализирующее устройство содержит корпус 130, объем, предусмотренный внутри корпуса 130 и адаптированный для установки в него резервуара 33, заполненного текучей средой, средство 40 измерения для формирования сигнала измеренного давления, зависящего от давления в текучей среде, средство 50 преобразования сигнала для преобразования сигнала измеренного давления, выработанного средством измерения, в форму, пригодную для дальнейшей обработки, и средства 60, 70 воспроизведения.
Процедура определения положения (локализации) эпидурального пространства начинается с создания давления, например, в изотонической жидкости, находящейся в резервуаре 30, посредством смещения плунжерного поршня 32 в направлении трубки 34. Для этого приводной блок 110 создает усилие, прикладываемое к соединительному штоку 35 в направлении, которое в положении устройства, показанном на фиг.2, соответствует направлению влево. Под действием этого усилия соединительный шток 35 будет смещаться в осевом направлении; соответственно, плунжерный поршень 32, воспринимающий усилие через передающий давление диск 36, также будет смещаться в направлении трубки 34. В результате этого смещения жидкость будет иметь тенденцию к смещению в направлении тела и, в процессе такого смещения, как это было объяснено выше, будет встречать сопротивление со стороны ткани. Это сопротивление проявляется в виде противодавления, которое создается телом и которое преобразуется в давление в жидкости.
Усилие, которое прикладывается к соединительному штоку 35 со стороны приводного блока 110 для того, чтобы инжектировать жидкость в ткань тела, непосредственно связано с давлением в точке у острия иглы и должно быть достаточным для того, чтобы, по меньшей мере, преодолеть сопротивление, оказываемое тканью. Если острие иглы продвигается через, по существу, однородную ткань, давление у острия иглы практические не изменяется, так что усилие, которое необходимо прикладывать, остается фактически постоянным. Усилитель 70 в этом случае будет формировать звуковой сигнал, который также остается практически неизменным.
Приводной блок 110 сконструирован с возможностью перемещать соединительный шток 35 с постоянной, предпочтительно низкой скоростью после того, как жидкость в резервуаре 30 достигнет своего стартового давления. Поскольку ткань не всегда оказывает одно и то же сопротивление поглощению жидкости, усилие, которое прилагается к плунжерному поршню 32 со стороны приводного блока 110, должно изменяться, поскольку желательно обеспечить постоянное перемещение (т.е. постоянную скорость перемещения) плунжерного поршня 32. Как следствие, давление в жидкости в ходе продвижения острия иглы также будет изменяться. При этом, как это было описано ранее со ссылкой на фиг.1, модуль 100 измерения и отображения измеряет давление и выдает акустический и/или визуальный сигнал.
Когда острие иглы достигнет эпидурального пространства, жидкость будет вытекать в это пространство, при этом сопротивление поглощению жидкости резко и значительно уменьшится. Как следствие, давление в жидкости также резко и значительно упадет. В этот момент приводной блок 110 должен прилагать для перемещения соединительного штока 35 значительно меньшее усилие. Резкое и значительное изменение прилагаемого усилия обнаруживается человеком, который использует устройство 2, как резкое и значительное изменение звукового сигнала, а также визуального сигнала (если он используется). Из изменения описанного типа пользователь устройством 2 может сделать вывод, что острие иглы достигло эпидурального пространства и, следовательно, он должен прекратить продвижение пункционной иглы. После этого он может отсоединить пункционную иглу от остальных компонентов устройства в точке расположения соединительного элемента 33 для того, чтобы установить на пункционную иглу медицинский шприц, содержащий вещества, которые требуется ввести в эпидуральное пространство, или для того, чтобы ввести так называемый эпидуральный катетер.
В не представленном на чертеже варианте устройство согласно изобретению содержит также записывающие средства для записи временной зависимости сигнала измеренного давления. В частности, для этой цели может быть использована электронная память, в которой хранятся, с возможностью последующего извлечения, данные по измерению давления. В качестве альтернативного примера могут быть названы магнитные запоминающие средства. Однако допустима также и прямая распечатка профиля сигнала измеренного давления на бумаге с помощью принтера.
Важным достоинством использования записывающих средств является то, что благодаря им становится возможным проведение ретроспективного оценивания, действительно ли пользователь устройства обеспечил достижение искомой анатомической полости (причем, в случае необходимости, найденная оценка может быть подтверждена соответствующей демонстрацией). Данное достоинство является еще более значительным, если регистрируемые данные о давлении, имеющем место в процессе продвижения иглы в теле, хранятся таким образом, что обеспечивается возможность построения на их основе кривой, описывающей зависимость давления от времени. Как уже было отмечено выше, визуальное отображение в форме кривой, иллюстрирующей зависимость от времени, весьма полезно, поскольку достижение анатомической полости соответствует весьма специфичной (характеристичной) и, следовательно, легко распознаваемой кривой. Следует также отметить, что записывающие средства для хранения данных об измеренном давлении могут использоваться и независимо от остальных составляющих изобретения. При этом записывающие средства необязательно должны использоваться в сочетании со средствами генерирования акустического или визуального сигнала. Хранение данных измерений давления важно также с точки зрения последующего изучения этих данных.
Объем настоящего изобретения не ограничивается приведенными выше примерами, но охватывает также различные изменения и модификации описанных примеров, не выходящие за пределы изобретения, которые определены в прилагаемой формуле изобретения.
Например, изобретательский замысел может быть распространен также на шаг, который обычно следует за шагом определения положения эпидурального пространства, а именно на ввод в данное пространство эпидурального катетера.
Определение положения эпидурального пространства часто является предварительным шагом для ввода в него болеутоляющего вещества через упомянутый катетер. В этом случае важно установить конец катетера в правильное положение, т.е. внутри эпидурального пространства.
Катетер может быть введен путем отсоединения резервуара от пункционной иглы после того, как эта игла достигла эпидурального пространства, и проведения катетера через пункционную иглу внутрь эпидурального пространства. Часто человек, который устанавливает катетер, может достаточно четко ощутить, что катетер находится в правильном положении. Однако желательно обеспечить большую уверенность в отношении правильности установки. Для этой цели можно эффективно применить измерительно-сигнализирующее устройство в соответствии с настоящим изобретением.
После того как катетер был введен через пункционную иглу, правильность его установки может быть проверена путем создания давления в жидкости, подлежащей подаче в полость, и измерения этого давления (особенно его изменений). Для этой цели может быть применен любой из вариантов измерительно-сигнализирующего устройства по изобретению.
Когда в катетер подается жидкость, давление в этой жидкости сначала будет повышаться. Если затем жидкость прокачивать через катетер и если конец катетера будет действительно находиться в эпидуральном пространстве, жидкость будет иметь возможность вытекать в эпидуральное пространство практически без помех. В этом случае давление в жидкости будет оставаться неизменным или изменяться в незначительных пределах. Как следствие, акустический и визуальный сигналы, генерируемые устройством по изобретению, практически не будут испытывать никаких изменений. Человеку, который выполняет описываемую операцию, сразу станет ясно, что катетер установлен правильно, так что его положение можно зафиксировать.
Предшествующее описание относилось к применению устройства по изобретению для локализации эпидурального пространства в человеческом теле. Однако должно быть понятно, что устройство по изобретению может быть использовано для определения положения различных участков внутри тела, которые по своим свойствам отличаются от непосредственно окружающей их зоны. В данном контексте можно рассмотреть, например, утолщение или раковую опухоль в теле пациента. Раковая опухоль обычно имеет свойства, отличные от свойств ткани, внутри которой она расположена. В частности, раковая опухоль будет оказывать сопротивление проникновению в нее текучей среды, отличное от аналогичного сопротивления со стороны окружающей ее ткани. Если применить в этом случае устройство по изобретению способом, аналогичным описанному выше варианту, резкое изменение в измеряемом давлении у острия иглы будет указывать на то, что искомый участок тела достигнут. В этом контексте предполагается, что колебания давления в текучей среде, которые будут иметь место при продвижении иглы через ту часть тела, которая предшествует искомому участку, будут значительно меньше, чем изменение давления, которое произойдет в момент достижения иглой данного участка. Естественно, в данной ситуации желательно знать, каким именно образом участок, подлежащий локализации, отличается от части тела, которая его окружает. Действительно, в таком случае обнаружение искомого участка может быть произведено с намного большей достоверностью.
Устройство по изобретению может быть использовано для определения положения полости в любом теле, вновь в предположении, что колебания давления в текучей среде, имеющие место при продвижении пункционной иглы сквозь часть тела, предшествующую локализуемой полости, значительно меньше, чем изменение давления, которое происходит, когда острие иглы достигает полости.
Приведенное описание относилось к устройству согласно изобретению, в котором используется изотоническая жидкость. Как уже упоминалось, возможно также использование газа. Однако газ представляет собой среду, которая может быть сжата до намного более высокой степени, чем жидкость. Для того чтобы компенсировать подобное сжатие в процессе использования устройства и обеспечить постоянство потока газа, устройство по изобретению может быть снабжено дополнительными средствами управления.
Формула изобретения
1. Устройство для определения положения участка внутри тела, содержащее полую иглу, резервуар, заполненный текучей средой и сообщающийся с полой иглой, накачивающие средства для создания давления в текучей среде, средство измерения для формирования сигнала измеренного давления, зависящего от давления в текучей среде, средство преобразования сигнала для преобразования сигнала измеренного давления, выработанного средством измерения, в форму, пригодную для дальнейшей обработки, и средства воспроизведения для генерирования акустического сигнала, зависящего от сигнала измеренного давления, преобразованного посредством средства преобразования сигнала, отличающееся тем, что средства воспроизведения выполнены с возможностью генерирования акустического сигнала, непрерывным образом характеризующего давление в текучей среде.
2. Устройство по п.1, отличающееся тем, что давление в текучей среде характеризуется высотой тона акустического сигнала.
3. Устройство по п.1, отличающееся тем, что давление в текучей среде характеризуется громкостью акустического сигнала.
4. Устройство по п.1, отличающееся тем, что средство преобразования сигнала выполнено с возможностью выработки сигнала измеренного давления в форме электрического напряжения.
5. Устройство по п.1, отличающееся тем, что средства воспроизведения содержат синтезатор, усилитель звуковой частоты и громкоговоритель.
6. Устройство по п.1, отличающееся тем, что дополнительно содержит средства визуального воспроизведения, выполненные с возможностью выработки визуального сигнала, характеризующего давление в жидкости.
7. Устройство по п.6, отличающееся тем, что средства визуального воспроизведения содержат усилитель и дисплей.
8. Устройство по п.1, отличающееся тем, что дополнительно содержит записывающие средства, выполненные с возможностью записи временной зависимости сигнала измеренного давления.
9. Устройство по п.1, отличающееся тем, что накачивающие средства содержат перемещаемый плунжерный поршень.
10. Устройство по п.8, отличающееся тем, что записывающие средства содержат электронную память, способную хранить данные об измеренном давлении.
11. Устройство по п.8, отличающееся тем, что записывающие средства содержат магнитные запоминающие средства, способные хранить данные об измеренном давлении.
12. Устройство по п.9, отличающееся тем, что накачивающие средства являются автоматическими.
13. Устройство по п.10, отличающееся тем, что автоматические накачивающие средства выполнены с возможностью непрерывной подачи текучей среды.
14. Устройство по п.10, отличающееся тем, что накачивающие средства содержат приводной блок, выполненный с возможностью перемещения плунжерного поршня в резервуаре.
15. Устройство по п.12, отличающееся тем, что средство измерения выполнено с возможностью восприятия усилия, которое прикладывается к плунжерному поршню со стороны приводного блока.
16. Устройство по п.1, отличающееся тем, что снабжено средствами ограничения давления, ограничивающими давление текучей среды.
17. Измерительно-сигнализирующее устройство для определения положения участка внутри тела, содержащее корпус с предусмотренным внутри корпуса объемом, адаптированным для установки в него резервуара, заполненного текучей средой, присоединенного к накачивающим средствам для создания давления в текучей среде и выполненного с возможностью присоединения к полой игле, и установленные в корпусе: средство измерения для формирования сигнала измеренного давления, зависящего от давления в текучей среде, средство преобразования сигнала для преобразования сигнала измеренного давления, выработанного средством измерения, в форму, пригодную для дальнейшей обработки, и средства воспроизведения для генерирования акустического сигнала, отличающееся тем, что средства воспроизведения для генерирования акустического сигнала выполнены с возможностью выработки сигнала, характеризующего непрерывным образом значение сигнала измеренного давления, преобразованного посредством средства преобразования сигнала.
18. Измерительно-сигнализирующее устройство по п.17, отличающееся тем, что накачивающие средства содержат перемещаемый плунжерный поршень.
19. Измерительно-сигнализирующее устройство по п.18, отличающееся тем, что накачивающие средства являются автоматическими.
20. Измерительно-сигнализирующее устройство по п.19, отличающееся тем, что накачивающие средства выполнены с возможностью непрерывной подачи текучей среды.
21. Измерительно-сигнализирующее устройство по п.19, отличающееся тем, что накачивающие средства содержат приводной блок, выполненный с возможностью перемещения плунжерного поршня.
22. Измерительно-сигнализирующее устройство по п.21, отличающееся тем, что средство измерения выполнено с возможностью формирования сигнала измеренного давления на базе усилия, которое прикладывается к плунжерному поршню со стороны приводного блока.
23. Измерительно-сигнализирующее устройство по п.21, отличающееся тем, что накачивающие средства снабжены перемещаемым соединительным штоком, один конец которого оказывает воздействие на перемещаемый плунжерный поршень, а приводной блок выполнен с возможностью осуществления перемещения соединительного штока.
24. Измерительно-сигнализирующее устройство по п.23, отличающееся тем, что средство измерения выполнено с возможностью восприятия усилия, которое прикладывается к плунжерному поршню.
25. Измерительно-сигнализирующее устройство по п.24, отличающееся тем, что средство преобразования сигнала содержит преобразователь усилие/напряжение.
26. Измерительно-сигнализирующее устройство по п.23, отличающееся тем, что, по меньшей мере, часть соединительного штока снабжена винтовой зубчатой нарезкой.
27. Измерительно-сигнализирующее устройство по п.17, отличающееся тем, что средства воспроизведения содержат синтезатор и громкоговоритель.
28. Измерительно-сигнализирующее устройство по п.17, отличающееся тем, что дополнительно содержит средства визуального воспроизведения для выработки визуального сигнала, который является адекватным представлением сигнала измеренного давления.
29. Измерительно-сигнализирующее устройство по п.28, отличающееся тем, что средства визуального воспроизведения содержат усилитель и дисплей.
30. Измерительно-сигнализирующее устройство по п.17, отличающееся тем, что дополнительно содержит записывающие средства, выполненные с возможностью записи временной зависимости сигнала измеренного давления.
31. Измерительно-сигнализирующее устройство по п.17, отличающееся тем, что дополнительно содержит зажимные средства, выполненные на наружной поверхности корпуса для закрепления устройства на любом выбранном объекте.
32. Устройство по п.30, отличающееся тем, что записывающие средства содержат электронную память, способную хранить данные об измеренном давлении.
33. Устройство по п.30, отличающееся тем, что записывающие средства содержат магнитные запоминающие средства, способные хранить данные об измеренном давлении.
34. Способ выдачи наблюдателю сигнала о давлении в точке тела у острия полой иглы, введенной в тело, включающий следующие операции: введение в иглу текучей среды, приложение к текучей среде повышенного давления, измерение давления в текучей среде и генерирование акустического сигнала, характеризующего непрерывным образом значение давления в текучей среде.
35. Способ по п.34, отличающийся тем, что дополнительно генерируют визуальный сигнал, который характеризует непрерывным образом значение давления в текучей среде.
36. Модуль измерения и отображения устройства для определения положения участка внутри тела, содержащий средство измерения для формирования сигнала измеренного давления, зависящего от давления в текучей среде, средство преобразования сигнала для преобразования сигнала измеренного давления, выработанного средством измерения, в форму, пригодную для дальнейшей обработки, и средства воспроизведения, выполненные с возможностью генерирования акустического сигнала, характеризующего непрерывным образом сигнал измеренного давления, преобразованный посредством средства преобразования сигнала.
РИСУНКИ
|
|