|
|
(21), (22) Заявка: 2005118878/12, 17.06.2005
(24) Дата начала отсчета срока действия патента:
17.06.2005
(43) Дата публикации заявки: 27.12.2006
(46) Опубликовано: 20.04.2007
(56) Список документов, цитированных в отчете о поиске:
SU 1279601 A1, 30.12.1986. RU 2003114115 A, 10.01.2005. RU 2236808 C1, 27.09.2004. EP 0855160 A2, 29.07.2001. EP 1161906 A2, 12.12.2001. CH 604629 A5, 15.09.1978. US 4953242 A, 04.09.1990.
Адрес для переписки:
432067, г.Ульяновск, ул. Карбышева, 32, кв.380, В.В. Карасеву
|
(72) Автор(ы):
Карасёв Евгений Викторович (RU), Миллер Александр Николаевич (RU)
(73) Патентообладатель(и):
Миллер Александр Николаевич (RU)
|
(54) УГЛОВОЙ ДИВАН-КРОВАТЬ
(57) Реферат:
Изобретение относится к мебельному производству и может быть использовано при изготовлении трансформируемых изделий мягкой мебели. Технический результат – расширение функциональных и эксплуатационных возможностей мебели и повышение эксплуатационных качеств и комфортности. Угловой диван-кровать содержит основание, спинку, трансформируемые мягкие элементы с опорными ножками и упорными ножками, фиксирующими мягкие элементы после трансформации. Средство трансформации включает опоры с направляющими роликами, установленными на основании, направляющие, размещенные на трубчатых каркасах мягких элементов. Подвижные спинки установлены шарнирно на противоположных углах основания и контактируют с длинными направляющими посредством кронштейнов с роликами. Мебель может трансформироваться в положения «диван», «угловой диван» и «кровать», а также позволяет изменять количество сидячих мест на диване. 3 з.п. ф-лы, 10 ил.
Изобретение относится к мягкой мебели, в частности к угловому дивану-кровати.
Цель изобретения – повышение функциональных возможностей углового дивана-кровати и его удобства в эксплуатации.
Известен угловой диван-кровать, авторское свидетельство СССР №1595450, кл. А 47 С 17/36, 1988, содержащий две установленные под прямым углом одна относительно другой жесткие спинки, два установленных под прямым углом одно относительно другого жестких основания, одно из которых выполнено меньшим по длине и имеет внутреннюю полость, мягкие элементы, дополнительное основание, состоящее из двух шарнирно соединенных частей и размещенное вместе с мягким элементом в полости меньшего основания, дополнительный мягкий элемент, состоящий из трех продольных шарнирно соединенных частей, покрывающий поверхность в положении «кровать». Все мягкие элементы спинки и оснований выполнены одинаковыми по толщине. Часть спинки состоит из трех соединенных частей. Данная конструкция углового дивана-кровати имеет такие недостатки, как:
1) отсутствие свободной внутренней полости для белья,
2) неудобство его раскладывания в положении кровать и наоборот, т.к. приходится делать для этого 4 операции, т.е. дополнительное основание нужно вынимать из меньшего основания, установить горизонтально развернув на 180 градусов, а затем разложить мягкие элементы,
3) конструкция не позволяет менять местами меньшее и большее основание углового дивана-кровати, более гармонично вписывая его в интерьер комнаты,
4) массивность конструкции.
Наиболее близким техническим решением к предлагаемому изобретению, авторское свидетельство СССР №1279601, кл. А 47 С 17/36, 1984, является угловой диван-кровать, содержащий спинку, основание, ножки с шаровыми опорами, мягкие элементы, установленные в положение «диван» под прямым углом, один из которых неподвижный, а другой выполнен трансформируемым и имеет упорную ножку, большую по высоте, чем ножки с шаровыми опорами и установленную при помощи оси с возможностью поворота в направлении движения, и средство трансформации дивана в положение кровать, включающее две сферические опоры, закрепленные на углах поперечной стороны трансформируемого мягкого элемента и перемещающиеся по направляющим, размещенным на основании под прямым углом.
Недостатками прототипа являются:
1) сложность изготовления сферических опор;
2) износ поверхности основания и пола из-за точечного контакта сферических опор;
3) конструкция не позволяет регулировать длину кровати, менять местами меньшее и большее сидячие места углового дивана-кровати, более гармонично вписывая его в интерьер комнаты, а также использовать как «диван»;
4) не предусмотрен ящик для белья.
Задачей, на решение которой направлено изобретение, является устранение указанных недостатков, т.е. создание углового дивана-кровати с повышенными функциональными возможностями, более удобного в эксплуатации и с более простыми деталями.
В результате решения этой задачи достигаются такие технические результаты, как:
1) упрощение конструкции, повышение надежности и долговечности углового дивана-кровати за счет исключения сферических опор и введения роликовых и колесных опор, дающих линейный контакт, а не точечный;
2) универсальность конструкции, т.к. угловой диван-кровать может трансформироваться в «кровать», «диван», регулировать спальное место кровати по длине, а также позволяет менять местами меньшее и большее сидячие места;
3) комфортность и удобство в эксплуатации за счет размещения в основании диван-кровати выдвижного ящика для белья;
4) легкость и прочность конструкции за счет использования каркаса основания и каркасов мягких элементов и спинок из труб;
5) придание угловому диван-кровати ортопедических свойств за счет применения лат (ламелей) и расположения их на каркасах мягких элементов в поперечном направлении.
Технический результат достигается тем, что угловой диван-кровать, содержащий спинку, основание, трансформируемый мягкий элемент с опорными ножками и с возможностью установления под прямым углом в положении угловой диван, а также имеющий упорную ножку, большую по высоте, чем опорные ножки и установленную при помощи горизонтальной оси с возможностью поворота в направлении движения, средство трансформации углового дивана в положение «кровать», включающее две опоры, установленные в направляющие для перемещения мягкого элемента, в нем согласно изобретению оба мягких элемента являются трансформируемыми и снабжены двумя параллельными направляющими вдоль продольных сторон, причем ближняя к спинке направляющая длиннее, чем дальняя, а каждая опора закреплена на основании симметрично на дальней от спинки стороне и имеет ролик с вертикальной осью вращения, контактирующий с направляющей, каждый мягкий элемент снабжен двумя опорными роликами с осями вращения параллельно поперечной стороне, катающимися по основанию, на двух углах основания симметрично с возможностью поворота вокруг вертикальной оси одним концом шарнирно закреплены две подвижные спинки, а второй конец спинок снабжен колесной опорой для перемещения по полу при повороте и кронштейном с роликом с вертикальной осью вращения, который вставлен в длинную направляющую соответствующего мягкого элемента, а упорная ножка имеет колесо, опорные ножки мягкого элемента – поворачивающиеся колесные опоры. Основание угловатого диван-кровати снабжено выдвижным ящиком для белья.
Технический результат достигается и тем, что в угловом диване-кровати каркасы основания, мягких элементов и спинок выполнены трубчатыми, каркасы мягких элементов снабжены латами (ламелями), расположенными в поперечном направлении, подушки спинок могут быть съемными, а на верхней поверхности основания могут быть установлены фиксаторы для опорных роликов мягких элементов.
Такие существенные отличительные признаки, как: «…оба мягких элемента являются трансформируемыми и снабжены двумя параллельными направляющими вдоль продольных сторон, причем ближняя к спинке направляющая длиннее, чем дальняя, а каждая опора закреплена на основании симметрично на дальней от спинки стороне и имеет ролик с вертикальной осью вращения, контактирующий с направляющей, каждый мягкий элемент снабжен двумя опорными роликами с осями вращения параллельно поперечной стороне, катающимися по основанию, а на двух углах основания симметрично с возможностью поворота вокруг вертикальной оси одним концом шарнирно закреплены две подвижные спинки, а второй конец спинок снабжен колесной опорой для перемещения по полу при повороте и кронштейном с роликом с вертикальной осью вращения, который вставлен в длинную направляющую соответствующего мягкого элемента …», дают такие технические результаты, как универсальность конструкции, дающие возможность трансформировать угловой диван-кровать в один длинный диван со спинкой, регулировать по длине спальное место кровати, а также менять местами положение длинной и короткой секций углового дивана-кровати.
Такие существенные отличительные признаки, как: «…каждый мягкий элемент снабжен двумя опорными роликами с осями вращения параллельно, поперечной стороне катающимися по основанию, …упорная ножка мягкого элемента имеет колесо, опорные ножки – поворачивающиеся роликовые опоры …», дают такие технические результаты, как упрощение конструкции опор, повышение надежности и долговечности углового диван-кровати, т.к. роликовые и колесные опоры дают линейный контакт и, следовательно, износ поверхности уменьшается.
Такой существенный отличительный признак, как «…основание снабжено выдвижным ящиком для белья», дает такой технический результат, как повышение комфортности и удобства в эксплуатации.
Такой существенный отличительный признак, как: «…каркасы основания, мягких элементов и спинок выполнены трубчатыми …», дает такие технические результаты, как уменьшение веса углового диван-кровати и увеличение его прочности.
Такой отличительный признак, как «…каркасы мягких элементов снабжены латами (ламелями), расположенными в поперечном направлении …», позволяет придать угловому диван-кровати ортопедические свойства, т.е. приспосабливаемость углового дивана-кровати к телу человека при сидении и лежании в месте наибольшей нагрузки.
На чертежах представлен угловой диван-кровать новой конструкции.
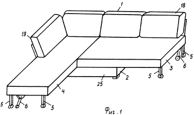
На фиг.1 показан угловой диван-кровать в аксонометрии.
На фиг.2 – то же в положении «кровать».
На фиг.3 показан угловой диван-кровать, трансформируемый в положение «диван».
На фиг.4 показан угловой диван-кровать, вид в плане без подушек и ламелей.
На фиг.5 – разрез А-А на фиг.4.
На фиг.6 – разрез Б-Б на фиг.4.
На фиг.7 – выносной элемент I на фиг.5.
На фиг.8 – выносные элементы II на фиг.5.
На фиг.9 – разрез В-В на фиг.4.
На фиг.10 – разрез Г-Г на фиг.4.
Угловой диван-кровать содержит спинку 1 (см фиг.1), основание 2, трансформируемые мягкие элементы 3 и 4 с опорными ножками 5 и упорными ножками 6, большими по высоте, чем опорные ножки 5, упорные ножки 6 установлены при помощи горизонтальных осей 7 (см фиг.10) с возможностью поворота в направлении движения. Также угловой диван-кровать содержит средство трансформации в положении «кровать», включающее опоры с направляющими роликами 8 (см фиг.4) с вертикальной осью 9, установленные в направляющие 10 и 11 мягкие элементы 3 и 4 имеют по две параллельные направляющие, причем ближняя к спинке 1 направляющая 12 и 13 длиннее, чем дальняя 10 и 11, а каждая опора с направляющим роликом 8 закреплена на основании 2 симметрично на дальней от спинки 1 стороне и имеет ролик 8 с вертикальной осью вращения 14 (см. фиг.5), контактирующий с направляющей 10 или 11.
Каждый мягкий элемент 3 и 4 снабжен двумя опорными роликами 15 (см. фиг.4, 6, 7) с осями вращения параллельно поперечной стороне, катающимися по основанию 2. На двух углах основания 2 установлены шарнирно с возможностью поворота вокруг вертикальной оси 17 одним концом две подвижные спинки 18 и 19, а второй конец спинок 18 и 19 снабжен колесной опорой 20 и кронштейном с роликом 21 (см фиг.4, 7, 9, 10) с вертикальной осью вращения 22, ролик 21 вставлен в длинную направляющую 12 или 13 соответствующего мягкого элемента 3 и 4.
Упорная ножка 6 мягкого элемента имеет колесо 23. Опорные ножки 5 имеют поворачивающиеся колесные опоры 24. Основание 2 снабжено выдвижным ящиком для белья 25, мягкие элементы 3 и 4 снабжены трубчатыми каркасами 26 и 27. Каркасы основания и спинок тоже трубчатые. Каркасы 26 и 27 мягких элементов 3 и 4 могут быть снабжены латами (ламелями) 28, а подушки спинок 1, 18 и 19 могут быть съемными.
На верхней поверхности основания 2 могут быть установлены фиксаторы 29 для опорных роликов 15.
При трансформации углового дивана-кровати в положение «кровать» (см. фиг.2) перемещают мягкий элемент 3, опирающийся опорными роликами 15 на основание 2 и опорными ножками 5 с поворачивающимися колесными опорами 24 на пол, вокруг опоры с направляющим роликом 8, вставленным в направляющую 10. Мягкий элемент 3 ведет за собой кронштейн с роликом 21, перемещающийся по длинной направляющей 12, при этом упорная ножка 6 в начальный момент перемещения мягкого элемента 3 переходит через среднее положение и до конца перемещения находится в наклоненном положении, подвижная спинка 18, связанная с кронштейном и роликом 21, поворачивается на шарнирах вокруг вертикальных осей 17, а колесная опора 20 катится по полу. Развернув мягкий элемент 3 на 90 градусов, его сдвигают вдоль длинной стороны мягкого элемента 4 до упора в спинку 1, при этом колесные опоры 23 и 24 упорной ножки 6 и опорных ножек 5 катятся по полу, а опорные ролики 15 катятся по основанию 2 и фиксируются фиксаторами 29, упорная ножка 6, упираясь в пол, фиксирует мягкий элемент 3 от обратного перемещения вокруг опоры 8.
Для увеличения спального места кровати мягкие элементы 3 и 4 отодвигают от спинки 1, при этом направляющие ролики 8 и 21 контактируют с направляющими 10, 11 и 12, 13, а в образовавшееся место укладывают съемные подушки спинок 1, 18 и 19.
В положении «угловой диван» из положения «кровать» угловой диван-кровать трансформируется в обратном порядке. Убирают съемные подушки спинок 1, 18 и 19, перемещают мягкий элемент 3 вокруг опоры с роликом 8 на 90 градусов, при этом подвижная спинка 18 автоматически также разворачивается на 90 градусов. Задвигают мягкий элемент 4 до упора в спинку 1, при этом опорные ролики 15 фиксируются фиксаторами 29, а затем устанавливают съемные подушки на спинку 1 и подвижные спинки 18 и 19.
Для изменения положения меньшего и большего сидячих мест углового дивана требуется из положения «кровать» переместить мягкий элемент 4 вокруг опоры с роликом 8 на 90 градусов, а потом задвинуть мягкий элемент 3 до упора в спинку 1.
Для трансформации углового диван-кровати в положение «диван» отодвигают мягкий элемент 4 от спинки вдоль короткой стороны мягкого элемента 3, а затем перемещают вокруг опоры с роликом 8 на 90 градусов до контакта коротких сторон мягких элементов 3 и 4.
Для хранения белья применяется выдвижной ящик 25.
Угловой диван-кровать этой конструкции позволяет делать мягкую мебель универсальной, трансформируемой в разные виды мягкой мебели, как кровать, диван разной длины, угловой диван, более гармонично вписываемый в интерьер комнаты. При этом мягкая мебель будет более легкой, прочной, удобной и комфортной.
Формула изобретения
1. Угловой диван-кровать, содержащий основание, спинку, средство трансформации в положение «диван», в положение «угловой диван» с возможностью установки мягких элементов под прямым углом и в положение «кровать», включающее направляющие с роликами, опорные ножки и упорную ножку, большую по высоте, чем опорные ножки, установленную с возможностью поворота в направлении движения, отличающийся тем, что оба мягких элемента выполнены трансформируемыми с двумя параллельными направляющими вдоль продольных сторон, причем ближняя к спинке направляющая выполнена длиннее дальней, на двух углах основания симметрично шарнирно с возможностью поворота вокруг вертикальной оси одним концом установлены две подвижные спинки, второй конец которых снабжен колесной опорой для перемещения по полу при повороте и кронштейном с роликом и вертикальной осью вращения, перемещающимся в длинной направляющей соответствующего мягкого элемента, при этом каждый мягкий элемент снабжен двумя опорными роликами с осями вращения параллельно поперечной стороне, перемещающимися по основанию, упорная ножка мягкого элемента имеет колесо, опорные ножки – колесные опоры, основание снабжено выдвижным ящиком для белья, а на его верхней поверхности установлены фиксаторы для опорных роликов мягких элементов.
2. Угловой диван-кровать по п.1, отличающийся тем, что каркасы основания, мягких элементов и спинок выполнены трубчатыми.
3. Угловой диван-кровать по п.1, отличающийся тем, что каркасы мягких элементов снабжены латами, расположенными в поперечном направлении.
4. Угловой диван-кровать по п.1, отличающийся тем, что подушки спинок выполнены съемными.
РИСУНКИ
MM4A – Досрочное прекращение действия патента СССР или патента Российской Федерации на изобретение из-за неуплаты в установленный срок пошлины за поддержание патента в силе
Дата прекращения действия патента: 18.06.2008
Извещение опубликовано: 20.06.2010 БИ: 17/2010
|
|