|
(21), (22) Заявка: 2003122335/13, 21.12.2001
(24) Дата начала отсчета срока действия патента:
21.12.2001
(30) Конвенционный приоритет:
22.12.2000 AT A 2141/2000
(43) Дата публикации заявки: 10.02.2005
(46) Опубликовано: 20.04.2007
(56) Список документов, цитированных в отчете о поиске:
US 4208441 А, 17.01.1980. SU 195396 A, 23.06.1967. SU 225149 A, 27.03.1970. SU 1169579 A, 30.07.1985.
(85) Дата перевода заявки PCT на национальную фазу:
22.07.2003
(86) Заявка PCT:
AT 01/00404 (21.12.2001)
(87) Публикация PCT:
WO 02/051248 (04.07.2002)
Адрес для переписки:
129010, Москва, ул. Б.Спасская, 25, стр.3, ООО “Юридическая фирма Городисский и Партнеры”, пат.пов. Е.И.Емельянову
|
(72) Автор(ы):
ХААС Франц (AT), ХААС Йоханн (AT), ОБЕРМАЙЕР Фритц (AT)
(73) Патентообладатель(и):
ФРАНЦ ХААС ВАФФЕЛЬМАШИНЕН-ИНДУСТРИ АКЦИЕНГЕЗЕЛЛЬШАФТ (AT)
|
(54) ЗАГРУЗОЧНОЕ УСТРОЙСТВО ДЛЯ ХЛЕБОПЕКАРНЫХ ПЕЧЕЙ ДЛЯ ИЗГОТОВЛЕНИЯ ВЫПЕЧНЫХ ФОРМОВАННЫХ ИЗДЕЛИЙ
(57) Реферат:
Изобретение относится к хлебопекарному производству, а именно к загрузочному устройству для хлебопекарных печей, в которых формы для выпечки образованы циркулирующими по технологической линии верхними и нижними подовыми плитами. Загрузочное устройство содержит посадочное устройство тестовых заготовок, расположенное на секции загрузки над трассой нижних подовых плит. Посадочное устройство некоторое время перемещается вместе с нижними подовыми плитами и высаживает тестовые заготовки в заданных местах на выпечные поверхности нижних подовых плит. Изобретение позволяет расширить ассортимент продукции, производимой существующими типами хлебопекарных печей. 7 з.п. ф-лы, 10 ил.
Изобретение относится к загрузочному устройству для хлебопекарных печей, в которых проходящие технологическую линию выпечки формы для выпечки образованы циркулирующими верхними и нижними подовыми плитами хлебопекарной печи, определяющими своими выпечными поверхностями, вдоль технологической линии выпечки обращенными друг к другу, верхнюю и, соответственно, нижнюю стороны выпекаемых в формах для выпечки формованных изделий, при этом нижние подовые плиты на горизонтальном участке их трассы проходят находящуюся перед технологической линией выпечки секцию загрузки, на которой установлено загрузочное устройство, выдающее на обращенные кверху выпечные поверхности нижних подовых плит предусмотренную для выпекаемых формованных изделий тестовую или пекарную массу, прежде чем верхние подовые плиты помещаются на тестовую или пекарную массу и формы для выпечки закрываются.
Известны два различных конструктивных типа хлебопекарных печей.
Первый конструктивный тип представляет собой хлебопекарную печь, которая оснащена двумя бесконечными, циркулирующими в печи цепями из подовых плит, каждая из которых состоит из шарнирно соединенных друг с другом прямоугольных подовых плит. Эти цепи подовых плит с попарно противолежащими подовыми плитами и обращенными друг к другу выпечными поверхностями проходят технологические линии хлебопекарной печи. Расположенные друг над другом подовые плиты обеих цепей образуют закрытые прямоугольные формы для выпечки, которые за счет циркулирующего перемещения верхней цепи подовых плит закрываются в начале технологических линий и открываются в конце технологических линий. Хлебопекарные печи такого типа известны, например, из GB 226793 (1925), DE 464630 (1928), DE 881182 (1952).
К этому типу хлебопекарных печей относится и печь согласно US 4208441 (1980). В такой хлебопекарной печи предусмотрены две бесконечные, циркулирующие внутри печи цепи подовых плит, каждая из которых состоит из шарнирно соединенных друг с другом круглых подовых плит. В этой печи предварительно формуются из сырого теста круглые заготовки, размеры которых соответствуют размерам круглых подовых плит печи, укладываются на нижние подовые плиты, заключаются между двумя круглыми подовыми плитами и выпекаются круглые основы для пиццы и подобных изделий.
Ко второму конструктивному типу относятся большей частью вытянутые хлебопекарные печи, в которых верхние и нижние подовые плиты вставлены в открывающиеся и закрывающиеся формы типа вафельниц, которые циркулируют внутри печи по замкнутой траектории и проходят секцию загрузки печи на горизонтальном участке своей траектории с откинутой более чем на 90° верхней подовой плитой. Эти «вафельницы» собраны в бесконечную цепь, которая циркулирует по вытянутой печи в ее продольном направлении. В такой хлебопекарной печи перед приходом в секцию загрузки для открывания выпечных форм и извлечения выпеченных изделий верхняя подовая плита выпечных форм откидывается, а в конце секции загрузки снова захлопывается для закрытия выпечных форм. Печи такого типа известны, например, из DE 36565 (1886), US 353837 (1886), AT 378470 (1985), US 4438685 (1984).
Хлебопекарные печи, в которых проходящие технологическую линию выпечки формы для выпечки образованы циркулирующими верхними и нижними подовыми плитами хлебопекарной печи, определяющими своими выпечными поверхностями, вдоль технологической линии выпечки обращенными друг к другу, верхнюю и, соответственно, нижнюю стороны выпекаемых в формах для выпечки выпечных формованных изделий, применяются в технологии выпечки вафель – в зависимости от конструкции форм для выпечки и подовых плит соответствующей хлебопекарной печи для изготовления хрустящих, хрупких и ломких вафель или для изготовления мягких, так называемых Soft-WaffeIn, как, например, бельгийские вафли.
В этих хлебопекарных печах нижние подовые плиты проходят в нижнем участке своей трассы находящуюся перед технологической линией выпечки секцию загрузки, на которой рядом с трассой нижних подовых плит установлено стационарное тесторазливочное устройство, выдающее соответствующие объему форм для выпечки порции жидкого теста на движущиеся мимо нижние подовые плиты. Тесторазливочное устройство транспортирует жидкое вафельное тесто при помощи соответствующего насоса из питающего резервуара к своей горизонтальной раздаточной трубе, расположенной над трассой нижних подовых плит и снабженной с нижней стороны выходными отверстиями для жидкого вафельного теста. Порционирование жидкого вафельного теста осуществляется заранее соответствующим насосом тесторазливочного устройства. Известны такие тесторазливочные устройства, в которых порционирование жидкого вафельного теста осуществляется лишь в выходных отверстиях раздаточной трубы посредством установленных там и управляемых снаружи вентилей.
В этих хлебопекарных печах подаваемая на горячую обращенную кверху выпечную поверхность нижней подовой плиты порция жидкого теста разливается по выпечной поверхности и распространяется во все стороны. При закрывании формы для выпечки на разлившуюся жидкую порцию теста помещается горячая, обращенная книзу выпечная поверхность верхней подовой плиты. Жидкая порция теста в результате контакта с обеими горячими выпечными поверхностями вспенивается и вследствие образующегося в ней водяного пара распределяется до границ рабочей полости формы для выпечки. В результате образуется заполнившее форму для выпечки, вспенившееся под действием водяного пара и еще не имеющее устойчивой формы тестовое изделие, которое в ходе дальнейшего процесса выпечки становится тверже и в конце процесса выпечки образует заполнившую форму для выпечки, формоустойчивую вафлю.
В этих хлебопекарных печах используется лишь жидкое тесто, в котором образующийся в результате контакта с горячими подовыми плитами водяной пар является разрыхляющим и одновременно распределяющим тесто до границ рабочей полости формы для выпечки разрыхлителем. Тесторазливочные устройства этих хлебопекарных печей не пригодны для загрузки форм для выпечки нежидким тестом.
Задача изобретения заключается в создании загрузочного устройства для нежидкого теста, предварительно порционируемого на отдельные тестовые заготовки, для хлебопекарных печей обоих рассмотренных типов, в которых формы для выпечки готовых формованных изделий образованы верхними и нижними подовыми плитами, проходящими технологическую линию выпечки хлебопекарной печи своими обращенными одна к другой выпечными поверхностями.
Поставленная задача решается благодаря загрузочному устройству для внесения теста в формы для выпечки хлебопекарной печи для изготовления в такой печи печеных формованных изделий, причем формы для выпечки, проходящие в хлебопекарной печи по ее технологическим линиям, образованы верхними и нижними подовыми плитами, которые своими обращенными вдоль технологических линий друг к другу выпечными поверхностями определяют верхнюю и нижнюю стороны изготовляемых в форме для выпечки формованных изделий, причем нижние подовые плиты на горизонтальном участке своей трассы проходят секцию загрузки, которая расположена перед технологической линией выпечки хлебопекарной печи и в конце которой верхние подовые плиты опускаются на нижние подовые плиты для закрытия форм для выпечки, причем загрузочное устройство содержит расположенное в секции загрузки хлебопекарной печи посадочное устройство для высаживания в ходе каждого из следующих друг за другом процессов посадки на нижние подовые плиты хлебопекарной печи по две или более тестовых заготовки, причем посадочное устройство в секции загрузки хлебопекарной печи расположено над трассой нижних подовых плит с возможностью возвратно-поступательного перемещения в ее продольном направлении, причем посадочное устройство установлено с возможностью совместного перемещения с циркулирующими нижними подовыми плитами в их продольном направлении при каждом процессе посадки, и причем при каждом процессе посадки теста перемещающееся вместе с нижними подовыми плитами посадочное устройство находится над движущимися нижними подовыми плитами до тех пор, пока все те тестовые заготовки, которые подлежат одновременному высаживанию в данном процессе посадки, не попадут на выпечные поверхности нижних подовых плит хлебопекарной печи в задаваемом посадочным устройством распределенном положении.
Технический результат, достигаемый загрузочным устройством согласно изобретению, заключается в расширении ассортимента продукции, производимой существующими хлебопекарными печами обоих типов.
Загрузочное устройство согласно изобретению расположено под секцией выгрузки транспортирующего устройства, находящегося перед хлебопекарной печью и подающего к ней тестовые заготовки. Загрузочное устройство забирает поставляемые транспортирующим устройством тестовые заготовки и сажает их с временной задержкой на нижние подовые плиты в установленных местах.
В начале кинематического цикла загрузочного устройства посадочное устройство находится в его заднем конечном положении под секцией выгрузки транспортирующего устройства. Посадочное устройство остается в его заднем конечном положении до тех пор, пока тестовые заготовки не отсоединятся от транспортирующего устройства и не поступят на посадочное устройство. После этого посадочное устройство синхронно перемещается вместе с нижними подовыми плитами в направлении их движения. Поступившие на посадочное устройство тестовые заготовки перемещаются вдоль посадочного устройства к заданному месту посадки. Там тестовые заготовки выпадают из посадочного устройства на находящуюся в этот момент снизу выпечную поверхность нижней подовой плиты. Посадочное устройство перемещается синхронно с нижними подовыми плитами до тех пор, пока все тестовые заготовки не отделятся от него и каждая тестовая заготовка не поступит в определенном для нее посадочном месте на выпечную поверхность нижней подовой плиты. По прибытии в переднее конечное положение теперь пустое посадочное устройство движется в направлении, обратном движению нижних подовых плит, назад в его заднее конечное положение, и начинается новый кинематический цикл загрузочного устройства.
Благодаря загрузочному устройству согласно изобретению тестовые заготовки высаживаются одна возле другой на нижние подовые плиты в заранее определенных посадочным устройством позициях.
Посадочное устройство может быть выполнено для однорядной пересадки тестовых заготовок и при каждом кинематическом цикле загрузочного устройства забирает только один ряд расположенных одна возле другой в поперечном направлении хлебопекарной печи тестовых заготовок, которые после перемещения посадочного устройства высаживаются на выпечную поверхность нижней подовой плиты.
Посадочное устройство может быть выполнено также для двухрядной пересадки тестовых заготовок. При таком исполнении посадочное устройство берет при каждом кинематическом цикле загрузочного устройства два расположенных один за другим в продольном направлении хлебопекарной печи ряда тестовых заготовок, расположенных одна возле другой в поперечном направлении хлебопекарной печи. Тестовые заготовки обоих рядов перемещаются по посадочному устройству и высаживаются всего лишь на одной нижней подовой плите или на двух расположенных одна за другой в продольном направлении хлебопекарной печи нижних подовых плитах.
Посадочное устройство может быть выполнено также для многорядной пересадки. При таком исполнении посадочное устройство берет соответственно три или больше поперечных рядов тестовых заготовок и высаживает их на одну нижнюю подовую плиту или несколько расположенных одна за другой в продольном направлении хлебопекарной печи нижних подовых плитах.
Загрузочное устройство согласно изобретению высаживает тестовые заготовки соответственно с интервалом одна возле другой на выпечную поверхность нижней подовой плиты хлебопекарной печи. В хлебопекарной печи соответствующая верхняя подовая плита при закрывании формы для выпечки опускается или опрокидывается на нижнюю подовую плиту. При этом лежащие одна возле другой тестовые заготовки приплющиваются выпечной поверхностью верхней подовой плиты и раздвигаются в стороны в ограниченной обеими выпечными поверхностями формирующей полости. Из приплюснутых тестовых заготовок образуются в результате процесса выпечки отдельные формованные изделия с неправильными боковыми очертаниями, в которых верхняя и нижняя стороны соответствуют участку выпечной поверхности верхней подовой плиты или выпечной поверхности нижней подовой плиты, ограничивающему формованное изделие сверху или снизу. При помощи загрузочного устройства согласно изобретению может быть загружена также тестовыми заготовками хлебопекарная печь, в которой выпечные поверхности подовых плит образуют соответственно несколько расположенных одна возле другой и разделенных между собой перемычками полуформ расположенных одна возле другой форм для выпечки. В таком случае заданные посадочным устройством места высадки ориентированы на нижние полуформы для выпечки, так что в каждой нижней полуформе на нижнюю подовую плиту высаживается соответствующая ей тестовая заготовка.
Загрузочное устройство согласно изобретению позволяет высаживать на нижние подовые плиты соответственно одинаковые или также различные тестовые заготовки. Тестовые заготовки могут иметь между собой одинаковый вес теста, но изготавливаться из разного теста или лишь только с разными добавками (например, просеянный сахар, кусочки белого шоколада, кусочки горького шоколада, кусочки фруктов, изюм, кусочки ореха, кусочки сыра и т.д.). Тестовые заготовки могут быть выполнены из крутого теста. Высаживаемые одновременно на одну нижнюю подовую плиту тестовые заготовки могут иметь также разный вес теста.
Тестовые заготовки могут быть выполнены из вязкого дрожжевого теста, замешанного с кусочками сахара, как это используется для льежских вафель. Замешанное с сахарными кусочками дрожжевое тесто делится на тестовые заготовки с одинаковым весом теста, которые затем выдерживают, чтобы за счет собственного брожения дрожжевого теста добиться разрыхления отдельных тестовых заготовок и увеличения их объема. Для выдерживания тестовые заготовки выкладываются в поперечные ряды на вращающихся подвесках для расстойки теста в расстойных шкафах. Лежа на подвесках, они проходят кондиционируемое внутреннее пространство расстойного шкафа и одновременно поднимаются. Время прохождения по расстойному шкафу соответствует времени предусмотренной промежуточной расстойки теста. По истечении времени выдерживания соответственно поднявшиеся, но незначительно отличающиеся тестовые заготовки вынимают из расстойного шкафа, передают на загрузочное устройство согласно изобретению и с него высаживают одна возле другой на нижние подовые плиты хлебопекарной печи. Высаженные тестовые заготовки сминают и затем вертикально и одновременно горизонтально распластовывают верхними подовыми плитами хлебопекарной печи. При этом на каждой тестовой заготовке на ее верхней стороне и на ее нижней стороне образуется соответственно типичный для льежских вафель рисунок.
Согласно другому признаку изобретения посадочное устройство может иметь перемещающиеся взад-вперед в продольном направлении хлебопекарной печи салазки, снабженные расположенными один возле другого в поперечном направлении хлебопекарной печи поддонами-ловушками для тестовых заготовок, при этом каждый поддон снабжен нижним отпускным отверстием для тестовых заготовок, обращенным в сторону выпечных поверхностей нижних подовых плит.
Это исполнение облегчает одновременное высаживание большого количества тестовых заготовок на одну или несколько нижних подовых плит хлебопекарной печи. При поступлении тестовых заготовок через загрузочное устройство салазки посадочного устройства воспринимают вес всех падающих на поддоны-ловушки тестовых заготовок и поглощают всю энергию ударения сталкивания тестовых заготовок. Затем салазки выдерживают вес всех тестовых заготовок в то время, как они под действием силы тяжести перемещаются в соответствующем поддоне к его нижнему отпускному отверстию.
Согласно другому признаку изобретения на салазках могут быть предусмотрены по меньшей мере два расположенных в продольном направлении хлебопекарной печи один за другим ряда поддонов-ловушек для тестовых заготовок, расположенных один возле другого в поперечном направлении хлебопекарной печи.
Это исполнение позволяет производить посадку тестовых заготовок несколькими параллельными рядами и одновременно продлевает промежуток времени для прохождения каждой отдельной тестовой заготовки через загрузочное устройство.
Согласно другому признаку изобретения расположенные один возле другого в поперечном направлении хлебопекарной печи поддоны-ловушки могут быть закреплены на бесконечном цепном транспортере, циркулирующем на салазках в поперечном направлении хлебопекарной печи, а на трассе цепного транспортера может быть предусмотрена расположенная сбоку возле трассы нижних подовых плит секция очистки для поддонов-ловушек для тестовых заготовок.
Это исполнение имеет преимущество в случае с липкими тестовыми заготовками, так как остающиеся прилипшими при скольжении по поддонам-ловушкам на их поверхности частички тестовых заготовок могут быть удалены на секции очистки с поддонов-ловушек, прежде чем на поверхности поддона-ловушки образуется скопление частичек теста, чрезмерно затрудняющее движение тестовых заготовок по поверхности этого поддона-ловушки.
Секция очистки может быть расположена стационарно сбоку возле трассы нижних подовых плит и может содержать установленное на корпусе хлебопекарной печи устройство для очистки поддонов-ловушек для тестовых заготовок. Альтернативно может быть предусмотрена движущаяся вместе с салазками секция очистки, содержащая расположенное на салазках устройство для очистки поддонов-ловушек для тестовых заготовок.
Согласно другому признаку изобретения трасса цепного транспортера может иметь по меньшей мере две проходящие в поперечном направлении хлебопекарной печи ветви цепи, на которых закрепленные на цепном транспортере поддоны-ловушки для тестовых заготовок образуют соответственно один ряд, проходящий в поперечном направлении хлебопекарной печи.
Это изготовление позволяет производить посадку тестовых заготовок несколькими параллельными рядами и одновременно продлевает промежуток времени для прохождения тестовых заготовок по загрузочному устройству.
Согласно другому признаку изобретения каждый поддон-ловушка для тестовых заготовок может иметь воронкообразную верхнюю часть и ограждающую их отпускное отверстие стаканообразную нижнюю часть.
Это исполнение имеет преимущество в случае с тестовыми заготовками, которые состоят из вязкого дрожжевого теста, поднялись и поэтому имеют мягкую, легко мнущуюся консистенцию. Эти тестовые заготовки изменяют свою форму даже под действием силы тяжести как при отделении от расположенного перед загрузочным устройством транспортного устройства, так и при попадании на поддоны-ловушки посадочного устройства.
Ниже изобретение поясняется более детально на основании чертежей.
На чертежах показаны:
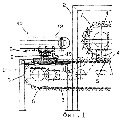
фиг.1 – в схематическом виде сбоку секция загрузки хлебопекарной печи с загрузочным устройством согласно изобретению в начале загрузочного цикла;
фиг.2 – секция загрузки хлебопекарной печи по фиг.1 с загрузочным устройством в конце загрузочного цикла;
фиг.3 – схематический вид сбоку загрузочного устройства согласно изобретению, расположенного между секцией выгрузки расстойного шкафа и секцией загрузки хлебопекарной печи;
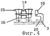
фиг.4 – деталь механического соединения посадочного устройства тестовых заготовок с круговым цепным транспортером подовых плит хлебопекарной печи;
фиг.5 – в схематическом виде спереди секция загрузки хлебопекарной печи с расположенным над ее нижними подовыми плитами загрузочным устройством согласно изобретению;
фиг.6 – схематически вид сверху секции загрузки хлебопекарной печи по фиг.5;
фиг.7 – в схематическом виде сверху секция загрузки хлебопекарной печи с загрузочным устройством согласно изобретению с посадочным устройством тестовых заготовок в его заднем конечном положении;
фиг.8 – секция загрузки по фиг.7 с посадочным устройством тестовых заготовок в его переднем конечном положении;
фиг.9 – в схематическом виде спереди секция загрузки хлебопекарной печи с расположенным над ее нижними подовыми плитами загрузочным устройством согласно изобретению, расположенным под секцией выгрузки расстойного шкафа; и
фиг.10 – в схематическом виде спереди секция загрузки хлебопекарной печи с расположенным над ее нижними подовыми плитами загрузочным устройством согласно изобретению, расположенным под разгрузителем бесконечной транспортной ленты, транспортирующей расположенные одна за другой поперечными рядами тестовые заготовки к хлебопекарной печи.
Описание примеров исполнения
На фиг.1-6 представлена секция загрузки 1 вытянутой хлебопекарной печи 2 для изготовления выпечных формованных изделий. В этой хлебопекарной печи 2 ее нижние подовые плиты 3 и ее верхние подовые плиты 4 перемещаются по встречным направлениям по отдельным трассам и проходят ее вытянутую технологическую линию выпечки 5 в одном направлении с обращенными друг к другу выпечными поверхностями. Вдоль технологической линии выпечки 5 две лежащие одна поверх другой подовые плиты 3, 4 образуют форму для выпечки. В каждой форме для выпечки нижняя подовая плита 3 определяет своей выпечной поверхностью нижнюю сторону выпекаемого в форме для выпечки формованного изделия, а верхняя подовая плита 4 определяет своей выпечной поверхностью верхнюю сторону выпекаемого в форме для выпечки формованного изделия.
Нижние подовые плиты 3 и верхние подовые плиты 4 перемещаются по соответствующим трассам при помощи отдельных бесконечных конвейеров 6, 7. Трасса нижних подовых плит 3 расположена ниже плоскости технологической линии выпечки и начинается перед секцией загрузки 1. Трасса верхних подовых плит 4 расположена выше плоскости технологической линии выпечки и начинается уже после секции загрузки 1.
В начале технологической линии выпечки 5 верхние подовые плиты 4 помещаются верхним конвейером 7 на нижние подовые плиты 3. При этом посаженные в секции загрузки на нижние подовые плиты 3 тестовые заготовки сдавливаются и закрываются в образовавшейся форме для выпечки между лежащими одна поверх другой подовыми плитами 3, 4. Нижний конвейер 6 транспортирует формы для выпечки по технологической линии выпечки 5.
В секции загрузки 1 над верхним горизонтальным участком трассы нижних подовых плит 3 расположено загрузочное устройство 8 для тестовых заготовок. Это загрузочное устройство 8 содержит посадочное устройство 9 тестовых заготовок. Это посадочное устройство 9 движется какое-то время вместе с нижними подовыми плитами 3 и высаживает тестовые заготовки соответственно в заранее определенных местах на выпечные поверхности нижних подовых плит 3.
Над загрузочным устройством 8 расположена секция выгрузки 10 расстойного шкафа 11. Расстойный шкаф 11 имеет два проходящих параллельно друг другу бесконечных цепных транспортера 12, на которых подвешены опрокидывающиеся доски 13. На опрокидывающихся досках 13 лежит в один ряд одна возле другой определенное количество тестовых заготовок. Эти тестовые заготовки выполнены из вязкого, пластичного, замешенного с рыхлителем теста. Тестовые заготовки вылеживаются то время, пока тесто выдерживается и тестовые заготовки подходят на опрокидывающихся досках 13 расстойного шкафа 11. Движущиеся опрокидывающиеся доски 13 приходят по истечении времени расстойки в секцию выгрузки 10 расстойного шкафа 11. Там расположенные друг за другом две опрокидывающиеся доски 13 одновременно опрокидываются и лежащие на них в один ряд одна возле другой тестовые заготовки 13а падают вниз из расстойного шкафа и сверху в загрузочное устройство 8, в котором они попадают на посадочное устройство 9.
Посадочное устройство 9 содержит расположенные над нижними подовыми плитами 3 хлебопекарной печи, перемещающиеся взад-вперед в продольном направлении хлебопекарной печи салазки 14, в которых установлены один возле другого в поперечном направлении хлебопекарной печи поддоны-ловушки 15 для тестовых заготовок 13а. Каждый поддон 15 снабжен нижним выпускным отверстием 16, обращенным в сторону выпечных поверхностей нижних подовых плит 3.
Салазки 14 установлены на проходящих в продольном направлении хлебопекарной печи 2 направляющих 17 и перемещаются по ним в продольном направлении хлебопекарной печи 2. Эти направляющие 17 расположены на корпусе 18 печи сбоку возле трассы нижних подовых плит 3.
На салазках 14 предусмотрен откидной захват 19, который может входить в зацепление с расположенными сбоку на нижних подовых плитах 3 фиксирующими элементами 20, чтобы перемещать салазки 14 какое-то время вместе с нижними подовыми плитами 3. В заднем конечном положении салазок 14 откидной захват 19 опускается и входит в зацепление с фиксирующими элементами 20, чтобы салазки 14 могли перемещаться с нижними подовыми плитами 3 в направлении движения последних. В переднем конечном положении салазок 14 откидной захват 19 откидывается вверх и снимается с фиксирующих элементов 20 нижних подовых плит 3. Вслед за этим салазки 14 перемещаются не представленным пневматическим цилиндром назад в свое заднее крайнее положение по направляющим 17 в корпусе печи 18.
На салазках 14 смонтирован проходящий в поперечном направлении хлебопекарной печи 2 цепной транспортер 21, приводимый в движение двигателем, расположенным сбоку возле трассы подовых плит. Поддоны-ловушки 15 закреплены на этом цепном транспортере 21. На трассе цепного транспортера 21 сбоку рядом с трассой нижних подовых плит 3 установлена секция очистки 22 поддонов 15. На секции очистки 22 предусмотрено устройство для очистки 23, освобождающее поддоны-ловушки 15 и их нижние отпускные отверстия 16 от приливших остатков теста при помощи вертикально перемещающейся взад-вперед чистящей щетки 24.
Поддоны-ловушки 15 имеют воронкообразную верхнюю часть 25 с верхним отверстием большим, чем улавливаемые тестовые заготовки 13а. Кроме того, поддоны 15 имеют ограждающую их нижнее отпускающее отверстие 16 стаканообразную нижнюю часть 26.
Высаживаемые на выпечные поверхности нижних подовых плит 3 тестовые заготовки 27 могут подаваться на загрузочное устройство 8 согласно изобретению также при помощи заканчивающейся над ним транспортерной ленты 28 (фиг.10).
Загрузочное устройство согласно изобретению может применяться в хлебопекарных печах обоих рассмотренных вначале типов и позволяет расширить ассортимент производимой на них продукции.
Формула изобретения
1. Загрузочное устройство для внесения теста в формы для выпечки хлебопекарной печи для изготовления в такой печи печеных формованных изделий, причем формы для выпечки, циркулирующие в хлебопекарной печи по ее технологическим линиям, образованы верхними и нижними подовыми плитами, которые своими обращенными вдоль технологических линий друг к другу выпечными поверхностями определяют верхнюю и нижнюю стороны изготовляемых в форме для выпечки формованных изделий, причем нижние подовые плиты на горизонтальном участке своей трассы проходят секцию загрузки, которая расположена перед технологической линией выпечки хлебопекарной печи и в конце которой верхние подовые плиты опускаются на нижние подовые плиты для закрытия форм для выпечки, отличающееся тем, что загрузочное устройство (8) содержит расположенное в секции (1) загрузки хлебопекарной печи (2) посадочное устройство (9) для высаживания в ходе каждого из следующих друг за другом процессов посадки на нижние подовые плиты (3) хлебопекарной печи (2) по две или более тестовых заготовки (13а, 27), причем посадочное устройство (9) расположено над трассой нижних подовых плит (3) с возможностью возвратно-поступательного перемещения в продольном направлении, установлено с возможностью совместного перемещения с циркулирующими нижними подовыми плитами (3) и находится над движущимися нижними подовыми плитами (3) до тех пор, пока все те тестовые заготовки, которые подлежат высаживанию за один ход в данном процессе посадки, не попадут на выпечные поверхности нижних подовых плит (3) хлебопекарной печи (2) в задаваемом посадочным устройством (9) распределенном положении.
2. Устройство по п.1, отличающееся тем, что посадочное устройство (9) содержит перемещающиеся возвратно-поступательно в продольном направлении салазки (14) с установленными на них один возле другого в поперечном направлении поддонами-ловушками (15) для тестовых заготовок (13а, 27), снабженными нижними выпускными отверстиями (16) для тестовых заготовок, обращенными к выпечным поверхностям нижних подовых плит.
3. Устройство по п.2, отличающееся тем, что каждый поддон-ловушка (15) имеет воронкообразную верхнюю часть (25) и ограждающую выпускное отверстие (16) стаканообразную нижнюю часть (26).
4. Устройство по п.2, отличающееся тем, что на салазках (14) расположены один за другим в продольном направлении по меньшей мере два поперечных ряда поддонов-ловушек (15).
5. Устройство по п.2, отличающееся тем, что на салазках (14) установлено транспортирующее устройство для поддонов-ловушек (15), содержащее циркулирующий на салазках (14) в поперечном направлении бесконечный цепной транспортер (21), на котором закреплены поддоны-ловушки (15).
6. Устройство по п.5, отличающееся тем, что цепной транспортер (21) несет по меньшей мере два расположенных в продольном направлении один за другим поперечных ряда поддонов-ловушек (15), закрепленных соответственно на проходящем в поперечном направлении участке цепного транспортера (21).
7. Устройство по п.5, отличающееся тем, что салазки (14) имеют выступающий в поперечном направлении в сторону за трассу нижних подовых плит (3) краевой участок, на котором установлена секция очистки (22) поддонов-ловушек (15), снабженная расположенным на трассе цепного транспортера (21) очистным устройством (23) для поддонов-ловушек (15).
8. Устройство по п.5, отличающееся тем, что трасса несущего поддоны-ловушки (15) цепного транспортера (21) содержит выступающий в поперечном направлении в сторону за трассу нижних подовых плит (3) участок пути и сбоку рядом с трассой нижних подовых плит (3), предусмотрена стационарная секция очистки, содержащая расположенное на корпусе хлебопекарной печи очистное устройство для поддонов-ловушек (15).
РИСУНКИ
|