|
(21), (22) Заявка: 2005132507/12, 21.10.2005
(24) Дата начала отсчета срока действия патента:
21.10.2005
(46) Опубликовано: 20.04.2007
(56) Список документов, цитированных в отчете о поиске:
SU 286727 А, 02.11.1972. SU 325956 А, 19.01. 1972. SU 1033102 А, 07.08.1983. RU 2201294 С1, 27.03.2003. RU 2197085 С1, 27.01.2003. FR 2526330 А, 10.11.1983.
Адрес для переписки:
140153, Московская обл., Раменский р-н, п/о Верея, Патентная служба, ГНУ ВНИИО
|
(72) Автор(ы):
Габдуллин Адаман Габдинагимович (RU)
(73) Патентообладатель(и):
Государственное научное учреждение Всероссийский научно-исследовательский институт овощеводства (ГНУ ВНИИО) (RU)
|
(54) СПОСОБ ХИМИЧЕСКОЙ ОБРАБОТКИ РАСТЕНИЙ И УСТРОЙСТВО ДЛЯ ЕГО ОСУЩЕСТВЛЕНИЯ
(57) Реферат:
Изобретение относится к технологии химической обработки растений, в частности может быть использовано при выращивании овощных культур. Способ включает одновременную обработку препаратами в изолированных друг от друга укрытиях над рядками растений и в междурядьях. Для охвата всей поверхности стеблей и листьев с обеих сторон при распылении препаратов под укрытиями над рядками создают турбулентно-вихревое движение. Устройство содержит агрегат с закрепленными на нем резервуарами для препаратов, компрессоров, трубопроводов для подвода жидкостных препаратов во внутреннее пространство тоннельных укрытий над рядками растений и укрытия над междурядьями. Тоннельные укрытия выполнены в едином блоке цельнометаллического каркаса, установлены с возможностью изменения расстояния между собой и соединены с торцевых сторон передвижными перегородками и сверху съемной крышкой с образованием изолированных от рядков растений укрытий над междурядьями. Форсунки для опрыскивания рядков растений препаратами расположены сверху по центру во внутреннем пространстве тоннельных укрытий и снабжены снизу свободно установленными на осях вращения ротационными распылителями лопастного типа, приводимыми во вращение под действием направленных на них жидкостных потоков препаратов. Изобретение позволяет сократить расход препаратов и уменьшить загрязнение ими окружающей среды. 2 н. и 2 з.п. ф-лы, 5 ил.
Патентуемое изобретение относится к технологии химической обработки растений, в частности может быть использовано при выращивании овощных культур.
Известен способ химической обработки растений (см. а.с. 325956, А01М 7/00, 30.06.1969 г.). В известном способе распыление жидкостного препарата осуществляют над междурядьями растений, а затем воздушным потоком этот препарат одновременно продувают через рядки растений. Известный способ можно использовать одновременно в междурядьях и рядках только при избирательном действии препаратов к растениям. Кроме того, при обработке растений в открытом пространстве происходит загрязнение окружающей среды и неэффективность использования препаратов.
Известен опрыскиватель для садов и виноградников (см. а.с. 134974, в А01М 7/00, 11.07.1987 г.). Известный опрыскиватель включает резервуар для ядохимикатов, насос, горизонтальный подводящий трубопровод и вертикальные распылительные штанги для опрыскивания насаждений. Для обработки сорняков гербицидами в междурядьях одновременно с опрыскиванием препаратами насаждений опрыскиватель снабжен ротационными распылителями с приводами в виде турбинок, размещенных в горизонтальном подводящем трубопроводе, и дополнительной емкостью с химикатами, имеющей отводящие трубки с капельницами, установленными над ротационными распылителями. Известное устройство может быть использовано одновременно при обработке насаждений в рядках и сорных растениях в междурядьях только препаратами избирательного действия. В противном случае будут повреждения в рядках насаждений, поскольку последние не изолированы от междурядий, а применение химических препаратов в открытом пространстве приведет к загрязнению окружающей среды и неэффективному их использованию.
Известен распылитель жидкости для дефолиации хлопчатника (см. а.с. 1033102, А01М 7/00, 24.03.1972 г.). Известный распылитель включает насадки с устройством для электростатической зарядки дефолианта и отражающий экран арочного типа, связанный с источником положительного электростатического заряда, а распылитель снабжен скользящим отрицательным электродом, установленным под отражающим экраном и взаимодействующим с нижней частью обрабатываемых растений. В данном устройстве распыляемый под давлением дефолиант заряжается положительным зарядом и за счет напряженности электростатического поля между зеленой массой достигается осаждение дефолианта на листовую поверхность растений.
Известная технология использования препаратов с электрическими зарядами и устройство для ее осуществления применимы только для одресневших стеблей растений и не могут быть использованы при борьбе с сорной растительностью в рядках и междурядьях на ранних стадиях роста и развития, в частности на стадиях прорастания и всходов сорных растений.
Известен способ химической обработки растений, используемый в устройстве для его осуществления (см. а.с. 286727, 02.11.1972 г. Бюл. №6), взятый нами в качестве прототипа. Известный способ включает распыление препаратов под укрытиями над рядками растений, а для равномерного покрытия листьев, стеблей препараты под давлением из форсунок с противоположных стенок укрытия направляют навстречу друг к другу. В результате сталкивания жидкостные потоки препаратов в средней части укрытия теряют кинетическую энергию и ожидается образование тумана над растениями. Устройство для осуществления известного способа содержит агрегат с установленными на нем резервуаром, компрессором, трубопроводами и форсунками для подвода жидкостных препаратов во внутреннее пространство тоннельных укрытий над рядками растений. Известный способ и устройство не обеспечивают одновременно химическую обработку растений в рядках и междурядьях.
Кроме того, в известном способе поставленная цель – равномерное распределение препарата на листьях и стеблях растений путем образования тумана – недостижима, поскольку при гашении кинетической энергии при встрече жидкостных потоков в средней части укрытия будет образовываться не туман, а конденсация препаратов.
Технической задачей при создании патентуемого изобретения являлось обеспечение одновременно с химической обработкой растений в рядках и междурядьях охвата всей поверхности листьев и стеблей растений при опрыскивании препаратами, а также уменьшение расхода препаратов и загрязнения ими окружающей среды.
Техническим результатом при осуществлении изобретения относительно способа и устройства явилось создание в едином блоке изолированных друг от друга укрытий над рядками и междурядьями растений, а для охвата всей поверхности стеблей и листьев с обеих сторон при распылении препаратов под укрытиями над рядками растений образуют турбулентно-вихревое движение.
Относительно способа химической обработки растений это достигается тем, что в отличие от прототипа, одновременно с обработкой растений препаратами в рядках производят опрыскивание в изолированных от рядков укрытиях над междурядьями гербицидным раствором, а для охвата всей поверхности стеблей и листьев с обеих сторон при распылении препаратов под укрытиями над рядками растений создают турбулентно-вихревое движение.
Создание изолированных друг о друга укрытий над рядками и междурядьями растений позволяет одновременно производить химическую обработку разнородными и однородными препаратами как в рядках растений, так и в междурядьях.
Образование в закрытом пространстве укрытия над рядками растений турбулентно-вихревого движения препаратов обеспечивает покрытие ими всей поверхности стеблей и листьев и снижение расходов препаратов и загрязнение ими окружающей среды.
Относительно устройства для осуществления способа в отличие от прототипа это достигается тем, что тоннельные укрытия над рядками растений выполнены в едином блоке цельнометаллического каркаса, установлены с возможностью изменения расстояний между собой и соединены с торцевых сторон передвижными перегородками и сверху съемной крышкой с образованием изолированных от рядков растений укрытий над междурядьями, а форсунки для опрыскивания рядков растений препаратами расположены сверху по центру тоннельных укрытий и снабжены снизу свободно установленными на осях ротационными распылителями лопастного типа, приводимыми во вращение под действием направленных на них жидкостных потоков препаратов;
Тоннельные укрытия с торцевых сторон снабжены откидными створками; устройство снабжено дополнительно резервуаром, компрессором и распределительным трубопроводом с форсунками для опрыскивания гербицидами сорных растений под укрытиями в междурядьях. Выполнение тоннельных укрытий над рядками растений в едином блоке цельнометаллического каркаса с изменением расстояний между собой на разную ширину междурядий позволяет создать изолированные от рядков растений укрытия над междурядьями при различных схемах посева растений. Расположение форсунок для опрыскивания препаратами сверху по центру тоннельных укрытий и снабжение их снизу свободно установленными на осях ротационными распылителями лопастного типа обеспечивает в закрытом пространстве тоннельных укрытий создание турбулентно-вихревого движения препаратов и обволакивание ими при опрыскивании всей поверхности стеблей и листьев, что уменьшает расходы препаратов и загрязнение ими окружающей среды. Снабжение тоннельных укрытий с торцевых сторон откидными створками позволяет до всходов культурных растений производить одновременно обработку гербицидами против сорных растений под укрытиями в рядках и междурядьях. Снабжение устройства дополнительно резервуаром, компрессором и распределительным трубопроводом с форсунками обеспечивает одновременно с обработкой растений против болезней и вредителей в рядках производить опрыскивание гербицидами сорных растений в междурядьях.
Патентуемое изобретение соответствует требованию единства, поскольку способ и устройство направлены на решение одной и той же задачи – обеспечение одновременно химической обработкой растений в рядках и междурядьях, уменьшение расхода препаратов и загрязнения ими окружающей среды – и могут использоваться только совместно.
Проведенный заявителем анализ уровня техники, включающий поиск по патентным и научно-техническим источникам информации и выявление источников, содержащих сведения об аналогах способа и устройства для его осуществления, позволил установить, что заявитель не обнаружил аналоги как для способа, так и для устройства, характеризующими признаками, всем существенным признакам заявленного способа и устройства. Таким образом, патентуемое изобретение соответствует критерию «новизна». Для проверки соответствия каждого объекта патентуемого изобретения критерию «изобретательский уровень» заявитель провел дополнительный поиск известных технических решений по патентным и научно-техническим источникам информации. Результаты поиска показали, что способ и устройство для его осуществления патентуемого изобретения по совокупности отличительных признаков не подпадают под известные технические решения и не вытекают для специалиста явным образом из известного уровня техники.
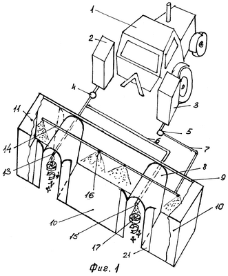
На фиг.1 изображено устройство для осуществления способа, общий вид в изометрии; на фиг.2 – форсунка с ротационным распылителем лопастного типа в тоннельном укрытии над рядками растений, поперечный разрез; на фиг.3 – фрагмент перестановки тоннельных укрытий при изменении ширины междурядий, вид в изометрии; на фиг.4 – фрагмент тоннельного укрытия, вид спереди в положениях: а) откидные створки открыты; б) откидные створки закрыты.
Способ химической обработки растений включает одновременное распыление (фиг.1) препаратов в изолированных друг от друга укрытиях над рядками и в междурядьях растений. Для охвата всей поверхности стеблей и листьев с обеих сторон при распылении препаратов под укрытиями над рядками растений (фиг.2) создают турбулентно-вихревое движение. Способ химической обработки растений патентуемого изобретения осуществляется устройством, содержащим (фиг.1) агрегат 1 с навешанным на нем резервуаром 2 и 3 для препаратов, компрессоров 4 и 5 с трубопроводами 6 и 7 для подвода жидкостных препаратов в тоннельные укрытия 8. Тоннельные укрытия выполнены из легкого сплава в едином блоке цельнометаллического каркаса. Каркас содержит раму 9, на которой установлены тоннельные укрытия с возможностью изменения расстояний между собой. Тоннельные укрытия с торцевых сторон соединены между собой передвижными перегородками 10 и сверху съемной крышкой 11 с образованием изолированных от рядков растений укрытий над междурядьями. Передвижные перегородки (фиг.3) имеют пазы 12 для регулирования расстояний между тоннельными укрытиями и соответственно ширины междурядий, и для закрепления в нужном положении фиксируются болтами. Внутренние пространства тоннельных укрытий над рядками растений и укрытий над междурядьями снабжены распределительными трубопроводами 13 и 14 с форсунками 15 и 16 и соединены соответственно с подводящими трубопроводами жидкостных препаратов от резервуаров. Форсунки тоннельных укрытий над рядками растений (фиг.2) снабжены снизу ротационными распылителями лопастного типа 17. Ротационные распылители подвешены к тоннельным укрытиям под форсунками на пути перехвата от них жидкостных потоков препаратов и выполнены из крыльчаток 18, свободно установленных на осях вращения 19 в обечайках 20.
Тоннельные укрытия (фиг.4) с торцевых сторон снабжены откидными створками 21. Способ химической обработки растений по патентуемому изобретению осуществляется устройством и происходит в следующей последовательности. Тоннельные укрытия 8 (фиг.3) устанавливаются с расстояниями между собой в соответствии со схемой посева путем перемещения их на раме 9 каркаса и фиксации в пазах 12 передвижных перегородок 10 болтами.
При движении агрегата 1 тоннельные укрытия 8 надвигаются на рядки растений, а междурядья попадают под укрытия, образуемые с боковых сторон передвижными перегородками 10 и сверху съемной крышкой 11 каркаса. Препараты из резервуаров 2 и 3 по трубопроводам 6 и 7 нагнетаются компрессорами 4 и 5 и поступают под давлением во внутреннее пространство укрытий над рядками растений и междурядий. Внутри укрытий жидкостные потоки препаратов через распределительные трубопроводы 13 и 14 и форсунки 15 и 16 распыляются над рядками растений и междурядий. Для усиления распыла препаратов над рядками растений (фиг.2) жидкостные потоки препаратов, проходя через ротационные распылители 17 лопастного типа, закручиваются внутрь его крыльчатками 18 и обечайками 20, образуя на выходе над растениями туман с турбулентно-вихревым движением. В результате этого движения препараты обволакивают части растений (стебли, листья) со всех сторон и полностью используются при обработке, исключая загрязнение окружающей среды. При химической обработке однородными препаратами, например гербицидами, одновременно в рядках до всходов культурных растений и в междурядьях (фиг.4, б) откидные створки 21 с торцевых сторон тоннельного укрытия 8 закрываются, исключая тем самым загрязнение окружающей среды и влияние на здоровье обслуживающего персонала.
Таким образом, предлагаемая технология химической обработки растений патентуемого изобретения в изолированных друг от друга укрытиях над рядками растений и междурядьями позволяет одновременно производить как разнородными препаратами (например, стимуляторами в рядках растений и гербицидами в междурядьях), так и однородными препаратами (например, гербицидами) в рядках до всходов культурных растений и в междурядьях. При этом такая технология значительно сокращает расходы препаратов при обработке растений и уменьшает влияние на здоровье обслуживающего персонала и на загрязнение окружающей среды.
Формула изобретения
1. Способ химической обработки растений, включающий распыление препаратов под укрытиями над рядками растений, отличающийся тем, что одновременно с обработкой растений препаратами в рядках производят опрыскивание в изолированных от рядков укрытиях над междурядьями гербицидным раствором, а для охвата всей поверхности стеблей и листьев с обеих сторон при распылении препарата под укрытиями над рядками растений создают турбулентно-вихревое движение.
2. Устройство для химической обработки растений, содержащее агрегат с установленными на нем резервуаром, компрессором, трубопроводами и форсунками для подвода жидкостных препаратов во внутреннее пространство тоннельных укрытий над рядками растений, отличающееся тем, что тоннельные укрытия над рядками растений выполнены в едином блоке цельнометаллического каркаса, установлены с возможностью изменения расстояний между собой и соединены с торцевых сторон передвижными перегородками и сверху съемной крышкой с образованием изолированных от рядков растений укрытий над междурядьями, а форсунки для опрыскивания рядков растений препаратами расположены сверху по центру тоннельных укрытий и снабжены снизу свободно установленными на осях вращения ротационными распылителями лопастного типа, приводимыми во вращение под действием направленных на них жидкостных потоков препаратов.
3. Устройство по п.2, отличающееся тем, что тоннельные укрытия с торцевых сторон снабжены откидными створками.
4. Устройство по п.2, отличающееся тем, что оно дополнительно снабжено резервуаром, компрессором и распределительным трубопроводом с форсунками для опрыскивания гербицидами сорных растений под укрытиями в междурядьях.
РИСУНКИ
MM4A – Досрочное прекращение действия патента СССР или патента Российской Федерации на изобретение из-за неуплаты в установленный срок пошлины за поддержание патента в силе
Дата прекращения действия патента: 22.10.2007
Извещение опубликовано: 27.06.2009 БИ: 18/2009
|