|
|
(21), (22) Заявка: 2004131962/12, 03.11.2004
(24) Дата начала отсчета срока действия патента:
03.11.2004
(43) Дата публикации заявки: 10.04.2006
(46) Опубликовано: 20.04.2007
(56) Список документов, цитированных в отчете о поиске:
SU 1813386 A1, 07.05.1993. RU 7580 U1, 16.09.1998. RU 2237994 С2, 20.10.2004. RU 2010510 C1, 15.04.1994. FR 2405011 A, 04.05.1979. US 4453281 А, 12.06.1984.
Адрес для переписки:
670050, г.Улан-Удэ, а/я 9059, П.В. Любименко
|
(72) Автор(ы):
Любименко Петр Васильевич (RU)
(73) Патентообладатель(и):
Любименко Петр Васильевич (RU)
|
(54) УНИВЕРСАЛЬНОЕ СОЕДИНЕНИЕ СОТОВЫХ РАМОК “УДА”
(57) Реферат:
Изобретение относится к сельскому хозяйству, в частности к пчеловодству, и касается соединения сотовых рамок, состоящего из шести деталей, удвоенного количества трех разных деталей, две из которых имеют взаимно ответные части, которыми состыковываются через вощину и устанавливаются в каждой рамке, третья деталь объединительная имеет ряд отверстий, с разным расположением относительно оси симметрии детали для обеспечения разных по толщине наборов пакетов соединяемых рамок, при этом первые две детали имеют цилиндрические хвостовики, выполненные с эксцентриситетом к оси симметрии этих деталей для состыковывания с отверстиями третьей детали. Техническим результатом изобретения является создание единого непрерывного сотового поля произвольной формы, составляемого из рамок абсолютно разных размеров и конфигураций, с разной толщиной стенок и использование пропила под вощину по всему внутреннему периметру рамок, а также свободное разъединение или трансформацию сотового поля по желанию пчеловода. 7 ил.
Предлагаемое устройство названо – универсальное соединение сотовых рамок «УДА». «УДА» имя собственное, каждая отличающаяся деталь из комплекта соединения обозначена своей буквой, будь-то «У», «Д» или «А». Изобретение относится к сельскому хозяйству, в частности к пчеловодству.
Известны ульи Лангстота-Рута и Дадана-Блатта, распространившиеся в мире с девятнадцатого века и имеющие сотовые рамки конструкции Рута в виде прямоугольника с плечиками, за счет которых сотовая рамка устанавливается в фальцы корпуса улья (смотри «Справочник пчеловодства» под редакцией любого автора и года издания).
Имеется «Улей для пчел Г.В.Глазова» (см. патент № 2010510, МПК А01К 47/00, 1994 г.), в котором имеется та же самая рамка конструкции Рута только с измененными размерами и названная в улье Г.В.Глазова – контейнером. В этот контейнер в одной плоскости, без всякого крепления устанавливаются четыре сотовые рамки (просто прямоугольники без плечиков) и за счет трения древесины удерживаются между собой. Конструкция и размеры рамки Рута или контейнера Г.В.Глазова не могут одновременно удовлетворить трем условиям:
первое – создание НЕПРЕРЫВНОГО СОТОВОГО ПОЛЯ ЛЮБОГО РАЗМЕРА И КОНФИГУРАЦИИ,
второе – СОЕДИНЕНИЕ, РАЗЪЕДИНЕНИЕ, ТРАНСФОРМАЦИЯ непрерывного сотового поля по усмотрению пчеловода под поставленную задачу, конструкцию улья или технологию пчеловождения;
третье – РЕАЛИЗАЦИЯ ПЧЕЛАМИ ПРИНЦИПА «РАЗВИТИЕ БЕЗ ОГРАНИЧЕНИЙ».
Вновь обратимся к улью Г.В.Глазова и уберем контейнер. Останутся четыре сотовые рамки без возможности установки их в улье. В этом случае потребуются соединение, которое скрепит сотовые рамки в один объединенный сот, и деталь, которая выполнит функцию плечиков для установки объединенного сота в улей.
Технической задачей изобретения является создание универсального соединения сотовых рамок «УДА». (Далее по тексту – соединение УДА.)
Техническим результатом изобретения является создание непрерывного сотового поля произвольной формы, составляемого из рамок абсолютно разных размеров и конфигураций, с разными толщинами стенок, и использование пропила под вощину по всему внутреннему периметру рамок, а также свободное разъединение или трансформация сотового поля по желанию пчеловода.
Технический результат достигается за счет видоизменения элементов рамки Рута по функциональной принадлежности, их перегруппировки и добавления новых элементов, а именно: первое – выделение собственно сотовых рамок, второе – изготовление отдельной детали – верхней перекладины, выполняющей функцию плечиков, и третье – применение объединительной конструкции – соединения УДА и его вариантов крепления. Фиг.1.
Соединение УДА применяется в комплекте, который состоит из удвоенного количества деталей У, Д и А, изготовленных из полимеров, нейтральных по своему химическому составу к воздействию на пчел. Фиг.4, 5, 6, 7.
Детали У и Д дополняют друг друга и имеют взаимно ответные части, которыми и состыковываются через вощину. Каждая пара деталей У и Д устанавливается в каждой рамке, поэтому при установке детали А на каждой стороне сота образуется замкнутый контур из деталей соединения, чем и удерживаются сотовые рамки между собой. Фиг.2, 4.
Деталь «А» имеет ряд отверстий, с разным расположением относительно осей симметрии, благодаря чему обеспечивается разный набор пакета толщин соединяемых рамок, рамки с верхней перекладиной, Фиг.2 – вид «А», или просто удержание вощины на боковых или нижней стороне рамки, Фиг.3 – вид «В». Набор разной толщины пакета поддерживают детали У и Д, у которых цилиндрический хвостовик, состыковываемый с деталью А, имеет эксцентриситет по отношению к оси симметрии детали, за счет чего, вращая детали У и Д вокруг продольной оси, получим новые варианты набора пакета соединяемых рамок.
Деталь А своей толщиной обеспечивает полуразмер зазора между сотами. Полный размер зазора между сотами получится при установке на соседних сотах соединения УДА друг напротив друга.
Пропил по внутреннему периметру рамки под предварительную фиксацию вощины необходим всегда, кроме случаев недостаточной прочности стенок рамки или при установке проволоки для удержания вощины, когда рамка большая, Фиг.4 поз.12. Для сборки сота с применением соединения УДА необходимо вначале установить в каждую рамку вощину, при этом размер вощины необходимо взять с учетом глубины пропила. Фиг.4. Далее собрать полукомплекты деталей УАУ и ДАД для установки полукомплекта с каждой стороны сота. Расстояние между деталями У-У и Д-Д в полукомплектах должно соответствовать сумме толщин стенок, скрепляемых рамок. Для удобства выложить на столе форму сота и скрепить рамки полукомплектами УАУ. Перевернуть сот и установить полукомплекты ДАД. Для этого, для более точного попадания деталь в деталь, необходимо продавить вощину пальцами в местах установки полукомплектов УАУ, которые заметны за счет прогиба вощины центральным стержнем детали У. Разборка соединения УДА в обратной последовательности. Разборка может производиться иначе, а именно – отсоединить только детали А, тогда детали У и Д, к моменту сбора меда, запаянные пчелами в рамку, могут стать частью рамки и поменять свою функцию – употребляться как транспортные узлы. Проведя поиск аналогичных решений, автор не выявил заявляемого решения ни в научно-технической литературе, ни в патентной литературе. Это позволяет сделать вывод о соответствии предлагаемого универсального соединения сотовых рамок «УДА» критериям изобретения «новизна» и «изобретательский уровень». Предлагаемое изобретение поясняется чертежами.
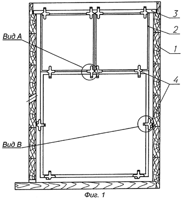
Фиг.1 – улей в разрезе, где: поз.1 – корпус улья; поз.2 – сотовая рамка; поз.3 – верхняя перекладина; поз.4 – соединение УДА в комплекте. Фиг.2 – вид «А» – крепление сотовых рамок между собой. Фиг.3 – вид «В» – крепление вощины на боковой стороне сотовой рамки. Фиг.4 – разрез «С-С», где: поз.5 – мед в сотах; поз.6 – вощина; поз.7 – деталь У; поз.8 – деталь Д; поз.9 – деталь А; поз. 10 – сотовая рамка толщиной «h»; поз.11 – сотовая рамка толщиной 2-3 «h»; поз.12 – пропил под вощину. Фиг.5 – деталь У. Фиг.6 – деталь Д. Фиг.7 – деталь Л.
С помощью соединения УДА, возможно:
1) формировать, конструировать непрерывное сотовое поле по усмотрению пчеловода, в зависимости от применяемой технологии пчеловождения, конструкции улья или места где живет пчелосемья;
2) разъединять сот на части и изымать сотовые рамки, наполненные медом, и на их место устанавливать пустые сотовые рамки (сушь) или рамки с вощиной;
3) применять улей любой конструкции, как многокорпусный, так и моноблочный вплоть до колоды;
4) обеспечивать сохранность пчелосемьи от сдавливания сота при транспортировке и в стационарном положении, а также не повреждать поверхность сотовых рамок;
5) дать возможность пчелосемье развиваться снизу-вверх, как в многокорпусном улье или как в природе сверху – вниз;
6) применять, смешивать отличные друг от друга технологии пчеловождения в различных конструкциях ульев;
7) располагать гнездо пчелосемьи с расплодом на одно сотовое поле без перемычек на стенки рамок, при этом расположенные на этом же соте сотовые рамки с медом можно отстегивать, не мешая пчелосемье развиваться;
8) фиксировать вощину в рамке без проволоки;
9) скреплять сотовые рамки на одном соте с разной толщиной стенок и даже с разной толщиной в одной рамке, а также рамки разной конфигурации и размеров;
10) удерживать только вощину на боковых стенках или нижней стенке рамки;
11) обеспечивать переток воздуха и проход пчел над сотами, при укрытии пчел в улье холстиком и утеплителем;
12) обеспечивать зазор, без опаски раздавить пчел, между сотом и поверхностью, на которую будет установлен сот, вынутый из улья.
Формула изобретения
Соединение сотовых рамок, состоящее из шести деталей, удвоенного количества трех разных деталей, две из которых имеют взаимно ответные части, которыми состыковываются через вощину и устанавливаются в каждой рамке, третья деталь объединительная имеет ряд отверстий, с разным расположением относительно оси симметрии детали для обеспечения разных по толщине наборов пакетов соединяемых рамок, при этом первые две детали имеют цилиндрические хвостовики, выполненные с эксцентриситетом к оси симметрии этих деталей для состыковывания с отверстиями третьей детали.
РИСУНКИ
|
|