|
|
(21), (22) Заявка: 2005130547/28, 04.10.2005
(24) Дата начала отсчета срока действия патента:
04.10.2005
(46) Опубликовано: 10.04.2007
(56) Список документов, цитированных в отчете о поиске:
RU 2242846 C1, 20.12.2004. RU 2251229 C2, 20.12.2004. RU 2242847 C2, 20.12.2004. SU 1798935 A1, 28.02.1993. US 4521905 A, 04.06.1985. GB 2175778 A, 03.12.1986. US 5661775 А, 26.08.1997. US 6227704 В1, 08.05.2001.
Адрес для переписки:
140003, Московская обл., г. Люберцы, в/ч 75360
|
(72) Автор(ы):
Маклашевский Виктор Яковлевич (RU), Кеткович Андрей Анатольевич (RU)
(73) Патентообладатель(и):
Войсковая часть 75360 (RU), Кеткович Андрей Анатольевич (RU), Маклашевский Виктор Яковлевич (RU)
|
(54) ЛАЗЕРНЫЙ ЦЕНТРАТОР ДЛЯ РЕНТГЕНОВСКОГО ИЗЛУЧАТЕЛЯ
(57) Реферат:
Использование: для ориентации рентгеновского излучателя по отношению к объекту. Сущность: заключается в том, что в лазерный центратор дополнительно введен второй отражатель, центр которого расположен на расстоянии В от оси рентгеновского пучка в направлении, совпадающем с направлением оси лазера, и на расстоянии R от оси лазера по направлению, перпендикулярному этой оси, плоскость второго отражателя перпендикулярна плоскости, образованной осями лазера и рентгеновского пучка, центр второго отражателя совпадает с точкой пересечения оси вращения указателя шкалы индикатора расстояний с плоскостью, образованной осями лазера и рентгеновского пучка, второй отражатель установлен вод углом   min+ к оси, проходящей через его центр параллельно оси лазера в плоскости, образованной осями рентгеновского пучка и лазера, где min=arctg(B/Dmax) – угол наклона к оси луча лазера, выходящего из второй микролинзы, направленный на точку пересечения оси рентгеновского пучка, совпадающей с осью пучка, выходящего из первого торца лазера с объектом, находящимся на максимальном расстоянии Dmax от рентгеновского излучателя, В – расстояние по нормали от оси рентгеновского пучка до центра второго отражателя, – угловой технологический параметр, равный  5÷10°. Технический результат: уменьшение размера лазерного пятна на объекте, упрощение конструкции за счет исключения телескопа из оптической схемы, а также увеличение диапазона углов поворота зеркала. 1 ил.
Известен лазерный центратор для рентгеновского излучателя, который включает в себя лазер с двухсторонним выходом излучения, отражатель, установленный на пересечении оптических осей лазерного и рентгеновского пучков, средство индикации расстояния. Особенностью устройства является наличие телескопа и световода с закрепленными на его обоих торцах микролинзами. Первая микролинза установлена на оси лазера перед его вторым выходным торцом, а вторая – закреплена на указателе шкалы индикатора, оптическая ось второй микролинзы направлена в окуляр телескопа [1].
Недостаток этого устройства – неизбежные потери света в световоде, увеличенный размер лазерного пятна на объекте, пропорциональный увеличению телескопа, усложнение конструкции за счет включения телескопа в оптическую схему, а также малый диапазон углов поворота зеркала.
Цель изобретения – устранение этих недостатков.
Для этого в лазерный центратор для рентгеновского излучателя, содержащий корпус с расположенным в нем лазером с двухсторонним выходом излучения, ось которого параллельна продольной оси рентгеновского излучателя, отражатель из оргстекла, установленный на пересечении осей лазерного и рентгеновского пучков, заслонку для прерывания излучения из второго торца лазера, средство индикации расстояния от объекта до рентгеновского излучателя в виде указателя со шкалой, закрепленной на корпусе центратора, световод с закрепленными на входном и выходном торцах микролинзами, фокальные плоскости которых совпадают с этими торцами, первая микролинза расположена на оси лазера перед его вторым выходным торцом и ее оптическая ось совпадает с этой осью, вторая микролинза закреплена на указателе шкалы индикатора расстояний, который установлен с возможностью вращения относительно оси, перпендикулярно плоскости, образованной осями лазерного и рентгеновского пучков, дополнительно введен второй отражатель, центр которого расположен на расстоянии В от оси рентгеновского пучка в направлении, совпадающем с направлением оси лазера, и на расстоянии R от оси лазера по направлению, перпендикулярному этой оси, плоскость второго отражателя перпендикулярна плоскости, образованной осями лазера и рентгеновского пучка, его центр совпадает с точкой пересечения от вращения указателя индикатора расстояний с этой плоскостью, второй отражатель установлен под углом   min+ к оси, проходящей через его центр параллельно оси лазера в плоскости, образованной осями рентгеновского пучка и лазера, где min=arctg(B/Dmax) – угол наклона к оси луча лазера, выходящего из второй микролинзы и направленного на точку пересечения оси рентгеновского пучка, совпадающей с осью пучка, выходящего из первого торца лазера с объектом, находящимся на максимальном расстоянии Dmax от рентгеновского излучателя, B – расстояние по нормали от оси рентгеновского пучка до центра второго отражателя, – угловой технологический параметр, равный  5+10°, уравнение шкалы индикатора расстояний имеет вид D=B·tg +R, где – угол наклона луча, выходящего из второго выходного торца лазера к его оси после отражения от второго отражателя при направлении на точку пересечения луча из первого выходного торца лазера с объектом, находящимся на расстоянии D от рентгеновского излучателя, угловой диапазон перемещений указателя индикатора расстояний относительно шкалы равен  = min– max, где max=arctg(В/Dmin), Dmin – минимальное расстояние от объекта до рентгеновского излучателя.
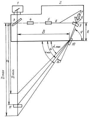
На чертеже представлена схема устройства.
Устройство содержит рентгеновский излучатель 1, к которому прикреплен корпус 2, в котором расположены лазер 4 с двухсторонним выходом излучения, ось которого параллельна продольной оси рентгеновского излучателя, первый отражатель 5 из оргстекла, расположенный на пересечении осей лазера и рентгеновского пучка, световод 6, на торцах которого установлены микролинзы 5 и 7, фокальные плоскости которых совпадают с торцами световода, ось первой микролинзы 5 совпадает с осью лазера 4, а ось второй микролинзы 7 перпендикулярна второму торцу световода 6. Вторая микролинза 7 на указателе 8 индикатора расстояний со шкалой 9, закрепленной на корпусе 2, может перемещаться по радиусу R относительно этой шкалы в плоскости, образованной осями лазера и рентгеновского пучка вокруг оси, перпендикулярной этой плоскости и пересекающей ее в точке, расположенной на расстоянии В от центра первого отражателя по направлению, параллельному от лазера, и на расстоянии R от центра первого отражателя по направлению, перпендикулярному оси лазера. В точке пересечения оси вращения указателя 8 с плоскостью, образованной осями лазера и рентгеновского пучка, установлен перпендикулярно этой плоскости второй отражатель 10. Его центр совпадает с центром вращения указателя 8, а отражающая поверхность наклонена к оси, параллельной оси лазера и проведенной через центр вращения указателя 8, под углом = min+ , где min=arctg(B/Dmax) – угол, под которым луч лазера, выходящий из второй микролинзы, совпадает с точкой пересечения объекта 11, находящегося на максимальном расстоянии Dmax от рентгеновского излучателя, с лучом лазера, выходящим из первой микролинзы и совпадающим с осью рентгеновского лучка,  5÷10° – угловой технологический параметр, обусловленный конструктивными соображениями. Заслонка для перекрытия луча из второго торца лазера на чертеже не показана в силу общеизвестности данного технического решения.
Устройство работает следующим образом.
Оператор перекрывает заслонкой луч лазера на его втором торце, наблюдает на объекте лазерное пятно в точке его пересечения с осью рентгеновского пучка и совмещает его с центром контролируемой зоны. Затем открывают заслонку и наблюдают на объекте второе лазерное пятно от лучей, выходящих из второй микролинзы и падающих на объект после отражения от второго отражателя 10. Перемещая указатель 8 с закрепленной на ней микролинзой 7 относительно шкалы 9, совмещают оба лазерных пятна на объекте и в момент их совпадения снимают со шкалы 9 отсчет, соответствующий текущему расстоянию D от объекта до рентгеновского излучателя. Уравнение шкалы имеет вид D=R+В·tg , где R – радиус вращения указателя B относительно оси, проходящей через центр второго отражателя, численно равный расстоянию от этого центра до оси лазера по нормали к ней.
Пределы углового перемещения указателя 8 в рабочем диапазоне измерения расстояний от объекта до рентгеновского излучателя находятся в диапазоне от min=arctg(B/Dmax) до max= arctg(B/Dmin),
где Dmin – минимальное расстояние объект-излучатель.
При контроле крупногабаритной авиакосмической техники типовые значения расстояний от объекта до рентгеновского излучателя составляют от 2 м до 4 м. Из конструктивных соображений при изготовлении пилотного образца центратора нами выбраны значения В=500 мм и R=500 мм. После очевидных преобразований формула шкалы имеет вид или .
Отсюда подучим , 
Диапазон угловых перемещений указателя индикатора расстояния равен при этом  = max– min=10°. Длина L шкалы 9 в этом случае равна длине дуги окружности радиуса R=500 мм, т.е. L=0,17 R=85 мм [2]. Деления шкалы выполнены равными 1 мм. Шкала имеет неравномерный характер, однако ее нелинейность может быть легко учтена либо при расчете шкалы по вышеприведенной формуле, либо градуировкой центратора непосредственно по натурным объектам, располагаемым на различных расстояниях от рентгеновского излучателя.
Для быстрого и удобного считывания результата измерений невооруженным глазом размер деления шкалы в линейной мере принят L 1 мм. При радиусе шкалы R=0,5 м. Это в радианной мере соответствует углу  =0,002. При этом погрешность определения расстояния от объекта до рентгеновского излучателя в самом неблагоприятном случае, т.е. при максимальном удалении объекта Dmax=4,0 м, равна D  ·Dmax·tg max, D=0,002·4000·7=60 мм, что вполне достаточно для практического применения.
При использовании же обычной шкалы точность измерений составит порядка 6,0 мм при той же величине деления шкалы ( L=1 мм).
Литература
1. Патент РФ №2242846. Лазерный центратор для рентгеновского излучателя.
2. Справочник по математике. Н.Н.Бронштейн и К.А.Семендяев. М.: Гостсортехиздат. 1987, 608 с.
Формула изобретения
Лазерный центратор для рентгеновского излучателя, содержащий корпус с расположенным в нем лазером с двухсторонним выходом излучения, ось которого параллельна продольной оси рентгеновского излучателя, отражатель из оргстекла, установленный на пересечении осей лазерного и рентгеновского пучков, заслонку для прерывания излучения из второго торца лазера, средство индикации расстояния от объекта до рентгеновского излучателя в виде указателя со шкалой, закрепленной на корпусе центратора, световод с закрепленными на входном и выходном торцах микролинзами, фокальные плоскости которых совпадают с этими торцами, первая микролинза расположена на оси лазера перед его вторым выходным торцом и ее оптическая ось совпадает с этой осью, вторая линза закреплена на указателе шкалы индикатора расстояний, который установлен с возможностью вращения относительно оси, перпендикулярной плоскости, образованной осями лазерного и рентгеновского пучков, дополнительно введен второй отражатель, центр которого расположен на расстоянии В от оси рентгеновского пучка в направлении, совпадающем с направлением оси лазера и на расстоянии R от оси лазера по направлению, перпендикулярному этой оси, плоскость второго отражателя перпендикулярна плоскости, образованной осями лазера и рентгеновского пучка, его центр совпадает с точкой пересечения оси вращения указателя-индикатора расстояний с этой плоскостью, второй отражатель установлен вод углом   min+ к оси, проходящей через его центр параллельно оси лазера в плоскости, образованной осями рентгеновского пучка и лазера, где min=arctg(B/Dmax) – угол наклона к оси луча лазера, выходящего из второй микролинзы, направленный на точку пересечения оси рентгеновского пучка, совпадающей с осью пучка, выходящего из первого торца лазера с объектом, находящимся на максимальном расстоянии Dmax от рентгеновского излучателя, В – расстояние по нормали от оси рентгеновского пучка до центра второго отражателя, А – угловой технологический параметр, равный  5÷10°, уравнение шкалы индикатора расстояний имеет вид D=B·tg +R, где – угол наклона луча выходящего из второго выходного торца лазера к его оси при направлении на точку пересечения лучами из выходного лазера с объектом, находящимся на расстоянии D от рентгеновского излучателя, угловой диапазон перемещений указателя индикатора расстояний относительно его шкалы равен  = min– max, где max=arctg(B/Dmin), Dmin – минимальное расстояние от объекта до рентгеновского излучателя.
РИСУНКИ
MM4A – Досрочное прекращение действия патента СССР или патента Российской Федерации на изобретение из-за неуплаты в установленный срок пошлины за поддержание патента в силе
Дата прекращения действия патента: 05.10.2007
Извещение опубликовано: 20.05.2009 БИ: 14/2009
|
|