|
|
(21), (22) Заявка: 2005100989/09, 18.01.2005
(24) Дата начала отсчета срока действия патента:
18.01.2005
(43) Дата публикации заявки: 20.06.2006
(46) Опубликовано: 10.04.2007
(56) Список документов, цитированных в отчете о поиске:
RU 2237377 С2, 27.09.2004. US 4957231 А, 18.09.1990. WO 9602978, 01.02.1996. JP 2000201210, 18.07.2000. ЕР 0871236, 14.10.1998. WO 9959314, 18.11.1999.
Адрес для переписки:
636026, г. Томск, ул. Героев-Чубаровцев, 22, кв.84, Н.П.Седаковой
|
(72) Автор(ы):
Вульф Андрей Александрович (RU)
(73) Патентообладатель(и):
Вульф Андрей Александрович (RU)
|
(54) УСТРОЙСТВО ДЛЯ БЫСТРОГО И УДОБНОГО ПОЛЬЗОВАНИЯ СОТОВЫМ ТЕЛЕФОНОМ
(57) Реферат:
Изобретение относится к средствам мобильной связи. Сущность изобретения заключается в том, что чехол-держатель малогабаритного сотового телефона закрепляется на запястье руки пользователя, обеспечивая удобное использование телефона. В чехле-держателе закреплен возвратный механизм, который автоматически возвращает телефон на прежнее место после окончания переговоров. 3 ил.
Изобретение относится к устройствам для быстрого и удобного пользования малогабаритным сотовым или мобильным телефоном.
В настоящее время существует множество различных футляров сотовых, мобильных телефонов, которые пользователь может носить, например, на поясе, на шее, через плечо или на запястье руки.
Известно устройство патент РФ №2237377, МПК Н 04 М 1/11, содержащее прямолинейную направляющую, прикрепленную любым способом в продольном направлении на конце руки пользователя на запястье, при этом на направляющей установлены по меньшей мере одни скользящие в продольном направлении салазки, на которых продольно размещен сотовый телефон, обращенный своей антенной в сторону кисти руки пользователя, средство, удерживающее салазки с сотовым телефоном в заднем положении на направляющей и обеспечивающее возможность выдвижения салазок, в результате чего их часть, на которой установлен сотовый телефон, может перемещаться в ладонь руки пользователя, чтобы можно было пользоваться сотовым телефоном. Помимо этих салазок, данное техническое решение имеет еще узел телескопических салазок, на которых сотовый телефон крепится с помощью небольших зажимов. При этом прямолинейная направляющая и телескопические салазки имеют скользящее соединение “ласточкин мост”. Сами салазки снабжены на задних концах продольными и гибкими выступами с нижними зубцами, которые защелкиваются в углублениях, расположенных в концах дна продольных пазов.
Сложность конструкции данного изобретения не обеспечивает надежность его работы и удобство в эксплуатации.
Предлагаемое техническое решение обеспечивает быстрое и удобное для пользователя приведение сотового телефона в рабочее состояние и такое же быстрое и удобное приведение его в нерабочее положение. Особенно это важно в зимнее время года при наличии большого количества одежды. В зависимости от модели телефона и желания пользователя, предлагаемые варианты инструкции чехла-держателя сотового телефона дают возможность использовать телефон как в футляре, так и без него. При этом часы и сотовый телефон можно носить на одной и той же руке.
Простой держатель или чехол-держатель малогабаритного сотового телефона крепится на запястье руки и позволяет быстро доставать сотовый телефон, путем вытаскивания его из рукава одежды в случае получения SMS сообщения или звукового сигнала.
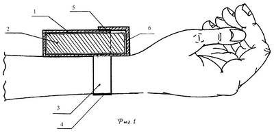
На фиг.1 изображен такой чехол-держатель 1 сотового телефона, в который вставляется сотовый телефон 2. Чехол-держатель 1 закрепляется на запястье руки ремешком 3, как это показано на фиг.1. Закрепление чехла-держателя на запястье руки осуществляется одним или двумя ремешками, также одним браслетом или двумя браслетами. При этом возможна и сложная конструкция браслет-ремешок. Чехол-держатель и ремешки (браслеты) – это цельная конструкция на запястье руки. На ремешках и браслетах могут использоваться все виды застежек 4, включая липучки. Браслет может быть выполнен и без застежки (растягивающийся браслет). Выемка сотового телефона из чехла и возврат его на прежнее место осуществляется свободной рукой, удобной для переговоров. Чехол-держатель должен закрываться крышечкой 6, тесьмой или резинкой на застежку 5, предохраняя сотовый телефон от случайного падения или его потери. Застежка выполняется в виде липучки или любого другого типа, обеспечивающего быстрое открывание и закрывание чехла-держателя. Чехол-держатель без возвратного механизма может располагаться как на внутренней, так и на внешней стороне запястья.
Данная конструкция работает следующим образом: пользователь, услышав звонок или почувствовав его, открывает застежку 5 чехла-держателя (футляра) 1, удобной для удерживания около уха рукой, вынимает телефон, ведет переговоры. По окончании разговора телефон возвращается на прежнее место в застегивающийся футляр.
При необходимости и для удобства использования сотового телефона конструкция описанного выше чехла-держателя дополняется возвратным механизмом, см. фиг.2. В чехол-держатель 1 вставляется сотовый телефон 2 или сотовый телефон с одетым на него футляром 7. Здесь в качестве футляра 7 наиболее целесообразно использовать тонкий прозрачный футляр (силикон). В данном случае чехол-держатель закрепляется на запястье аналогичным способом, что и чехол-держатель без возвратного механизма. Однако, учитывая то, что в рабочем состоянии телефона (во время разговора) возвратный механизм будет тянуть чехол-держатель к кисти руки, наиболее целесообразно использовать два ремешка (браслета) или один широкий ремешок. В данной конструкции чехол-держатель может располагаться лишь на внутренней стороне запястья руки, что обеспечивает выдвижение сотового телефона 2 непосредственно в ладонь пользователя. По окончании переговоров телефон убирается на прежнее место автоматически с помощью возвратного механизма 8. В качестве возвратного механизма может быть использована тянущая его назад резина, пружина или любое другое приспособление, позволяющее телефону возвращаться на прежнее место. Простейший возвратный механизм 8 крепится с одной стороны к чехлу держателю 1, а с другой стороны – непосредственно к корпусу телефонного аппарата 2 через предусмотренное заводом изготовителем стандартное крепление для ношения телефона либо при наличии чехла на телефоне непосредственно к чехлу, надетому на телефон. Одним из преимуществ данного изобретения является то, что крепление возвратного механизма к сотовому телефону не требует никаких доработок корпуса телефона. При этом необходимо учитывать, что разные модели телефонов имеют индивидуальные места крепления тесьмы для ношения телефона. Те модели телефонов, которые не имеют креплений, могут использоваться в чехле, к которому крепится возвратный механизм. При необходимости сотовый телефон отсоединяется от возвратного механизма (подзарядка, подключение к компьютеру, передача аппарата другому лицу). Возвратный механизм 8 всегда поддерживается в натянутом состоянии, не позволяя сотовому телефону самостоятельно выдвигаться из чехла-держателя. В зависимости от конструкции возвратного механизма чехол-держатель либо не предусматривает дополнительных частей, удерживающих от случайного падения сотовый телефон (фиг.2), или предусматривает такие части, например в виде крышечки 6 фиг.1, закрывающей чехол-держатель, или в виде тесьмы, или резины 9 см. фиг.3. Тесьма или резина 9 прикрепляется одним концом непосредственно к корпусу сотового телефона 2, например приклеиванием, а при наличии на нем футляра 7 прикрепляется любым способом непосредственно к футляру. Другой конец тесьмы закрепляется на чехле-держателе через застежку 5. В такой конструкции телефон выдвигается в ладонь пользователя вместе с тесьмой 9 и застежкой 5. В момент получения вызова пользователь может легко отстегнуть тесьму (резинку, пластмассу и др.) от чехла-держателя и выдвинуть за нее или за боковые поверхности телефон в ладонь для переговоров. При этом возвратный механизм растягивается и пытается вернуть телефон на прежнее место. По окончании переговоров, при разжимании ладони, возвратный механизм сжимается, возвращая телефон в чехол-держатель. Когда сотовый телефон вернется на прежнее место, тесьма (резина, пластмасса и др.) вновь легко застегиваются на чехле-держателе, удерживая телефон.
Крепление возвратного механизма к чехлу-держателю и к надетому непосредственно на телефон футляру 7 выполняется приклеиванием или пришиванием, или клепкой, или при помощи крючков и т.д. Механизм, возвращающий телефонный аппарат в чехол-держатель, может быть более или менее сложной конструкции. Например, на фиг.3 изображена конструкция возвратного механизма, который располагается в чехле-держателе, крепящемся на запястье руки описанным выше способом. В данном случае направляющая возвратного механизма 10 крепится одним концом к чехлу 2 через ушко 11 или непосредственно к корпусу сотового телефона 2. Крепление осуществляется любым возможным способом в любой части чехла или через стандартное крепление на корпусе телефона. Направляющая возвратного механизма 10 постоянно находится немного в натянутом состоянии, препятствуя выдвижению телефона из чехла-держателя. Возвратный механизм состоит из направляющей 10 с креплением катушки 12. Катушка может располагаться на одной или на нескольких осях, но их может быть и больше. Оси жестко закреплены к боковым поверхностям чехла-держателя. В качестве осей используется эластичный материал. Можно использовать любой гибкий материал (тесьма, резина) или сочетание материалов, например одна из осей выполнена из неэластичного материала (металла), а другие оси из эластичного или гибкого материала (резина или тесьма). В начальный момент времени, когда телефон располагается в чехле-держателе, возвратный механизм находится в спокойном состоянии. Направляющая возвратного механизма 10 слегка поддерживает телефон в чехле-держателе. С одной стороны она прикреплена к футляру телефона, а с другой – к катушке. При вытаскивании телефона из чехла-держателя направляющая 10 начинает раскручиваться с катушки. При этом оси наматываются одна на другую, т.е. взводится пружина, которая при опускании телефона затянет его обратно в чехол-держатель. Если направляющая изготовлена из эластичного материала, например из резины, то это даст возможность выдвигать телефон из чехла на большую длину, чем в конструкции, изображенной на фиг.2. При изготовлении осей из гибкого материала, например из тесьмы, роль пружины выполняют стенки держателя. При взводе пружины, т.е. при наматывании осей друг на друга, длина осей уменьшится, и стенки чехла-держателя сблизятся. При выполнении стенок чехла-держателя из жесткого пружинистого материала, после отпускания телефона по окончании переговоров, стенки чехла будут играть роль пружины, возвращая оси в прежнее состояние, наматывая на катушку направляющую возвратного механизма 10. При этом телефон вернется на прежнее место.
Предлагаемое устройство для быстрого и удобного использования сотового телефона позволяет носить часы на той же руке, что и сотовый телефон. При этом часы можно будет легко застегивать на руке. Благодаря тому, что чехол-держатель имеет определенную толщину, застежка часов 9 фиг.2 не будет препятствовать автоматическому возврату сотового телефона на прежнее место.
В конструкции, изображенной на фиг.3, телефон выдвигается вместе с тесьмой или резиной 9 чехла-держателя. При этом чехол-держатель не препятствует возвращению телефона на прежнее место и удерживает его от случайного падения после окончания переговоров.
При необходимости пользователь отстегивает застежку чехла-держателя 9 и выдвигает за нее или за боковые поверхности телефон в ладонь руки, удобной для приложения телефона к уху. Направляющая 10 пытается вернуть телефон в чехол-держатель. Она изготовлена из гибкого материала, поэтому кисть руки, удерживающая телефон, может свободно перемещаться в любых направлениях без ограничения ее движения. По окончании переговоров, при разжимании ладони, возвратный механизм втягивает телефон в чехол-держатель. Пользователь застегивает застежку чехла-держателя, предохраняя телефон от случайного падения.
Чехол-держатель выполняется из прочного красивого материала (кожа, силикон).
Формула изобретения
Устройство для удобного пользования сотовым телефоном, продольно установленным и закрепленным на запястье пользователя посредством ремешка, отличающееся тем, что оно содержит чехол-держатель для сотового телефона, закрывающийся крышечкой, тесьмой или резинкой с помощью застежки, например липучки, чехол-держатель содержит возвратный механизм, который крепится с одной стороны к чехлу-держателю, закрепленному на запястье руки, а с другой стороны непосредственно к корпусу телефона или его футляру при помощи направляющей возвратного механизма.
РИСУНКИ
MM4A – Досрочное прекращение действия патента СССР или патента Российской Федерации на изобретение из-за неуплаты в установленный срок пошлины за поддержание патента в силе
Дата прекращения действия патента: 19.01.2007
Извещение опубликовано: 10.04.2009 БИ: 10/2009
|
|