|
|
(21), (22) Заявка: 2005107806/09, 23.07.2004
(24) Дата начала отсчета срока действия патента:
23.07.2004
(30) Конвенционный приоритет:
23.07.2003 KR 10-2003-0050658
(43) Дата публикации заявки: 20.01.2006
(46) Опубликовано: 10.04.2007
(56) Список документов, цитированных в отчете о поиске:
WO 97/48210 A1, 18.12.1997. RU 2117396 C2, 10.08.1998. RU 2172076 C1, 10.08.2001. RU 2189072 C2, 10.09.2002. WO 00/54475 A1, 14.09.2000. US 6195705 B1, 27.02.2001. EP 0924913 A1, 23.06.1999.
(85) Дата перевода заявки PCT на национальную фазу:
21.03.2005
(86) Заявка PCT:
KR 2004/001863 (23.07.2004)
(87) Публикация PCT:
WO 2005/008994 (27.01.2005)
Адрес для переписки:
129010, Москва, ул. Б. Спасская, 25, стр.3, ООО “Юридическая фирма Городисский и Партнеры”, пат.пов. Ю.Д.Кузнецову, рег.№ 595
|
(72) Автор(ы):
ЛИ Сунг-Дзин (KR), КАНГ Хиун-Дзеонг (KR), КОО Чанг-Хой (KR), КИМ Со-Хиун (KR), СОН Йеонг-Моон (KR), СОН Дзунг-Дзе (KR)
(73) Патентообладатель(и):
САМСУНГ ЭЛЕКТРОНИКС КО., ЛТД. (KR)
|
(54) СПОСОБ И СИСТЕМА ДЛЯ ГЕНЕРИРОВАНИЯ IP АДРЕСОВ ТЕРМИНАЛОВ ДОСТУПА И ПЕРЕДАЧИ СООБЩЕНИЙ ДЛЯ ГЕНЕРАЦИИ IP АДРЕСОВ В IP СИСТЕМЕ
(57) Реферат:
Изобретение относится к системе передачи данных, в частности к способу и системе для генерирования IP-адреса терминала доступа на основе Протокола Интернет версии 6 (IPv6). Технический результат – сокращение времени установления адреса IPv6 терминала доступа. Система включает в себя, по меньшей мере, один терминал доступа, место доступа и маршрутизатор. Терминал доступа передает первое сообщение о подключении к уровню протокола управления доступом к среде (MAC), включающее в себя его собственный MAC адрес и поле индикации быстрой установки адреса, на место доступа. Место доступа принимает первое сообщение о подключении к MAC уровню от терминала доступа и определяет, существует ли дублирующий MAC адрес по отношению к MAC адресу терминала доступа в той же самой подсети. 7 н. и 27 з.п. ф-лы, 8 ил.
Область техники, к которой относится изобретение
Настоящее изобретение относится в целом к способу и системе для генерирования сетевого адреса терминала доступа в системе пакетной передачи данных и, в частности, к способу и системе генерирования IP-адреса терминала доступа на основе Протокола Интернет версии 6 (IPv6) и передачи сообщения для генерирования IP-адреса в системе Протокола Интернет (ниже называемой «IP-системой»).
Уровень техники
Обычно IP-система предусматривается для обмена данными между терминалом доступа и узлом связи в традиционной проводной сети связи. Такая IP-технология основана на версии 4 Протокола Интернет (IPv4), разработанной в начале 1980-х. Однако, поскольку ранняя IPv4 была разработана без учета всех возможных изменений в использовании и в среде связи, Протокол Интернет следующего поколения, называемый IPv6, для усовершенствования традиционной технологии IPv4 развивался с середины 1990-х годов.
Теперь будет дано краткое описание системы IP-адреса, используемой в традиционной технологии IPv4. Технология IPv4 поддерживает 32-битную адресную систему. Поскольку технология IPv4 использует 32-битную адресную систему, она не может справиться с растущим числом пользователей сети Интернет. Поэтому, чтобы увеличить число доступных адресов и, следовательно, число пользователей, была разработана технология IPv6, использующая 128-битную адресную систему.
Технология IPv6 не только имеет просто увеличенную длину IP-адресов, приписываемых абонентам, но также приводит к разработке нескольких усовершенствованных технологий, основанных на IPv4, и причем одной из типичных таких технологий является механизм автоконфигурации IP-адреса. Теперь будет дано описание механизма автоконфигурации адреса IPv6, обеспечиваемого технологией IPv6.
Фиг.1 представляет диаграмму, иллюстрирующую пример формата данных сообщения объявления маршрутизатора, передаваемого от маршрутизатора на терминал доступа в общей системе IPv6. Сообщение объявления маршрутизатора на Фиг.1 используется как исходная информация для автоконфигурации IP-адреса на терминале доступа. Кроме того, Фиг.1 иллюстрирует пример сообщения, описывающего способ конфигурации (или генерации) адреса для терминала доступа, так структура для конфигурации адреса на терминале доступа рассматривается ниже в качестве примера.
Сообщение объявления маршрутизатора, используемое в общей системе IPv6, приблизительно делится на три части: часть 100 основного заголовка, часть 110 заголовка опций объявления маршрутизатора, часть 120 вариантного заголовка. Часть 100 основного заголовка, имеющая размер 40 байтов, по существу включает основную информацию, такую как исходный адрес и адрес назначения, необходимые для пакета IPv6. Часть 110 заголовка опций объявления маршрутизатора содержит 12 байтов. Часть 110 заголовка опций объявления маршрутизатора указывает, что сообщение, показанное на Фиг.1, представляет собой сообщение объявления маршрутизатора, периодически передаваемое от маршрутизатора.
Часть 120 вариантного заголовка может использовать выбранный адрес из адреса уровня канала источника, блока максимальной передачи (МБП – MTU) и префиксной информации согласно ее использованию. То есть сообщение объявления маршрутизатора может включать один из этих трех типов информации. На Фиг.1, поскольку сообщение используется для конфигурации IP-адреса, часть 120 вариантного заголовка включает в себя префиксную информацию 130. Следовательно, префиксная информация имеет 32-байтный размер и представляет адрес IP-подсети, к которой принадлежит терминал доступа.
Фиг.2 представляет диаграмму, иллюстрирующую процедуру генерирования IP-адреса, используя сообщение объявления маршрутизатора, передаваемое от маршрутизатора 290 в основную систему IPv6. IP-адрес генерируется терминалом 200 доступа. Как показано на Фиг.2, когда пользователь на терминале 200 доступа запрашивает IP-адрес или желает подключиться к сети Интернет, терминал 200 генерирует сообщение запроса маршрутизатора и передает сообщение запроса маршрутизатора на соответствующий маршрутизатор 290 в шаге 210. То есть терминал 200 доступа, когда необходимо, немедленно генерирует сообщение запроса маршрутизатора и передает сообщение запроса маршрутизатора на маршрутизатор 290 без ожидания сообщения объявления маршрутизатора, периодически рассылаемого маршрутизатором 290. Наоборот, когда терминалу 200 доступа не требуется немедленно получить IP-адрес или когда он непосредственно принимает сообщение объявления маршрутизатора от маршрутизатора 290, то не требуется, чтобы терминал 200 доступа передавал сообщение запроса маршрутизатора в шаге 210.
Вне зависимости от того, принято сообщение запроса маршрутизатора или нет, маршрутизатор 290 передает в шаге 220 сообщение объявления маршрутизатора на каждый терминал доступа в предопределенный по времени временной интервал. Переданное сообщение объявления маршрутизатора включает в себя необходимую информацию, такую как информация об исходном адресе, включенная в часть 100 основного заголовка на фиг.1, которая должна передаваться на терминалы доступа, подсоединенные к той же самой сети так, что все терминалы доступа, подсоединенные к сети, могут принимать сообщение объявления маршрутизатора. Следовательно, сообщение объявления маршрутизатора включает в себя адресную информацию сети, такую как префиксная информация, включенная в часть 120 вариантного заголовка, показанную на Фиг.1, и терминал 200 доступа, принимающий сообщение объявления маршрутизатора, анализирует принятое сообщение объявления маршрутизатора и может генерировать IP-адрес, который будет использоваться в текущей сети цепи, к которой он принадлежит.
После этого в шаге 230 терминал 200 доступа, принимающий сообщение объявления маршрутизатора, автоматически генерирует (или конфигурирует) адрес IPv6 на основе префиксной информации 130, как показано на Фиг.1 в информации, включенной в сообщение объявления маршрутизатора. В способе автоматического генерирования IP-адреса терминал 200 доступа генерирует 128-битный адрес IPv6 путем комбинирования префиксного числа с его собственным адресом Протокола Управления Доступом к Среде (MAC). Терминал 200 доступа, генерирующий адрес IPv6, генерирует IP-адрес самостоятельно, вместо того, чтобы ему IP-адрес предписывался маршрутизатором 290. Следовательно, терминал 200 доступа не может определить, является ли генерированный IP-адрес дубликатом IP-адреса, используемого другим терминалом доступа.
Следовательно, терминал 200 доступа должен определить, является ли его собственный IP-адрес идентичен IP-адресу, используемому другим терминалом доступа. С этой целью терминал 200 доступа выполняет выявление дублирующего адреса (ВДА-DAD) в отношении другого терминала доступа в шаге 240. То есть терминал 200 доступа генерирует сообщение о выявлении дублирующего адреса и передает сообщение о выявлении дублирующего адреса на другие терминалы доступа, принадлежащие той же самой подсети, подсоединенной к маршрутизатору 290. Кроме того, терминал 200 доступа активирует таймер, имеющий предопределенное значение времени для того, чтобы обеспечить другим терминалам возможность реагировать на сообщение о выявлении дублирующего адреса.
В шаге 250 терминал 200 доступа ждет ответа на сообщение о выявлении дублирующего адреса. Если ответ не принимается от другого терминала доступа, когда истекает задаваемое таймером время, т.е. если ни один из других терминалов не передает сообщение, указывающее, что тот же самый IP-адрес используется, терминал 200 доступа определяет, что он может использовать соответствующий IP-адрес. Затем в шаге 260 терминал 200 доступа сохраняет генерированный адрес как адрес IPv6 и может выполнять пакетную передачу данных.
Однако, поскольку технология IPv6 была разработана для проводных сетей, ее рабочие характеристики для использования в беспроводной сети должны быть улучшены, чтобы избежать многих возможных проблем. Перед тем, как будет дано описание этих проблем, будет описан, со ссылкой на Фиг.3, процесс автоматической установки адреса IPv6 посредством вышеприведенного способа для терминала доступа, который является частью беспроводной сети.
Фиг.3 представляет диаграмму, иллюстрирующую процедуру получения адреса, назначаемого маршрутизатором 390 в общей системе IPv6 на беспроводном терминале 300 доступа. Как показано на Фиг.3, терминал 300 доступа подсоединяется к месту 380 доступа (МД – АР) посредством беспроводного канала. МД 380 подсоединяется в свою очередь к маршрутизатору 390. В шагах 305 и 310 терминал 300 доступа запрашивает информацию, необходимую для беспроводной связи в соте, в которой соответствующий терминал доступа в текущий момент локализован, от МД 380 посредством сообщения уровня 2 таким образом, как посредством передачи сигналов МАС. После регистрации терминал 380 доступа устанавливает информацию на IP-уровень, который является уровнем 3. То есть в процедуре шагов 305 и 310, поскольку происходит обмен только информацией физического уровня и информацией уровня 2, IP-информация уровня 3 доступна после завершения процедуры установки (или подключения) для уровня 2.
Следовательно, процедура установки (или подключения) для уровня 3 выполняется в шагах 320 и 330 посредством обмена сообщением запроса маршрутизатора и/или сообщением объявления маршрутизатора между терминалом 300 доступа и местом 380 доступа, после выполнения шагов 305 и 310 для уровня 2. Терминал 300 доступа затем автоматически генерирует адрес IPv6 и выполняет выявление дублирующего адреса в процессе, который идентичен соответствующему процессу, описанному в сочетании с Фиг.2, и показан в шагах 320-370.
Для того чтобы терминал беспроводного доступа получил доступ в Интернет через место доступа в беспроводной сети, поскольку процедура соединения на уровне 2 и процедура соединения на уровне 3 выполняются независимо, как описано выше, полное время задержки, требуемое для соединения, составляет несколько секунд. В частности, когда терминал беспроводного доступа находится в движении, положение его соты часто меняется, и место доступа, с которым он обменивается информацией, постоянно меняется. То есть, если терминал беспроводного доступа выполняет переключение во время поддерживания соединения с IP-связью, требуется длительное время задержки. В этом случае, следовательно, соединение по каналу может быть прервано, вызывая значительное ухудшение работы канала. Соответственно существует потребность в технологии, способной сократить время задержки посредством улучшения процедур подключения для беспроводного доступа к Интернету.
Раскрытие изобретения
Таким образом, цель настоящего изобретения состоит в обеспечении способа и системы для быстрого генерирования адреса IPv6 в системе мобильной связи.
Другая цель настоящего изобретения состоит в обеспечении способа и системы для быстрого запроса IP-адреса во время переключения терминала беспроводной связи в системе мобильной связи.
Другая дополнительная цель настоящего изобретения состоит в обеспечении способа и системы передачи сообщений для сокращения времени запроса IP-адреса в терминале доступа посредством предварительной передачи только информации, необходимой для установки подключения к уровню 2 (уровень МАС) для информации на уровне 3 (уровень IP), которая могла бы приниматься после того, как установлено подключение к IP-связи в системе мобильной связи.
Для достижения вышеуказанных и других целей предлагается способ для генерирования терминалом доступа адреса Интернет Протокола (IP) от маршрутизатора, когда терминал доступа движется в соте, охватываемой маршрутизатором, чтобы установить связь с любым из множества мест доступа, охватываемых маршрутизатором в системе IP, включающей в себя маршрутизатор, места доступа, подключенные к маршрутизатору, и терминал доступа, способный осуществлять связь, по меньшей мере, с одним из мест доступа. Способ включает в себя шаги приема информации сообщения о подключении уровня протокола управления доступом к среде (МАС), включающего в себя поле для запроса быстрой установки адреса и поле, указывающее адрес МАС терминала доступа, от терминала доступа посредством, по меньшей мере, одного из мест доступа; и по получении информации сообщения о подключении к уровню МАС, включающей в себя префиксную информацию, представляющую ту же самую IP-подсеть, в сообщении о подключении к уровню МАС, передачу сообщения о подключении к уровню МАС на терминал доступа, если тот же самый МАС адрес, что и МАС адрес терминала доступа, не существует в сети, контролируемой маршрутизатором.
Дополнительно для достижения вышеприведенных и других целей предлагается способ передачи сообщения для генерирования адреса Протокола Интернет (IP) терминала доступа в системе Протокола Интернет версии 6 (IPv6), включающей в себя место доступа, подключенное беспроводным способом к терминалу доступа, и маршрутизатор для подключения места доступа к Интернету. Способ включает в себя шаги приема первого сообщения о подключении к уровню протокола управления доступом к среде (МАС), включающего адрес МАС и поле индикации быстрой установки адреса от терминала доступа, и определение того, существует ли дубликат адреса МАС в той же самой подсети; и передачу на терминал доступа второго сообщения о подключении уровня МАС, включающего в себя поле префиксной информации, генерируемое посредством комбинирования временного адреса МАС терминала доступа с префиксом, представляющим подсеть, если существует дубликат адреса МАС.
Дополнительно для достижения вышеуказанных и других целей предлагается система Протокола Интернет версии 6 (IPv6) для генерирования IP-адреса. Эта система содержит, по меньшей мере, один терминал доступа для генерирования первого сообщения о подключении к уровню протокола управления доступом к среде (МАС), включающего его собственный адрес МАС и поле индикации быстрой установки адреса, передачи первого сообщения о подключении к уровню МАС, на место доступа системы IPv6, и генерирования адреса IPv6 посредством приема второго сообщения о подключении к уровню МАС, включающего в себя префикс его подсети, от места доступа; и место доступа для приема первого сообщения о подключении к уровню МАС от терминала доступа, определение того, существует ли дубликат адреса МАС по отношению к адресу МАС терминала доступа в той же самой подсети, и передачи второго сообщения о подключении к уровню МАС, включающего в себя префикс, на терминал доступа, если адрес МАС является единственным.
Краткое описание чертежей
Вышеуказанные и другие цели, признаки и преимущества настоящего изобретения станут более понятны из следующего подробного описания, взятого в сочетании с прилагаемыми чертежами, на которых:
Фиг.1 представляет диаграмму, иллюстрирующую пример формата данных сообщения объявления маршрутизатора, передаваемого от маршрутизатора на терминал доступа в общей системе IPv6;
Фиг.2 представляет диаграмму, иллюстрирующую процедуру генерирования терминалом доступа IP-адреса, используя сообщение объявления маршрутизатора, передаваемое от маршрутизатора в общей системе IPv6;
Фиг.3 представляет диаграмму, иллюстрирующую процедуру для приема терминалом беспроводного доступа адреса, назначаемого маршрутизатором в общей системе IPv6;
Фиг.4 представляет диаграмму, иллюстрирующую процедуру назначения адреса IPv6 для терминала доступа согласно варианту осуществления настоящего изобретения;
Фиг. 5 представляет диаграмму, иллюстрирующую пример формата данных первого сообщения о подключении к уровню МАС, передаваемого по восходящему каналу связи во время быстрой установки адреса согласно варианту осуществления настоящего изобретения.
Фиг.6 представляет диаграмму, иллюстрирующую пример формата данных второго сообщения о подключении к уровню МАС, передаваемого по нисходящей линии связи во время быстрой установки адреса согласно варианту осуществления настоящего изобретения;
Фиг.7 представляет блок-схему, иллюстрирующую процедуру генерирования произвольного адреса в месте доступа или маршрутизаторе согласно варианту осуществления настоящего изобретения; и
Фиг.8 представляет блок-схему, иллюстрирующую процедуру автоматического генерирования адреса в терминале доступа после принятия второго сообщения о подключении к уровню МАС согласно варианту осуществления настоящего изобретения.
Подробное описание предпочтительного варианта осуществления
Предпочтительный вариант осуществления настоящего изобретения будет теперь описан подробно со ссылкой на прилагаемые чертежи. В нижеследующем описании подробное описание известных функций и конфигураций, включенных в это описание, было опущено для краткости.
Как описано в разделе Предшествующего уровня техники, традиционная IP-технология использовалась на основе Протокола Интернет версии 4 (IPv4) в начале 1980-х г.г. Однако, поскольку ранняя технология IPv4 была разработана без полного учета возможных изменений в использовании и среде связи, следующее поколение Протокола Интернет, называемое Протокол Интернет версии 6 (IPv6), для усовершенствования традиционной технологии IPv4 разрабатывалось с середины 1990-х г.г. Хотя IPv6 разрабатывалось, чтобы полностью учитывать возможные изменения в использовании и в среде связи, она была разработана, принимая во внимание только проводные условия связи, вместо того, чтобы включать в себя условия мобильной связи и условия беспроводной связи. Следовательно, при развитии действующей технологии мобильной сети Интернет возникало много проблем совместимости между технологией Интернет и технологией мобильной связи при обеспечении услуг Интернет на верхнем уровне.
Настоящее изобретение предлагает способ для быстрого автоматического генерирования адреса IPv6 в условиях мобильной связи, где технология IPv6, исходно разработанная для проводной сети, поддерживает среду беспроводной связи, где используется ограниченная ширина полосы, тем самым минимизируя время задержки, которое испытывает терминал беспроводного доступа во время переключений из-за его движения. Таким путем терминал беспроводного доступа минимизирует задержку передачи из-за его движения даже в среде мобильной связи, тем самым получая непрерываемое обслуживание.
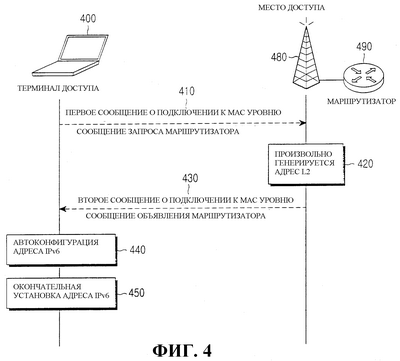
Фиг.4 представляет диаграмму, иллюстрирующую процедуру назначения адреса IPv6 для терминала беспроводного доступа согласно предпочтительному варианту осуществления настоящего изобретения. Как показано на Фиг.4, когда терминал 400 доступа выполняет начальное подключение или подсоединяется к новой соте, терминал 400 доступа генерирует сообщение запроса маршрутизатора согласно варианту осуществления настоящего изобретения и передает генерированное сообщение запроса маршрутизатора по восходящему каналу в шаге 410. «Восходящий канал» обозначает канал от терминала 400 доступа к месту 480 доступа (МД), канал от терминала 400 доступа к маршрутизатору 490 и/или от места 480 доступа к маршрутизатору 490. Процесс передачи сообщения запроса маршрутизатора в шаге 410 соответствует процедуре подключения к уровню 2, описанной в сочетании с Фиг.3. Однако сообщение запроса маршрутизатора включает в себя сообщение, вновь определенное согласно варианту осуществления настоящего изобретения. Сообщение запроса маршрутизатора согласно варианту осуществления настоящего изобретения будет описано ниже со ссылкой на Фиг.5.
Фиг.5 представляет диаграмму, иллюстрирующую пример формата данных первого сообщения о подключении к уровню МАС, которое используется как сообщение запроса маршрутизатора и которое передается по восходящему каналу во время быстрой установки адреса согласно варианту осуществления настоящего изобретения. Сообщение запроса маршрутизатора включает в себя заголовок 500 МАС и сообщение 510 МАС для обработки данных уровня МАС между терминалом 400 доступа и местом 480 доступа. Дополнительно сообщение запроса маршрутизатора включает в себя бит R 520, предназначенный для быстрой установки IP-адреса согласно варианту осуществления настоящего изобретения. Если бит R 520 равен «1», это означает, что запрашивается процедура быстрой установки адреса согласно варианту осуществления настоящего изобретения, если бит R 520 равен «0», это означает, что запрашивается традиционная процедура установки адреса. В следующем описании бит R 520 будет называться «полем индикации быстрой установки адреса».
Снова обращаясь к Фиг 4, предполагаем, что поле индикации быстрой установки адреса (бит R 520) на Фиг.5. установлено на «1» перед тем, как оно передается на место 480 доступа. Если терминал 400 доступа передает сообщение запроса маршрутизатора с установленным значением поля индикации быстрой установки адреса к месту 480 доступа, место 480 доступа, посредством его самого или через маршрутизатор 490, генерирует адрес МАС терминала доступа (или временный адрес МАС, имеющий такую же длину) и/или произвольный адрес уровня 2, включающий в себя префикс для генерации IP-адреса в шаге 420. Место 480 доступа затем передает сообщение на терминал 400 доступа по нисходящему каналу в шаге 430. Процедура генерации адреса для генерирования сообщения о подключении к уровню 2 МАС (показанная на Фиг.6) будет описана подробно ниже со ссылкой на Фиг.7.
Термин «нисходящий канал», используемый в шаге 430, относится к каналу от маршрутизатора 490 к месту 480 доступа, каналу от маршрутизатора 490 к терминалу 400 доступа и/или каналу от места 480 доступа к терминалу 400 доступа. Здесь место 480 доступа передает адрес, генерируемый в шаге 420, используя второе сообщение о подключении к уровню МАС. То есть второе сообщение о подключении к уровню МАС является сообщением МАС. Такое сообщение МАС включает в себя сообщение объявления маршрутизатора для подключения к уровню 3 согласно варианту осуществления настоящего изобретения так же, как традиционное сообщение. Сообщение, генерируемое в шаге 420, будет теперь описано подробно со ссылкой на Фиг.6.
Фиг.6 представляет диаграмму, иллюстрирующую пример формата данных второго сообщения о подключении к уровню МАС, передаваемого по нисходящему каналу во время быстрой установки адреса согласно варианту осуществления настоящего изобретения. Большинство полей, показанных на Фиг.6, эквиваленты полям, используемым в сообщении объявления маршрутизатора в существующей проводной сети. Сообщение, показанное на Фиг.6, делится приблизительно на две зоны: МАС зона 600 и зона генерации адреса 610. МАС зона 600 представляет собой зону для обработки уровня МАС, и зона 610 генерации адреса представляет собой зону, определенную для генерирования адреса IPv6 терминала 400 доступа. МАС зона 600 включает в себя МАС заголовок 620 и МАС сообщение 625 для обработки уровня МАС.
Зона 610 генерации адреса включает в себя следующие поля согласно варианту осуществления настоящего изобретения.
(1) Поле индикации произвольной генерации адреса
Поле индикации произвольной генерации адреса указывает, будет ли произвольно генерировать и использовать терминал IP-адрес в сети. На Фиг.6 это поле представлено двумя битами: один – это М бит 630 и другой – это О бит 635. Здесь М бит и О бит имеют следующие значения.
Если М бит равен 1, терминал 400 доступа не может использовать способ автоконфигурации адреса для произвольного генерирования IP-адреса и должен использовать IP-адрес, назначенный маршрутизатором 490 или местом 480 доступа. Однако, если М бит равен 0, это означает, что место 480 доступа или маршрутизатор 490 не ограничивают действия по генерированию IP-адреса для терминала 400 доступа. Процедура динамической конфигурации хоста (ПДКХ – DHCP) имеет отношение к серверу при назначении IP-адреса, доступного для терминала доступа, локализованного в сети, причем терминал доступа запрашивает прием установочной информации (напр., маска подсети и адрес шлюза), отличной от IP-адреса.
Кроме того, если О бит равен 1, терминал 400 доступа может генерировать IP-адрес, используя способ автоконфигурации адреса для генерирования произвольного адреса согласно варианту осуществления настоящего изобретения, но ему должна приписываться другая информация, необходимая в сети, кроме IP-адреса для терминала 400 доступа, посредством ПДКХ. Однако, если О бит равен 0, это означает, что место 480 доступа или маршрутизатор 490 не ограничивают действия по генерированию адреса для терминала 400 доступа, для генерации IP-адреса.
(2) Поле индикации установления канала префиксной информации
Это поле может использоваться терминалом 400 доступа для определения канала, в котором он локализован, используя префиксную информацию в принятом сообщении объявления маршрутизатора. Это поле соответствует L биту 640, указывающему, использовать ли соответствующее сообщение объявления маршрутизатора для этой цели. Например, если L бит 640 равен 1, он указывает, что префиксная информация, принятая терминалом 400 доступа, может использоваться для цели установления канала. Наоборот, если L бит 640 равен 0, это означает, что терминал 400 доступа не может использовать передаваемую префиксную информацию для цели установления канала.
(3) Поле автономной конфигурации адреса
Поле автономной конфигурации адреса соответствует А биту 645 на Фиг.6 и указывает, возможна ли автоконфигурация адреса. Например, если А бит 645 равен 1, это означает, что возможно установить автономную конфигурацию адреса. Наоборот, если А бит 645 равен 0, это указывает, что не возможно установить автономную конфигурацию адреса.
(4) Поле индикации дублирующего МАС заголовка
Поле индикации дублирующего МАС заголовка соответствует D полю 650 на Фиг.6, и место 480 доступа или маршрутизатор 490 определяют, расположен ли терминал доступа, использующий тот же самый МАС адрес, что и МАС адрес заголовка в МАС сообщении, принятом от терминала 400 доступа, в той же самой подсети или соте, использующей тот же самый префикс, посредством просмотра справочной таблицы терминала доступа в месте 480 доступа или маршрутизаторе 490, и указывает результат, используя D бит 650.
Например, если значение D бита равно 1 (т.е. ВЕРНО), это указывает, что, поскольку нет терминала доступа, использующего тот же самый адрес, то, таким образом, возможно использование IP-адреса, генерированного терминалом 400 доступа, без дальнейшего выполнения процедуры выявления дублирующего адреса. Однако, если значение D бита равно 0 (т.е. НЕВЕРНО), это означает, что, поскольку адрес не может быть использован как результат выявления дубликата, терминал 400 доступа должен использовать IP-адрес, назначенный местом 480 доступа или маршрутизатором 490 без модификации, а не произвольно генерируя IP-адрес.
(5) Резервное поле
Резервное поле 655 соответствует полям, неопределенным в настоящем изобретении, и составлено 3 битами. Следовательно, резервное поле 655 остается неиспользуемым, чтобы обеспечить дополнительные функции в будущем. Кроме того, все биты в резервном поле установлены на «0» перед тем, как они передаются.
(6) Поле длины префикса
Поле длины префикса соответствует полю 660, представляющему информацию о длине префикса, используемую для генерации адреса в терминале 400 доступа, и может быть установлено в области размером 2 байта.
(7) Поле префиксной информации
Это поле 665 для передачи префиксной информации для генерирования IP-адреса терминалом 400 доступа в сети или передачи IP-адреса, установленного в сети, предпочтительно образовано 16 байтами (128 битами).
Если значение (или D бит) поля 650 индикации дублирующего МАС заголовка равно «0», поскольку есть другой терминал доступа, имеющий дублирующий адрес, терминал 400 доступа использует 16-байтное поле префиксной информации как IP-адрес, назначенный с места 480 доступа. Однако, если значение (или D бит) поля 650 индикации дублирующего МАС заголовка равно «1», терминал 400 доступа использует информацию с длиной, определенной полем длины префикса от наиболее значимых битов (НЗБ – MSB) в 128-битной информации поля префиксной информации как префикс для генерирования его собственного IP-адреса.
То есть длина IP-адреса, генерированного в терминале доступа, может быть фиксированной на значении 128 бит, или длина префикса может быть переменной. Следовательно, 128-битный IP-адрес имеет префикс, локализованный в его части старших разрядов, 48-битный МАС адрес, локализованный в его части низших разрядов, и биты со значением «0», локализованные между префиксом и МАС адресом.
(8) Поле информации о блоке максимальной передачи
Это соответствует полю 670 для определения значения блока максимальной передачи (БМП- MTU), которое должно учитываться во время передачи информации терминалом 400 доступа в сети, и предпочтительно образовано 4 байтами.
Опять обратимся теперь к Фиг.4, на которой показано, что второе сообщение о подключении к МАС уровню, описанное выше, передается от места 480 доступа на терминал 400 доступа в шаге 430. Если сообщение для процедуры подключения уровня 2, включающее в себя сообщение объявления маршрутизатора, принято, терминал 400 доступа анализирует значения полей принятого сообщения и автоматически генерирует адрес IPv6 в шаге 440. Если адрес IPv6 не устанавливается автоматически во втором сообщении о подключении к МАС уровню, а используется адрес, назначенный в сети, терминал 400 доступа переходит к шагу 450 без выполнения процесса генерирования адреса IPv6 в шаге 440. В шаге 450 терминал 400 доступа использует принятый адрес IPv6 как свой собственный адрес. После завершения установки адреса терминал 400 доступа может выполнять пакетную передачу данных.
Фиг.7 представляет блок-схему, иллюстрирующую процедуру произвольного генерирования адреса в месте доступа или маршрутизаторе согласно варианту осуществления настоящего изобретения. Для удобства здесь будет предполагаться, что процедура выполняется в месте 480 доступа. Однако следует отметить, что процедура может выполняться в маршрутизаторе 490 или может выполняться как в месте 480 доступа, так и в маршрутизаторе 490.
Как показано на Фиг.7, в шаге 705 место 480 доступа принимает первое сообщение о подключении к МАС уровню, включающее сообщение запроса маршрутизатора, описанное в шаге 410, показанном на Фиг.4. В шаге 710 место 480 доступа анализирует окончательное значения поля индикации быстрой установки адреса (или R бит 520) в сообщении запроса маршрутизатора на Фиг.5. Если в шаге 710 определено, что значение поля индикации быстрой установки адреса установлено на «0», место 480 доступа переходит к шагу 715, где оно устанавливает IP-адрес терминала 400 доступа традиционным способом установки адреса. Однако если определено в шаге 710, что значение поля индикации быстрой установки адреса установлено на «1», место 480 доступа переходит к шагу 720, на котором оно устанавливает IP-адрес терминала 400 доступа способом установки адреса согласно варианту осуществления настоящего изобретения.
В шаге 720 место 480 доступа анализирует МАС адрес в первом сообщении о подключении к МАС уровню, включающем в себя сообщение запроса маршрутизатора. В шаге 725 место 480 доступа просматривает таблицу со списком соседства(окружения) и определяет, используется ли тот же самый МАС адрес в той же самой подсети. Если в шаге 725 определено, что существует узел, использующий тот же самый МАС адрес, место 480 доступа переходит к шагу 730, где оно генерирует временный МАС адрес, имеющий длину соответствующего МАС адреса. Обычно Ethernet использует 48-битный МАС адрес. Следовательно, место доступа, подключенное к Ethernet, использует временный 48-битный МАС адрес.
После этого место 480 доступа определяет в шаге 735, является ли МАС адрес, произвольно генерированный в шаге 730, дублирующим. Если определено, что существует такой же самый МАС адрес, как даже в процедуре выявления дублирующего адреса, то место 480 доступа повторяет шаги 730 и 735. Если не дублирующий МАС адрес генерирован посредством шагов 730 и 735, место 480 доступа переходит к шагу 740, на котором оно генерирует 128-битный адрес IPv6 путем комбинирования префикса с генерированным МАС адресом. После этого в шаге 745 место 480 доступа вставляет генерированный 128-битный адрес в поле префиксной информации во втором сообщении о подключении к МАС уровню для передачи его на терминал 400 доступа. В шаге 750 место 480 доступа устанавливает поле 660 длины префикса МАС фрейма, представленное на Фиг.6 как «0», и устанавливает поле 650 индикации дублирующего МАС заголовка (или D бит) на «0», указывая, что нет дублирующего адреса, и затем переходит к шагу 770.
Если в шаге 725 определено, что такой же адрес не обнаружен, место 480 доступа переходит к шагу 760, в котором оно вставляет префикс, представляющий адрес соответствующей подсети, в поле 665 префиксной информации, показанное на Фиг.6. В шаге 765 место 480 доступа вставляет генерированную информацию о длине префикса в поле 660 информации о длине префикса и затем переходит к шагу 770. В шаге 770 место 480 доступа собирает генерированные поля, показанные на Фиг.6, с МАС сообщением. В шаге 780 место 480 доступа передает второе сообщение о подключении к МАС уровню на терминал 400 доступа по нисходящему каналу на шаге 430 Фиг.4.
Фиг.8. представляет блок-схему, иллюстрирующую процедуру автоматического генерирования адреса в терминале доступа после приема второго сообщения о подключении к МАС уровню согласно варианту осуществления настоящего изобретения. Как показано на Фиг.8, в шаге 810 терминал 400 доступа принимает второе сообщение о подключении к МАС уровню, генерированное местом 480 доступа или маршрутизатором 490 в шаге 430 на Фиг.4, посредством места 480 доступа. В шаге 820 терминал 400 доступа анализирует значение D бита в поле 650 индикации дублирующего МАС заголовка принятого второго сообщения о подключении к МАС уровню. Если в шаге 820 определено, что значение D бита равно «1», то терминал 400 доступа переходит к шагу 840, в котором он автоматически генерирует адрес IPv6 путем комбинирования префикса, задаваемого в поле 665 префиксной информации, с его собственным МАС адресом. После этого, в шаге 850 терминал 400 доступа устанавливает адрес, генерированный в шаге 840 как его собственный IP-адрес.
Однако если в шаге 820 определено, что значение D бита равно «0», то терминал 400 доступа не может произвольно генерировать IP-адрес. В этом случае терминал 400 доступа устанавливает 128-битный адрес, задаваемый в поле 665 префиксной информации как его собственный адрес IPv6, а не префикс. То есть, если значение D бита равно «1», т.е. если нет терминала доступа, использующего дублирующий адрес, поле 665 префиксной информации содержит только префикс. Однако если значение D бита установлено на «0», т.е. если существует терминал доступа, использующий дублирующий адрес, поле 665 префиксной информации переносит 128-битный адрес, включающий в себя временный МАС адрес и префикс.
После шагов 830 и 850 терминал 400 доступа завершает процесс установки адреса IPv6 в шаге 860. Затем терминал 400 доступа может выполнять пакетную передачу данных с адресом IPv6, описанным в связи с Фиг.4.
Из вышеизложенного описания понятно, что предлагаемый способ может быстро устанавливать адрес IPv6 терминала доступа без выполнения нескольких сложных процедур, тем самым предотвращая потери ширины полосы и поддерживая качество обслуживания (QoS) даже при переключении.
В то время как изобретение было продемонстрировано и описано без ссылки на конкретный предпочтительный вариант его осуществления, специалистам в данной области будет понятно, что различные изменения в форме и деталях могут быть сделаны в нем без отступления от духа и за пределы объема правовой охраны изобретения, определяемого прилагаемой формулой.
Формула изобретения
1. Способ для генерирования адреса Протокола Интернет (IP) терминалом доступа в системе IP, включающей в себя маршрутизатор, когда терминал доступа движется в соте, охватываемой этим маршрутизатором, чтобы обеспечить связь с любым одним из множества мест доступа в соте, причем эти места доступа подключены к маршрутизатору, и терминал доступа может осуществлять связь, по меньшей мере, с одним из мест доступа, при этом способ содержит следующие шаги: принимают на маршрутизаторе первую информацию сообщения о подключении к уровню протокола управления доступом к среде (MAC), включающую в себя поле для запроса маршрутизатора о быстрой установке адреса и поле, указывающее MAC адрес терминала доступа, от терминала доступа через, по меньшей мере, одно из мест доступа; после приема информации сообщения о подключении к MAC уровню, генерируют второе сообщение о подключении к MAC уровню, включающее в себя префиксную информацию, представляющую в сообщении о подключении к MAC уровню IP подсеть, в которой расположен терминал доступа, передают от маршрутизатора на терминал доступа сообщение о подключении к MAC уровню, если такой же MAC адрес как MAC адрес терминала доступа не существует в подсети, контролируемой этим маршрутизатором; и
генерируют посредством терминала доступа IP адрес в соответствии с информацией, включенной во второе сообщение о подключении к MAC уровню.
2. Способ по п.1, дополнительно содержащий этап, заключающийся в том, что после приема первой информации сообщения о подключении к MAC уровню, генерируют второе сообщение о подключении к MAC уровню, включающее в себя поле, генерированное комбинированием префиксной информации с временным MAC адресом, генерированным с той же самой длиной, что и длина MAC адреса терминала доступа, и передают от маршрутизатора на терминал доступа второе сообщение о подключении к MAC уровню, если такой же MAC адрес, что и MAC адрес терминала доступа, существует в подсети, контролируемой этим маршрутизатором.
3. Способ генерирования адреса Протокола Интернет (IP) терминала доступа в системе IP версии 6 (IPv6), включающей в себя место доступа, беспроводным образом подключенное к терминалу доступа, и маршрутизатор для подключения места доступа к Интернету, причем этот способ содержит следующие шаги: принимают от терминала доступа первое сообщение о подключении к уровню протокола управления доступом к среде (MAC), включающее в себя MAC адрес терминала доступа и поле индикации быстрой установки адреса; определяют, существует ли в той же самой подсети дублирующий MAC адрес по отношению к MAC адресу терминала доступа, если установлено поле индикации быстрой установки адреса; передают на терминал доступа второе сообщение о подключении к MAC уровню, включающее в себя префиксную информацию, представляющую подсеть, в которой расположен терминал доступа, если MAC адрес является единственным; генерируют посредством терминала доступа адрес IPv6 в соответствии с информацией, включенной во второе сообщение о подключении к MAC уровню.
4. Способ по п.3, отличающийся тем, что второе сообщение о подключении к MAC уровню дополнительно включает в себя поле, указывающее, является ли MAC адрес терминала доступа дублирующим по отношению к MAC адресу до того, как он был передан.
5. Способ по п.4, отличающийся тем, что шаг генерирования адреса IPv6 содержит шаг генерирования терминалом доступа префиксной информации и адреса IPv6, если MAC адрес терминала доступа является единственным.
6. Способ по п.3, отличающийся тем, что второе сообщение о подключении к MAC уровню генерируется местом доступа.
7. Способ по п.3, отличающийся тем, что второе сообщение о подключении к MAC уровню генерируется маршрутизатором.
8. Способ по п.3, отличающийся тем, что шаг приема первого сообщения о подключении к MAC уровню дополнительно заключается в том, что, если дублирующий MAC адрес существует в подсети, генерируют поле посредством комбинирования префикса подсети с временным MAC адресом, имеющим такую же длину, как и MAC адрес терминала доступа, включают это поле во второе сообщение о подключении к MAC уровню, и передают второе сообщение о подключении к MAC уровню на терминал доступа.
9. Способ по п.8, отличающийся тем, что шаг генерирования адреса IPv6 дополнительно содержит шаг использования терминалом доступа информации о поле, генерируемом посредством комбинирования временного MAC адреса с префиксом в качестве адреса IPv6, если существует дублирующий MAC адрес.
10. Способ по п.3, отличающийся тем, что шаги приема, определения, передачи и генерирования выполняются во время процедуры отключения терминала доступа.
11. Способ по п.3, отличающийся тем, что шаги приема, определения, передачи и генерирования выполняются во время выполнения процедуры повторного подключения терминалом доступа.
12. Система Протокола Интернет версии 6 (IPv6) для генерирования IP адреса, содержащая по меньшей мере, один терминал доступа для генерирования первого сообщения о подключении к уровню протокола управления доступом к среде (MAC), включающего в себя его собственный MAC адрес и поле индикации быстрой установки адреса, передачи первого сообщения о подключении к MAC уровню на место доступа системы IPv6 и генерирования адреса IPv6 посредством приема второго сообщения о подключении к MAC уровню, включающего префикс его подсети, в которой расположен терминал доступа, от места доступа; место доступа для приема первого сообщения о подключении к MAC уровню от терминала доступа, определения, существует ли дублирующий MAC адрес по отношению к MAC адресу терминала доступа в той же самой подсети, и передачи второго сообщения о подключении к MAC уровню, включающего префикс, на терминал доступа, если MAC адрес является единственным.
13. Система IPv6 по п.12, отличающаяся тем, что, если в подсети существует дублирующий MAC адрес по отношению к MAC адресу терминала доступа, то место доступа генерирует поле, генерируемое посредством комбинирования префикса подсети с временным MAC адресом, имеющим такую же длину, как и MAC адрес терминала доступа, вставляет это поле во второе сообщение о подключении к MAC уровню и передает это второе сообщение о подключении к MAC уровню на терминал доступа.
14. Система IPv6 по п.13, отличающаяся тем, что, если существует дублирующий MAC адрес по отношению к MAC адресу терминала доступа, то терминал доступа использует, как адрес IPv6, информацию поля, генерированного посредством комбинирования временного MAC адреса с префиксом.
15. Система IPv6 по п.12, отличающаяся тем, что второе сообщение о подключении к MAC уровню, переданное от места доступа, дополнительно включает в себя поле, указывающее, является ли MAC адрес терминала доступа дублирующим MAC адресом.
16. Система Протокола Интернет версии 6 (IPv6) для генерирования адреса Протокола Интернет (IP), содержащая по меньшей мере, один терминал доступа для генерирования первого сообщения о подключении к уровню протокола управления доступом к среде (MAC), включающего в себя его собственный MAC адрес и поле индикации быстрой установки адреса, передачи первого сообщения о подключении к MAC уровню на маршрутизатор через место доступа системы IPv6 и генерирования адреса IPv6 посредством приема второго сообщения о подключении к MAC уровню, включающего префикс его подсети, в которой расположен терминал доступа, от маршрутизатора; маршрутизатор для приема первого сообщения о подключении к MAC уровню от терминала доступа, определения, существует ли дублирующий MAC адрес по отношению к MAC адресу терминала доступа в той же самой подсети, и передачи второго сообщения о подключении к MAC уровню, включающего префикс, на терминал доступа, если MAC адрес является единственным.
17. Система IPv6 по п.16, отличающаяся тем, что, если в подсети существует дублирующий MAC адрес по отношению к MAC адресу терминала доступа, то маршрутизатор генерирует поле посредством комбинирования префикса подсети с временным MAC адресом, имеющим такую же длину, как и MAC адрес терминала доступа, вставляет это поле во второе сообщение о подключении к MAC уровню и передает это второе сообщение о подключении к MAC уровню на терминал доступа.
18. Система IPv6 по п.17, отличающаяся тем, что, если существует дублирующий MAC адрес по отношению к MAC адресу терминала доступа, то терминал доступа использует, в качестве адреса IPv6, информацию о поле, генерированном посредством комбинирования временного MAC адреса с префиксом.
19. Система IPv6 по п.16, отличающаяся тем, что второе сообщение о подключении к уровню, переданное от маршрутизатора, дополнительно включает в себя поле, указывающее, является ли MAC адрес терминала доступа дублирующим MAC адресом.
20. Способ передачи сообщения для генерирования адреса Протокола Интернет (IP) терминала доступа в системе Протокола Интернет версии 6 (IPv6), включающей в себя место доступа, беспроводным образом подключенное к терминалу доступа, и маршрутизатор для подключения места доступа к Интернету, причем способ содержит следующие шаги: принимают от терминала доступа первое сообщение о подключении к уровню протокола управления доступом к среде (MAC), включающее в себя MAC адрес и поле индикации быстрой установки адреса и определяют, существует ли в той же самой подсети, в которой расположен терминал доступа, дублирующий MAC адрес по отношению к указанному MAC адресу; передают на терминал доступа второе сообщение о подключении к MAC уровню, включающее в себя поле префиксной информации, генерированное посредством комбинирования временного MAC адреса терминала доступа с префиксом, представляющим подсеть.
21. Способ по п.20, отличающийся тем, что первое сообщение о подключении к MAC уровню, является сообщением, генерированным посредством включения поля индикации быстрой установки адреса в сообщение запроса маршрутизатора, передаваемого от терминала доступа на верхний уровень сети.
22. Способ по п.20, отличающийся тем, что второе сообщение о подключении к MAC уровню включает в себя первую зону, включающую в себя MAC заголовок и MAC сообщение для обработки MAC уровня и вторую зону, включающую в себя префикс.
23. Способ по п.22, отличающийся тем, что вторая зона дополнительно включает в себя поле произвольной генерации адреса, указывающее, будет ли терминал доступа произвольно генерировать IP адрес.
24. Способ по п.22, отличающийся тем, что вторая зона дополнительно включает в себя поле, указывающее, может ли терминал доступа использовать префикс для цели выделения канала.
25. Способ по п.22, отличающийся тем, что вторая зона дополнительно включает в себя поле, указывающее, является ли MAC адрес терминала доступа дублирующим MAC адрес в той же самой подсети.
26. Способ по п.22, отличающийся тем, что вторая зона дополнительно включает в себя поле, указывающее длину информации префикса.
27. Способ по п.26, отличающийся тем, что, если MAC адрес терминала доступа является единственным в подсети, терминал доступа использует поле информации, с длиной, определенной в информации о длине префикса в поле префиксной информации как префикс, комбинированный с MAC адресом, для генерации его собственного IP адреса.
28. Способ по п.22, отличающийся тем, что, если существует дублирующий MAC адрес, терминал доступа использует информацию, генерированную посредством комбинирования временного MAC адреса с префиксом, как адрес IPv6.
29. Система для передачи сообщения для генерирования адреса Протокола Интернет версии 6 (IPv6), содержащая по меньшей мере, один терминал доступа для передачи первого сообщения о подключении к уровню протокола управления доступом к среде (MAC), включающее в себя его собственный MAC адрес и поле индикации быстрой установки адреса, на место доступа; место доступа для приема первого сообщения о подключении к MAC уровню от терминала доступа, определения, существует ли дублирующий MAC адрес по отношению к MAC адресу терминала доступа в той же самой подсети, в которой расположен терминал доступа.
30. Система по п.29, отличающаяся тем, что, если определено, что MAC адрес является единственным, то место доступа передает второе сообщение о подключении к MAC уровню, включающее в себя MAC адрес терминала доступа и префикс, на терминал доступа и генерирует адрес IPv6 на основе второго сообщения о подключении к MAC уровню.
31. Система по п.29, отличающаяся тем, что, если определено, что существует дублирующий MAC адрес, место доступа генерирует временный MAC адрес, имеющий такую же длину, как и MAC адрес терминала доступа, и передает на терминал доступа второе сообщение о подключении к MAC уровню, включающее в себя 128-битную адресную информацию, генерированную посредством комбинирования временного MAC адреса с префиксом, представляющим подсеть, и терминал доступа использует эту 128-битную адресную информацию в качестве адреса IPv6.
32. Система для передачи сообщения для генерирования адреса Протокола Интернет версии 6 (IPv6), содержащая по меньшей мере, один терминал доступа для передачи первого сообщения о подключении к уровню протокола управления доступом к среде (MAC), включающего в себя его собственный MAC адрес и поле индикации быстрой установки адреса, на маршрутизатор; маршрутизатор для приема первого сообщения о подключении к MAC уровню от терминала доступа, и определения, существует ли дублирующий MAC адрес по отношению к MAC адресу терминала доступа в той же самой подсети, в которой расположен терминал доступа.
33. Система по п.32, отличающаяся тем, что, если определено, что MAC адрес является единственным, то маршрутизатор передает второе сообщение о подключении к MAC уровню, включающее в себя префикс, представляющий подсеть, на терминал доступа, и терминал доступа генерирует адрес IPv6 на основе второго сообщения о подключении к MAC уровню.
34. Система по п.32, отличающаяся тем, что, если определено, что существует дублирующий MAC адрес в той же самой подсети, маршрутизатор генерирует временный MAC адрес, имеющий такую же длину, как и MAC адрес терминала доступа, и передает на терминал доступа второе сообщение о подключении к MAC уровню, включающее в себя 128-битную адресную информацию, генерированную посредством комбинирования временного MAC адреса с префиксом, представляющим подсеть, и терминал доступа использует эту 128-битную адресную информацию в качестве адреса IPv6.
РИСУНКИ
|
|