|
|
(21), (22) Заявка: 2005130880/09, 05.10.2005
(24) Дата начала отсчета срока действия патента:
05.10.2005
(46) Опубликовано: 10.04.2007
(56) Список документов, цитированных в отчете о поиске:
RU 2186451 C1, 27.07.2002. RU 2130228 C1, 10.05.1999. RU 94046371 A1, 20.08.1996. RU 2084067 C1, 10.07.1997. US 3691858 А, 19.09.1972. US 3402308 А, 17.09.1968. GB 1291304 A, 04.10.1972. DE 3733781 A1, 27.04.1989.
Адрес для переписки:
630092, г.Новосибирск, пр. К. Маркса, 20, “Сибирь-Мехатроника”
|
(72) Автор(ы):
Сергиенко Владимир Максимович (RU), Астанин Владимир Октябринович (RU), Хомяков Владимир Васильевич (RU), Бикмурзин Васил Тимершович (RU)
(73) Патентообладатель(и):
ООО “Сибирь-Мехатроника” (RU)
|
(54) ПРЯМОХОДНЫЙ ИСПОЛНИТЕЛЬНЫЙ ЭЛЕКТРОМЕХАНИЗМ
(57) Реферат:
Изобретение относится к области электромашиностроения, а именно к электромеханическим силовым устройствам, и может быть использовано в различных областях машиностроения, металлургии и т.д. Техническим результатом является повышение надежности. Устройство содержит корпус, на котором установлены электродвигатель, винт на подшипниках со шкивами и приводным ремнем и устройство регулирования натяжения приводного ремня. Внутри корпуса расположены защитная труба, внутри которой по направляющей с возможностью продольного перемещения штоком с силовой гайкой и наконечником размещена втулка. На внутренней поверхности защитной трубы закреплены шпонка устройства антиповорота штока и гайка зажима подшипников, установленных на винте через промежуточную втулку. На упомянутой гайке зажима подшипников расположено устройство механического стопорения гайки зажима подшипников в корпусе. На защитной трубе установлены индуктивные концевые выключатели. При этом во внутреннюю часть защитной трубы с обеих ее сторон введены упоры, на конце штока выполнены продольный паз, радиальное отверстие и наружный буртик, установленный с возможностью взаимодействия с упорами. В продольный паз и радиальное отверстие вставлен вкладыш, который своими боковыми поверхностями охватывает шпонку и снабжен выступом, расположенным в шпоночном пазу силовой гайки, размещенной внутри штока, промежуточная втулка выполнена цельной и соединена с винтом фиксирующим элементом, установленным в месте расположения какого-либо подшипника. 4 з.п. ф-лы, 6 ил.
Предлагаемое изобретение относится к области электромашиностроения, а именно к электромеханическим силовым устройствам, в частности к прямоходным исполнительным электромеханизмам для перемещения рабочих органов различных агрегатов, например пробойника бункера электролизера, и может быть использовано в самых различных областях машиностроения, металлургии и т.д.
Известен прямоходный исполнительный электромеханизм (патент Российской Федерации №2186451, Кл. Н02К 7/10, К 7/06) содержащий корпус с защитной трубой, на который установлены электродвигатель, винт с передаточным звеном, шток с силовой гайкой и наконечником, устройство демпфирования ударных нагрузок.
Однако указанный электромеханизм имеет следующие недостатки:
повышенный осевой габарит по причине соосного расположения электродвигателя с корпусом, а также сложность конструкции из-за наличия специального демпфирующего устройства.
Кроме того, известен прямоходный исполнительный электромеханизм Фирмы “Servomech” (Италия) серии UAL 2…4 (Servomech.ru, стр.5, 97, 98), являющийся прототипом предлагаемого изобретения и содержащий корпус, на который установлены электродвигатель своим фланцем и винт со шкивами и приводным ремнем, защитная труба с направляющей втулкой, выполненной из мягкого материала (например, из фторопласта), в которой размещен с возможностью продольного перемещения шток с силовой гайкой (также из мягкого материала, например бронзы), шпонку устройства антиповорота штока, закрепленную на внутренней поверхности защитной трубы, гайку зажима подшипников, установленных на винте через составную промежуточную втулку, индуктивные концевые выключатели, закрепленные на защитной трубе.
Однако указанный электромеханизм имеет недостаток – низкую надежность. Это обусловлено следующими причинами.
При полном выдвижении или втягивании штока может происходить наезд торца силовой гайки на направляющую втулку или на промежуточную втулку подшипников соответственно. При высокой скорости движения штока от удара возможно повреждение контактируемых поверхностей указанных деталей, т.к. силовая гайка и направляющая втулка выполнены из мягких материалов.
Как известно, рабочий ход штока ограничивается индуктивными концевыми выключателями (KB).
Вышеуказанные наезды силовой гайки и возможные повреждения могут происходить по причине выхода из строя KB, их неправильной установки, а также в результате изменения условий эксплуатации, т.к. полный ход штока определяется не только установкой KB, но и его дополнительным перемещением (перебегом), величина которого зависит, например, от усилия на штоке и температуры.
Поэтому стационарная, нерегулируемая установка KB, применяемая в прототипе, может также привести к вышеуказанным наездам и повреждениям при изменении условий эксплуатации.
К тому же при работе электромеханизма усилие от шпонки устройства антиповорота штока воздействует непосредственно на силовую гайку, которая может вывернуться из штока, а выполнение промежуточной втулки составной и зажим ее на винте гайкой также приводит к понижению надежности, т.к. данная гайка также может вывернуться при эксплуатации.
Кроме этого, в указанном электромеханизме не предусмотрена регулировка натяжения приводного ремня, что при эксплуатации в результате дополнительного растяжения ремня может вызвать выход из строя последнего, при этом не предусмотрено устройство подачи смазки непосредственно на элементы силовой пары винт-гайка, что может привести к их повышенному износу и выходу из строя.
Также гайка зажима подшипников выполнена без надежного механического стопорения от проворота в любом положении, что может привести к ослабению осевого натяга подшипников, расфиксации винта и выходу из строя силовой гайки.
Задачей предлагаемого изобретения является повышение надежности электромеханизма.
Поставленная задача достигается тем, что в прямоходный исполнительный электромеханизм, содержащий корпус, на который установлены электродвигатель своим фланцем и винт на подшипниках со шкивами и приводным ремнем, защитная труба с размещенным в ее направляющей втулке с возможностью продольного перемещения штоком с силовой гайкой и наконечником, шпонку устройства антиповорота штока, закрепленную на внутренней поверхности защитной трубы, гайку зажима подшипников, установленных на винте через промежуточную втулку, индуктивные концевые выключатели, закрепленные на защитной трубе, введены устройство регулирования натяжения приводного ремня, расположенное на корпусе, устройство подвода смазки, расположенное на наконечнике, и устройство механического стопорения гайки зажима подшипников в корпусе, размещенное на ней, при этом во внутреннюю часть защитной трубы с обеих ее сторон введены упоры, на конце штока выполнены продольный паз, радиальное отверстие и наружный буртик, установленный с возможностью взаимодействия с упорами, а в продольный паз и радиальное отверстие вставлен вкладыш, который своими боковыми поверхностями охватывает шпонку и снабжен выступом, расположенным в шпоночном пазу силовой гайки, размещенной внутри штока, а промежуточная втулка выполнена цельной и соединена с винтом фиксирующим элементом, установленным в месте расположения какого-либо подшипника.
Также упоры во внутренней части защитной трубы могут быть выполнены в виде плоских кольцевых пружин.
Кроме того, устройство регулирования натяжения приводного ремня может быть выполнено в виде двух встречно направленных клиньев, стянутых крепежным элементом, а корпус снабжен лыской, причем клинья установлены своими опорными поверхностями на лыске корпуса, а скошенными поверхностями – на цилиндрическом фланце электродвигателя, при этом в корпусе выполнены поперечные пазы для размещения элементов крепления электродвигателя.
К тому же устройство механического стопорения гайки зажима подшипников может быть выполнено в виде как минимум одного резьбового элемента, установленного в как минимум один глухой торцевой паз гайки, выполненный с выходом на ее резьбовую часть, причем ширина паза равна наружному диаметру резьбового элемента, а резьба гайки и резьбового элемента выполнены с одинаковым шагом.
Также электромеханизм может быть снабжен по крайней мере одной, установленной на защитной трубе планкой и крышкой со сквозным и глухим продольным пазом соответственно, причем индуктивные концевые выключатели закреплены в сквозном пазу планки, а их чувствительная часть помещена в глухой паз крышки, при этом крышка установлена в окне защитной трубы, а на буртике штока в месте расположения крышки выполнена лыска.
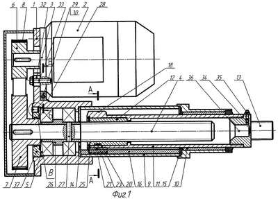
На фиг.1 приведен разрез предлагаемого электромеханизма, на фиг.2 – разрез А-А на фиг.1, на фиг.3 – разрез Б-Б на фиг.1, на фиг.4 – вид В на фиг.1, на фиг.5 – вид Г на фиг.4, на фиг.6 – разрез Д-Д на фиг.2.
Предлагаемый электромеханизм (фиг.1) содержит корпус 1, на который установлены электродвигатель 2 своим фланцем 3 и винт 4 на подшипниках 5 со шкивами 6 и 7 и приводным ремнем 8. В защитную трубу 9 в ее направляющую втулку 10 помещен шток 11 с силовой гайкой 12 и наконечником 13, а в ее внутреннюю часть неподвижно установлены упоры 14 и 15, выполненные в виде плоских кольцевых пружин, и шпонка 16, закрепленная к защитной трубе 9 винтами 17 (фиг.2). На конце штока 11 выполнены наружный буртик 18, а также продольный паз 19 и радиальное отверстие 20, в которые вставлен вкладыш 21, имеющий внутренние боковые поверхности 22 и выступ 23. Вкладыш 21 боковыми поверхностями 22 охватывает шпонку 16, а своим выступом 23 входит в шпоночный паз 24 силовой гайки 12, которая полностью размещена внутри штока 11 и фиксируется кольцом 25. Подшипники 5 (фиг.1) установлены на винте 4 через цельную промежуточную втулку 26, которая соединена с ним фиксирующим элементом, выполненным в виде штифта 27 и установленным в месте расположения какого-либо подшипника 5, т.е. под ним.
На корпусе 1 (фиг.3) выполнены лыска 28, на которую установлены клинья 29 и 30, стянутые винтом 31, и пазы 32, в которые помещены элементы 33 крепления электродвигателя 2.
На наконечнике 13 (фиг.1) выполнены радиальное отверстие 34 со вставленным в него устройством подвода смазки, например в виде масленки 35, и осевое отверстие 36, соединяющее отверстие 34 и внутреннюю полость штока 11.
В резьбовое отверстие корпуса 1 установлена гайка 37 (фиг.4 и 5), в которой выполнен как минимум один глухой торцевой паз 38 с выходом на резьбовую часть, в который вставлен по меньшей мере один нажимной резьбовой элемент, например винт 39, причем ширина паза 38 “b” равна наружному диаметру “d” винта 39, т.е. b=d, а резьбы гайки 37 и винта 39 выполнены с одинаковым шагом.
На защитной трубе 9 установлены по крайней мере одна планка 40 (фиг.2 и 6) со сквозным продольным пазом 41 и крышка 42 с глухим продольным пазом 43, причем индуктивные выключатели 44 закреплены в сквозном пазу 41 планки 40 гайками 45, а их чувствительная часть 46 помещена в глухой паз 43 крышки 42, при этом последняя установлена в окнах 47 защитной трубы 9, а на буртике 18 штока 11 в месте расположения крышки 42 выполнена лыска 48.
Электромеханизм работает следующим образом.
Реверсивное вращение от вала электродвигателя 2 передается через шкивы 6 и 7 приводным ремнем 8 на винт 4, зацепленный своей резьбой с силовой гайкой 12, а т.к. шток 11 вместе с гайкой 12 зафиксированы от проворота неподвижной шпонкой 16 через вкладыш 21, то шток 11 совершает возвратно-поступательное движение, перемещая наконечник 13, соединенный с рабочим органом (на фиг.1 не показан). В аварийных режимах возможен наезд буртика 18 штока 11 на кольцевые пружины 14 и 15, которые смягчают удары, не приводя к повреждениям. Осевое усилие через подшипники 5 воспринимают промежуточная втулка 26 и штифт 27, при этом на другие детали, установленные на винт 4 (например шкив 7), данное усилие не воздействует. Размещение штифта 27 под подшипником 5 исключает его выпадение при вращении винта 4.
Регулирование величины натяжения приводного ремня 8, а также его подтяжка при эксплуатации осуществляются поворотом винта 31 при предварительном ослаблении элементов 33 крепления электродвигателя 2. При этом клинья 29 и 30 сдвигаются и воздействуют своими скосами на фланец 3 электродвигателя 2, изменяя межосевое расстояние последнего и винта 4, а следовательно, и шкивов 6 и 7, изменяя таким образом натяжку приводного ремня 8. Элементы 33 при этом вместе с электродвигателем 2 перемещаются относительно пазов 32 корпуса 1. После проведения данной регулировки элементы 33 вновь затягиваются.
Пополнение смазки при эксплуатации производится через масленку 35, при этом смазка поступает через отверстия 34 и 36 наконечника 13 внутрь штока 11 на передний конец винта 4.
Затяжка подшипников 5 гайкой 37 производится обычным способом, после чего в паз 38 гайки 37 вводится нажимной винт 39 и затягивается до упора в дно паза 38, при этом винт 39 зацепляется с резьбой корпуса 1 (резьбовое соединение в данном случае – внецентренное) и стопорит гайку 37 от проворота в любом ее положении.
При эксплуатации возможна дополнительная подтяжка подшипников 5 гайкой 37 при предварительном ослаблении винтов 39.
Для регулирования хода штока 11 производится перемещение KB 44 в пазах 41 и 43 планки 40 и крышки 42 при предварительном ослаблении гаек 45. KB 44 реагируют на наличие или отсутствие под их чувствительной частью 46 наружной поверхности штока 11. Выполнение глухого паза 43 в крышке 42, а также лыски 48 на буртике 18 штока 11 позволяет приблизить чувствительную часть 46 к поверхности последнего на требуемый рабочий зазор, который обычно составляет 2…5 мм, сохраняя герметичность защитной трубы 9.
Таким образом, в предлагаемом электромеханизме в отличие от прототипа обеспечен смягченный аварийный наезд штока на внутренние упоры, причем шток, который изготовлен из качественной стали, непосредственно сам, а не силовая гайка, воспринимает усилия от шпонки антиповорота и от упоров, при этом динамические усилия от упоров могут превышать номинальные во много раз, особенно при больших скоростях движения штока в вертикальном направлении.
Выполнение промежуточной втулки цельной с фиксирующим элементом, а гайки зажима подшипников с предлагаемым стопорением повышает надежность фиксации подшипников на винте и в корпусе.
Введенное устройство регулирования натяжения приводного ремня позволяет установить требуемую величину его натяжки как при наладке, так и при эксплуатации, увеличивая ресурс работы ременной передачи и уменьшая число выходов ее из строя.
Введенное устройство подвода смазки позволяет заправлять и пополнять смазкой внутреннюю полость штока, смазывая силовую передачу винт-гайка, уменьшая ее износ и вероятность выхода из строя, при этом данное устройство, расположенное на наконечнике, позволяет произвести заправку смазкой при любом вылете штока.
Кроме этого, в предлагаемом электромеханизме предусмотрена возможность продольного перемещения KB и, следовательно, возможность регулирования величины рабочего хода штока для исключения аварийных наездов на упоры, вызывающих повышенный износ силовой гайки, при изменившихся условиях эксплуатации.
Таким образом, предлагаемый электромеханизм имеет более высокую надежность.
Формула изобретения
1. Прямоходный исполнительный электромеханизм, содержащий корпус, на который установлены электродвигатель своим фланцем и винт на подшипниках со шкивами и приводным ремнем, защитная труба с размещенным в ее направляющей втулке с возможностью перемещения штоком с силовой гайкой и наконечником, шпонку устройства антиповорота штока, закрепленную на внутренней поверхности защитной трубы, гайку зажима подшипников, установленных на винте через промежуточную втулку, индуктивные концевые выключатели, закрепленные на защитной трубе, отличающийся тем, что он снабжен устройством регулирования натяжения приводного ремня, расположенным на корпусе, устройством подвода смазки, расположенным на наконечнике, и устройством механического стопорения гайки зажима подшипников в корпусе, размещенным на ней, причем во внутреннюю часть защитной трубы с обеих ее сторон введены упоры, на конце штока выполнены продольный паз, радиальное отверстие и наружный буртик, установленный с возможностью взаимодействия с упорами, а в продольный паз и радиальное отверстие вставлен вкладыш, который своими боковыми поверхностями охватывает шпонку и снабжен выступом, расположенным в шпоночном пазу силовой гайки, размещенной внутри штока, при этом промежуточная втулка выполнена цельной и соединена с винтом фиксирующим элементом, установленным в месте расположения какого либо подшипника.
2. Прямоходный исполнительный электромеханизм по п.1, отличающийся тем, что упоры во внутренней части защитной трубы выполнены в виде плоских кольцевых пружин.
3. Прямоходный исполнительный электромеханизм по п.1, отличающийся тем, что устройство натяжения приводного ремня выполнено в виде двух встречно направленных клиньев, стянутых крепежным элементом, а корпус снабжен лыской, причем клинья установлены своими опорными поверхностями на лыске корпуса, а скошенными поверхностями на цилиндрическом фланце электродвигателя, при этом в корпусе выполнены поперечные пазы для размещения элементов крепления электродвигателя.
4. Прямоходный исполнительный электромеханизм по п.1, отличающийся тем, что устройство механического стопорения гайки зажима подшипников выполнено в виде как минимум одного нажимного резьбового элемента, установленного в как минимум один глухой торцевой паз гайки, выполненный с выходом на ее резьбовую часть, причем ширина паза равна наружному диаметру резьбового элемента, а резьбы гайки и резьбового элемента выполнены с одинаковым шагом.
5. Прямоходный исполнительный электромеханизм по п.1, отличающийся тем, что он снабжен, по крайней мере, одной планкой со сквозным продольным пазом, установленной на защитной трубе, и крышкой с глухим продольным пазом, установленной в окнах защитной трубы, при этом индуктивные концевые выключатели закреплены в сквозном пазе планки, а их чувствительная часть помещена в глухой паз крышки, причем на буртике штока в месте расположения крышки выполнена лыска.
РИСУНКИ
|
|