|
|
(21), (22) Заявка: 2005131892/09, 17.10.2005
(24) Дата начала отсчета срока действия патента:
17.10.2005
(46) Опубликовано: 10.04.2007
(56) Список документов, цитированных в отчете о поиске:
RU 2193809 C1, 27.11.2002. SU 1149335 A1, 07.04.1985. SU 2774 A1, 30.04.1927. SU 964809 A1, 07.10.1982. US 1519923 A, 16.12.1924. DE 2610768 A, 28.04.1977. DE 3329475 A, 07.02.1985. FR 2386163 A, 27.10.1978.
Адрес для переписки:
111123, Москва, ул. 1-я Владимирская,, 10а, стр.1, оф.5, “ООО Научно-технический центр ОПТОНИКА”, В.Н. Маркову
|
(72) Автор(ы):
Марков Валерий Николаевич (RU)
(73) Патентообладатель(и):
Марков Валерий Николаевич (RU)
|
(54) КОНТАКТНАЯ СИСТЕМА ОСВЕТИТЕЛЬНОГО ПРИБОРА
(57) Реферат:
Изобретение относится к области электротехники. Техническим результатом является упрощение и повышение надежности контактной системы осветительного прибора, повышение прочности и снижение стоимости. Контактная система осветительного прибора состоит из патрона с внутренней резьбовой поверхностью, боковым и центральным контактом и цоколя, выполненного в виде стакана с внешней резьбовой поверхностью, с боковой контактной поверхностью, контактной шайбой, изолятором и центральным электродом. Цоколь изготовлен из твердого диэлектрического материала, а боковой контактный элемент цоколя выполнен из электропроводящего материала, вставлен в резьбовую систему цоколя. Контактные элементы снабжены электрическими выводами, выполненными гибким изолированным проводом, проходящим во внутренней части цоколя. Элементы управления источниками света установлены во внутреннюю полость цилиндрического корпуса. На внешней поверхности корпуса установлена плата с осветительными приборами. Плата закрыта прозрачным рассеивателем. 7 з.п. ф-лы, 8 ил.
Заявленное изобретение относится к электротехнической промышленности, в частности к производству осветительных приборов, и может быть применено при изготовлении контактных систем осветительных приборов с невысоким нагревом корпуса, в частности для светодиодных источников света.
Известен контактная система осветительного прибора, описанный в авторском свидетельстве СССР № 1372430, МПК H01R 33/22 “Патрон для электрических ламп накаливания с резьбовым цоколем”, опубл. 07.02.1988.
Известная контактная система содержит резьбовую систему, состоящую из патрона с боковым и центральным контактом и цоколя, выполненного в виде цилиндра с боковым контактом, контактной шайбой и изолятором.
Недостаток известной контактной системы состоит в том, что боковые контактные поверхности резьбовой системы цоколя и патрона имеют площадь, во много раз превосходящую площадь контакта между контактной шайбой цоколя и центральным контактом патрона. Для формирования боковой контактной поверхности цоколя требуется большое количество металла, а сам световой прибор имеет относительно большой вес.
Более близким по технической сущности и, принятым за прототип, является контактная система осветительного прибора, содержащая элементы управления и цилиндрическую резьбовую систему. В свою очередь, резьбовая система состоит из патрона с внутренней резьбовой поверхностью, боковым и центральным контактом и цоколя, выполненного в виде стакана с внешней резьбовой поверхностью, боковым контактом, контактной шайбой и изолятором. См., например, патент РФ №2193809, МПК Н01R 33/22 “Патрон для лампы”, опубл. 27.11.2002 г. в Б.И. № 33.
Известная контактная система обеспечивает хороший контакт между боковыми поверхностями патрона и цоколя.
Однако в ней, также как и в аналоге, резьбовые поверхности выполнены из металла и имеют большую площадь. Такое исполнение резьбовых поверхностей для современных осветительных приборов нельзя признать рациональным, так как для их производства расходуется много металла и они сложны в изготовлении. Кроме того, традиционные патроны и цоколи имеют большой вес.
Современные светодиодные источники света обладают значительно большей эффективностью преобразования электрической энергии в световую энергию, чем лампы накаливания (ЛН). В частности, например, светоизлучающие диоды (СИД) обеспечивают световую отдачу в три-пять раз большую, чем ЛН. В перспективе предполагается увеличение световой эффективности СИД еще в два-три раза. Иными словами, лампы, в которых источником света является СИД, при том же световом потоке, что и ЛН, потребляют в несколько раз меньшую электрическую энергию. Поэтому поверхность контактной системы для источников света, в которых используются СИД, с небольшими значениями плотности тока можно существенно уменьшить. Кроме того, нагрев корпуса светодиодных источников света не превышает 50°С, что позволяет использовать в конструкции контактных элементов пластмассу. Продолжительность непрерывного свечения СИД-ламп достигает 100 тысяч часов, что в 200 раз превышает срок службы ЛН. Если домашний светильник в среднем светит 5 часов в сутки, то СИД-лампа в таком режиме способна прослужить не менее 50 лет. Таким образом, появилась необходимость в разработке для источников света, выполненных на основе СИД, нового контактного элемента.
Целью данного изобретения, является создание простой и надежной контактной системы осветительного прибора с цилиндрической резьбовой поверхностью и центральным и боковым контактом, которая, сохраняя форму традиционной, имеет меньший вес, меньшую металлоемкость и обеспечивает хороший и надежный электрический контакт между источником света и источником электропитания. Дополнительно ставиться задача упрощения технологии изготовления контактных элементов системы, повышение их прочности и снижение стоимости.
Поставленная цель достигается за счет того, что в известной контактной системе осветительного прибора, содержащей элементы управления и состоящей из патрона с внутренней резьбовой поверхностью, боковым и центральным контактом и цоколя, выполненного в виде стакана с внешней резьбовой поверхностью, с боковой контактной поверхностью, контактной шайбой, изолятором и центральным электропроводом, соединяющим контактную шайбу с источником света, согласно изобретению цоколь выполнен из твердого диэлектрического материала, на боковой внешней поверхности цоколя установлен контактный элемент из электропроводящего материала, который имеет электрический вывод, выполненный гибким изолированным проводом и проходящий внутри цоколя, центральный электропровод выполнен из гибкого изолированного провода, проходящего внутри цоколя, в верхней части цоколя установлен цилиндрический корпус с печатной платой и со световыми приборами, элементы управления расположены внутри цилиндрического корпуса, причем длина гибких проводов больше высоты цоколя.
В варианте технического решения контактный элемент из электропроводящего материала расположен в нижней части цоколя.
В варианте технического решения патрон с внутренней резьбовой поверхностью выполнен из твердого диэлектрического материала.
В варианте технического решения контактный элемент из электропроводящего материала цоколя установлен на его внешней резьбовой поверхности, повторяет рельеф резьбы резьбовой поверхности и охватывает только часть резьбовой поверхности цоколя с одной его стороны, а резьбовая поверхность патрона выполнена из электропроводящего материала и имеет электрический контакт с боковым контактом.
В варианте технического решения контактный элемент из электропроводящего материала выполнен в виде подпружиненного металлического стержня, выходящего в отверстие, имеющееся в резьбовой поверхности цоколя.
В варианте технического решения цоколь выполнен из упругого материала.
В варианте технического решения цоколь выполнен герметичным и наполнен инертным газом с избыточным давлением.
Выполнение цоколя из твердого диэлектрического материала позволяет уменьшить вес всей конструкции.
Расположение элементов управления в верхней части цоколя в цилиндрическом корпусе с печатной платой и со световыми приборами дает возможность сократить габаритные размеры осветительных приборов, выполненных с использованием СИД.
Расположение контактного элемента из электропроводящего материала в нижней части цоколя позволит использовать для СИД-ламп облегченный цоколь и стандартный патрон.
Выполнение патрона с внутренней резьбовой поверхностью из твердого диэлектрического материала позволит сократить металлоемкость изделия, снизить его вес и упростить технологию изготовления.
Расположение контактного элемента из электропроводящего материала на его внешней резьбовой поверхности и повторяющего рельеф резьбы, а выполнение резьбовой поверхности патрона из электропроводящего материала, имеющего электрический контакт с боковым контактом, дает возможность организовать надежный контакт для световых приборов относительно большой мощности.
Выполнение контактного элемента из электропроводящего материала в виде подпружиненного стержня, выходящего в отверстие, имеющееся в резьбовой поверхности цоколя, способствует упрощению технологии изготовления цоколя.
Выполнение цоколя из упругого материала обеспечит лучший электрический контакт между электропроводящими контактными поверхностями патрона и цоколя и позволит снизить вероятность самопроизвольного отвинчивания.
Выполнение цоколя герметичным и наполнение его инертным газом с избыточным давлением будет способствовать более плотному соприкосновению контактных элементов. Это связано с тем, что если контакты соприкасаются между собой не достаточно плотно, то они нагреваются, нагревают находящийся в цоколе газ и последний, расширяясь, будет прижимать контакты друг к другу.
Использование гибких проводов отходящих от контактной шайбы и боковых контактов цоколя, длина которых больше высоты цоколя позволит упростить монтаж световых элементов на цоколе.
Контактная система осветительного прибора иллюстрируется 8-ю фигурами.
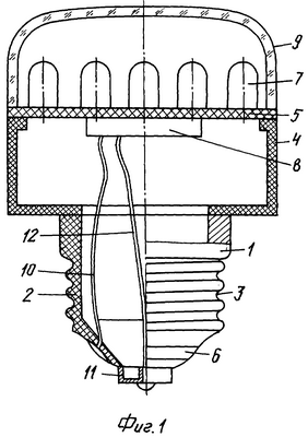
На фиг.1 представлен световой прибор с цоколем, имеющим контактный элемент из электропроводящего материала, расположенный снизу.
На фиг.2 показан цоколь со стороны контактной шайбы.
На фиг.3, 4 – цоколь с контактным элементом из электропроводящего материала поверхности диэлектрической резьбовой системы в двух проекциях.
На фиг.5 имеется сечение цоколя по фиг.4.
На фиг.6 нарисован патрон с боковым резьбовым контактом.
На фиг.7 представлен цоколь с контактным элементом из электропроводящего материала, выполненным в виде подпружиненного металлического стержня, выходящего в отверстие, имеющееся в резьбовой поверхности цоколя.
На фиг.8 имеется цоколь, корпус которого выполнен из упругого материала.
Общие для всех фигур детали обозначены одинаково.
Контактная система осветительного прибора состоит из цоколя 1 (фиг.1, 2), выполненного в виде стакана 2, на поверхности которого имеется цилиндрическая резьба 3. На верхнюю часть цоколя установлен полый цилиндрический корпус 4 с бортиками (не обозначены) в верхней и нижней частях. Внешний диаметр корпуса 4 больше, чем у стакана 2. Величина внешнего диаметра цилиндрического корпуса 4 определяется размерами печатной платы 5, установленной на бортиках его торцевой внешней поверхности. Цоколь выполнен из твердого диэлектрического материла. В нижней конической части стакана 2 имеется боковой контактный элемент, в виде поверхности 6, имеющей вид полого усеченного конуса, выполненного из электропроводящего материала, например из металла. Этот контактный элемент представляет слой, расположенный на внешней поверхности диэлектрического стакана. Его площадь и расположение зависит от боковой контактной поверхности стандартного патрона и должна с ним соприкасаться аналогично стандартному цоколю. На верхней лицевой поверхности цилиндрического корпуса 4 установлена печатная плата 5, на которой расположены светодиоды 7. В нижней части платы 5, внутри цилиндрического корпуса 4 установлен светоэлектронный блок 8. Сверху плата 5 со светодиодами 7 закрыта прозрачным рассеивателем 9. В блоке 8 находится система управления, содержащая преобразователь напряжения (конвертер), стабилизирующие ток элементы и, если требуется генератор-преобразователь напряжения, например, в серию импульсов (не обозначены). Система управления может содержать и другие вспомогательные устройства. К контактной поверхности 6 припаян гибкий провод 10, проходящий внутри цоколя и который вторым своим концом подсоединен к светоэлектронному блоку 8. В нижней, центральной части цоколя 1 имеется контактная шайба 11, также вставленная в диэлектрический материал цоколя и изолированная от контактной поверхности 6 тем же диэлектрическим материалом, из которого выполнен цоколь. От контактной шайбы 11 отходит, припаянный к ней изолированный гибкий провод 12, проходящий внутри цоколя и вторым своим концом подсоединенный к светоэлектронному блоку 8. Цоколь 1 вворачивается в стандартный патрон (не показан), который подключен к источнику электрического питания. Стандартный патрон имеет подпружиненный центральный контакт, контактирующий с контактной шайбой 11 цоколя и пружинящий дугообразный боковой контакт, контактирующий с боковой контактной поверхностью 6 цоколя 1.
В варианте технического решения патрон с внутренней резьбовой поверхностью выполнен из твердого диэлектрического материала, при этом центральный и боковой его контакты имеют традиционную конструкцию.
В варианте технического решения боковой контактный элемент из электропроводящего материала представляет собой поверхность 13 (фиг.3, 4, 5), расположенную на поверхности резьбы 3 стакана 2 цоколя 1 и повторяет рельеф этой резьбы. Контактная поверхность 13 охватывает часть резьбовой поверхности стакана 2, располагаясь только на одной его стороне. Эта контактная поверхность изготовлена из электропроводящего материала, например, в виде металлического слоя. Все остальные элементы системы аналогичны фиг.1. Патрон при этом содержит пластмассовый корпус 14 (фиг.6), центральный контакт 15 и резьбовой боковой контакт 16, выполненный из электропроводящего материала. Резьбовая поверхность патрона 16 электрически соединена с перемычкой 17. К центральному контакту 15 и к перемычке 17 подсоединены электрические провода соответственно 18 и 19 внешнего питания. Резьба 16 патрона совпадает с резьбой 3 цоколя.
В варианте технического решения контактный элемент из электропроводящего материала выполнен в виде стержня 20 (фиг.7), выступающего в отверстие 21, имеющееся в резьбовой пластмассовой поверхности цоколя 1. С тыльной стороны стержень 20 опирается на пружину 22, второй конец которой упирается на противоположную внутреннюю стенку цоколя. При этом выступающая поверхность металлического стрежня повторяет рельеф резьбы 3 цоколя 1. Стержень может быть выполнен из металла или пластмассы. В последнем случае электропроводящий материал нанесен на выступающую его часть, к которой также подводится провод 10.
В варианте технического решения стакан 2 цоколя 1 изготовлен из упругого диэлектрического материала. При этом стакан корпуса цоколя выполнен в виде гармошки 23 (фиг.8). Боковой контактный элемент из электропроводящего материала, расположенный на поверхности цоколя может быть выполнен либо в соответствии с фиг.1, 2 (стандартный патрон или патрон, корпус которого изготовлен из пластмассы), либо, согласно фиг.3, 4, т.е. находиться на его резьбовой поверхности. В последнем случае должен быть применен патрон с резьбовой контактной поверхностью (фиг.6).
В варианте технического решения цоколь 1 выполнен герметичным и инертным наполнен газом с избыточным давлением. Стакан цоколя имеет тот же вид, что и на фиг.7, т.е. выполнен в виде гармошки. Такой цоколь также может производиться в разных вариантах исполнения контактной поверхности и использоваться в паре с соответствующим этому исполнению патроном.
Контактная система осветительного прибора работает следующим образом.
Цоколь, выполненный из диэлектрического материала, в котором контактный элемент из электропроводящего слоя расположен в его нижней части (фиг.1, 2), может быть применен для всех стандартных патронов, предназначенных для стандартных цоколей. Внедрение только такого цоколя является промежуточным решением. Радикальным решением является применение патрона с внутренней резьбовой поверхностью, выполненной из твердого диэлектрического материала. В этом случае достигается наибольшее снижение металлоемкости и веса контактных элементов.
Применение цоколя с контактным элементом из электропроводящего слоя, вставленным в его внешнюю резьбовую поверхность (фиг.3, 4), требует наличие специального патрона, резьбовая поверхность которого выполнена из электропроводящего материала (фиг.5). Такое техническое решение оправдано, если применен источник света большой мощности.
Технология изготовления таких контактных систем проста, а стоимость продукции минимальна.
Цоколь с подпружиненным стержнем (фиг.6) работает следующим образом. Если цоколь находится в нерабочем положении, то подпружиненный стержень 18 несколько выступает за пределы резьбовой поверхности цоколя (1-2 мм). При завинчивании его в патрон стержень вдвигается в полость цоколя, а пружина 20 обеспечивает его прижим к контактной поверхности патрона. Такое конструктивное решение дает возможность в значительной степени упростить изготовление корпуса цоколя. Патрон при этом должен быть выполнен в соответствии с фиг.5, т.е. иметь резьбовую контактную поверхность.
Выполнение цоколя из упругого материала обеспечит дополнительный прижим контактов. Аналогичный эффект получается и при выполнении цоколя герметичным и наполненным газом с избыточным давлением. Если, по каким-то причинам, контактный прижим ослабеет, то происходит их нагрев. Газ в цоколе, нагреваясь, увеличивает объем цоколя и прижимает контакты.
Предлагаемый цоколь может быть изготовлен методом литья, широко распространенным при изготовлении различных пластмассовых изделий, и позволит в значительной степени упростить производство как самого цоколя, так и источников света, выполненных на основе СИД.
Формула изобретения
1. Контактная система осветительного прибора, содержащая элементы управления и состоящая из патрона с внутренней резьбовой поверхностью, боковым и центральным контактом и цоколя, выполненного в виде стакана с внешней резьбовой поверхностью, с боковой контактной поверхностью, контактной шайбой, изолятором и центральным электропроводом, соединяющим контактную шайбу с источником света, отличающаяся тем, что цоколь выполнен из твердого диэлектрического материала, на боковой внешней поверхности цоколя установлен контактный элемент из электропроводящего материала, который имеет электрический вывод, выполненный гибким изолированным проводом и проходящий внутри цоколя, центральный электропровод выполнен из гибкого изолированного провода, проходящего внутри цоколя, в верхней части цоколя установлен цилиндрический корпус с печатной платой и со световыми приборами, элементы управления расположены внутри цилиндрического корпуса, причем длина гибких проводов больше высоты цоколя.
2. Контактная система осветительного прибора по п.1, отличающаяся тем, что контактный элемент из электропроводящего материала расположен в нижней части цоколя.
3. Контактная система осветительного прибора по любому из пп.1 и 2, отличающаяся тем, что патрон с внутренней резьбовой поверхностью выполнен из твердого диэлектрического материала.
4. Контактная система осветительного прибора по п.1, отличающаяся тем, что контактный элемент из электропроводящего материала установлен на его внешней резьбовой поверхности, повторяет рельеф резьбы резьбовой поверхности и охватывает только часть резьбовой поверхности цоколя с одной его стороны, а резьбовая поверхность патрона выполнена из электропроводящего материала и имеет электрический контакт с боковым контактом.
5. Контактная система осветительного прибора по любому из пп.1-4, отличающаяся тем, что контактный элемент из электропроводящего материала выполнен в виде подпружиненного стержня, выходящего в отверстие, имеющееся в резьбовой поверхности цоколя.
6. Контактная система осветительного прибора по п.5, отличающаяся тем, что подпружиненный стержень выполнен из металла.
7. Контактная система осветительного прибора по п.5, отличающаяся тем, что подпружиненный стержень выполнен из пластмассы, электропроводящим материалом покрыта его часть, выступающая в отверстие.
8. Контактная система осветительного прибора по любому из пп.1-4, отличающаяся тем, что цоколь выполнен герметичным и наполнен инертным газом с избыточным давлением.
РИСУНКИ
QA4A – Сведения о заявлении обладателя патента Российской Федерации или патента СССР на изобретение о предоставлении любому лицу права на использование изобретения (открытая лицензия) в соответствии с пунктом 2 статьи 13 Патентного закона РФ
(73) Патентообладатель:
Марков Валерий Николаевич
(54) КОНТАКТНАЯ СИСТЕМА ОСВЕТИТЕЛЬНОГО ПРИБОРА
Номер и год публикации бюллетеня: 10-2007
Адрес для переписки:
109542, Москва, Рязанский пр-кт, 70, корп.1, кв.71
Извещение опубликовано: 27.09.2007 БИ: 27/2007
|
|