|
|
(21), (22) Заявка: 2005130678/09, 04.10.2005
(24) Дата начала отсчета срока действия патента:
04.10.2005
(46) Опубликовано: 10.04.2007
(56) Список документов, цитированных в отчете о поиске:
КАРБОВСКИЙ С.Б. и др. Ферритовые циркуляторы и вентили. – М.: Советское радио, 1970, с.26-27. RU 44878 U1, 27.03.2005. SU 338959 A1, 01.01.1972. US 2833993 A, 06.05.1958. US 4916414 A, 10.04.1990.
Адрес для переписки:
111123, Москва, ул. Плеханова, 6, ФГУП “ГМЗ “Салют”, директору В.А. Панину
|
(72) Автор(ы):
Немоляев Алексей Иванович (RU)
(73) Патентообладатель(и):
Федеральное государственное унитарное предприятие “Государственный московский завод “Салют” (RU)
|
(54) ВОЛНОВОДНЫЙ ВЕНТИЛЬ ФАЗОВОГО ТИПА
(57) Реферат:
Изобретение относится к радиотехнике СВЧ и может быть использовано в волноводных трактах высокого уровня мощности, например, в качестве межкаскадного развязывающего устройства передатчика РЛС. Волноводный вентиль фазового типа содержит отрезок прямоугольного волновода, разделенный пополам в Е-плоскости перегородкой из магнитомягкого материала. В одном из волноводных каналов двухканального невзаимного фазовращателя размещен 90-градусный взаимный фазовращатель. Поглощающая нагрузка выполнена в виде диэлектрической трубки, заполненной проточной водой, и размещена в продольных щелях перегородки вдоль узких стенок волновода. Техническим результатом являются обеспечение широкополосности, способности работать в дециметровом диапазоне длин волн и на повышенных уровнях мощности, а также уменьшение габаритов. 6 ил.
Изобретение относится к радиотехнике сверхвысокой частоты (СВЧ) и может быть использовано в волноводных трактах высокого уровня мощности, например, в качестве межкаскадного развязывающего устройства передатчика радиолокационной станции (РЛС).
Известные конструкции волноводных вентилей (А.А.Микаэлян «Теория и применение ферритов на сверхвысоких частотах», ГЭИ, М., 1963 г.) – вентили резонансного типа, вентили на смещении поля, предельные вентили – характеризуются компактностью конструкции, но сравнительно узкополосны и имеют ограниченные возможности для работы на высоком уровне мощности из-за перегрева ферритового вкладыша. Поэтому для работы на высоких уровнях мощности обычно используются волноводные Y-циркуляторы (патент РФ № 2168247, H 01 P 1/37, 2001 г.) или циркуляторы фазового типа с волноводной нагрузкой на свободных выходах (С.Б.Карбовский, В.Н.Шахгеданов «Ферритовые циркуляторы и вентили», М., «Советское радио», 1970 г.).
Волноводные вентили с использованием фазового циркулятора по сравнению с другими типами вентилей обладают наибольшей широкополосностью (до 30%) и способны работать при весьма значительных уровнях мощности; однако они имеют большие габариты, особенно в дециметровом диапазоне длин волн. Это обусловлено тем, что в состав фазового циркулятора, помимо невзаимного фазовращателя, входят так называемые мостовые устройства: двойные волноводные тройники и 3-дБ направленные ответвители.
Задачей, на решение которой направлено предлагаемое изобретение, является создание малогабаритного волноводного вентиля, обладающего свойствами циркулятора фазового типа.
Техническими результатами, достигаемыми при реализации предлагаемого изобретения, являются широкополосность, способность работать в дециметровом диапазоне длин волн и на повышенных уровнях мощности, а также уменьшение габаритов.
Сущность предлагаемого изобретения заключается в устранении из конструкции волноводного вентиля на базе фазового циркулятора мостовых устройств и замене волноводных нагрузок на поглотители СВЧ энергии (далее поглощающая нагрузка). Поглощающая нагрузка конструктивно совмещена с двухканальным невзаимным фазовращателем, выполненным на отрезке прямоугольного волновода, в Е-плоскости разделенного пополам перегородкой из магнитомягкого материала, плоскость которой параллельна широким стенкам прямоугольного волновода, в одном из волноводных каналов которого размещен 90-градусный взаимный фазовращатель. Поглощающая нагрузка выполнена в виде диэлектрической трубки, заполненной проточной водой, и размещена в продольных щелях перегородки вдоль узких стенок прямоугольного волновода.
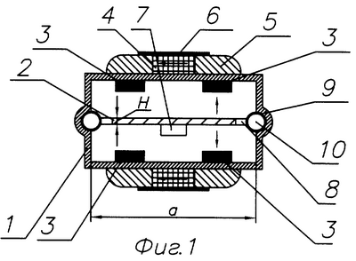
На фиг.1 и 2 приведена конструкция волноводного вентиля фазового типа, состоящего из отрезка прямоугольного волновода 1 сечением a×b, в Е-плоскости разделенного пополам перегородкой 2 на два волноводных канала половинной высоты, расположенных один над другим. Разделяющая волновод 1 перегородка 2 выполнена из магнитомягкого материала, а ее плоскость параллельна широким стенкам волновода 1 и находится в плоскости расположения магнитных силовых линий распространяющейся электромагнитной волны, то есть в Н-плоскости. На широких стенках разделенного пополам волновода 1 в области круговой поляризации СВЧ магнитного поля размещены ферритовые пластины 3, которые подмагничены магнитной системой, состоящей из постоянных магнитов 4, полюсных наконечников 5 и настроечных магнитных шунтов 6. Конфигурация магнитных полей Н в области расположения ферритовых пластин в волноводных каналах волноводного вентиля фазового типа показана стрелками. Количество ферритового материала и подмагничивающее поле Н выбираются из условия получения дифференциального невзаимного фазового сдвига, равного 90 градусов. В одном из волноводных каналов, помимо ферритовых пластин 3, размещены диэлектрические пластины 7, создающие взаимный фазовый сдвиг, равный 90 градусам. В продольных щелях 8, прорезанных в перегородке 2 вдоль узких стенок волновода 1, размещены диэлектрические трубки 9, по которым циркулирует проточная вода 10, выполняющая функции объемного СВЧ-поглотителя.
На фиг.3 и 4 приведены конфигурации электрических полей Е СВЧ в волноводных каналах волноводного вентиля фазового типа при синфазном и противофазном состояниях, а на фиг.5 и 6 – условия образования этих состояний, поясняющие принцип работы волноводного вентиля фазового типа. Принцип действия волноводного вентиля фазового типа основан на различии конфигурации электрических полей Е СВЧ в области продольных щелей 8 при распространении в волноводном вентиле фазового типа (см. фиг.2) волн в противоположных направлениях. При распространении волн слева направо (фиг.5) в волноводных каналах происходят одинаковые сдвиги фаз: в верхнем волноводном канале – невзаимный сдвиг фаз н за счет ферритовых пластин 3, а в нижнем волноводном канале – взаимный сдвиг фаз в за счет диэлектрических пластин 7, которые уравновешивают друг друга (разность фаз  = н– в=0) на протяжении всего пути l=l0. При обратном распространении (фиг.6) за счет невзаимных свойств ферритового фазовращателя н меняет знак, так что разность фаз  распространяющихся волн монотонно возрастает и у левого конца перегородки 2 достигает значения 180 градусов.
Конфигурация электрической составляющей Е поля СВЧ в щелях 8 между волноводными каналами для волн, распространяющихся слева направо, показана на фиг.3, а для волн, распространяющихся в обратном направлении, – на фиг.4. При синфазности волн в волноводных каналах электрические составляющие Е поля СВЧ параллельны узким стенкам волновода 1, а при противофазных волнах возникают электрические составляющие Е поля СВЧ, направленные перпендикулярно узким стенкам волновода 1. В первом случае диэлектрические трубки 9 с водой 10 оказываются вне поля Е и волны проходят через устройства без ослабления, а во втором случае – в поле Е, что приводит к ослаблению СВЧ-колебаний. Ослабление начинается с возникновения даже небольшой разности фаз  и нелинейно возрастает, достигая своего максимума при  =180 градусов. Оставшийся уровень противофазных волн, отражаясь от входного конца перегородки 2, претерпевает дальнейшее ослабление, которое по мере уменьшения  также уменьшается. Основная характеристика волноводного вентиля фазового типа – вентильное отношение, определяемое отношением обратных потерь к прямым потерям, – зависит от многих конструктивных факторов, в том числе и от поперечного сечения диэлектрической трубки с водой и от ее расположения в волноводе.
При экспериментальной проверке работоспособности волноводного вентиля фазового типа в диапазоне частот от 2 до 2,5 ГГц получено: прямые потери – не более 0,5 дБ, а обратные – более 20 дБ, что является типичным для вентилей дециметрового диапазона длин волн.
Формула изобретения
Волноводный вентиль фазового типа, содержащий двухканальный невзаимный фазовращатель, взаимный фазовращатель и поглощающую нагрузку, отличающийся тем, что двухканальный невзаимный фазовращатель выполнен на отрезке прямоугольного волновода, разделенного пополам перегородкой из магнитомягкого материала, плоскость которой параллельна широким стенкам прямоугольного волновода, в одном из каналов которого размещен взаимный фазовращатель, а поглощающая нагрузка выполнена в виде диэлектрической трубки, заполненной проточной водой, и размещена в продольных щелях перегородки вдоль узких стенок прямоугольного волновода.
РИСУНКИ
Прежний патентообладатель:
Федеральное государственное унитарное предприятие “Государственный московский завод “Салют”
(73) Патентообладатель:
Открытое акционерное общество “Научно-производственное предприятие “Салют”
Договор № РП0000883 зарегистрирован 13.07.2010
Извещение опубликовано: 20.08.2010 БИ: 23/2010
|
|