|
|
(21), (22) Заявка: 2005117676/09, 07.06.2005
(24) Дата начала отсчета срока действия патента:
07.06.2005
(43) Дата публикации заявки: 20.11.2006
(46) Опубликовано: 10.04.2007
(56) Список документов, цитированных в отчете о поиске:
SU 179812 A1, 20.04.1966. SU 517090 A1, 05.06.1976. RU 2235394 С2, 27.08.2004. FR 2392512 A, 22.12.1978.
Адрес для переписки:
127299, Москва, ул. Клары Цеткин, 18, ФГУП “НПП “Дельта”
|
(72) Автор(ы):
Шморгун Александр Шмулевич (RU), Киселев Юрий Михайлович (RU)
(73) Патентообладатель(и):
Федеральное государственное унитарное предприятие “НПП “Дельта” (RU)
|
(54) МАЛОГАБАРИТНОЕ СОЕДИНИТЕЛЬНОЕ УСТРОЙСТВО
(57) Реферат:
Изобретение относится к области электротехники, в частности к электрическим соединителям. Технический результат – уменьшение габаритов конструкции и обеспечение удобства в эксплуатации. Корпус устройства состоит из двух жестко соединенных пластин из изоляционного материала со сквозными соосными отверстиями для контактных элементов. Дополнительно введенный держатель состоит из двух Z-образных пластин с соосными отверстиями и Г-образным выступом. Крепежные элементы обеспечивают жесткое крепление пластин из изоляционного материала, контактных элементов и держателей, контактируя с отверстиями в Г-образных выступах. Дополнительные крепежные элементы контактируют с соосными отверстиями Z-образных пластин, обеспечивая их жесткое соединение. 3 ил.
Изобретение относится к электрическим соединительным устройствам и может быть использовано для соединения электрических цепей.
Известно соединительное устройство, состоящее из гнезда, установленного в корпусе из изоляционного материала, и держателя (заявка №2392512, Франция, H01R 13/36, 1979 г.).
Недостатком известного соединительного устройства является большой габарит устройства.
Наиболее близким технические решением к изобретению является соединительное устройство, состоящее из колодки из изоляционного материала, состоящего из двух частей, со сквозными отверстиями, в которых установлены гнезда (а.с. №179812, 1965 г., H02F).
Недостатком данной конструкции является большой габарит устройства.
Задачей изобретения является уменьшение габаритов конструкции, обеспечение удобства в эксплуатации.
Технический результат, полученный при осуществлении изобретения заключается в следующем.
В малогабаритное соединительное устройство, содержащее корпус, состоящий из двух жестко соединенных пластин из изоляционного материала, со сквозными соосными отверстиями с проточками в местах соединения двух пластин, контактные элементы с кольцевыми выступами в их средней части и крепежные элементы, дополнительно введены держатель и крепежные элементы, держатель состоит из двух Z-образных пластин с Г-образными выступами и соосными отверстиями, а в Г-образных выступах выполнены отверстия, соосные с отверстиями в корпусе, при этом крепежные элементы обеспечивают жесткое крепление пластин из изоляционного материала, контактных элементов и держателей через отверстия в Г-образных выступах, а дополнительные крепежные элементы контактируют с соосными отверстиями Z-образных пластин, обеспечивая их жесткое соединение.
Такая конструкция малогабаритного соединительного устройства обеспечивает решение поставленных задач.
Таким образом, предлагаемое техническое решение обладает новизной и изобретательским уровнем.
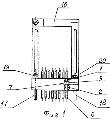
На фиг.1, 2, 3 изображено малогабаритное соединительное устройство.
В соосные отверстия 1, 2 с проточкой 3 пластин из изоляционного материала 4, 5 установлены контактные элементы 6 с кольцевым выступом 7, а в соосные отверстия 8, 9 пластин 4, 5 и отверстия 10, 11 Г-образных выступов 12, 13 Z-образных пластин 14, 15 держателя 16 установлены крепежные элементы 17, 18 с гайками 19, 20. Z-образные пластины 14, 15 жестко соединены дополнительными крепежными элементами 21, 22 через соосные отверстия 23, 24. Соединенные Z-образные пластины 14, 15 держателя 16 образуют отверстие 25 для фиксации жгута кабелей.
Работает малогабаритное соединительное устройство следующим образом. Крепежные элементы 17, 18 жестко соединяют пластины из изоляционного материала 4, 5, размещенные в соосных отверстиях 1, 2 с проточкой 3, контактные элементы 6 с кольцевым выступом 7 и Г-образные выступы 12, 13 держателя 16 с помощью отверстий 10, 11. Z-образные пластины 14, 15 жестко соединены дополнительными крепежными элементами 21, 22, образуя отверстие 25 для фиксации жгута кабеля. Держатель 16 таким образом образует жесткую конструкцию, обеспечивающую применение необходимых усилий для введения малогабаритного устройства в ответную часть и выведение его из ответной части.
Формула изобретения
Малогабаритное соединительное устройство, содержащее корпус, состоящий из двух жестко соединенных пластин из изоляционного материала со сквозными отверстиями с проточками в местах соединения двух пластин, в которых установлены контактные элементы с кольцевыми выступами в средней части, и крепежные элементы, отличающееся тем, что дополнительно введен держатель, состоящий из двух Z-образных пластин с соосными отверстиями и Г-образными выступами, выполненными с отверстиями, в пластинах корпуса выполнены отверстия, соосные отверстиям в Г-образных выступах, причем указанные крепежные элементы установлены в соосных отверстиях пластин корпуса и Г-образных выступов и обеспечивают жесткое крепление пластин корпуса, контактных элементов и держателей, а Z-образные пластины жестко соединены через их соосные отверстия дополнительно введенными крепежными элементами, образуя в соединенном виде отверстие для фиксации жгута кабеля.
РИСУНКИ
|
|