|
|
(21), (22) Заявка: 2004130333/09, 19.10.2004
(24) Дата начала отсчета срока действия патента:
19.10.2004
(43) Дата публикации заявки: 27.03.2006
(46) Опубликовано: 10.04.2007
(56) Список документов, цитированных в отчете о поиске:
ПОЛТЕВ А.И. Конструкции и расчет элегазовых аппаратов высокого напряжения. – Л.:Энергия: 1975, с.214-216 и 231-232. SU 951432 A1, 15.08.1982. US 3596152 А, 27.07.1971. US 4131931 A, 26.12.1978.
Адрес для переписки:
105082, Москва, ул. Бакунинская, 43/55, кв.63, А.Г. Арсону
|
(72) Автор(ы):
Арсон Александр Григорьевич (RU), Чурсинов Александр Михайлович (RU)
(73) Патентообладатель(и):
Арсон Александр Григорьевич (RU), Чурсинов Александр Михайлович (RU)
|
(54) КОНДЕНСАТОР ДЛЯ ИЗМЕРЕНИЯ НАПРЯЖЕНИЯ С ПОМОЩЬЮ ЕМКОСТНОГО ДЕЛИТЕЛЯ НАПРЯЖЕНИЯ
(57) Реферат:
Изобретение относится к электротехнике и может быть использовано для измерения напряжения с помощью емкостного делителя напряжения. Конденсатор содержит установленный на изоляционном опорном цилиндрическом кожухе заполненный изолирующей средой металлический корпус, являющийся первой обкладкой конденсатора, в котором находится вторая обкладка конденсатора в виде горизонтально расположенной металлической трубы, укрепленной на верхнем конце опорной трубы, и дополнительная обкладка в виде трубы, установленной внутри второй обкладки, соосно с ней, и электрически соединенная с корпусом. Нижний конец опорной трубы закреплен на металлическом основании конденсатора перпендикулярно оси опорной трубы. Опорная труба выполнена составной из отрезков металлических труб, жестко соединенных из между собой отрезком трубы из изоляционного материала. Конденсатор содержит изоляционную цилиндрическую колонку из высокопрочного материала, закрепленную внутри опорного изоляционного кожуха соосно с опорной трубой. Технический результат заключается в увеличении емкости конденсатора и повышении надежности. 1 ил.
Изобретение относится к электротехнике и может быть использовано для измерения напряжения с помощью емкостного делителя напряжения.
В настоящее время известны способы создания емкостных делителей для измерения напряжения с помощью емкостных трансформаторов напряжения типа НДЕ. В качестве высоковольтного плеча емкостного делителя используются последовательно соединенные конденсаторы связи, обладающие значительной емкостью, что позволяет отбирать от емкостного делителя дополнительную мощность. При этом конденсаторы связи являются маслонаполненным оборудованием, то есть пожаро- и взрывоопасны, а при последовательном соединении этих конденсаторов высока вероятность получения значения емкости высоковольтного плеча, существенно отличающейся от расчетной. [1].
Наиболее близким по технической сущности и достигаемому результату является емкостной делитель напряжения, применяемый в элегазовых комплектных распределительных устройствах, в которых цилиндрический конденсатор высоковольтного плеча образуется цилиндрическим токопроводом и металлической цилиндрической обкладкой, изолированной от заземленного корпуса. Значение емкости высоковольтного плеча зависит от отношения диаметров токопровода и обкладки, а также от длины обкладки [2].
Такая конструкция с заземленным корпусом может применятся только в элегазовых КРУ, а в случае применения на открытой подстанции в этой конструкции должен быть применен высоковольтный ввод для соединения токопровода с проводами высокого напряжения.
Задачей данного изобретения является создание конструкции высоковольтного плеча емкостного делителя, которая может быть установлена на открытой подстанции без применения высоковольтного ввода и без последовательного соединения масляных конденсаторов.
Данная задача решается таким образом, что цилиндрический металлический корпус, являющийся одной из обкладок высоковольтного конденсатора, заполненный изолирующей средой, установленный на изоляционном опорном цилиндрическом кожухе, также заполненном изолирующей средой, содержит вторую обкладку высоковольтного конденсатора в виде металлической трубы, расположенной горизонтально, и дополнительную обкладку, электрически соединенную с металлическим корпусом и расположенную соосно с металлической трубой, представляющей собой вторую обкладку конденсатора. Вторая обкладка в виде металлической трубы закреплена на верхнем конце опорной трубы, в полости которой проходит отвод от второй обкладки высоковольтного конденсатора. Опорная труба может состоять из отрезков металлических труб жестко соединенных друг с другом с помощью трубы из изоляционного материала или выполнять целиком из изоляционного материала. При этом опорная труба расположена внутри изоляционной цилиндрической колонки из высокопрочного материала, которая закреплена внутри изоляционного опорного цилиндрического кожуха соосно с опорной трубой.
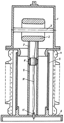
На чертеже представлен высоковольтный конденсатор в разрезе, выполненный согласно данному изобретению.
Высоковольтный конденсатор наружной установки содержит металлический корпус 1, являющийся обкладкой конденсатора, выполненный в виде цилиндра, в котором размещена вторая обкладка конденсатора 2, выполненная в виде металлической трубы, расположенной горизонтально, а также содержит размещенную соосно с металлической трубой 2 дополнительную цилиндрическую обкладку 3, соединенную электрически с корпусом 1. Корпус 1 установлен на опорном изоляционном цилиндрическом кожухе 4, который отделен от остального объема конденсатора цилиндрической колонкой из высокопрочного материала 5. Кожух 4 и колонка 5 опираются на металлическое основание конденсатора 6. Вторая обкладка конденсатора 2 в виде трубы закреплена на опорной трубе, состоящей из отрезков металлических труб 7 и 8 и жестко соединяющего их отрезка трубы 9 из изоляционного материала. Отвод от второй обкладки 2 выполнен проводником 10, проложенным в полости опорной трубы и выведен наружу через проходной изолятор 11, установленный на металлическом основании 6.
Отрезок трубы 9 из изоляционного материала, установленный между отрезками металлических труб 7 и 8, позволяет разорвать электрическое соединение между второй обкладкой 2 высоковольтного конденсатора и заземленным металлическим основанием 6 и вывести отвод от второй обкладки высоковольтного конденсатора для соединения с конденсатором низковольтного плеча емкостного делителя напряжения.
Изоляция между металлическим корпусом 1 и дополнительной обкладкой 3, соединенной с корпусом 1 и металлической трубой 2, а также между вертикальной опорной трубой, состоящей из деталей 7, 8, 9, и металлическим корпусом 1, выполнена газовой или чисто масляной и не содержит в себе элементов твердой изоляции, что обеспечивает в зонах максимальной напряженности электростатического поля получение высокой электрической прочности изоляции.
Введение высокопрочной изоляционной колонки 5, разделяющей объем конденсатора на две части исключает воздействие высокого давления изолирующего газа или высокого давления газа, образовавшегося в случае разложения масла при возникновении дугового замыкания внутри высоковольтного конденсатора, на стенки изоляционного опорного кожуха 4, выполненного из изоляционного материала с невысокой механической прочностью, например фарфора.
Источники информации
1. Трансформаторы. Выпуск 27. Трансформаторы напряжения. А.М.Дымков, В.М.Кибель, Ю.В.Тишенин. М.: Энергия. 1975 г. С.81-90.
2. Конструкции и расчет элегазовых аппаратов высокого напряжения. А.И.Полтев. Л.: Энергия. Ленинградское отделение. 1975 г. С.214-216 и 231-232.
Формула изобретения
Высоковольтный конденсатор наружной установки, содержащий установленный на опорном изоляционном цилиндрическом кожухе заполненный изолирующей средой металлический корпус, являющийся первой обкладкой конденсатора, в которой размещается вторая обкладка конденсатора, выполненная в виде металлической трубы, расположенной горизонтально, и дополнительная обкладка, электрически соединенная с металлическим корпусом и расположенная соосно с металлической трубой, являющейся второй обкладкой, причем вторая обкладка закреплена на верхнем конце опорной трубы, нижний конец которой закреплен на металлическом основании конденсатора перпендикулярно к оси опорной трубы, отличающийся тем, что дополнительная обкладка выполнена в виде металлического цилиндра, расположенного внутри второй обкладки, а опорная труба состоит из отрезков металлических труб и жестко соединяющего их отрезка трубы из изоляционного материала, в полостях которых проходит отвод от второй обкладки, выведенный наружу через проходной изолятор.
РИСУНКИ
|
|