| На основании пункта 3 статьи 13 Патентного закона Российской Федерации от 23 сентября 1992 г. № 3517-I патентообладатель обязуется передать исключительное право на изобретение (уступить патент) на условиях, соответствующих установившейся практике, лицу, первому изъявившему такое желание и уведомившему об этом патентообладателя и федеральный орган исполнительной власти по интеллектуальной собственности, – гражданину РФ или российскому юридическому лицу. |
|
(21), (22) Заявка: 2005124578/28, 02.08.2005
(24) Дата начала отсчета срока действия патента:
02.08.2005
(46) Опубликовано: 10.04.2007
(56) Список документов, цитированных в отчете о поиске:
SU 1730327 A1, 30.04.1992. RU 2156844 C2, 27.09.2000. SU 556357, 31.05.1977. RU 2211277 С1, 27.08.2003.
Адрес для переписки:
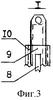
79059, г. Львов, ул. Мазепы, 23, кв.179, Ю.С. Рахубовскому
|
(72) Автор(ы):
Рахубовский Юрий Сидорович (UA)
(73) Патентообладатель(и):
Рахубовский Юрий Сидорович (UA)
|
(54) ИЗМЕРИТЕЛЬ СЦЕПНЫХ КАЧЕСТВ ДОРОЖНОГО ПОКРЫТИЯ И ПНЕВМОКОЛЕСА В ЗОНЕ КОНТАКТА ПРИ ИЗМЕНЯЕМЫХ СКОРОСТИ ДВИЖЕНИЯ И УДЕЛЬНЫХ ДАВЛЕНИЙ НА ПОВЕРХНОСТЬ
(57) Реферат:
Измеритель сцепных качеств дорожного покрытия содержит опорную раму, имитатор шины с образцами протектора и их пригрузом, спусковой механизм. Опорная рама выполнена из телескопических, вдвигающихся одна в другую секций с центральной и двумя откидными на шарнирах боковыми стойками с возможностью крепления в Т-образном положении. Стойки содержат выдвижные шипы, крепящие раму на поверхности дорожного покрытия при выполнении измерений. Имитатор шины и набор плоских гирь пригруза объединены общим корпусом с резервуаром для воды и дозатором вытекания ее на дорожное покрытие. Пружинный движитель для осуществления перемещения имитатора шины выполнен с возможностью взвода его ручным приводом через редуктор, снабжен регулятором преднатяга пружины и вариатором скорости перемещения и силы тяги подвижной ветви полиспаста. Конец цепи подвижной ветви полиспаста закреплен в вариаторе согласно требуемой скорости перемещения имитатора шины по дорожному покрытию, определяемой с помощью секундомера с автоматическим включением-выключением, осуществляемым одновременно с началом-концом вращения сменной круговой диаграммы самописца с динамометром, вмонтированным в неподвижную ветвь полиспаста и измеряющим величину тягового усилия. Технический результат – возможность измерения сил трения скольжения и покоя в продольном и поперечном направлениях покрытия автодороги в зоне контакта шины. 2 ил.
Изобретение относится к техническим средствам обеспечения функционирования транспортного комплекса: водитель – автомобиль – дорога путем контроля каждого из составляющих элементов установленным нормативом безопасности дорожного движения. Значительное числе ДТП (дорожно-транспортных происшествий) связано со скользкостью покрытий автодорог и улиц, качеством автомобильных шин, конструкциями тормозных устройств и навыками вождения водителями-автовладельцами.
Органы ГАИ (ГИБДД) и судебной автотехнической экспертизы в интересах выяснения причин и виновников обязаны производить инструментальное измерение коеф. сцепления в месте события ДТП.
Однако в ПДД (Правила дорожного движения) регламентируются нормативы по величинам замедления для автотранспорта различных весовых категорий только со скорости начала торможения в 40 км/час, тогда как современный подвижной состав отличается высокой динамичностью и в подавляющем числе случаев ДТП торможение происходит со скорости 100-150 км/час и более.
Нормативы сцепных качеств автодорог, как вновь построенных, так и находящихся в эксплуатации, регламентируют величину коеф. сцепления вдоль дороги со скорости не более 60 км/час.
При этом коеф. сцепления автодорог в поперечном направлении покрытия, обеспечивающего устойчивость и управляемость автомобилей при выполнении маневров на поворотах, виражах, обгонах и др., не измеряется и не нормируется вообще, что не обеспечивает требования безопасности дорожного движения.
Статистикой ДТП установлено, что 75-80% их случаев происходит по причинам человеческого фактора – водителей. При вождении к наиболее опасному управляющему воздействию относится процесс торможения автомобиля, особенно с большой скорости движения и в сложных дорожных условиях: в дождь, при обледенении, загрязнении поверхности автодороги листьями, выносах грунта, заснеженности и др. Поэтому во многих конструкциях автомобилей предусматриваются дублирование и автоматизация процесса торможения путем использования антиблокировочной системы АБС, обеспечивающей оптимальность процесса торможения даже неумелым водителем.
Главная функция АБС состоит в исключении торможения юзом , т.е. скольжении колеса по поверхности дороги, силу трения которого и измеряют при определении коеф. продольного сцепления имеющимися в настоящее время приборами. Длина следа торможения юзом при ДТП является основным артефактом, по размеру и характеру которого – прерывистый, сплошной и др. – автотехническая экспертиза определяет техническое состояние автомобилей, водительское умение соучастников и виновника случившегося ДТП. Однако автомобили, оборудованные АБС (а с 01.01.2005 г. все автомобили должны выпускаться с АБС) при исправном состоянии ее, на дороге при торможении не должны оставлять следов юза . Исправность же АБС можно определить только путем измерения величины трения сил покоя в контакте автошины и дороги, величину которых имеющиеся приборы для измерения коеф. сцепления покрытий автодорог не измеряют.
Отсутствие приборов объективного контроля фактических значений коеф. сцепления не обеспечивает объективности всех последующих разбирательств обстоятельств ДТП по установлению виновника и ответчика по возмещению материального ущерба, его административной или уголовной ответственности в соответствии уже вступившим в силу Законом об обязательном страховании всех автовладельцев. Учитывая уже имеющуюся численность автовладельцев в РФ – свыше 24,5 млн при темпе ежегодного прироста в 1,0 млн в последние 7 лет и 200-250 тыс. ДТП ежегодно, волны автострахового цунами накроют в ближайшее время все правовые институции государства.
В качестве прототипа принято изобретение по а.с. SU 1730327 А1 Устройство для оценки сцепных качеств дорожных покрытий .
Функциональным узлам прототипа присущ ряд недостатков, не позволяющих производить измерение коеф. сцепления по всей гамме фактических скоростей начала торможения, поскольку возможная скорость перемещения имитатора шины 5 с пригрузом 13 ограничена скоростью свободного падения составного груза 8, не превышающей 9,8 м/сек2 или 36 км/час.
Кроме того, пригруз 13 не позволяет моделировать удельное давление на образцы трения в имитаторе шины 5 в соответствии с реальной нагрузкой по каждой из осей автомобиля (автопоезда). Условия трения в имитаторе шины 5 ограничены или сухой поверхностью покрытия дороги, или увлажненной предварительным поливом из поливальной машины ранее, после чего невозможно создать реальные условия и толщину пленки воды на покрытии во время его увлажнения струями падающего дождя, провоцирующей эффект аквапланирования – полный отрыв пневматического колеса от поверхности автодороги.
Пространственная конструкция опорной рамы 1 в виде жесткого треугольника, в котором размещены функциональные узлы прототипа, не удовлетворяют условиям портативности и возможности при наименьших линейных размерах выполнять измерения на возможно большей протяженности покрытия автодороги, особенно в поперечном сечении проезжей части ее, поскольку поверхность покрытия дороги под левыми и правыми колесами автомобиля имеет (колея проезжей части) разные коеф. сцепления под влиянием факторов эксплуатации, что создает разницу сил сопротивления качению колес, возникновению вращательного момента при торможении, следствием чего возникают заносы автомобиля, выбросы его на полосу встречного движения и др. явления потери устойчивости и управляемости.
Результатом изобретения является техническое обеспечение возможности объективных измерений фактических значений сил трения скольжения и покоя в продольном и поперечном направлениях покрытия автодороги в зоне контакта шины (образцов ее протектора) в широком диапазоне скоростей движения и удельных нагрузок (осевого веса), которые имеют место при эксплуатации средств сухопутного транспорта, особенно автомобилей, моделирование этих сил в условиях сухого или дозированого увлажнения покрытия автодороги с оценкой их соответствия нормативным значениям коеф. сцепления из Правил содержания и эксплуатации автодорог.
Целью является также портативная компоновка функциональных узлов средства измерения, поскольку определение фактического значения коеф. сцепления является обязательным действием при составлении протокола о событии ДТП (а Инструкцией о выполнении судебной автотехнической экспертизы запрещается использование табличных данных о коеф. сцепления в месте ДТП, равно как и судьям запрещено принимать табличные данные во внимание в судебных процессах по ДТП), что предполагает массовое использование прибора инспекторами ГИБДД, комиссарами автостраховых фирм, автотехническими экспертами, дорожными мастерами и службами технического содержания автодорог и др., выполняющих свои служебные функции путем перемещения к месту ДТП на автомобиле или мотоцикле с коляской.
Сущность изобретения – указанные цели достигаются тем, что, для обеспечения портативности опорная рама выполнена из телескопических вдвигающихся одна в другую секций с центральной и двумя откидными на шарнирах боковыми стойками с возможностью крепления в Т-образном положении, стойки содержат выдвижные шипы, крепящие раму на поверхности дорожного покрытия при выполнении измерений.
Для расширения диапазона скоростей движения имитатора шины по поверхности покрытия автодороги в соответствии с реальными скоростями и начала торможения современных высокодинамичных автомобилей, движитель образцов трения выполнен пружинным с предварительным регулируемым натягом пружины в комбинации с многоступенчатым вариатором крутящего момента привода и скорости линейного перемещения имитатора шины по поверхности покрытия автодороги.
Взвод пружинного движителя осуществляется ручным приводом через редуктор и управляемую муфту соединения-рассоединения его от привода, что обеспечивает независимость от иных источников энергии кроме мускульных усилий исполнителя измерений.
Реальные удельные нагрузки в зоне контакта имитатора с покрытием автодороги создаются набором гирь пригруза в зависимости от осевых нагрузок средств транспорта и давления воздуха в шинах, объединенных в одном блоке с резервуаром для воды и механизмом дозированого полива зоны трения имитатора шины по покрытию автодороги, что позволяет моделировать водяную пленку на покрытии в зависимости от интенсивности дождя во время совершения ДТП.
Потенциальная сила тяги, накапливаемая пружинным движителем при его взводе, регистрируется на съемной бумажной диаграмме через 5 или 10 кГс по динамометру, объединенному с самописцем и встроенному в неподвижную ветвь полиспаста, тогда как диск крепления диаграммы встроен в подвижную ветвь полиспаста и начинает свое вращение одновременно с началом движения имитатора автошины по покрытию автодороги.
При этом движении часть силы тяги движителя затрачивается на преодоление сил трения в зоне контакта имитатора шины и покрытия автодороги, что и регистрируется самописцем на бумажной диаграмме.
Одновременно с вращением диаграммы самописца автоматически включается и секундомер, который фиксирует время перемещения имитатора шины по покрытию и включается при его остановке, что позволяет определить фактическую скорость перемещения имитатора в км/час.
В рабочем состоянии рама измерителя закрепляется на участке покрытия, где выполняются измерения, с помощью выдвижных штырей, находящихся внутри опорных стоек рамы в ее транспортном положении, что исключает возможность сдвижения под воздействием реактивных сил и обеспечивает идентичность многоразовых измерений для получения среднего значения.
Конструктивно “Измеритель…” содержит такие узлы и детали:
Фиг.1 – главный вид измерителя;
Фиг.2 – вид сверху -“-;
Фиг.3 – вид регулятора преднатяга пружины движителя;
где в том числе:
1 – участок покрытия автодороги;
2 – имитатор шины;
3 – шип фиксации рамы измерителя на покрытии автодороги;
4 – педаль спуска имитатора автошины;
5 – выдвижная центральная стойка рамы;
6 – штырь шипа фиксации рамы измерителя;
7 – блок полиспаста с кронштейном его крепления к стойке:
8 – внутренний стержень пружинного движителя;
9 – ввинчиваемый оголовник регулятора преднатяга пружины;
10 – резьбовая часть наружного корпуса пружинного движителя;
11 – зажим-фиксатор первой выдвижной секции рамы;
12 – – – второй – – – -;
13 – изменяемая по длине часть подвижной ветви полиспаста;
14 – вариатор скорости движения и силы тяги подвижной ветви полиспаста;
15 – элементы выдвижных секций рамы;
16 – подвижная ветвь полиспаста;
17 – диск-компенсатор длины подвижной ветви полиспаста с сменной (бумажной) диаграммой самописца;
18 – секундомер;
19 – динамометр с самописцем;
20 – откидная стойка рамы;
21 – зацеп спускового устройства имитатора автошины;
22 – ручка для переноса имитатора автошины с гирями пригруза;
23 – корпус имитатора автошины;
24 – регулятор режима увлажнения зоны поверхности трения на автодороге;
25 – резервуар запаса воды;
26 – стальная лента взвода пружинного движителя;
27 – неподвижный блок -“- -“- -“-;
28 – наружный корпус пружинного движителя;
29 – кронштейн крепления неподвижного блока пружинного движителя;
30 – петля крепления откидной стойки рамы;
31 – траверс для крепления узлов и деталей;
32 – неподвижная ветвь полиспаста;
33 – поперечины крепления откидной стойки рамы;
34 – пружина;
35 – подвижный блок ленты взвода пружинного движителя;
36 – амортизатор блока;
37 – редуктор взвода пружинного движителя;
38 – рукоятка привода редуктора с валом;
39 – кронштейн крепления рукоятки;
40 – соединительная муфта;
41 – шкив намотки ленты пружинного движителя;
42 – плоские гири наборного пригруза имитатора автошины.
Работа измерителя – в транспортном положении измеритель перевозится в багажнике любого легкового автомобиля или коляске мотоцикла, поскольку состоит из двух мест: рамы с закрепленными на ней функциональными узлами и блока имитатора автошины, состоящего из корпуса 23 и комплекта плоских гирь 42 в нем. Измеритель размещается на поверхности покрытия автодороги, на котором необходимо выполнить измерения коеф. сцепления и в зависимости от его типа: продольного или поперечного, рама измерителя ориентируется вдоль покрытия дороги или поперек колеи полосы движения.
Выдвижная стойка 5 выдвигается на необходимую длину зоны измерения и фиксируется в этом положении зажимами секций 11 и 12. Откидные стойки рамы 20 отводятся в стороны, образуя букву Т, и в этом положении автоматически стопорятся специальными выпилами в петлях. Используя металическую надставку и молоток, несколькими ударами по оголовникам штырей 6 забивают шипы 3 в асфальтобетонное покрытие, фиксируя положение рамы от возможных смещений при воздействии реактивных сил. В случае измерений на булыжной мостовой или цементнобетонных плитах покрытия, шипы забиваются в промежутки между булыжниками или плитами, причем для надежной фиксации достаточно закрепление рамы двумя шипами в любом их сочетании. Затем за ручку 22 берут имитатор шины, корпус которого 23 имеет снизу П-образный туннель по всей длине, ширина которого несколько больше поперечного сечения наиболее толстой секции рамы. При этом имеющиеся внутри туннеля пружинные обтюраторы фиксируют равноудаленность расположения имитатора в исходном положении на самой тонкой секции рамы, причем по вертикали высота П-образного туннеля в корпусе несколько больше высоты всех нижних труб секций рамы в ее рабочем положении – все штыри фиксации забиты в покрытие дороги, что обеспечивает беспрепятственное опирание имитатора шины с закрепленными образцами протектора только на поверхность дороги.
Имитатор автошины устанавливают П-образным туннелем на самую тонкую секцию нижней части рамы 15 и опирают образцами протектора автошины 2 на покрытие автодороги 1, затем сдвижением к стойке 5 зацеп 21 корпуса 23 вводят в зацепление с зацепом педального спуска 4.
Из корпуса 23 вынимают излишние (по условиям проведения измерения соответственно требующемуся удельному весу в кг/см2 согласно имеющейся площади образцов протектора шины) плоские гири, причем остающееся количество их должно быть одинаковым в левом и правом карманах корпуса 23. Затем регулятор режима увлажнения 24 (открывающийся автоматически с началом движения образцов протектора) устанавливают в необходимое по заданию измерений положение (высота водяной пленки при дожде определенной интенсивности согласно справке метеослужбы в месте события ДТП) и в резервуар запаса 25 наливают воду из возимой емкости (канистры).
Запасовку гибкого рабочего органа, выполненного в виде мелкозвенчатой цепи из продолговатых витых или цилиндрических звеньв круглого сечения, выполняют начиная с закрепления неподвижной ветви полиспаста 32 к подвижному элементу динамометра 19, на втором конце которого, тоже подвижном, закреплено пишущее устройство в виде держателя фломастера или рапидографа (шариковые ампулы не обеспечивают надежности фиксации), сменяемых на другие цвета для наглядности многократных измерений на одном и том же месте (обычно не менее трех).
Подвижную ветвь полиспаста 16 запасовывают по блокам 7 в соответствии со стрелками на фиг.1-2 или схемой в инструкции по эксплуатациии, а изменяемую по длине ветвь 13 закрепляют в соответствующем ручье вариатора 14 согласно требуемой скорости перемещения имммитатора шины по покрытию автодороги 1. Убедившись, что муфта 40 находится в положении “включено” и соединяет шкив вариатора 14 с редуктором 37, вращением рукоятки взвода пружины 38 приводят движитель в рабочее положение, накапливая потенцильную энергию. Величину этой энергии контролируют по показаниям динамометра 19 и рисок-отметок на сменной бумажной диаграмме самописца 17 через 5 или 10 кГс.
При накоплении энергии, величина которой соответствует весу набора гирь 42 в иммитаторе шины 23, дальнейший взвод пружины 34 прекращают. В случае, если вес набора гирь превышает величину энергии полностью взведенной пружины 34, используют устройство предварительного сжатия ее путем ввинчивания оголовника 9 в резьбовую часть 10 наружного корпуса пружинного движителя 28.
Работа пружинного движителя основана на сокращении длины стальной (или композитной) ленты, ветви которой расположены по обоим сторонам пружины 34, находящейся внутри ее наружного корпуса 28 по всей высоте его до резьбовой части 10. Ниже резьбовой части в специальной прорези закреплен к корпусу один из концов ленты, а серединная часть ее в невзведенном состоянии пружины 34 опирается на подвижный вращающийся блок 35, который закреплен в прорези упора внутреннего стержня 8, на который опирается нижняя часть пружины 34. Второй конец ленты переброшен через вращающийся, но неподвижный блок 27 и закреплен к шкиву 41 вариатора 14. При вращении рукоятки взвода 38 и редуктора 37 лента наматывается на шкив 41, длина ее уменьшается и возникающее реактивное усилие сжимает пружину 34, накапливающей потенциальную энергию сжатия.
Убедившись, что все подготовительные операции выполнены в соответствии с инструкцией и в рабочей зоне измерителя на поверхности покрытия автодороги нет посторонних предметов или конечностей обслуживающих людей оператор муфту 40 переводит в положение “разъединено”, после чего усилием конечного значения энергии взведенной пружины 34 ветви привода 13, 16 и 32 натягиваются, а перемещающиеся и вращающиеся узлы и детали удерживаются в покое только зацепом 21.
При нажатии оператором педали спуска 4 зацеп 21 освобождается, пружина 34 разжимается и своим внутренним стержнем 8 через блок 35 воздействует на ленту 26. Поскольку один конец ленты закреплен к корпусу движителя 28 неподвижно, а второй через вращающийся блок (но закрепленный неподвижно) соединен со шкивом вариатора 41, то усилие разжатия пружины вниз через ее внутренний стержень 8 с вращающимся и подвижным блоком 35 будет разматывать ранее намотанную ленту и вращать вариатор 14.
Поскольку в одном из ручьев вариатора 14 закреплен конец цепи подвижной ветви 13 полиспаста, последняя будет наматываться по ручью и перемещать корпус 23 имитатор шины с гирями пригруза 42 по поверхности покрытия автодороги. Одновременно реактивное усилие перемещения имитатора по покрытию автодороги через неподвижную ветвь полиспаста 32, в которую конструктивно включен динамометр с самописцем 19, будет фиксироваться на бумажной диаграмме 17.
Для получения средневзвешенной величины сил трения покоя и сил трения скольжения имитатора шины по поверхности покрытия автодороги в месте события ДТП, измерения выполняют три раза, не меняя положение измерителя на дороге, и на одной и той же бумажной диаграмме, но меняя цвета фломастеров самописца для наглядности результатов измерения.
Величины фактических коеф. сцепления получают последующими вычислениями из отношения средних значений сил тяги, зафиксированных по самописцу, к значению общего веса гирь в имитаторе шины и величины его собственного веса, т.е. силы прижатия имитатора шины к поверхности покрытия автодороги.
Формула изобретения
Измеритель сцепных качеств дорожного покрытия, содержащий опорную раму, имитатор шины с образцами протектора и их пригрузом, спусковой механизм, отличающийся тем, что опорная рама выполнена из телескопических, вдвигающихся одна в другую секций с центральной и двумя откидными на шарнирах боковыми стойками с возможностью крепления в Т-образном положении, стойки содержат выдвижные шипы, крепящие раму на поверхности дорожного покрытия при выполнении измерений, имитатор шины и набор плоских гирь пригруза объединены общим корпусом с резервуаром для воды и дозатором вытекания ее на дорожное покрытие, пружинный движитель для осуществления перемещения имитатора шины выполнен с возможностью взвода его ручным приводом через редуктор, снабжен регулятором преднатяга пружины и вариатором скорости перемещения и силы тяги подвижной ветви полиспаста, конец цепи которой закреплен в вариаторе согласно требуемой скорости перемещения имитатора шины по дорожному покрытию, определяемой с помощью секундомера с автоматическим включением-выключением, осуществляемым одновременно с началом-концом вращения сменной круговой диаграммы самописца с динамометром, вмонтированным в неподвижную ветвь полиспаста и измеряющим величину тягового усилия.
РИСУНКИ
|