|
(21), (22) Заявка: 2005110574/28, 11.04.2005
(24) Дата начала отсчета срока действия патента:
11.04.2005
(43) Дата публикации заявки: 20.10.2006
(46) Опубликовано: 10.04.2007
(56) Список документов, цитированных в отчете о поиске:
WO 02/090782 A1, 14.11.2002. DE 2748616 A1, 18.05.1978. US 4930357 А, 05.06.1990. SU 1629757 A1, 23.02.1991.
Адрес для переписки:
413119, Саратовская обл., г. Энгельс, ОАО ЭОКБ “Сигнал” им. А.И. Глухарева
|
(72) Автор(ы):
Заворотный Анатолий Владимирович (RU), Минин Александр Игоревич (RU), Развин Павел Алексеевич (RU), Савельев Геннадий Анатольевич (RU)
(73) Патентообладатель(и):
Открытое акционерное общество Энгельсское ОКБ “Сигнал” им. А.И. Глухарева (RU)
|
(54) ИЗМЕРИТЕЛЬ РАСХОДА ГАЗА С ПРЕОБРАЗОВАНИЕМ КОЛЕБАНИЯ СТРУИ В ЭЛЕКТРОННЫЙ СИГНАЛ
(57) Реферат:
Изобретение относится к области приборостроения и может быть использовано в системе подачи газа на дыхание на борту летательных аппаратов. Измеритель расхода содержит корпус с входным и выходным штуцерами, внутри которого помещен генератор колебаний со струйными дискретными элементами. Снаружи корпус закрыт кожухом, внутри которого размещена плата с элементами электронной схемы. Струйный генератор выполнен в виде стапелированных круглых пластин, снабженных соответствующими прорезями и разделителями потока, которые соединены в одно целое винтами. На генераторе установлен контейнер с пьезодатчиком, оснащенный резиновыми прокладками. Корпус измерителя подвешен на двух тросовых амортизаторах овальной формы и двух расположенных внутри них тросовых амортизаторах С-образной формы. Тросы амортизаторов прикреплены к расположенной на кожухе металлической накладке, помещенной на резиновую прокладку. Заделка концов всех тросов осуществлена с использованием резиновых втулок и амортизирующих шайб. Изобретение обеспечивает заданную точность измерения за счет минимизации влияния внешних помех (вибрации и акустического шума). 5 ил.
Изобретение относится к области приборостроения и может быть использовано в системе подачи газа на дыхание на борту летательных аппаратов.
Особенности устройств для вышеназванных целей описаны, в частности, в книге Цейтлина В.Г. “Техника измерений расхода количества жидкостей, газов и паров”. М., 1968 г.
Кроме того, можно сослаться и на книгу Агейкина Д.И. и др. “Датчики контроля и регулирования”. М.: Машиностроение, 1965 г., где на с.716-717 отображена конструкция датчика расхода.
При разработке бытовых газовых счетчиков НИИ теплоприборов (СКТС) отдано предпочтение пьезоэлементу, оптимальному с точки зрения энергопотребления и обладающему высокой чувствительностью.
Одновременно, в качестве существенного недостатка, отмечается повышенная восприимчивость к помехам (вибрации и акустическому шуму), что накладывает ограничения на область применения пьезоэлементов в системе измерителей расхода газа.
Для измерителей расхода газа, устанавливаемых на борту летательных аппаратов, предусмотрены следующие требования:
– температурный диапазон работы прибора от -55 до +85°С;
– расход газа от 10 до 50 л/мин;
– виброустойчивость прибора в диапазоне частот от 5 до 2000 Гц с амплитудой ускорения 49,1 м/с2 (5g);
– акустический шум в диапазоне 50…10000 Гц с уровнем звукового давления 130 дБ.
При подобных требованиях использование пьезоэлемента в качестве чувствительного элемента, преобразующего колебания струи в электрический сигнал, становится сложной задачей, хотя преимуществ своих пьезоэлементы утратить не могут.
Целью изобретения является обеспечение условий работы оптимального с точки зрения энергопотребления высокочувствительного пьезоэлемента в составе измерителя расхода газа при минимизации влияния на него внешних помех (вибрации и акустического шума), позволяющей иметь необходимую точность измерения в составе устройств, используемых на борту летательного аппарата.
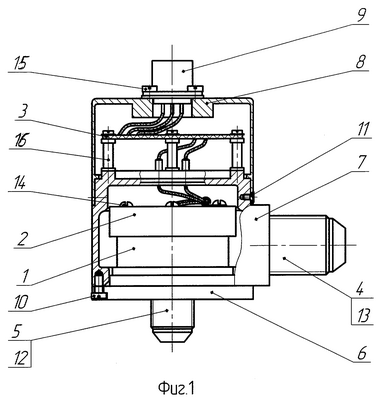
Сущность изобретения поясняется чертежами, где на фиг.1 представлен измеритель расхода газа, общий вид. На фиг.2 изображен измеритель расхода газа с установленным на нем амортизатором, вид сбоку. На фиг.3 то же – вид сверху.
На фиг.4 изображена последовательность сборки струйного генератора, состоящего из основания (поз.1), контейнера с пьезодатчиком (поз.2), стоек (поз.13), на которых устанавливаются стапелированные пластины (поз.3-12), обеспечивающие прохождение газовой струи внутри измерителя расхода газа в процессе преобразования ее колебания в электронный сигнал.
На фиг.5 а, б дано поперечное сечение контейнера с пьезодатчиком и вид на контейнер сверху.
Измеритель расхода газа (см. фиг.1) включает в себя струйный генератор 1, контейнер с пьезодатчиком 2, плату с элементами электронной схемы 3, входной штуцер 4, выходной штуцер 5, основание 6, на котором помещен корпус 7.
Снаружи измеритель расхода газа закрыт кожухом 8, несущим на себе вилку 9, к которой подсоединяется разъем.
Сборка измерителя расхода в единое целое осуществляется при помощи винтов 10, 11, 12, 13, 14, 15.
Плата с элементами электронной схемы устанавливается на стойках 16.
Поскольку работоспособность измерителя расхода газа обуславливается исключением влияния вибрации и акустических шумов на его показания, необходимо прежде всего описать совокупность элементов, обеспечивающих выполнение указанных требований (2-й пункт формулы).
На панели 17 (см. фиг.2), обеспечивающей крепление измерителя расхода газа, установлены тросовые амортизаторы 18 и 19, имеющие форму овала с расположением разомкнутой части по оси кожуха 8.
Вибрации панели 17 гасятся на проволочках тросовых амортизаторов 18 и 19, превращаясь в тепло, которое рассеивается в окружающем пространстве.
Однако, как показали испытания, амортизаторы 18 и 19 не в полной мере выполняют свои функции, поэтому на панели 17 дополнительно закреплены тросовые амортизаторы С-образной формы 20 и 21, имеющие большую кривизну, закрепленные выше места крепления амортизаторов 18 и 19 на корпусе 8.
Дополнительное препятствие на пути воздействия вибрации и акустических шумов образует кольцевая накладка 22, под которую помещена резиновая прокладка 23, образующая кольцо на поверхности кожуха 8.
К накладке 22 прикрепляются проволочные амортизаторы 18, 19, 20, 21.
Для исключения контакта металла с металлом в месте прикрепления амортизаторов 18, 19, 20, 21 к кожуху 8 крепление концов указанных амортизаторов осуществляется при помощи промежуточных резиновых втулок 24 и набора шайб.
Это обеспечивает полноту развязки кожуха 8 по отношению к панели 17, закрепляемой на вибрирующем элементе и воспринимающей акустические шумы.
Последним элементом, снижающим влияние внешних помех на показания измерителя расхода газа, являются резиновые прокладки 26 и 27 (см. фиг.6), расположенные в корпусе 30, содержащем пьезодатчик.
Перечисленная совокупность элементов образует механическую преграду на пути вибрации и акустического шума, создавая предпосылки для устойчивой работы электронной схемы преобразования колебания струи в электрический сигнал.
Перечисленная совокупность технических устройств (18, 19, 20, 21, 22, 23, 24, 26, 27) представляет собой первую преграду, возведенную на пути вибраций и акустического шума, тогда как вторая преграда сформирована электронной схемой преобразования колебания струи газа в электрический сигнал.
Работа измерителя расхода газа осуществляется следующим образом.
На входной штуцер 4 (см. фиг.2) подается поток газа, поступающий внутрь струйного генератора, состоящего из стапелированных пластин (см. фиг.4) и контейнера с пьезодатчиком.
Каждая пластина снабжена соответствующими прорезями и разделителями потока.
Струйный генератор расхода содержит несколько струйных дискретных элементов и включает в себя сопло питания, рабочую камеру с наклонными стенками, разделитель, два дренажных канала, управляющие сопла, расположенные симметрично соплу питания и сообщающиеся с каналами обратной связи, связанные с пьезодатчиком.
Струйный генератор работает следующим образом.
При протекании измеряемого потока через сопло в рабочую камеру в результате эффекта Коанда и эффекта внутренней обратной связи от дефлектора разделителя струя примыкает к одной из стенок, течет вдоль нее и попадает в дренажный канал и в канал обратной связи и далее – в управляющее сопло и вызывает переброс струи в направлении другой стенки.
Затем струя попадает в канал обратной связи, дренажный канал и в управляющее сопло, вызывая опять переброс струи к противоположной стенке. В результате устанавливаются устойчивые колебания струи с частотой, пропорциональной объемному расходу.
Пьезодатчик давления преобразует колебания давлений струи в частоту генерируемого электрического сигнала. Электрический преобразователь усиливает электрический сигнал и преобразует частоту в напряжение.
Формула изобретения
Измеритель расхода газа с преобразованием колебания струи в электронный сигнал, закрытый снаружи кожухом, внутри которого размещена плата с элементами электронной схемы, и содержащий корпус с входным и выходным штуцерами, внутри которого помещен генератор колебаний со струйными дискретными элементами, выполненный в виде стапелированных круглых пластин, которые соединены в одно целое при помощи стяжных винтов, и контейнер с пьезодатчиком, формирующим сигналы о фактическом расходе газа, установленный на генераторе колебаний, отличающийся тем, что измеритель расхода газа снабжен устройством его виброгасящего закрепления, включающим в себя тросовые амортизаторы овальной конфигурации и С-образной формы, кольцевую металлическую накладку, резиновые прокладки, при этом цилиндрический корпус измерителя расхода подвешен на двух тросовых амортизаторах овальной конфигурации, располагаемых вдоль его боковых поверхностей, и двух тросовых амортизаторах С-образной формы, располагаемых параллельно двум первым амортизаторам внутри них на некотором удалении, причем заделка концов всех тросов, прикрепляемых к располагаемой на кожухе кольцевой металлической накладке, осуществлена с использованием резиновых втулок и соответствующих амортизирующих шайб, кольцевая металлическая накладка помещена на резиновую прокладку, а разделитель, несущий пьезодатчик, установлен на виброизолирующей резиновой прокладке и прижат сверху аналогичной виброизолирующей резиновой прокладкой, образуя своеобразный сэндвич.
РИСУНКИ
|