|
(21), (22) Заявка: 2005105375/28, 28.02.2005
(24) Дата начала отсчета срока действия патента:
28.02.2005
(43) Дата публикации заявки: 10.08.2006
(46) Опубликовано: 10.04.2007
(56) Список документов, цитированных в отчете о поиске:
WO 93/21505 A1, 28.10.1993. RU 2164009 C2, 10.03.2001. RU 2232978 C2, 20.07.2004. RU 13257 U1, 27.03.2000. ДИАНОВ В.Н. Сбои в технических системах. – М.: Машиностроение, 1999, с.39-64.
Адрес для переписки:
125499, Москва, Кронштадтский б-р, 30, корп.2, кв.302, В.Н.Дианову
|
(72) Автор(ы):
Дианов Вячеслав Николаевич (RU), Черняев Андрей Андреевич (RU), Плюшкин Константин Викторович (RU), Саркисов Армаис Абрикович (RU), Власов Дмитрий Валерьевич (RU)
(73) Патентообладатель(и):
Дианов Вячеслав Николаевич (RU), Черняев Андрей Андреевич (RU), Плюшкин Константин Викторович (RU), Саркисов Армаис Абрикович (RU), Власов Дмитрий Валерьевич (RU)
|
(54) СПОСОБ И УСТРОЙСТВО ОБНАРУЖЕНИЯ ИСТОЧНИКОВ СБОЕВ В ДАТЧИКАХ-РАСХОДОМЕРАХ
(57) Реферат:
С помощью контактных и бесконтактных датчиков сбоев, выполненных с возможностью работы в диапазоне частот от долей герца до единиц гигагерц и установленных на линиях связи или в непосредственной близости (до 1-2 см) от элемента или узла электрической цепи расходомера, обнаруживают в качестве источников сбоев: контактные паяные соединения, переходные отверстия и печатные проводники печатных плат, контактирующие устройства интегральных микросхем, соединители (разъемы) и клеммные колодки, одно- и многожильные провода, интерфейсные шины, шины заземления и электропитания. В качестве информативных параметров наличия сбоев используют повышенное электромагнитное излучение, дополнительный сдвиг фронтов импульсных сигналов, смену фаз гармонических сигналов, наличие субгармонических колебаний, изменение соотношения падающей и отраженной волны, изменение амплитудно-частотных характеристик, появление эффекта дифференцирования сигналов. Изобретения, помимо факта наличия сбоя расходомера, также позволяют определить источники сбоев. 2 н. и 16 з.п. ф-лы, 9 ил., 1 табл.
Изобретение относится к области приборостроения и может быть использовано для измерения расходов жидкости, газа или пара – в энергетике, на транспорте, в нефтяной, нефтехимической, химической, пищевой промышленности, а также медицине. Технический результат заключается в повышении точности диагностирования, который достигается за счет того, что в процессе эксплуатации обнаруживаются и регистрируются распределенные и локальные источники сбоев в аппаратуре: сигнальные (интерфейсные) шины, шины заземления и электропитания, одно- и многожильные провода, печатные проводники и переходные отверстия печатных плат, контактные паяные соединения, контактирующие устройства интегральных микросхем, соединители (разъемы) и клеммные колодки, а также сам датчик-расходомер. Эффект достигается вследствие включения в аппаратуру контактных и бесконтактных датчиков сбоя, а также добавлением других новых элементов и алгоритмов обработки электрических сигналов с указанных датчиков. При этом в качестве информативных параметров датчиков используются повышенное (более чем в 2÷4 раза) электромагнитное излучение, дополнительный сдвиг фронтов импульсных сигналов, смена фаз гармонических сигналов, наличие субгармонических колебаний, изменение соотношения падающей и отраженной волны, изменение амплитудно-частотных характеристик, появление эффекта дифференцирования сигналов.
Известен способ тарирования системы измерения разности давлений потока жидкости посредством использования корректирующих коэффициентов для линеаризации взаимосвязи между расходом потока жидкости и электрическим выходным сигналом электронного преобразователя (Патент России RU №2209395. М. кл. G01F 1/00 от 27.07.2003). Недостатком способа является его низкая достоверность функционирования из-за невозможности учета влияния скрытых дефектов, проявляющихся, например, в виде различных сбоев оборудования.
Наиболее близким к предлагаемому способу техническим решением является способ, реализованный в датчике – расходомере с самопроверкой функционирования (WO 93/21505 Al, G01F 1/84, 28.10.1993).
Способ позволяет обрабатывать воздействия на аппаратуру отдельных помех (сбоев), например, по питанию (фиг.8) посредством корректировки показаний сенсорных датчиков и снижения погрешности измерений в приборах, в том числе и расходомерах Кориолиса. Вместе с тем данный известный способ имеет недостатки, например большую инерционность процесса корректировки погрешности. Кроме того, в данном методе реализован принцип пассивной диагностики, заключающийся в том, что обратная связь отслеживает следствие, т.е. фактическое нарушение, а не причину, т.е. источник помех (нарушений режима).
Известен датчик расходомера, содержащий струенаправляющий аппарат, магнит, узел съема сигнала, в котором для повышения чувствительности и надежности функционирования введен струевыпрямляющий аппарат и конструктивно по новому расположен магнит (Патент России RU №2187075. М. кл. G01F 1/05 от 10.08.2002). Недостатком устройства является его функциональная ограниченность из-за невозможности учета в работе скрытых дефектов (вибрации, внешние электромагнитные воздействия – помехи, гидравлические удары и т.д.).
Наиболее близким аналогом является датчик-расходомер с самопроверкой, позволяющий фиксировать действие на аппаратуру отдельных помех (сбоев) и устранять их влияние (WO 93/21505 А1, G01F 1/84, 28.10.1993). Недостаток устройства – невозможность установления источников помех.
Задача, решаемая изобретением, – расширение функциональных возможностей по обнаружению скрытых дефектов в виде сбоев элементов и узлов за счет введения датчиков сбоев и использования новых информативных признаков сбоев с соответствующей обработкой информации (сигналов).
Поставленная задача решается тем, что в качестве источников сбоев обнаруживают следующие элементы и узлы электрической цепи расходомеров: сигнальные (интерфейсные) шины, шины заземления и электропитания, одно- и многожильные провода, печатные проводники и переходные отверстия печатных плат, контактные паяные соединения, контактирующие устройства интегральных микросхем, соединители (разъемы) и клеммные колодки по информативным параметрам в виде повышенного (более чем в 2÷4 раза) электромагнитного излучения, дополнительного сдвига фронтов импульсных сигналов, смены фаз гармонических сигналов, наличия субгармонических колебаний, изменения соотношения падающей и отраженной волны, изменения амплитудно-частотных характеристик, появления эффекта дифференцирования сигналов.
Поставленная задача решается также тем, что электромагнитные излучения от источников сбоев обнаруживают бесконтактно в диапазоне частот от единиц герц до единиц гигагерц.
Поставленная задача решается также тем, что дополнительный сдвиг фронтов импульсных сигналов, проходящих через источники сбоя, осуществляется и обнаруживается во всем диапазоне частот работающей аппаратуры с изменением сдвига фронта от единиц наносекунд и выше.
Поставленная задача решается также тем, что изменение фазы гармонических сигналов источников сбоя осуществляется и обнаруживается во всем диапазоне работающей аппаратуры до значения 180 градусов.
Поставленная задача решается также тем, что наличие субгармонических колебаний в источниках сбоя осуществляется и обнаруживается в диапазоне частот от долей герца до единиц килогерц и выше.
Поставленная задача решается также тем, что амплитудно-частотную характеристику источников сбоев регистрируют в диапазоне частот от нуля (постоянный ток) герц до единиц гигагерц.
Поставленная задача решается также тем, что изменение соотношения падающей и отраженной волны в источниках сбоев обнаруживают в диапазоне волн до десятков гигагерц.
Поставленная задача решается также тем, что амплитудно-частотную характеристику источников сбоев регистрируют при воздействии на них кодоимпульсных сигналов с различными постоянными времени в импульсах и паузах.
Поставленная задача решается также тем, что контактно источник сбоя определяется по эффекту образования микротрещин в линиях связи и малой емкостной составляющей (доли и единицы пикофарад) в них, последующим большим сопротивлением (до 107 Ом и выше) приемника сигналов на КМОП-структуре и образующегося эффекта дифференцирования сигнала.
Поставленная задача решается также тем, что бесконтактно источник сбоя определяется по эффекту образования микрорезонансных контуров и электромагнитного излучения в них при прохождении электрического сигнала.
Поставленная задача решается также тем, что при обнаружении одновременно нескольких источников сбоев учитывают направление прохождения сигнала и образуемую при этом его временную задержку.
Поставленная задача решается также тем, что устройство обнаружения источников сбоев в расходомерах содержит контактные и бесконтактные датчики сбоев, выполненные с возможностью работы в диапазоне частот от долей герца до единиц гигагерц и установленные на линиях связи или в непосредственной близости (до 1-2 см) от элемента или узла электрической цепи.
Поставленная задача решается также тем, что контактные датчики сбоев реализованы на КМОП-инверторах.
Поставленная задача решается также тем, что бесконтактные датчики сбоев реализованы на пассивных (L-, С – элементы) микрорезонансных колебательных контурах.
Поставленная задача решается также тем, что в линиях с односторонним направлением распространения сигналов датчики сбоев установлены перед приемником сигналов, с двухсторонним – перед приемником и после передатчика сигналов.
Поставленная задача решается также тем, что при срабатывании двух и более контактных датчиков сбоев в качестве источника сбоя определяется элемент или узел с более ранним по времени срабатыванием датчика.
Поставленная задача решается также тем, что при одновременном срабатывании двух и более датчиков обоих типов (контактных и бесконтактных) в качестве источника сбоев определяется внешнее электромагнитное воздействие (помеха).
Поставленная задача решается также тем, что датчик сбоев выполнен с возможностью определения факта наличия сбоя расходомера и содержит компаратор напряжений, логическую схему «исключающее ИЛИ», счетчик времени сбоев и счетчик количества сбоев, причем вход компаратора напряжений соединен с импульсным выходом расходомера через схему зарядки конденсатора, первый выход компаратора через логическую схему «исключающее ИЛИ» подключен к счетчику времени сбоев, а второй выход – к счетчику количества сбоев.
Решение поставленной задачи определения сбойных состояний элементов и узлов аппаратуры по появлению резонансных частот и другим информативным признакам (наличию повышенного электромагнитного излучения, дополнительному сдвигу фронтов импульсных сигналов и т.д.) основано на представлении скрытых дефектов упомянутых фрагментов аппаратуры в виде микрозазоров, микротрещин, частичных микроразрывов и образовании вследствие этого микрорезонансных контуров (Дианов В.Н. Сбои в технических системах. М., «Машиностроение», 1999, стр.17-20, рис.1.10).
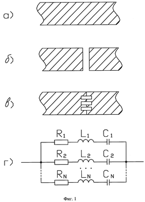
На фиг.1 (а-г) схематично показаны три состояния электрических проводников (в том числе и печатных) и контактных подключений: исправное (фиг.1а), отказное в виде обрыва (фиг.1б), сбойное (фиг.1в), а также эквивалентная электрическая схема сбойного состояния (фиг. 1г). В общем случае схема сбойного состояния представляет собой «N» параллельно включеных микрорезонансных контуров с параметрами Ri, Li, Сi (i=1, 2, …N), где Ri, Li – соответственно распределенная омическая и индуктивная составляющие, а Сi – образованная при скрытых дефектах (за счет микрозазоров, микронеровностей, и т.п.) емкостная составляющая.
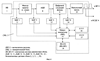
На фиг.2 приведена блок-схема датчика-расходомера, предназначенного для преобразования, измерения и передачи информации об объемном расходе жидких сред посредством воздействия выходных электрических сигналов на внешние регистрирующие устройства. Датчик-расходомер состоит из измерительного блока (ИБ) 1, конструктивно объединенного с электронным блоком (ЭБ) 2, вычислителя расхода (ВР) 3 и контактной системы диагностики сбоев (КСДС) 4.
ИБ 1 представляет собой индукционный датчик расхода (фиг.3). Выполнен он как отрезок трубопровода 5, сделанный из немагнитной стали, заключенный в защитный кожух. Внутренняя поверхность трубопровода 5 защищена от вредного воздействия измеряемой среды фторопластом. Внутри трубопровода 5 диаметрально расположены электроды 6 из титанового сплава, предназначенные для съема сигнала ЭДС (или сигнала U на выходе блока 1), пропорционального расходу (скорости) измеряемой среды. Диаметрально противоположно электродам установлены электромагниты (на фиг.3 не показаны), создающие переменное магнитное поле в измеряемой среде.
По трубопроводу 5, находящемуся в сильном магнитном поле с индукцией В, которое создается двумя электромагнитами, между двумя титановыми электродами 6 протекает проводящая жидкость. Магнитное поле вызывает появление на электродах разности электрических потенциалов, возникает ЭДС, которая снимается электродами и передается в виде напряжения U для преобразования и обработки в ЭБ 2 (фиг.2). Значение ЭДС можно рассчитать следующим образом: исходя из условия, что индукция В и скорость потока жидкости V постоянны по всему поперечному сечению трубы и В V; тогда изменение потока Ф за секунду составит BlV, где l – расстояние между электродами. Таким образом, наведенное напряжение с полярностью, указанной на фиг.3, равно U=BIV.
Например, при скорости потока V=1 (м/с), в трубе диаметром 32 (мм), находящейся в сильном магнитном поле с индукцией B=0,1 (Тл), появляется выходное напряжение U=3,2 (В). Считаем, что выходное напряжение U линейно связано со средней величиной по поперечному сечению скоростного потока: V=Q/ r2, где Q – общий объем жидкости, протекающий через поперечное сечение радиусом r и площадью r2 за секунду.
ЭБ 2 представляет собой устройство преобразования электрического сигнала в импульсный, пропорциональный расходу жидкости, и содержит следующие блоки (фиг.4): фильтр защиты от помех 7, аналого-цифровой преобразователь (АЦП) 8, цифровой следящий фильтр 9, импульсный выход 10, бесконтактные датчики сбоев (БДС 1, БДС 2, БДС 3, БДС N) – соответственно блоки 11, 12, 13, 14, микроконтроллер (МК) 15, оперативное запоминающее устройство (ОЗУ) 16, постоянное запоминающее устройство (ПЗУ) 17. Кроме того, ЭБ 2 имеет выход RS-232 (RS-485) 18. Также ЭБ 2 содержит два переключателя (джампера), необходимых для изменения веса импульса импульсного сигнала (на фиг.4 не показаны).
Импульсный сигнал формируется на импульсном выходе 10, представленном выводами коллектора и эмиттера транзистора оптопары. Частота сигнала зависит от веса импульса. Вес импульса может принимать значение одно из четырех значений, представленных в таблице.
| Таблица |
| Значения веса выходных импульсов расходомера |
| Состояние переключателя веса импульса |
Вес импульса расходомера |
Минимальная частота выходного сигнала [Гц] |
Максимальная частота выходного сигнала [Гц] |
| J1 |
J2 |
[м3/имп] |
[л] |
| ВКЛ |
ОТКЛ |
0,0001 |
0,1 |
8,33 |
83,33 |
| ОТКЛ |
ВКЛ |
0,001 |
1 |
1,67 |
8,33 |
| ВКЛ |
ВКЛ |
0,005 |
5 |
0,833 |
1,67 |
| ОТКЛ |
ОТКЛ |
0,01 |
10 |
0,1 |
0,833 |
Форма сигнала импульса – прямоугольная (фиг.5а, б). Фиг.5а – исправное состояние расходомера, Фиг.5б – сбойное. Длительность импульса в секундах определяется формулой L=0,5/f, где f – частота выходного импульса, или L=0,5T, где T=l/f – период выходного импульса. Величина выходного напряжения импульсного сигнала Uм. В частном случае Uм=5±0,5(B).
Определение значения измеряемой величины с помощью измерительного прибора производится в соответствии с формулами.
Вычисление объема производится по формуле
V=N*B (м3),
где: N- общее количество импульсов (имп);
В – вес импульса преобразователя (м3/имп).
Вычисление расхода производится по формуле, при условии f=const,
Q=3600*f*B=3600*B/T (м3/ч),
где: f – частота импульсного сигнала преобразователя (Гц);
Т – период импульсного сигнала преобразователя (с);
В – то же, что в предыдущей формуле.
Частота импульсного сигнала зависит от выбранного веса импульса согласно таблице. Например, выбрав состояние, при котором Л=ОТКЛ, а J2=ВКЛ значение веса импульса В составит 0,001 (м3/имп), а максимальная частота следования импульсов f=8,33 (Гц). Т.е. появление каждого импульса свидетельствует о прохождении 0,001 (м3) жидкости. Напряжение на импульсном выходе может меняться от 3 до 30 (В).
При нормальном, т.е. не сбойном режиме работы расходомера импульсы следуют непрерывно друг за другом с частотой и весом согласно значениям, приведенным в таблице.
Признаком сбойного или отказного состояния датчика-расходомера является отсутствие одного или нескольких импульсов на выходе или же их полное отсутствие. Примеры сбойного состояния изображены на фиг.5б.
Отсутствие импульсов (сбойное состояние расходомера) по каким-либо причинам приводит к тому, что на вход прибора учета количества с импульсного выхода расходомера поступит неполная информация о объеме контролируемой среды.
Например, за час при частоте импульсов f=2 (Гц) их количество N будет равняться N=3600*f=3600*2=7200, если вес импульса B=0.001 (м3/имп) тогда объем жидкости, пройденный за час, можно подсчитать по формуле: V=7200*0.001=7.2 (м3)=7200 (л).
При сбойном функционировании возможно отсутствие NСБ импульсов, следовательно, объем измеряемой среды за час при сбойном функционировании будет определяться формулой V=(N-NСБ)*B. Например, при отсутствии NСБ=500 импульсов, вычисленный объем V=(7200-500)*0.001=6.7 (м3)=6700 (л). В результате сбоев расходомер передаст за час сигнал, эквивалентный объему 6700 (л), в то время как истинный объем составляет 7200 (л). Таким образом, оставшиеся 500 (л) жидкой среды останутся неучтенными, что неизбежно приведет к экономическому ущербу.
Основными причинами, по которым может произойти отсутствие импульсов на выходе расходомера, как правило, являются:
– отсутствие питания на расходомере;
– плохой электрический контакт монтажных проводов, соединяющих импульсный выход расходомера со вторичным прибором учета (вычислитель расхода);
– отложение осадка на поверхности электродов;
– сбой или отказ электронного блока.
Если вышеперечисленные причины носят характер отказа, то для их выявления не требуется сложной измерительной аппаратуры. Отсутствие питания можно проверить по контрольной лампочке на блоке питания расходомера. Отказ электронного блока сопровождается миганием светодиода на электронной плате расходомера. В случае обнаружения данных неисправностей предпринимаются действия согласно технической документации на расходомер.
Обнаружение сбоев, их регистрация непосредственно во время эксплуатации расходомера является более трудной, но не менее необходимой задачей.
Основными трудностями являются:
– невозможность подсоединения такой внешней диагностической аппаратуры, как вольтметры, частотомеры и др. в процессе работы расходомера, так как все эти процедуры необходимо выполнять при отключенном питании расходомера;
– невозможность наблюдать кратковременный сбой и, следовательно, регистрировать его без помощи дополнительной аппаратуры;
– непостоянность сбоев, которая заключается в том, что сами сбои могут появляться в произвольные моменты времени;
– возможность использования только импульсного выхода расходомера для обнаружения и регистрации сбоев непосредственно в процессе его работы.
Контактная система диагностики сбоев (КСДС) 4 (фиг.6) содержит следующие блоки: счетчик количества импульсов (СКИ) 19, регистрирующий блок (РБ) 20, включающий схему зарядки конденсатора 21 и компаратор напряжений 22, генератор импульсов 23, счетчик общего времени диагностики (СОВД) 24, схему «Исключающее ИЛИ» 25, счетчик времени сбоев (СВС) 26, счетчик количества сбоев (СКС) 27, а также четыре индикатора 28, 29, 30, 31. КСДС обладает следующими возможностями:
1) диагностика сбоев расходомера непосредственно во время его работы;
2) подсчет общего количества импульсов, пришедших с расходомера (блок СКИ 19);
3) подсчет времени диагностики (блок СОВД 24);
4) регистрация количества сбойных состояний по факту отсутствия импульсного сигнала расходомера (блок СКС 27);
5) накопление информации о времени, в течение которого расходомер находился в сбойных состояниях с нарастающим итогом (блок СВС 26);
6) наглядное отображение информации на электронных индикаторах 28-31.
Все эти операции система должна осуществлять в автоматическом режиме. Участие человека в процессе диагностики сведено к запуску системы диагностирования и анализу результатов ее работы.
При этом:
1. Режим диагностики в процессе работы расходомера должен осуществляться непрерывно в течение суток с момента запуска системы диагностики.
2. Подсчет общего количества импульсов система диагностики осуществляет с момента ее запуска. Аппаратно это реализуется с помощью специальных электронных компонентов – счетчиков. Подсчитав общее количество импульсов за заданный промежуток времени, используя данные о весе импульса (таблица), оценивается суммарный объем, зарегистрированный расходомером.
3. Общее время диагностики необходимо для оценки отношения общего времени диагностики к общему времени сбойной работы расходомера. Аппаратная реализация предусматривает включение в систему диагностики счетчика времени сбоев 26 и генератора импульсов (блок 23).
4. Регистрация сбойных состояний заключается в том, что система диагностики фиксирует факт отсутствия импульсов с расходомера, т.е. каждый раз, когда импульсы прекращают поступать с выхода расходомера, система этот факт регистрирует. Аппаратно это реализуется при помощи счетчика количества сбоев 27, который каждый раз будет реагировать на факт отсутствия импульса на выходе расходомера увеличением своего значения на единицу, тем самым фиксируя общее количество сбоев.
5. Регистрация общего времени, в течение которого расходомер находится в сбойном состоянии, необходима для определения пригодности к дальнейшему использованию расходомера в работе. Аппаратно это реализуется в виде счетчика 26, который будет начинать отсчет сбойного времени каждый раз при отсутствии сигнала на импульсном выходе.
Согласно последним пунктам 4 и 5, система диагностики должна четко фиксировать отсутствие импульсов на импульсном выходе расходомера. Это реализуется следующим образом: импульсный сигнал заданной частоты с расходомера, проходя блоки 21, 22, подается на первый вход схемы «Исключающее ИЛИ» 25, одновременно на второй вход подается импульсный сигнал от эталонного источника импульсов (генератора импульсов 23), который настроен на выдачу импульсов, совпадающих по частоте, длительности и амплитуде с сигналами от расходомера при нормальном функционировании (фиг.7).
При нормальном функционировании расходомера на оба входа «Исключающее ИЛИ» поступают либо логические нули, либо единицы, следовательно, на выходе всегда будет логический 0. При сбойном состоянии расходомера на выходе компаратора напряжений 22 будет «Логическая 1». Таким образом, на выходе схемы «Исключающее ИЛИ» периодически будет появляться то «Логический 0», то «Логическая 1». Поставив на выходе, например, светодиод, можно будет наблюдать его периодическое мигание, тогда как при нормальном функционировании расходомера светодиод будет находиться в выключенном состоянии.
По факту мигания светодиода можно будет определить сбойное состояние расходомера. Однако такой метод имеет несколько существенных недостатков:
1. Для определения сбоя необходим эталонный источник импульсов, который всегда должен выдавать импульсы синхронно с расходомером, заданной частоты, длительности и амплитуды. Аппаратно это реализовать довольно сложно;
2. Сам факт сбоя можно регистрировать лишь визуально, при этом необходимо постоянно наблюдать за состоянием светодиода;
3. Трудность фиксации времени и числа сбоев.
Поэтому предлагается более эффективный способ определения отсутствия импульсов, который позволит зафиксировать сам факт отсутствия импульсов и время их отсутствия (фиг.8). На данном чертеже представлена схема зарядки конденсатора 21, включающая диод VD, емкость С и сопротивление (резистор) R.
Импульсный сигнал с расходомера UM (фиг.5) подается через диод VD на RC-цепочку, как показано на фиг.8. Во время действия импульса напряжение в точке А RC-цепи UA будет равняться
UA=UM– UVD,
где: UVD – падение напряжение на диоде VD.
В момент отсутствия импульса емкость С начинает разряжаться через нагрузочный резистор R по экспоненциальному закону в течение времени tП до значения напряжения UP по формуле

При регулярном появлении импульсов напряжение в регистрирующем блоке будет разряжаться всегда до определенного значения UP при условии постоянной частоты выходных импульсов. Таким образом, не сбойному, т.е. нормальному, режиму работы расходомера соответствует диапазон напряжений с нижней границей UP.
В случае отсутствия одного или нескольких импульсов подряд, т.е. при возникновении сбоя в работе расходомера напряжение в точке А упадет ниже UP. Таким образом, каждый раз при возникновении сбойного состояния напряжение в точке A UA будет убывать до значений ниже, чем UP. Регистрируя при этом факт падения напряжения ниже UP, можно утверждать, что зарегистрирован сбой.
Аппаратно зафиксировать сбой таким образом можно при помощи компаратора напряжений 22, содержащего операционный усилитель (ОУ) и источник постоянного питания UO (Фиг.9).
Компаратор напряжений 22 работает следующим образом: пока напряжение на его инвертирующем входе (в нашем случае – это напряжение UA) больше опорного напряжения UO, подаваемого на неинвертирующий вход, на выходе компаратора будет формироваться сигнал «Логический 0». Как только напряжение UA станет меньше или равным UO, компаратор изменит свой выходной сигнал на «логическая 1». Таким образом, подавая в качестве опорного напряжения UO напряжение чуть меньше UP (равное напряжение подавать нельзя, иначе компаратор будет менять свое значение каждый раз с приходом импульса), компаратор будет выдавать на своем выходе сигнал «Логический 0» при нормальной работе расходомера и сигнал «Логическая 1» при сбое.
В качестве примера выберем один из четырех режимов работы расходомера согласно таблице, когда джамперы J1 и J2 находятся во включенном состоянии. Вес импульса расходомера составит 0,005 (м3/имп), или 5 (л). Минимальная частота выходного сигнала составит fMIN=0,833 (Гц), максимальная частота fMAX=1,67 (Гц). Длительность импульса LMIN при минимальной частоте сигнала найдем из соотношения LMIN=0,5/fMIN
LMIN=0,5/fMIN=0,5/0,833=0,6 (с).
Отсюда время паузы между импульсами tП_МИН=ТМИН-LМИН, при ТМИН=1/fМИН будет составлять: tП_МИН=1/0,833-0,6=0,6 (с).
Зная время паузы между импульсами tП_МИН, по формуле можем расчитать значение напряжения UP_МИН, до которого разрядится емкость цепи С. Для этого необходимо задать параметры RC-цепи. Положим, резистор R=50 (кОм), а емкость С=10 (мкФ). Тогда имеем
UР_МИН=UA*exp(-tП_МИН/(R*С))=1,32 (В), при UA=UM-UVD=5-0,6=4,4 (В);
где UVD=0,6 (В) – падение напряжения на диоде,
UM=5 (В) – напряжение выходного сигнала расходомера.
Таким образом, для того чтобы компаратор реагировал на сбой, его опорное напряжение UO должно быть меньше расчитанного UP_МИН=1,32 (В).
Теперь рассчитаем все те же параметры для максимальной частоты при тех же значениях R, С и UA выходного сигнала fMAX=1,67 (Гц). Имеем LMAX=0,5/1,67=0,2994 (с); tП_MAX=1/1,67-0,2994=0,2994 (с); UP_MAX=2,41 (В).
Таким образом, компаратор необходимо настроить на то значение, при котором он будет регистрировать сбои на любой частоте, т.е. в качестве опорного напряжения UO необходимо брать значение меньше UP_МИН.
Бесконтактные датчики сбоя БДС 1, БДС 2, …, БДС N (соответственно блоки 11, 12, 13, 14) (фиг.4) позволяют дополнительно определять помимо факта наличия сбоя расходомера, устанавливаемого контактной системой диагностики сбоев, источник(и) сбоев. Сигналы с датчиков сбоев могут быть использованы для дальнейшей обработки либо в микропроцессоре, либо (при необходимости) иметь автономную схему регистрации.
Формула изобретения
1. Способ обнаружения источников сбоев в расходомерах, при котором в качестве источников сбоев обнаруживают следующие элементы и узлы электрической цепи расходомеров: сигнальные (интерфейсные) шины, шины заземления и электропитания, одно- и многожильные провода, печатные проводники и переходные отверстия печатных плат, контактные паяные соединения, контактирующие устройства интегральных микросхем, соединители (разъемы) и клеммные колодки по информативным параметрам в виде повышенного (более чем в 2-4 раза) электромагнитного излучения, дополнительного сдвига фронтов импульсных сигналов, смены фаз гармонических сигналов, наличия субгармонических колебаний, изменения соотношения падающей и отраженной волны, изменения амплитудно-частотных характеристик, появления эффекта дифференцирования сигналов.
2. Способ по п.1, отличающийся тем, что электромагнитные излучения от источников сбоев обнаруживают бесконтактно в диапазоне частот от единиц герц до единиц гигагерц.
3. Способ по п.1, отличающийся тем, что дополнительный сдвиг фронтов импульсных сигналов, проходящих через источники сбоя, осуществляется и обнаруживается во всем диапазоне частот работающей аппаратуры с изменением сдвига фронта от единиц наносекунд и выше.
4. Способ по п.1, отличающийся тем, что изменение фазы гармонических сигналов источников сбоя осуществляется и обнаруживается во всем диапазоне работающей аппаратуры до значения 180°.
5. Способ по п.1, отличающийся тем, что наличие субгармонических колебаний в источниках сбоя осуществляется и обнаруживается в диапазоне частот от долей герца до единиц килогерц и выше.
6. Способ по п.1, отличающийся тем, что амплитудно-частотную характеристику источников сбоев регистрируют в диапазоне частот от нуля (постоянный ток) герц до единиц гигагерц.
7. Способ по п.1, отличающийся тем, что изменение соотношения падающей и отраженной волны в источниках сбоев обнаруживают в диапазоне волн до десятков гигагерц.
8. Способ по п.1, отличающийся тем, что амплитудно-частотную характеристику источников сбоев регистрируют при воздействии на них кодоимпульсных сигналов с различными постоянными времени в импульсах и паузах.
9. Способ по п.1, отличающийся тем, что контактно источник сбоя определяется по эффекту образования микротрещин в линиях связи и малой емкостной составляющей (доли и единицы пикофарад) в них, последующим большим сопротивлением (до 107 Ом и выше) приемника сигналов на КМОП-структуре и образующегося эффекта дифференцирования сигнала.
10. Способ по п.1, отличающийся тем, что бесконтактно источник сбоя определяется по эффекту образования микрорезонансных контуров и электромагнитного излучения в них при прохождении электрического сигнала.
11. Способ по п.1, отличающийся тем, что при обнаружении одновременно нескольких источников сбоев учитывают направление прохождения сигнала и образуемую при этом его временную задержку.
12. Устройство обнаружения источников сбоев в расходомерах, содержащее контактные и бесконтактные датчики сбоев, выполненные с возможностью работы в диапазоне частот от долей герца до единиц гигагерц и установленные на линиях связи или в непосредственной близости (до 1-2 см) от элемента или узла электрической цепи.
13. Устройство по п.12, отличающееся тем, что контактные датчики сбоев реализованы на КМОП-инверторах.
14. Устройство по п.12, отличающееся тем, что бесконтактные датчики сбоев реализованы на пассивных (L, С – элементы) микрорезонансных колебательных контурах.
15. Устройство по п.12, отличающееся тем, что в линиях с односторонним направлением распространения сигналов датчики сбоев установлены перед приемником сигналов, с двухсторонним – перед приемником и после передатчика сигналов.
16. Устройство по п.12, отличающееся тем, что при срабатывании двух и более контактных датчиков сбоев в качестве источника сбоя определяется элемент или узел с более ранним по времени срабатыванием датчика.
17. Устройство по п.12, отличающееся тем, что при одновременном срабатывании двух и более датчиков обоих типов (контактных и бесконтактных) в качестве источника сбоев определяется внешнее электромагнитное воздействие (помеха).
18. Устройство по п.12, отличающееся тем, что датчик сбоев выполнен с возможностью определения факта наличия сбоя расходомера и содержит компаратор напряжений, логическую схему «исключающее ИЛИ», счетчик времени сбоев и счетчик количества сбоев, причем вход компаратора напряжений соединен с импульсным выходом расходомера через схему зарядки конденсатора, первый выход компаратора через логическую схему «исключающее ИЛИ» подключен к счетчику времени сбоев, а второй выход – к счетчику количества сбоев.
РИСУНКИ
MM4A – Досрочное прекращение действия патента СССР или патента Российской Федерации на изобретение из-за неуплаты в установленный срок пошлины за поддержание патента в силе
Дата прекращения действия патента: 29.02.2008
Извещение опубликовано: 10.02.2010 БИ: 04/2010
|