|
|
(21), (22) Заявка: 2004126502/28, 03.09.2004
(24) Дата начала отсчета срока действия патента:
03.09.2004
(43) Дата публикации заявки: 27.02.2006
(46) Опубликовано: 10.04.2007
(56) Список документов, цитированных в отчете о поиске:
RU 2196344 С2, 10.01.2003. RU 2105993 C1, 27.02.1998. WO 03078950 A1, 25.09.2003. US 6758089 В2, 06.07.2004. WO 03024749 A1, 27.03.2003.
Адрес для переписки:
127051, Москва, М.Сухаревская пл., 6, стр.1, помещение ТАРП ЦАО, ООО “НПП”ТДКиС”, ген.директору Н.А.Нефедовой
|
(72) Автор(ы):
Багдасарян Александр Сергеевич (RU), Багдасарян Сергей Александрович (RU), Гуляев Юрий Васильевич (RU), Карапетьян Геворк Яковлевич (RU)
(73) Патентообладатель(и):
ООО “Научно-производственное предприятие “Технологии дистанционного контроля и связи” (RU)
|
(54) ДАТЧИК ДИСТАНЦИОННОГО КОНТРОЛЯ ФИЗИЧЕСКОЙ ВЕЛИЧИНЫ НА ПОВЕРХНОСТНЫХ АКУСТИЧЕСКИХ ВОЛНАХ
(57) Реферат:
Изобретение относится к пьезоэлектрическим датчикам, предназначенным для дистанционного контроля различных физических величин. Техническим результатом изобретения является повышение надежности и возможность установки датчика в труднодоступном месте лишь однажды. Датчик дистанционного контроля физической величины на поверхностных акустических волнах содержит герметичный корпус, внутри которого размещен пьезоэлектрический звукопровод, на рабочей поверхности которого расположены два встречно-штыревых преобразователя (ВШП) и акустопоглотитель на торцах, один из ВШП является однонаправленным и нагружен на приемно-передающую антенну, расположенную вне герметичного корпуса. Другой ВШП выполнен с расщепленными штырями и нагружен на импеданс, расположенный вне герметичного корпуса, значение которого зависит от того физического воздействия, величину которого необходимо проконтролировать. 7 з.п. ф-ы, 1 ил.
Изобретение относится пьезоэлектрическим датчикам, предназначенным для дистанционного контроля различных физических величин.
Известны датчики на поверхностных акустических волнах (ПАВ), содержащие корпус, внутри которого расположен пьезоэлектрический звукопровод, на рабочей поверхности которого расположены два встречно-штыревых преобразователя (ВШП) и акустопоглотитель на торцах [1, 2]. В одном из датчиков звукопровод с ВШП на рабочей поверхности представляет собой линию задержки, которая включается в цепь обратной связи усилителя и представляет собой генератор электрических колебаний, частота которого зависит от температуры или от величины деформации звукопровода [1]. Сигнал от датчика с помощью передающей антенны, подсоединенной к генератору, передается на приемное устройство, которое и осуществляет дистанционный контроль. Устройство другого датчика [2] аналогично, только между ВШП расположена пленка, которая может избирательно поглощать различные вещества. В этом случае датчик может контролировать появления различных веществ. В этом случае корпус не может быть сделан герметичным, что снижает надежность датчика, так как агрессивные вещества могут разрушать металлическую пленку, из которой сделаны ВШП. Так как в состав датчика входит усилитель, то датчику необходим источник питания, который необходимо периодически менять и который может отказать (разрядиться) в не предусмотренное для этого время, что снижает надежность датчика. Кроме того, наличие в усилителе полупроводниковых элементов может привести к выходу его из строя при наличии ионизирующего излучения, что также понижает надежность датчика. Таким образом, наличие источника питания не позволяет устанавливать датчики в труднодоступных местах, где их можно установить на длительный срок лишь однажды, и сравнительно низкая надежность датчика являются существенными недостатками данных датчиков.
Задача, на решение которой направлено изобретение, состоит в создании датчика на ПАВ, лишенного указанных недостатков. Технический результат, который дает осуществление изобретения, заключается в отсутствии источника питания и полупроводниковых элементов.
Это достигается тем, что корпус выполнен герметичным, один из ВШП является однонаправленным и нагружен на приемно-передающую антенну, расположенную вне герметичного корпуса, а другой ВШП выполнен с расщепленными штырями и нагружен на импеданс, значение которого зависит от того физического воздействия, величину которого необходимо проконтролировать и который расположен вне герметичного корпуса, а величина импеданса может быть чувствительна к температуре, давлению, влажности, ионизирующему излучению, электромагнитному излучению, наличию различных веществ.
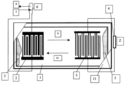
На чертеже показана топологическая структура устройства на ПАВ в соответствии с изобретением.
Датчик содержит пьезоэлектрический звукопровод 1, на рабочей поверхности которого расположены однонаправленный ВШП 2, ВШП с расщепленными штырями 3, который нагружен на импеданс Z4. На торцах звукопровода расположены акустопоглотители 5, а ВШП 2 нагружен на приемно-передающую антенну 6. Пьезоэлектрический звукопровод 1 вместе с ВШП 2,3 помещен в герметичный корпус 11.
Датчик работает следующим образом. При подаче на приемно-передающую антенну 6 опрашивающего электромагнитного импульса 7 он с помощью ВШП 2 преобразуется в импульс ПАВ 9, который отражается от ВШП 3. Отраженный импульс ПАВ 10 преобразуется в электромагнитый импульс 7, который излучается антенной 6. Так как ВШП 3 нагружен на импеданс Z4, то коэффициент отражения R зависит от его величины:

где Y=1/Z,
Ga – активная составляющая проводимости излучения ВШП,
Ba – реактивная составляющая проводимости излучения ВШП,
С – емкость ВШП.
Поэтому величина отраженного импульса 10 будет зависеть от величины Z, которая может быть чувствительна к различным физическим воздействиям (температура, давление, влажность, ионизирующее излучение, электромагнитное излучение) и наличию некоторых веществ. Далее отраженный импульс ПАВ 10 с помощью ВШП 2 преобразуется в электромагнитный импульс, который излучается антенной 6 обратно к опрашивающему устройству. Часть импульса ПАВ 9 излучается к одному торцу звукопровода, а часть проходит под ВШП 3 к другому торцу звукопровода и отражаются от них. При некоторых значениях импеданса Z4 коэффициент отражения может стать близким к нулю и отраженные от торцов сигналы будут больше, чем отраженный от ВШП 3 сигнал, что внесет искажения и сделает невозможным контроль физической величины. Чтобы этого не происходило, на торцы наносятся акустопоглотители 5, которые делают отраженные сигналы менее значений, которые учитываются опрашивающим устройством.
Так как для работы датчика достаточно только наличие опрашивающего импульса и отсутствует усилитель с полупроводниковыми элементами, то для его работы не требуется источник питания, и он будет устойчив к ионизирующему излучению. Отсутствие источника питания позволяет установить такой датчик в труднодоступном месте лишь однажды. Так как импеданс Z4 расположен вне звукопровода, то звукопровод вместе с ВШП можно поместить в герметичный корпус, что изолирует ВШП от внешней среды и повышает надежность датчика.
Пример выполнения. Датчик выполнен на звукопроводе 1 из YX – среза ниобата лития размерами 8×2×0,5 мм3. ВШП 2 выполнен с внутренними отражателями с периодом в две длины ПАВ на центральной частоте f0=663 МГц и длиной в 33 длины ПАВ, что обеспечивает однонаправленный режим в 15 дБ. ВШП 3 расположен на расстоянии 4 мм от ВШП2, что обеспечивает задержку между прямым и отраженным импульсами в 2 мкс и имеет длину, равную 20 длинам ПАВ, что обеспечивает коэффициент отражения от этого ВШП, близкий к 1. Апертура ВШП 2,3 была выбрана равной 0,48 мм. Вносимые потери при подаче сигнала на ВШП 2 и съеме его с ВШП 3 составили 3 дБ. Коэффициент отражения R от ВШП 3 при Z= (разомкнутый ВШП) был не менее 95%, а при замкнутом ВШПЗ (Z=0) R 0,1%. При Z=0,5/Ga коэффициент отражения оказался близким к 50%. Звукопровод вместе с ВШП помещен в герметичный корпус. Четвертьволновая антенна 6 и импеданс Z 4 расположены вне корпуса. Импеданс Z 4 представляет собой биметаллическую пластину, в которой при определенной температуре замыкаются контакты и Z из бесконечности становится близким к нулю. При этом сигнал от датчика уменьшается по амплитуде на 30 дБ.
Источники информации
1. Dias J.F. Hewlett-Packard J. – 1981/ – V.32, N12. – P.21-37.
2. Костромин А.С, Розанов И.А., Черных Е.В., Кувахара Хироюки, Томилова Л.Г., Зефиров Н.С. Датчик на поверхностных акустических волнах для детектирования диоксида углерода. Патент RU 2132584 С1.
Формула изобретения
1. Датчик дистанционного контроля физической величины на поверхностных акустических волнах (ПАВ), содержащий корпус, внутри которого расположен пьезоэлектрический звукопровод, на рабочей поверхности которого расположены два встречно-штыревых преобразователя (ВШП) и акустопоглотитель на торцах, отличающийся тем, что корпус выполнен герметичным, один из ВШП является однонаправленным и нагружен на приемно-передающую антенну, расположенную вне герметичного корпуса, а другой ВШП выполнен с расщепленными штырями и нагружен на импеданс, значение которого зависит от того физического воздействия, величину которого необходимо проконтролировать и который расположен вне герметичного корпуса.
2. Датчик дистанционного контроля физической величины по п.1, отличающийся тем, что однонаправленный ВШП выполнен с внутренними отражателями.
3. Датчик по п.1 или 2, отличающийся тем, что импеданс, на который нагружен ВШП с расщепленными штырями, чувствителен к температуре.
4. Датчик по п.1 или 2, отличающийся тем, что импеданс, на который нагружен ВШП с расщепленными штырями, чувствителен к давлению.
5. Датчик физической величины по п.1 или 2, отличающийся тем, что импеданс, на который нагружен ВШП с расщепленными штырями, чувствителен к влажности.
6. Датчик по п.1 или 2, отличающийся тем, что импеданс, на который нагружен ВШП с расщепленными штырями, чувствителен к ионизирующему излучению.
7. Датчик по п.1 или 2, отличающийся тем, что импеданс, на который нагружен ВШП с расщепленными штырями, чувствителен к электромагнитному излучению.
8. Датчик по п.1 или 2, отличающийся тем, что импеданс, на который нагружен ВШП с расщепленными штырями, чувствителен к наличию различных веществ.
РИСУНКИ
MM4A – Досрочное прекращение действия патента СССР или патента Российской Федерации на изобретение из-за неуплаты в установленный срок пошлины за поддержание патента в силе
Извещение опубликовано: 27.04.2009 БИ: 12/2009
|
|