|
|
(21), (22) Заявка: 2005132140/02, 17.10.2005
(24) Дата начала отсчета срока действия патента:
17.10.2005
(46) Опубликовано: 10.04.2007
(56) Список документов, цитированных в отчете о поиске:
RU 2097672 C1, 27.11.1997. RU 2215839 C1, 10.12.2003. RU 2242697 С1, 20.12.2004. GB 2324593 А, 28.10.1998. US 4324167 А, 13.04.1982.
Адрес для переписки:
300001, г.Тула, Щегловская засека, ГУП “Конструкторское бюро приборостроения”, зам.главного инженера А.В.Морозову
|
(72) Автор(ы):
Кузнецов Владимир Маркович (RU), Сехин Вячеслав Алексеевич (RU), Назаров Александр Александрович (RU), Рассказов Александр Валентинович (RU), Благов Сергей Геннадьевич (RU), Давыдов Михаил Николаевич (RU)
(73) Патентообладатель(и):
Государственное унитарное предприятие “Конструкторское бюро приборостроения” (RU)
|
(54) ТРАНСПОРТНО-ПУСКОВОЙ КОНТЕЙНЕР ДЛЯ РАКЕТЫ
(57) Реферат:
Изобретение относится к области вооружения. Транспортно-пусковой контейнер для ракеты содержит трубу, заднюю крышку в виде диафрагмы, чашеобразную обойму с центральным отверстием и герметизирующую прокладку. Чашеобразная обойма выполнена в виде кольцевой гайки и снабжена в задней части внутренней кольцевой проточкой, в которую герметично установлена диафрагма, выполненная из упруго-пластичного материала, и залит вспененный полимерный материал с жесткой пористой структурой, сформированный в виде толстостенного диска. Герметизирующая прокладка установлена между чашеобразной обоймой и трубой. При использовании изобретения обеспечивается расширение диапазона применения комплекса. 1 з.п. ф-лы, 2 ил.
Предлагаемое изобретение относится к области ракетной техники и может быть использовано в конструкции малогабаритных ракетных комплексов с ракетами, запускаемыми из транспортно-пускового контейнера (ТПК).
Известен ракетный комплекс «Дракон», содержащий управляемый снаряд, размещенный в пластмассовом стволе-контейнере, на концы которого надеты защитные крышки, обеспечивающие герметичность снаряда при хранении и транспортировке [А.Н.Латухин «Противотанковое вооружение», М.: Воениздат, 1974 г., с.226-228].
Недостатком указанного комплекса является то, что в нем крышки перед выстрелом необходимо снимать вручную, что требует времени, снижает скорострельность и, соответственно, уменьшает эффективность.
Указанный недостаток устранен в стреляющем комплексе, выбранном прототипом настоящего предлагаемого изобретения и содержащем снаряд с пороховым выстреливающим устройством, размещенный в стволе-контейнере с крышками, при этом ствол-контейнер выполнен с кольцевым утолщением на одной из наружных околоторцевых поверхностей, при этом крышка, расположенная около этого утолщения, выполнена в виде металлической диафрагмы и закреплена на торце ствола-контейнера чашеобразной обоймой, надетой на кольцевое утолщение, обойма выполнена с центральным отверстием, ее открытый конец загнут за кольцевое утолщение со стороны середины ствола-контейнера, внутренняя боковая стенка обоймы выполнена равной наружной диаметральной части кольцевого утолщения, при этом между торцевой поверхностью ствола-контейнера и крышкой установлена кольцевая резиновая прокладка [патент RU № 2097672 от 23.03.1995 г., МПК6 F 41 F 3/04].
При выстреле пороховые газы, истекающие из сопла двигателя (выстреливающего устройства), воздействуют на диафрагму (заднюю крышку), которая выщелкивается из защемления между торцем ствола-контейнера и чашеобразной обоймой и вылетает назад.
Конструкция прототипа позволила повысить эффективность за счет увеличения скорострельности.
Однако данная конструкция обладает следующим существенным недостатком: в ней при стрельбе образуется широкая опасная зона в задней полусфере за обрезом трубы ствола-контейнера из-за вылета неразрушившейся при выстреле диафрагмы. Причем, вследствие невозможности одновременного выхода из защемления всего контура диафрагмы, последняя, обладающая значительной массой, при выщелкивании под действием потока пороховых газов поворачивается относительно не вышедшего из защемления участка контура диафрагмы и вылетает назад, оказывая значительное динамическое воздействие на расположенные рядом элементы комплекса. Все это ограничивает боевое применение стреляющего комплекса на ряде носителей, например на отдельных видах наземных носителей, кораблях, самолетах, вертолетах из-за опасности динамического воздействия на них вылетающей диафрагмы.
Задачей предлагаемого изобретения является расширение диапазона применения комплекса путем уменьшения опасной зоны при выстреле за счет уменьшения суммарной массы вылетающих элементов.
Решение поставленной задачи заключается в том, что в транспортно-пусковом контейнере для ракеты, содержащем трубу, заднюю крышку в виде диафрагмы, чашеобразную обойму с центральным отверстием и герметизирующую прокладку, чашеобразная обойма выполнена в виде кольцевой гайки и снабжена в задней части внутренней кольцевой проточкой, в которую герметично установлена диафрагма, выполненная из упруго-пластичного материала, и залит вспененный полимерный материал с жесткой пористой структурой, сформированный в виде толстостенного диска, а герметизирующая прокладка установлена между чашеобразной обоймой и трубой, диафрагма расположена у задней торцевой стенки внутренней кольцевой проточки чашеобразной обоймы и выполнена из резины, а толстостенный диск выполнен из пенопласта.
Выполнение чашеобразной обоймы в виде кольцевой гайки, соединенной с трубой и снабженной внутренней кольцевой проточкой, обеспечивает конструктивное и технологическое выполнение предлагаемого изобретения в виде отдельной сборки.
Герметичная установка во внутренней кольцевой проточке диафрагмы из упруго-пластичного материала обеспечивает герметичность ТПК со стороны заднего торца.
Заливка проточки вспененным полимерным материалом с жесткой пористой структурой, сформированным в виде толстостенного диска, обеспечивает при хранении и транспортировке ракеты жесткость герметизирующей диафрагмы, а при старте ракеты – вылет из контейнера разрушенных струей двигателя фрагментов диска и диафрагмы малой массы, динамическое воздействие которых на элементы носителя значительно ниже.
Установка герметизирующей прокладки между чашеобразной обоймой и трубой обеспечивает герметизацию ТПК по резьбовому соединению.
Изобретение поясняется графическими материалами, на которых показаны:
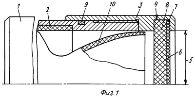
– на фиг.1 – продольный разрез устройства в предстартовом положении;
– на фиг.2 – продольный разрез устройства при старте ракеты.
ТПК 1 (фиг.1) содержит трубу 2, на хвостовую часть которой навинчена чашеобразная обойма 3, выполненная в виде кольцевой гайки и снабженная кольцевой проточкой 4. В обойме 3 выполнено центральное отверстие 5, равное внутреннему диаметру трубы 2. В кольцевой проточке 4 последовательно установлены диафрагма 6 из упруго-пластичного материала (резины) с обеспечением герметичности по посадочному месту с помощью герметика 7 и залит вспененный полимерный материал (пенопласт), сформированный в виде толстостенного диска 8.
Между обоймой 3 и трубой 2 установлена герметизирующая прокладка 9, обеспечивающая герметичность внутренней полости ТПК по наружной поверхности трубы.
Устройство работает следующим образом.
При сборке узла задней крышки в проточку 4 чашеобразной обоймы 3 на герметике 7 ставится диафрагма 6, после чего заливается вспенивающийся полимерный материал (пенопласт), формирующий диск 8 и образующий, по существу, монолитное соединение с материалом диафрагмы 6, что в итоге обеспечивает герметичность ТПК по заднему торцу. Толщина диска 8 выбрана из условия обеспечения прочности задней крышки при воздействии избыточного давления.
При пуске ракеты пороховые газы, истекающие из сопла 10 ракеты, воздействуя на узел задней крышки, разрушают диск 8 вместе с диафрагмой 6 на отдельные фрагменты 11, обладающие малой массой, которые при вылете не оказывают значительного динамического воздействия на элементы носителя.
Таким образом, предложенное устройство обеспечивает уменьшение динамического воздействия на элементы носителя, что позволяет расширить диапазон применения стреляющего комплекса для различных типов носителей.
Формула изобретения
1. Транспортно-пусковой контейнер для ракеты, содержащий трубу, заднюю крышку в виде диафрагмы, чашеобразную обойму с центральным отверстием и герметизирующую прокладку, отличающийся тем, что чашеобразная обойма выполнена в виде кольцевой гайки и снабжена в задней части внутренней кольцевой проточкой, в которую герметично установлена диафрагма, выполненная из упругопластичного материала, и залит вспененный полимерный материал с жесткой пористой структурой, сформированный в виде толстостенного диска, а герметизирующая прокладка установлена между чашеобразной обоймой и трубой.
2. Транспортно-пусковой контейнер по п.1, отличающийся тем, что диафрагма расположена у задней торцевой стенки внутренней кольцевой проточки чашеобразной обоймы и выполнена из резины, а толстостенный диск выполнен из пенопласта.
РИСУНКИ
|
|