|
(21), (22) Заявка: 2005114838/02, 16.05.2005
(24) Дата начала отсчета срока действия патента:
16.05.2005
(43) Дата публикации заявки: 27.11.2006
(46) Опубликовано: 10.04.2007
(56) Список документов, цитированных в отчете о поиске:
RU 2212616 C1, 20.09.2003. SU 1571458 A1, 15.06.1990. US 3895557 A, 22.07.1975. US 3735668 A, 29.05.1973. FR 2461919 A1, 06.02.1981. DE 1578021 A1, 21.05.1970.
Адрес для переписки:
440005, г.Пенза, Пензенский артиллерийский инженерный институт, научно-исследовательский отдел
|
(72) Автор(ы):
Богомолов Алексей Иванович (RU), Пархоменко Василий Александрович (RU), Курочкин Александр Михайлович (RU), Рыбаков Александр Александрович (RU), Устинов Евгений Михайлович (RU)
(73) Патентообладатель(и):
Пензенский артиллерийский инженерный институт (RU)
|
(54) УСТРОЙСТВО ИЗМЕРЕНИЯ ОТКЛОНЕНИЯ ПАКЕТА НАПРАВЛЯЮЩИХ РСЗО ОТ ЗАДАННОГО ПОЛОЖЕНИЯ
(57) Реферат:
Изобретение относится к устройствам экспериментального определения параметров, измерения характеристик стрельбы и управления огнем реактивных систем залпового огня. Устройство содержит регистрирующую аппаратуру, фиксирующую колебания пакета направляющих и передающую информацию для обработки на ЭВМ в реальном масштабе времени. Устройство снабжено лазерным излучателем, размещенным во втулке, кольцом с перекрестием, экраном со шкалой. Регистрирующая аппаратура выполнена в виде скоростной цифровой кинокамеры. Втулка с лазерным излучателем установлена в базовой направляющей со стороны вылета реактивного снаряда, кольцо с перекрестием установлено с обратной стороны базовой направляющей, а экран и скоростная цифровая кинокамера установлены по оптической оси лазерного излучателя. Реализация изобретения позволяет автоматизировать процесс измерения и учета колебаний пакета направляющих в реальном масштабе времени. 3 ил.
Изобретение относится к устройствам измерения характеристик стрельбы и управления огнем реактивных систем залпового огня (РСЗО) и может быть использовано в военной технике.
Реактивные системы залпового огня являются важным элементом ракетно-артиллерийского вооружения (РАВ) и предназначены для поражения площадных целей на значительных дальностях. В жизненный цикл РСЗО входят испытания, соответствующие всем его этапам [5]. Испытание продукции – это экспериментальное определение значений параметров и показателей качества продукции в процессе функционирования или при имитации условий эксплуатации [4].
Реактивные системы залпового огня, как объект исследований, представляют собой сложную систему [3]. Пусковая установка (ПУ) РСЗО в период залпа имеет несколько состояний (изменение масс и моментов инерции, характеристик жесткости и демпфирования и др.), вследствие чего исследуемые при испытаниях параметры колебаний базы и артиллерийской части, сбиваемость наводки и другие параметры представляют собой случайные процессы. Так как амплитудный и частотный процесс колебаний пакета направляющих существенно меняется в процессе залпа РСЗО, то ухудшается и кучность стрельбы.
Для определения характеристик РСЗО, как объекта исследований, широко применяются [1,2]:
– способы математического моделирования;
– экспериментальные полигонные (летные) испытания стрельбой;
– экспериментальные лабораторные исследования.
Для определения характеристик РСЗО способами математического моделирования требуется большое количество исходных данных, которыми являются инерционные, диссипативные параметры, а также силовое воздействие на боевую машину (БМ) газовой струи реактивного снаряда (PC).
Экспериментальные полигонные (летные) испытания РСЗО стрельбой позволяют наиболее полно идентифицировать и проводить оценку математических моделей на адекватность, а также получать характеристики РСЗО в требуемом диапазоне. Однако организация и проведение натурных полигонных испытаний РСЗО требует значительных затрат как материальных, так и временных.
Одним из важных направлений способа экспериментальных исследований является определение параметров РСЗО при лабораторных испытаниях. Данные исследования в короткое время и при небольших затратах позволяют получить характеристики колебаний ПН РСЗО, осуществляемые с помощью имитации положений отклонения пакета направляющих РСЗО от заданного методом типа «холодный срыв», осуществляемого с помощью троса, или при заряжании и разряжании РСЗО.
В настоящее время для исследований (контроля) параметров РСЗО при лабораторных испытаниях применяют:
– механические регистраторы перемещения (толкатели), непосредственно связанные с ПН РСЗО, и записывающие устройства;
– гироскопические регистраторы положения ПН РСЗО (гировертикали, курсовые гироскопы – гироскопы направления) и записывающих устройств;
– скоростную кино(фото)съемку, регистрирующую отклонение положения ПН РСЗО.
Наиболее близким к предложенному является устройство для измерения отклонения пакета направляющих РСЗО от заданного положения по патенту RU 2212616, которое содержит регистрирующую аппаратуру, фиксирующую колебания ПН и передающую информацию для обработки на ЭВМ в реальном масштабе времени.
Недостатком прототипа является то, что полученные результаты после регистрации требуют длительного полуручного пересчета для определения величины амплитуды колебаний ПН и других параметров РСЗО. Это не позволяет полностью автоматизировать данный процесс и получать результаты в реальном масштабе времени.
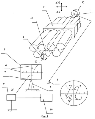
С целью решения задачи измерения отклонений ПН РСЗО от заданного положения, имитирующего направление стрельбы, для исследований (контроля) параметров РСЗО при лабораторных испытаниях предлагается использовать устройство, реализующее коллимационный способ, которое содержит следующие элементы (фиг.1):
1 – лазерный излучатель (например, типа полупроводниковый квантовый генератор – «лазерная указка»);
2 – выверенная втулка из комплекта ЗИП РСЗО для выверки с вновь разработанным устройством крепления и регулировки положения оптической оси лазерного излучателя;
3 – кнопка дистанционного управления излучателем;
4 – кольцо с перекрестием для регулировки положения излучение через оптическую ось базового ствола РСЗО;
5 – полупрозрачный (матовый) экран с перекрестием 6 и устройством крепления 7 в виде шаровой опоры;
8 – тренога для крепления экрана;
9 – скоростная цифровая кинокамера;
10 – устройство обработки измерений ЭВМ.
11 – пакет направляющих РСЗО;
12 – базовая направляющая пакета РСЗО.
Устройство измерения отклонения пакета направляющих РСЗО от заданного положения реализовано в виде лабораторной установки, внешний вид варианта устройства приведен на фиг.2 и 3.
Перед лабораторной работой (экспериментальными измерениями) лазерный излучатель 1 устанавливается в устройство крепления и регулировки выверочной втулки 2. Выверочная втулка 2 устанавливается на базовую направляющую 12 пакета РСЗО со стороны вылета реактивного снаряда. С обратной стороны базовой направляющей 12 вставляется кольцо с перекрестием 4. Устройством регулировки положения лазерного излучателя 1 в выворочной втулке 2 (три регулировочных винта) добиваются того, чтобы центр излучения от лазерного излучателя 1 проходил через перекрестие кольца 4 – в данном случае обеспечивается параллельность оси лазерного излучателя 1 и базовой направляющей 12 пакета РСЗО, представляющего колебательную систему. Неподвижная (отсчетная) система – полупрозрачный экран 5 и скоростная цифровая кинокамера 9 устанавливаются по оптической оси лазерного излучателя 1 (оси базовой направляющей 12 пакета РСЗО). Полупрозрачный экран 5 устанавливается посредством устройства крепления 7 на треноге 8 и перемещается вместе с ней так, чтобы излучение лазерного излучателя 1 проектировалось на центр перекрестия 6 полупрозрачного экрана 5. Скоростная цифровая кинокамера 9 размещается так, чтобы обеспечить регистрацию перемещения световой отметки по полупрозрачному экрану 5, соответствующего колебаниям базовой направляющей 12 (пакету направляющих 11) РСЗО. Пакет направляющих 11 совершает колебания как по высоте, так и по направлению.
Для включения и выключения лазерного излучателя 1 используется кнопка дистанционного управления 3. Результаты измерений с скоростной цифровой кинокамеры 9 поступают в ЭВМ 10, где регистрируются и обрабатываются в реальном масштабе времени.
Так как расстояние между лазерным излучателем 1 и кольцом 4 равно длине базовой направляющей (для ПУ БМ-21 длина направляющей равна 3 м), то величина ошибки измерения будет значительно меньше ошибок, получаемых традиционными методами.
Предложенное устройство измерения отклонения пакета направляющих РСЗО от заданного положения, реализующее коллимационный способ, позволяет при лабораторных испытаниях РСЗО:
– проводить исследования (контроль) параметров при колебаниях ПН типа, «холодный срыв», осуществляемого с помощью троса или при заряжании и разряжании РСЗО – при имитации схода реактивного снаряда с направляющей;
– автоматизировать процесс измерения и учета колебаний пакета направляющих (ошибок стрельбы) в реальном масштабе времени;
– получать данные для проведения структурной идентификации характеристик пакета направляющих РСЗО – определении присущих только данной РСЗО характеристик.
Используемая литература
1. Богомолов А.И. Основания устройства и расчет реактивных систем. Учебник. – Пенза: ПАИИ. 2003. – 320 с.
2. Богомолов А.И., Макагонов Н.И. Испытания ракетно-артиллерийского вооружения. Учебное пособие. – Пенза: ПАИИ. 2004. – 94 с.
3. Панов В.В. Испытания ракетно-артиллерийского вооружения и радиоэлектронных средств. – Л.: ВАА. 1981. – 640 с.
4. ГОСТ В24283-80.
5. ГОСТ 15.004-84.
Формула изобретения
Устройство измерения отклонения пакета направляющих реактивной системы залпового огня от заданного положения, имитирующего направление стрельбы, содержащее регистрирующую аппаратуру, фиксирующую колебания пакета направляющих и передающую информацию для обработки на ЭВМ в реальном масштабе времени, отличающееся тем, что оно снабжено лазерным излучателем, размещенным во втулке, кольцом с перекрестием, экраном со шкалой, а регистрирующая аппаратура выполнена в виде скоростной цифровой кинокамеры, при этом втулка с лазерным излучателем установлена в базовой направляющей со стороны вылета реактивного снаряда, кольцо с перекрестием установлено с обратной стороны базовой направляющей, а экран и скоростная цифровая кинокамера установлены по оптической оси лазерного излучателя.
РИСУНКИ
MM4A – Досрочное прекращение действия патента СССР или патента Российской Федерации на изобретение из-за неуплаты в установленный срок пошлины за поддержание патента в силе
Дата прекращения действия патента: 17.05.2007
Извещение опубликовано: 27.07.2008 БИ: 21/2008
|