|
|
(21), (22) Заявка: 2005125473/02, 10.08.2005
(24) Дата начала отсчета срока действия патента:
10.08.2005
(46) Опубликовано: 10.04.2007
(56) Список документов, цитированных в отчете о поиске:
RU 2205340 С2, 27.05.2003. US 6672196 А, 06.01.2004. FR 2639103 A1, 18.05.1990. DE 4014194 A1, 07.11.1991. JP 5093596 A, 16.04.1993.
Адрес для переписки:
300001, г.Тула, Щегловская засека, ГУП “Конструкторское бюро приборостроения”
|
(72) Автор(ы):
Кондауров Евгений Михайлович (RU), Клишин Евгений Иванович (RU), Кисляк Владимир Александрович (RU)
(73) Патентообладатель(и):
Государственное унитарное предприятие “Конструкторское бюро приборостроения” (RU)
|
(54) БОЕВАЯ УСТАНОВКА
(57) Реферат:
Изобретение относится к военной технике, а именно к боевым установкам. На днище боевого модуля по углам установлены сошники Г-образной формы, каждая сторона которых расположена вдоль соответствующих боковых стенок боевого модуля. Нижние ребра сошников имеют заходные фаски. На днище, внутри боевого модуля, по углам выполнены ниши с отверстиями в боковых стенках и пазом в днище для взаимодействия с проушиной, образованной на опорной поверхности сошника. Сошники закреплены на стенках боевого модуля шарнирно и в рабочем положении фиксируются запирающим пальцем. Для фиксации сошников в нерабочем положении на стенках боевого модуля снаружи закреплены фиксаторы. Использование изобретения позволяет повысить точностные и эксплуатационные характеристики боевой установки. 3 з.п. ф-лы, 4 ил.
Изобретение относится к военной технике, а именно к боевым установкам.
Известны зенитно-ракетные комплексы “ADATS” [Jane’s Land – Based Air Defence 2000-2001, p.239] и “Grotale” [Jane’s Land – Based Air Defence 2000-2001, p.331, 332], в которых башня с вооружением и блоками системы наведения с помощью основания контейнерного типа устанавливается на подвижных носителях, а также стационарно на земле. Известна зенитная самоходная установка [Патент RU 2205340 МПК 7 С2, 27.05.2003], принятая за прототип, в которой боевой модуль, содержащий башню с пушечным и ракетным вооружением, выполнен с возможностью установки его стационарно на местности. При размещении указанных установок на грунте: песчаном, сыром и глинистом, имеющем низкий коэффициент трения, установки в процессе стрельбы, особенно из пушек, могут сдвигаться под действием усилия отдачи, что приводит к ухудшению точностных характеристик при стрельбе.
Известна 152-мм гаубица-пушка МЛ-20М [152-мм гаубица – пушка МЛ-20М и 122-мм пушка обр. 1931/37 г., (руководство службы), издание четвертое, Военное издательство Министерства обороны СССР, Москва, стр.139], в которой для устранения этого недостатка применяются забивные сошники, имеющие ребра с зубьями. Для забивания сошников используется кувалда, а для вытаскивания – лом-лапа, взаимодействующий с зубьями сошника. Недостаток данной конструкции заключается в том, что операция по забиванию и вытаскиванию сошников осуществляется вручную, является трудоемкой и приводит к увеличению времени при подготовке орудия к стрельбе и переводе его в походное положение. Кроме того, в составе орудия необходимо иметь кувалду и лом-лапу, что требует дополнительного места и увеличивает массу орудия. Все это ухудшает эксплуатационные характеристики последнего.
Задачей, на решение которой направлено изобретение, является повышение точностных и эксплуатационных характеристик боевой установки.
Упомянутая задача достигается тем, что в боевой установке, содержащей боевой модуль с вооружением, новым является то, что к днищу боевого модуля по углам крепятся сошники Г-образной формы с равными сторонами, расположенными вдоль соответствующих стенок боевого модуля. На днище боевого модуля, с внутренней стороны, по углам образованы ниши, с пазом в днище для взаимодействия с проушиной, образованной на опорной поверхности сошника.
В боковых стенках боевого модуля и ниш, а также в проушинах выполнены отверстия для взаимодействия с запирающим пальцем в рабочем положении сошника, причем в нишах отверстия глухие. Сошники закреплены на стенках боевого модуля шарнирно, а нижние ребра их имеют заходные фаски. В нерабочем положении сошники удерживаются с помощью фиксаторов, смонтированных на наружной стороне стенок боевого модуля.
Поскольку боевая установка имеет значительную массу и устанавливается на грунт с помощью подъемного крана, то в процессе опускания боевого модуля сошники входят в грунт под действием массы его. При снятии боевого модуля с позиции подъемный кран поднимает его, одновременно извлекая сошники из грунта. Таким образом, вхождение в грунт и вытаскивание из грунта сошников осуществляется без участия боевого расчета, автоматически, в процессе постановки и снятия боевого модуля с боевой позиции. При транспортировке и размещении боевого модуля на позиции с твердым покрытием или на сухом и твердом грунте сошники переводятся в нерабочее положение.
При Г-образной форме сошников с равными сторонами и предлагаемом месте их расположения нагрузку от усилия отдачи воспринимают все четыре сошника. При этом суммарная площадь боковых опорных поверхностей сошников, препятствующих перемещению боевого модуля, практически остается постоянной на всех углах стрельбы по горизонту. Наличие на нижних ребрах сошников заходных фасок облегчает вхождение сошников в грунт. Шарнирное крепление сошников позволяет осуществлять быстрый перевод их из нерабочего положения в рабочее и обратно, а наличие проушины и запирающего пальца обеспечивает надежное и быстрое крепление сошников в рабочем положении. Образование ниши обеспечивает герметизацию внутреннего объема боевого модуля, а введение фиксатора позволяет удерживать сошники в нерабочем положении.
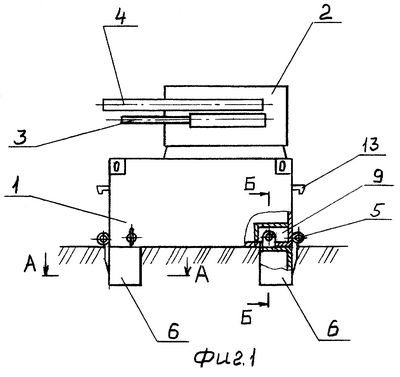
Предлагаемое техническое решение схематично иллюстрируется графическими материалами, где на фиг.1 показан установленный на грунте боевой модуль с сошниками в рабочем положении, на фиг.2 показано сечение А-А, на фиг.3 – боевой модуль с сошниками в нерабочем положении, на фиг.4 – сечение Б-Б.
Боевой модуль 1 содержит башню 2 с пушками 3 и ракетами 4, а на боковых стенках с помощью шарниров 5 закреплены сошники 6 с проушинами 7. Сошники расположены по углам боевого модуля и имеют Г-образную форму. На нижних кромках сошников выполнены заходные фаски 8. Внутри боевого модуля, по углам, образованы ниши 9 с глухими отверстиями 10 и отверстиями 11 в стенке боевого модуля. В днище, в районе ниши, выполнены пазы, в которые входят проушины 7, и с помощью запирающих пальцев 12 последние крепятся в рабочем положении. В нерабочем положении сошники 6 удерживаются фиксаторами 13.
Источники информации
1. Jane’s Land – Based Air Defence 2000-2001, p.239.
2. Jane’s Land – Based Air Defence 2000-2001, p.331, 332.
3. Патент RU 2205340 МПК 7 С2, 27.05.2003 – прототип.
4. 152-мм гаубица – пушка МЛ-20М и 122-мм пушка обр. 1931/37 г. (руководство службы), издание четвертое, Военное издательство Министерства обороны СССР, Москва, стр.139.
Формула изобретения
1. Боевая установка, содержащая боевой модуль с вооружением, отличающаяся тем, что на днище боевого модуля по углам установлены шарнирно закрепленные на стенках боевого модуля сошники Г-образной формы с равными сторонами, причем каждая сторона сошника расположена вдоль соответствующей стенки боевого модуля, а на днище внутри боевого модуля по углам выполнены ниши с пазом в днище для взаимодействия в рабочем положении сошника с проушиной, образованной на его опорной поверхности, при этом в боковых стенках боевого модуля и ниш, а также в проушинах выполнены отверстия для взаимодействия с запирающим пальцем в рабочем положении сошника.
2. Боевая установка по п.1, отличающаяся тем, что нижние ребра сошников имеют заходные фаски.
3. Боевая установка по п.1, отличающаяся тем, что в стенках ниш отверстия выполнены глухими.
4. Боевая установка по п.1, отличающаяся тем, что снаружи на стенках боевого модуля закреплены фиксаторы для взаимодействия с сошниками в их нерабочем положении.
РИСУНКИ
MM4A – Досрочное прекращение действия патента СССР или патента Российской Федерации на изобретение из-за неуплаты в установленный срок пошлины за поддержание патента в силе
Дата прекращения действия патента: 11.08.2007
Извещение опубликовано: 20.03.2009 БИ: 08/2009
NF4A – Восстановление действия патента СССР или патента Российской Федерации на изобретение
Дата, с которой действие патента восстановлено: 20.07.2009
Извещение опубликовано: 20.07.2009 БИ: 20/2009
|
|