|
|
(21), (22) Заявка: 2003132543/03, 19.04.2002
(24) Дата начала отсчета срока действия патента:
19.04.2002
(30) Конвенционный приоритет:
20.04.2001 (пп.1-20) LU 90762
(43) Дата публикации заявки: 27.04.2005
(46) Опубликовано: 10.04.2007
(56) Список документов, цитированных в отчете о поиске:
SU 85038 A1, 01.01.1950. SU 40857 A1, 31.12.1934. US 3419254 A, 31.12.1968. US 1468216 A, 18.09.1923. DE 389355 A1, 29.01.1924. US 1687935 A, 16.10.1928. US 4842051 A, 27.06.1989.
(85) Дата перевода заявки PCT на национальную фазу:
20.11.2003
(86) Заявка PCT:
EP 02/05114 (19.04.2002)
(87) Публикация PCT:
WO 02/086407 (31.10.2002)
Адрес для переписки:
101000, Москва, М.Златоустинский пер., 10, кв.15, ЕВРОМАРКПАТ, пат.пов. М.Б.Веселицкому
|
(72) Автор(ы):
СТРЭЙЦ Серж (LU), АРЕНДТ Стив (LU), ЛОНАРДИ Эмиль (LU), ХЮТМАХЕР Патрик (LU), КРЭМЕР Эдгар (LU)
(73) Патентообладатель(и):
ПОЛЬ ВУРТ С.А. (LU)
|
(54) ГРЕБОК ДЛЯ ПЕЧИ И МНОГОПОДОВАЯ ПЕЧЬ
(57) Реферат:
Изобретение относится к гребку для печи, в частности многоподовой печи. Гребок для печи содержит вытянутый в длину металлический несущий сердечник, лопатки, каждая из которых имеет перемешивающую и перемещающую материал часть и крепежную часть, и крепежное приспособление, которое вместе с крепежной частью лопатки предназначено для крепления лопаток к вытянутому в длину металлическому несущему сердечнику гребка и содержит несущую лопатки втулку, которая со скольжением устанавливается на вытянутый в длину металлический сердечник гребка. Несущая лопатки втулка включает внутреннюю металлическую втулку, наружную металлическую втулку и теплоизолирующий материал, расположенный между внутренней и наружной металлическими втулками с обеспечением сплошной теплоизоляции вытянутого в длину металлического сердечника гребка. Охарактеризована также многоподовая печь. Технический результат: повышение износостойкости и прочности лопаток гребка. 2 н. и 18 з.п. ф-лы, 7 ил.
Настоящее изобретение относится к гребку для печи, в частности многоподовой печи.
Многоподовая печь имеет вертикальный цилиндрический кожух, разделенный множеством расположенных по вертикали на определенном расстоянии друг от друга подов на подовые камеры, имеющие общую вертикальную ось. В центре печи расположен вертикальный вал, который проходит через поды всех подовых камер. В каждой подовой камере к этому центральному валу крепится по меньшей мере один обращенный радиально наружу и проходящий над подом гребок. Снизу на гребке имеются перемешивающие и перемещающие материал лопатки, погруженные в обрабатываемый на поде материал. При вращении вертикального вала гребок перемещается над находящимся на соответствующем поде печи материалом, который при этом интенсивно перемешивается погруженными в него лопатками гребка. В зависимости от угла наклона лопаток перемешиваемый ими материал перемещается по поду радиально внутрь к центральному валу или радиально наружу к кожуху печи. Каждый под имеет сквозные отверстия, расположенные в чередующемся порядке либо во внутренней (т.е. рядом с центральным валом), либо во внешней (т.е. рядом с цилиндрическим кожухом печи) зоне пода. Материал, падающий сверху во внутреннюю зону пода, перемещается по поду лопатками механически перемешивающего его гребка наружу к расположенному в наружной зоне пода отверстию, через которое он падает вниз в наружную зону нижележащего пода. На этом нижележащем поде материал перемещается перемешивающим его гребком внутрь в направлении центра печи к расположенному во внутренней зоне пода отверстию, через которое он падает вниз во внутреннюю зону следующего нижележащего пода. В выполненной таким образом многоподовой печи обрабатываемый материал медленно движется по змеевидной (извилистой) траектории, последовательно проходя через все расположенные на одной вертикальной оси подовые камеры печи.
Хорошо известно, что многоподовые печи обладают многими преимуществами по сравнению с другими предназначенными для обработки твердых материалов печами, такими как карусельные печи с вращающимися подами, барабанные печи и шахтные печи. Соответствующее регулирование и поддержание разной атмосферы и температуры в расположенных на одной вертикальной оси подовых камерах позволяет с высокой точностью контролировать весь протекающий в печи процесс обработки материала. Другим преимуществом многоподовой печи является возможность непрерывного перемешивания обрабатываемого в ней твердого материала на всем пути его прохождения через печь, сопровождающегося интенсивным воздействием на твердый материал газов, которые в регулируемом количестве проходят через печь в противотоке с обрабатываемым в ней твердым материалом. Тем не менее изобретенные в конце девятнадцатого века многоподовые печи в настоящее время находят очень небольшое применение для обработки твердых материалов. Связано это в первую очередь с тем, что многоподовые печи не могут надежно работать в течение длительного периода времени и требуют периодического проведения ремонтно-профилактических работ.
Наиболее подверженными износу элементами многоподовой печи являются оснащенные лопатками гребки, предназначенные для механического перемешивания и перемещения по поду обрабатываемого в печи материала. И сами гребки, и их лопатки подвержены интенсивному тепловому и механическому воздействию и поэтому обычно достаточно быстро выходят из строя из-за возникающей в них коррозии. В старых многоподовых печах гребки для механического перемешивания и перемещения твердого материала имели отлитую из чугуна несущую конструкцию с водяным или газовым охлаждением и заменяемые по мере износа лопатки. Такие заменяемые лопатки имели расположенный в верхней части лопатки выполненный в виде ласточкина хвоста элемент, предназначенный для установки лопатки в имеющий соответствующую форму паз, выполненный на нижней стороне охлаждаемой металлической несущей конструкции гребка.
В 1968 г. в патенте US 3419254 была предложена новая, более совершенная, по мнению авторов этого изобретения, конструкция гребка для механического перемешивания и перемещения по поду твердого материала, обрабатываемого в многоподовой печи. Защищаемый этим патентом гребок имеет полый, отлитый из чугуна центральный стержень или сердечник. Сердечник гребка разделен центральной перегородкой на два отдельных канала для прохода охлаждающего воздуха. Лопатки гребка изготовлены из керамического материала. Каждая лопатка имеет верхнюю крепежную часть с двумя обращенными внутрь похожими на крюки соединительными элементами (захватами), форма и размеры которых соответствуют форме и размерам горизонтальных фланцев, расположенных снизу на металлическом сердечнике гребка. Необходимая теплоизоляция соединения лопаток с металлическим сердечником гребка и его способность амортизировать удары обеспечивается волокнистым уплотнительным материалом, расположенным между похожими на крюки соединительными элементами (захватами) лопаток и нижним горизонтальным фланцем сердечника. Теплоизоляция всего металлического сердечника обеспечивается закрывающим его наружную поверхность внутренним слоем волокнистого материала и наружным слоем твердого теплоизолирующего материала. На металлическом сердечнике имеются выступы, которые препятствуют перемещению такой двухслойной теплоизолирующей оболочки относительно сердечника в продольном направлении. В другом предложенном в этом патенте варианте к металлическому сердечнику гребка сбоку и сверху приварены изготовленные из проволоки штыри. Такие штыри надежно удерживают на наружной поверхности сердечника плотно прижатый к ней слой волокнистого теплоизолирующего материала. Закрытый снаружи слоем волокнистого теплоизолирующего материала гребок заливается снаружи слоем жидкой теплоизоляции, которая в твердом виде удерживается на месте изготовленными из проволоки штырями, приваренными снаружи к металлическому сердечнику.
Основным недостатком известных в настоящее время гребков для механического перемешивания и перемещения материла, обрабатываемого в многоподовой печи, является очень частая поломка лопаток в том месте, где расположены их выполненные в виде ласточкиного хвоста или похожие на крюки соединительные элементы (захваты), которыми лопатки крепятся к металлическому сердечнику. В этой связи необходимо отметить, что поломка даже одной лопатки и возможный удар в отломившуюся от гребка часть лопатки других лопаток может привести к серьезной поломке не только других лопаток, но и целиком одного или нескольких гребков, расположенных в разных подовых камерах печи.
Еще один недостаток известных гребков, предназначенных для механического перемешивания и перемещения материала в многоподовых печах, заключается в их недостаточной защите от воздействия высоких температур. Теплоизоляция известных гребков недостаточно эффективна по целому ряду причин. Необходимо отметить, например, что нижняя сторона гребков, которая подвержена воздействию наибольших тепловых нагрузок, вообще имеет плохую теплоизоляцию. Кроме того, очень часто по истечении сравнительно короткого периода работы печи происходит отслаивание теплоизоляции от сердечника гребка. Восстановление теплоизоляции требует отсоединения гребка от центрального вала, и поэтому операторы обычно сознательно идут на определенный риск, не заменяя поврежденную теплоизоляцию вплоть до следующего текущего ремонта печи, во время которого им в любом случае приходится демонтировать гребки. Во время работы печи не защищенные теплоизоляцией металлические сердечники гребков подвергаются воздействию тепловых нагрузок, которые могут превысить расчетные тепловые нагрузки, которые при нормальной работе должны выдерживать гребки.
Еще один недостаток существующих гребков заключается в недостаточной износостойкости их лопаток. Большинство гребков с отлитыми из чугуна лопатками очень быстро изнашиваются в коррозионно-активной атмосфере печи и/или под действием высоких температур. Керамические лопатки обладают большей износостойкостью, однако их изготовление соответствующих формы и размеров связано с исключительно высокими затратами. Поэтому обычно применение керамических лопаток считается экономически нецелесообразным для таких гребков. Керамические лопатки, кроме того, при своей высокой износостойкости обладают низкой пластичностью и поэтому часто ломаются, особенно в тех местах, где расположены их выполненные в виде ласточкиного хвоста или похожие на крюки соединительные элементы (захваты).
В настоящее время известны и другие, описанные в указанных ниже документах, конструкции лопаток для гребков, предназначенных для механического перемешивания и перемещения материала в многоподовых печах.
Так, в частности, в патенте US 1468216 описана конструкция охлаждаемой лопатки для гребка, которая имеет цилиндрическое основание, которым она крепится к сердечнику гребка, и полую лопасть, которая механически перемешивает и перемещает по поду обрабатываемый в печи материал. Полая лопатка отливается за одно целое с цилиндрическим основанием. Цилиндрические основания лопаток крепятся в ряд к вытянутому в длину несущему металлическому сердечнику гребка, из которого через них внутрь полых лопастей попадает охлаждающая среда.
В патенте DE 389355 описана конструкция лопатки для гребка, которая имеет втулку с трапециевидным поперечным сечением, которой лопатка крепится к сердечнику гребка, и по меньшей мере одну выполненную за одно целое со втулкой выступающую рабочую часть, расположенную на боковой стенке втулки. Предложенная в этом патенте лопатка гребка изготовлена из огнеупорного и кислотостойкого материала.
В патенте US 1687935 описана конструкция лопатки для гребка, которая имеет выполненную в виде ласточкиного хвоста крепежную часть, которая вставляется в соответствующий паз, выполненный на нижней стороне металлического сердечника гребка.
В основу настоящего изобретения была положена задача экономичного и эффективного повышения износостойкости и прочности лопаток гребка, в частности, за счет обеспечения их лучшей защиты от действия высоких температур, более легко поддающейся ремонту и восстановлению. Эта задача решается с помощью заявляемого в формуле изобретения гребка.
Предлагаемый в настоящем изобретении гребок для печи содержит вытянутый в длину металлический несущий сердечник, лопатки, каждая из которых имеет перемешивающую и перемещающую материал часть и крепежную часть, и крепежное приспособление, которое вместе с крепежной частью лопатки предназначено для крепления лопаток к вытянутому в длину металлическому несущему сердечнику гребка и содержит несущую лопатки втулку, которая со скольжением устанавливается (надевается) на вытянутый в длину металлический сердечник гребка. В соответствии с изобретением несущая лопатки втулка включает внутреннюю металлическую втулку, наружную металлическую втулку и теплоизолирующий материал, расположенный между внутренней и наружной металлическими втулками с обеспечением сплошной теплоизоляции вытянутого в длину металлического сердечника гребка.
В настоящем изобретении также предлагается многоподовая печь, содержащая по меньшей мере один такой гребок.
Предлагаемая теплоизоляция несущей лопатки втулки позволяет обеспечивать сплошную теплоизоляцию вытянутого в длину металлического сердечника гребка без разрывов в местах расположения крепежных элементов лопаток. Использование покрытой со всех сторон слоем теплоизоляции несущей лопатки втулки в качестве теплоизоляции гребка существенно повышает эффективность теплоизоляции и делает ее менее подверженной разрушению по сравнению с теплоизоляцией, используемой в гребках известных конструкций. Кроме того, восстановление предлагаемой в изобретении теплоизоляции не требует демонтажа всего гребка, а требует только сдвига с металлического сердечника гребка установленной на нем втулки с лопатками, и поэтому замену сломанных лопаток и восстановление поврежденной теплоизоляции можно выполнять одновременно в нормальных условиях вне печи.
Для гарантии улучшенного соединения между вытянутым в длину металлическим несущим сердечником и лопатками крепежная часть лопатки не имеет соединительного элемента в форме ласточкиного хвоста, соединительных захватов или втулки, а образована частью пластины, в которой выполнено сквозное отверстие, через которое в осевом направлении проходит вытянутый в длину металлический несущий сердечник гребка, крепление к которому лопатки осуществляется с помощью крепежного приспособления, которое взаимодействует с расположенным вокруг сквозного отверстия участком поверхности крепежной части пластины. В предлагаемом в изобретении гребке крепежная часть лопатки не имеет никаких пазов, в которых из-за концентрации напряжений в большинстве случаев происходит поломка лопатки. Кроме того, имеющееся в предлагаемом в изобретении гребке крепежное приспособление, предназначенное для крепления лопатки к металлическому сердечнику гребка, может взаимодействовать со всей расположенной вокруг сквозного отверстия поверхностью крепежной части лопатки. Такое крепление лопатки к металлическому сердечнику гребка обеспечивает по сравнению с соединительными устройствами с крепежными элементами типа ласточкиного хвоста, соединительных захватов или втулок лучшее распределение напряжений, возникающих в крепежной части лопатки.
Другим преимуществом предлагаемой в изобретении конструкции крепежной части лопатки является возможность использования лопаток очень простой формы. Лопатку предлагаемого в изобретении гребка можно выполнить в виде плоской пластины с овальным сквозным отверстием. Простая форма лопатки позволяет в свою очередь изготавливать лопатки из керамического материала при достаточно низкой стоимости изготовления. Следует также отметить, что настоящее изобретение позволяет использовать для перемешивания и перемещения материала, обрабатываемого в многоподовых печах, гребки с относительно дешевыми лопатками, обладающими высокой износостойкостью и менее подверженные поломкам, чем лопатки известных в настоящее время гребков.
Лопатка предлагаемого в изобретении гребка может иметь постоянную толщину по всей ее высоте. При этом, однако, лопатка может иметь и переменную толщину, что обеспечивает по существу равномерное распределение возникающих в ней напряжений. Необходимо отметить, что такая равнопрочная лопатка переменной толщины имеет меньшую массу по сравнению с рассчитанной на такую же нагрузку лопаткой постоянной толщины.
Лопатку предлагаемого в изобретении гребка можно изготавливать не из одного материала, а из двух разных материалов, используя один, более вязкий материал для изготовления крепежной части лопатки, а другой, менее вязкий материал – для изготовления ее перемешивающей и перемещающей материал части. Преимущество такой изготовленной из разных материалов лопатки состоит в высокой прочности ее крепежной части (которая обычно не ломается, а пластически деформируется) и в высокой износостойкости той ее части, которая механически перемешивает и перемещает по поду обрабатываемый в печи материал. В качестве первого материала можно использовать литую сталь, а в качестве второго материала – керамику. Лопатка предлагаемого в изобретении гребка может также иметь основу из литой стали, образующую всю крепежную часть лопатки, и покрытую слоем керамики ту часть, которая механически перемешивает и перемещает материал.
В предпочтительном варианте выполнения несущая лопатки втулка крепится через сквозное отверстие в крепежной части лопатки. На такой несущей втулке предпочтительно устанавливать несколько лопаток, связанных с ней сквозными отверстиями, выполненными в крепежной части лопаток. Собранная с лопатками несущая втулка по соответствующей посадке устанавливается на вытянутый в длину металлический сердечник гребка. При этом и несущая втулка, и сквозное отверстие, выполненное в крепежной части лопатки, имеют в поперечном сечении соответствующую, например овальную, форму, исключающую возможность поворота втулки и закрепленных на ней лопаток относительно вытянутого в длину металлического сердечника гребка. Размеры и форма наружной поверхности несущей втулки и сквозного отверстия, выполненного в крепежной части лопатки, в предпочтительном варианте соответствующим образом совпадают друг с другом.
В предпочтительном варианте внешняя поверхность наружной трубки дополнительно покрыта слоем упругого амортизирующего удары материала. Слой амортизирующего удары материала соприкасается с краем сквозного отверстия, выполненного в крепежной части лопатки, и, с одной стороны, эффективно защищает край этого отверстия от механического повреждения, а с другой стороны, смягчает удары, которые воспринимает лопатка, и не передает их другой части несущей лопатки втулки и металлическому сердечнику гребка. Слой амортизирующего удары материала, кроме того, повышает эффективность теплоизоляции гребка. Наружную и внутреннюю трубки, из которых состоит втулка, несущая лопатки гребка, предпочтительно изготавливать из нержавеющей стали. Такие изготовленные из нержавеющей стали трубки образуют вокруг гребка сплошной экран, надежно защищающий металлический сердечник гребка от воздействия коррозионных (агрессивных) газов.
В следующем предпочтительном варианте несущая лопатки втулка имеет также армирующие элементы, которые расположены на ее внешней поверхности и проходят через слой амортизирующего удары упругого материала и расположены в залитом на него слое огнеупорного материала, в который погружена крепежная часть лопатки. Необходимо отметить, что выполненную таким образом втулку и лопатки гребка можно изготовить заранее в виде одной сборной детали, легко устанавливаемой на вытянутый в длину металлический сердечник гребка.
В соответствии еще с одним предпочтительным вариантом металлический сердечник гребка состоит из двух расположенных одна над другой наружных труб, прочно соединенных между собой. Такие трубы предпочтительно изготавливать из стальных труб, отлитых центробежным литьем. Изготовленные центробежным литьем трубы, из которых состоит металлический сердечник предлагаемого в изобретении гребка, обладают исключительно однородной структурой и не имеют литейных раковин и других дефектов, наличие которых в той или иной степени присуще литым несущим лопатки сердечникам известных гребков. Следует также отметить, что металлический сердечник предлагаемого в изобретении гребка при сравнительно меньшей стоимости изготовления в меньшей степени подвержен механической поломке и коррозии по сравнению с любыми другими металлическими несущими лопатки сердечниками известных в настоящее время гребков.
Для более эффективного охлаждения гребка каждая наружная труба, из которой изготовлен его металлический сердечник, имеет еще одну расположенную на ее оси внутреннюю трубу, между стенкой которой и стенкой наружной трубы образуется кольцевой канал для прохода охладителя. Такая конструкция обеспечивает эффективное и равномерное охлаждение наружных труб сердечника. Эффективность охлаждения можно дополнительно повысить сравнительно экономичным путем за счет установки в кольцевой канал между трубами проволоки, направляющей протекающий через кольцевой зазор охладитель по спиральной траектории.
Ниже изобретение более подробно рассмотрено на примере одного из возможных вариантов его осуществления со ссылкой на прилагаемые чертежи, на которых показано:
на фиг.1А – продольный разрез заднего конца предлагаемого в изобретении гребка,
на фиг.1Б – продольный разрез переднего конца гребка, показанного на фиг.1А,
на фиг.2 – поперечное сечение гребка плоскостью 2-2 по фиг.1А,
на фиг.3 – продольный разрез втулки, несущей лопатки гребка, показанного на фиг.1,
на фиг.4 – вид сверху несущей лопатки гребка втулки, показанной в продольном разрезе на фиг.3,
на фиг.5 – поперечное сечение гребка плоскостью 5-5 по фиг.1А,
на фиг.6 – вид спереди лопатки предлагаемого в изобретении гребка и
на фиг.7 – вертикальный разрез лопатки, которая в виде спереди показана на фиг.6.
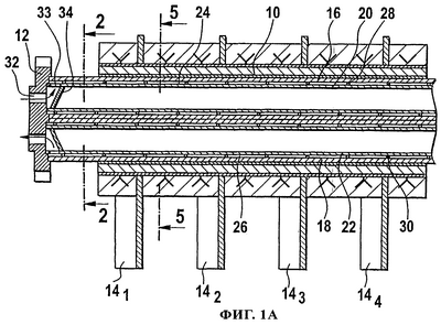
На фиг.1А и 1Б показаны оба конца предлагаемого в настоящем изобретении вытянутого в длину гребка. Гребок крепится к вертикальному валу, который проходит через все поды многоподовой шахтной печи. Гребок имеет вытянутый в длину металлический несущий сердечник 10, выполненный в виде полой консольной балки, которая расположенным на одном из ее концов фланцем 12 крепится к вертикальному валу печи и проходит в радиальном направлении над подом печи от вала к стенке печи. На металлическом несущем сердечнике 10 расположены на определенном радиальном расстоянии друг от друга лопатки 141, 142, 143, 144, нижние концы которых погружены в обрабатываемый в печи материал. При вращении вертикального вала гребки движутся над находящимся на соответствующем поде печи материалом, и лопатки 141, 142, 143, 144 гребков непрерывно механически перемешивают материал и перемещают его по поду. В зависимости от угла наклона к продольной оси гребка (см. фиг.4) лопатки 14i перемещают перемешиваемый ими материал по поду печи в радиальном направлении либо внутрь к вертикальному валу, либо наружу к стенке кожуха печи.
Металлический несущий сердечник 10 состоит из двух расположенных одна над другой и приваренных друг к другу (см., в частности, фиг.2) наружных труб 16 и 18, концы которых приварены к крепежному фланцу 12 (см., в частности, фиг.1А). Каждая такая труба 16, 18 предпочтительно изготовлена из одной или нескольких стальных труб, отлитых центробежным литьем. Изготовленные центробежным литьем трубы имеют исключительно однородную структуру без всяких литейных раковин и других дефектов, наличие которых в той или иной степени присуще литым несущим лопатки сердечникам всех известных в настоящее время гребков. Следует отметить, что металлический несущий лопатки сердечник 10 предлагаемого в изобретении гребка при сравнительно низкой стоимости изготовления в меньшей степени подвержен механическим поломкам и коррозии по сравнению с другими металлическими сердечниками известных в настоящее время гребков.
Внутри каждой наружной трубы 16, 18 сердечника гребка расположена имеющая с ней общую ось внутренняя труба 20, 22, которая вместе с наружной трубой 16, 18 образует кольцевой зазор 24, 26 для прохода охладителя. В каждом кольцевом зазоре 24, 26 расположена проволока 28, 30, направляющая поток охладителя по спиральной траектории. Охладитель подается в кольцевой зазор 24 верхней трубы 16 (см. фиг.1А) через входное отверстие 32 фланца 12 и входную полость 33 с наклонной направляющей стенкой 34 и движется в этом зазоре по спиральной траектории вдоль внутренней стенки наружной трубы 16 к ее закрытому переднему концу (см. фиг 1Б). У закрытого конца наружной трубы 16 охладитель проходит через соединительное отверстие 35 в кольцевой зазор 26 нижней трубы 18 и движется в этом зазоре по спиральной траектории вдоль внутренней стенки нижней трубы в направлении выходной полости 37 с наклонной стенкой 38 (см. фиг.1А), направляющей поток охладителя в выходное отверстие 39 фланца 12. В большинстве случае в качестве охладителя используют воду, вместо которой в отдельных случаях можно использовать и иной охладитель.
На фиг.3 и 4 показана несущая лопатки втулка 40 с четырьмя лопатками 141, 142, 143, 144. Несущая лопатки втулка 40 с четырьмя лопатками 141, 142, 143, 144 представляет собой предварительно изготовленную сборную деталь, которая по скользящей посадке устанавливается на вытянутый в длину металлический сердечник 10 гребка. На фиг.1А и 5 несущая лопатки втулка 40 показана в установленном на вытянутый в длину металлический сердечник 10 виде. Необходимо отметить, при длине несущей лопатки втулки 40, по существу равной длине сердечника 10, на сердечник устанавливают только одну втулку. Однако для облегчения сборки гребка несущую лопатки втулку 40 выполняют короче вытянутого в длину металлического сердечника 10, на который в этом случае устанавливают последовательно одну за другой несколько втулок. Количество лопаток 14 на втулке 40 может отличаться от четырех в большую и в меньшую сторону вплоть до одной лопатки.
В предпочтительном варианте несущая лопатки втулка 40 состоит из внутренней металлической втулки 42 и наружной металлической втулки 44, которые предпочтительно изготавливать из нержавеющей стали. Как показано на фиг.5, внутренняя металлическая втулка 42 имеет в поперечном сечении овальную форму, сопряженную с формой вытянутого в длину металлического сердечника 10 гребка. Промежуток между стальной внутренней втулкой 42 и стальной наружной втулкой 44 заполнен теплоизолирующим материалом 46, предпочтительно микропористым теплоизолирующим материалом, который обеспечивает хорошую теплоизоляцию гребка.
Предпочтительный вариант конструктивного исполнения лопатки 14 показан на фиг.6 и 7. Этот лопатка 14 представляет собой плоскую, вытянутую в длину керамическую пластину, один конец которой образует ту часть 47 лопатки, которой она перемешивает и перемещает по поду обрабатываемый в печи материал, а другой образует ту часть 48 лопатки, которой она крепится ко втулке. На крепежном участке лопатки выполнено овальное сквозное отверстие 50 со скругленным фасками краем 52. Форма края 52 отверстия 50 соответствует форме наружной поверхности наружной втулки, на которую при сборке несущей лопатки втулки 40 по соответствующей посадке в нужное место устанавливаются лопатки 14. Необходимо отметить, что в предпочтительном варианте наружная поверхность наружной втулки 44, на которую при сборке втулки 40 устанавливаются лопатки, покрыта тонким слоем 54 амортизирующего удары упругого материала. Следует также отметить, что в предлагаемом в изобретении гребке его вытянутый в длину металлический сердечник 10 проходит в осевом направлении через сквозные отверстия 50 крепежных участков 48 лопаток, а крепление лопаток 14 к вытянутому в длину металлическому сердечнику 10 осуществляется с помощью втулки 40, которая взаимодействует с расположенным вокруг сквозного отверстия 50 участком поверхности крепежного участка лопатки.
Поскольку лопатка 14 гребка имеет форму простой пластины с выполненным в ней сквозным отверстием, ее можно сравнительно экономично изготавливать из керамического материала, обладающего высокой теплостойкостью, коррозионной стойкостью и износостойкостью. В другом варианте из керамического материала можно изготавливать только ту часть 47 лопатки, которой она механически перемешивает и перемещает по поду печи обрабатываемый в ней материала, а другую – крепежную – часть 48 лопатки изготавливать из литой стали. Преимуществом такой изготовленной из разных материалов лопатки является более высокая по сравнению с керамикой вязкость стали, которая при больших нагрузках не ломается, а пластически деформируется. Хотя деформированная лопатка и не обеспечивает эффективного перемешивания и перемещения по поду обрабатываемого в печи материала, тем не менее она не ломается и не падает на под печи, на котором она представляет собой опасность для других лопаток гребка. Для более надежного соединения части 47 лопатки с ее крепежной частью 48 можно использовать сердечник, изготовленный из литой стали. Такой сердечник должен иметь размеры, равные размерам крепежной части 48 лопатки и части 47, которая в этом случае должна быть покрыта слоем керамики. Очевидно, что лопатку 14 можно изготовить и из другого термостойкого материала, обладающего необходимой коррозионной стойкостью и износостойкостью.
Как показано на фиг.3 и 4, крепежная часть 48 всех четырех лопаток 141, 142, 143, 144, предназначенных для механического перемешивания и перемещения по поду печи обрабатываемого в ней материала, расположена в слое литого огнеупорного материала 60, которым покрыт слой 54 амортизирующего удары материала. До заливки поверх слоя 54 слоя огнеупорного материала 60 к наружной металлической втулке 44 приваривают изготовленные из проволоки армирующие элементы 62. Эти армирующие элементы выступают наружу из слоя 54 и обеспечивают надежное соединение между огнеупорным материалом 60 и наружной металлической поверхностью несущей лопатки втулки 40. Такое решение позволяет надежно закрепить на втулке 40 все лопатки 141, 142, 143, 144 гребка в рабочем положении и обеспечивает передачу усилий, действующих на механически перемешивающие и перемещающие материал участки лопаток, через расположенный вокруг сквозного отверстия 50 участок поверхности крепежной части 48 лопатки в виде усилий сжатия на слой огнеупорного материала 60 и через край 52 отверстия 50 и слой 54 амортизирующего удары упругого материала на несущую лопатки втулку 40. Изготовленные из металла армирующие элементы 64 (см., например, фиг.4) можно, кроме того, до заливки слоя 54 амортизирующего удары материала огнеупорным материалом 60 приварить к наружной металлической втулке 44. Приваренные ко втулке армирующие элементы 64 можно использовать в качестве упоров для передачи через упирающийся в них расположенный вокруг сквозного отверстия 50 участок поверхности крепежной части 48 лопатки на наружную металлическую втулку 44 усилий, воспринимаемых лопаткой 14. Необходимо также отметить, что образующие упоры металлические армирующие элементы 64 позволяют надежно удерживать лопатки гребка в рабочем положении даже при разрушении или отслоении огнеупорного материала 60.
Показанные на фиг.3 и 4 несущие лопатки втулки 40 можно изготовить предварительно на заводе в полностью подготовленном для их установки на металлический сердечник 10 гребка виде. Как показано на фиг.1Б, конец последней несущей лопатки втулки 40′ (условно изображенной на чертеже пунктирной линией), установленной на металлический сердечник 10, крепится к нему штифтом 70. При износе или поломке лопаток 141, 142, 143, 144 или огнеупорного материала 60 втулки 40 вместе с лопатками можно легко снять с металлического сердечника 10 и заменить новыми. Втулки 40 с поврежденными или сломанными лопатками можно отправить на завод и после замены лопаток вновь привести в рабочее состояние. Заменить пришедшие в нерабочее состояние втулки новыми можно достаточно просто снаружи через ремонтный люк печи без разборки металлических сердечников 10 и выполнения каких-либо работ внутри печи. На фиг.5 позициями 72′ и 72″ обозначены предназначенные для извлечения втулок стержни, которые расположены в свободном пространстве между металлическим сердечником 10 гребка и несущей лопатки втулкой 40. Один конец этих стержней 72′ и 72″ находится в механическом контакте с установленной на металлический сердечник 10 по скользящей посадке втулкой 40, а другой выходит наружу из последней установленной на сердечник 10 втулки 40′. Наличие этих стержней позволяет легко снять несущую лопатки втулку 40 с металлического сердечника 10.
Формула изобретения
1. Гребок для печи, содержащий вытянутый в длину металлический несущий сердечник (10), лопатки (14), каждая из которых имеет перемешивающую и перемещающую материал часть (47) и крепежную часть (48), и крепежное приспособление, которое вместе с крепежной частью (48) лопатки предназначено для крепления лопаток (14) к вытянутому в длину металлическому несущему сердечнику (10) гребка и содержит несущую лопатки втулку (40), которая со скольжением устанавливается на вытянутый в длину металлический сердечник (10) гребка, отличающийся тем, что несущая лопатки втулка (40) включает внутреннюю металлическую втулку (42), наружную металлическую втулку (44) и теплоизолирующий материал (46), расположенный между внутренней и наружной металлическими втулками (42, 44) с обеспечением сплошной теплоизоляции вытянутого в длину металлического сердечника (10) гребка.
2. Гребок по п.1, отличающийся тем, что он содержит, по меньшей мере, одну лопатку (14), имеющую крепежную часть (48), в которой выполнено сквозное отверстие (50), при этом крепление лопатки (14) к вытянутому в длину металлическому несущему сердечнику (10) гребка осуществляется посредством взаимодействия крепежного приспособления (40) с расположенным вокруг сквозного отверстия (50) участком поверхности крепежной части (48).
3. Гребок по п.2, отличающийся тем, что сквозное отверстие (50) имеет овальную форму.
4. Гребок по п.1, отличающийся тем, что лопатка (14) гребка выполнена в виде пластины.
5. Гребок по п.4, отличающийся тем, что его лопатка (14) изготовлена из керамического материала.
6. Гребок по п.1, отличающийся тем, что крепежная часть (48) лопатки изготовлена из первого материала, а ее перемешивающая и перемещающая материал часть (47) изготовлена из второго материала, вязкость которого меньше вязкости первого материала.
7. Гребок по п.6, отличающийся тем, что первый материал представляет собой литую сталь, а второй – керамику.
8. Гребок по п.1, отличающийся тем, что он содержит, по меньшей мере, одну лопатку (14), имеющую изготовленный из литой стали сердечник, который проходит через всю крепежную часть (48) лопатки и всю ее перемешивающую и перемещающую материал часть (47) и на участке, соответствующем этой перемешивающей и перемещающей материал части (47) лопатки, покрыт слоем керамики.
9. Гребок по п.1, отличающийся тем, что внутренняя металлическая втулка (42) имеет посадочное отверстие, которое по форме и размерам соответствует наружной форме и размерам вытянутого в длину металлического сердечника (10) гребка.
10. Гребок по п.1, отличающийся тем, что несущая лопатки втулка (40) дополнительно включает слой (54) амортизирующего удары материала, которым покрыта наружная металлическая втулка (44).
11. Гребок по п.1, отличающийся тем, что внутренняя металлическая втулка (42) и наружная металлическая втулка (44) изготовлены из нержавеющей стали.
12. Гребок по п.1, отличающийся тем, что теплоизолирующий материал (46) представляет собой микропористый материал.
13. Гребок по п.10, отличающийся тем, что несущая лопатки втулка (40) содержит армирующие элементы (62), выступающие наружу из наружной металлической втулки (44) через слой (54) амортизирующего удары материала, и залитый поверх слоя (54) амортизирующего удары материала слой (60) огнеупорного материала, в котором расположена крепежная часть (48), по меньшей мере, одной лопатки (14).
14. Гребок по п.13, отличающийся тем, что несущая лопатки втулка (40) и лопатки (14) представляют собой предварительно изготовленную деталь, устанавливаемую со скольжением поверх вытянутого в длину металлического несущего сердечника (10).
15. Гребок по любому из пп.1-14, отличающийся тем, что несущая лопатки втулка (40) содержит металлические образующие упоры элементы (64), в которые упирается крепежная часть (48) лопатки.
16. Гребок по любому из пп.1-14, отличающийся тем, что металлический сердечник (10) гребка состоит из двух расположенных одна над другой наружных труб (16, 18), которые прочно соединены между собой.
17. Гребок по п.16, отличающийся тем, что расположенные одна над другой наружные трубы (16, 18) сердечника изготовлены из литых стальных труб, отлитых центробежным литьем.
18. Гребок по п.16, отличающийся тем, что он имеет расположенную внутри каждой наружной трубы (16, 18) на одной с ней оси внутреннюю трубу (20, 22), между которой и наружной трубой имеется кольцевой зазор (24, 26) для прохода охладителя.
19. Гребок по п.18, отличающийся тем, что в указанном кольцевом зазоре для прохода охладителя расположена проволока (28, 30), направляющая поток охладителя по спиральной траектории в этом кольцевом зазоре (24, 26).
20. Многоподовая печь, содержащая по меньшей мере один гребок по одному из пп.1-19.
РИСУНКИ
|
|