|
|
(21), (22) Заявка: 2004107913/02, 17.03.2004
(24) Дата начала отсчета срока действия патента:
17.03.2004
(43) Дата публикации заявки: 27.09.2005
(46) Опубликовано: 10.04.2007
(56) Список документов, цитированных в отчете о поиске:
SU 920338 A, 15.04.1982. SU 1467347 A1, 23.03.1989. RU 2082925 C1, 27.06.1997. GB 831423 A, 30.03.1960. GB 1030295 A, 18.05.1966. ЕР 0519230 А1, 23.12.1992. WO 0116255 A1, 08.03.2001.
Адрес для переписки:
346404, Ростовская обл., г.Новочеркасск, Харьковское ш., 11, ООО “Эскорт”, генеральному директору В.К.Базияну
|
(72) Автор(ы):
Базиян Владимир Кимович (RU), Пятницков Александр Георгиевич (RU), Мальков Владимир Иванович (RU)
(73) Патентообладатель(и):
Общество с ограниченной ответственностью ООО “Эскорт” (RU)
|
(54) ТРУБЧАТАЯ ПЕЧЬ
(57) Реферат:
Изобретение относится к конструкции трубчатой печи и может быть использовано в нефтехимической и нефтеперерабатывающей промышленности для подогрева технологических сред. Трубчатая печь содержит корпус, разделенный кольцевой перегородкой на радиантную камеру с горелочными устройствами и конвективную камеру с трубами продуктового змеевика, корпус печи в верхней части выполнен с крышкой, снабженной люком и отверстиями, в которые пропущены конец конвективного и начало радиантного змеевиков, соединенные фланцами, при этом спиральные змеевики радиантной и конвективной камер установлены на скользящих подвесках, расположенных по образующей на внутренней и наружной поверхностях кольцевой перегородки, а дымовая труба установлена на одном основании с корпусом печи и соединена с конвективной камерой двумя симметрично расположенными воздуховодами. Изобретение обеспечивает упрощение монтажа и демонтажа узлов камеры конвекции и радиации и повышение КПД печи за счет более эффективного использования тепла. 2 ил.
Изобретение относится к конструкции трубчатой печи и может быть использовано в нефтехимической и нефтеперерабатывающей промышленности для подогрева нефти непосредственно на нефтепромыслах.
Известна трубчатая печь, включающая радиантную камеру с горелками, расположенную над ней конвективную камеру, трубные змеевики и дымовую трубу (Ц.А.Бахшиян. Трубчатые печи с излучающими стенами топки. М.: ГОСИНТИ, 1960 г., стр.55, рис.23а).
Трубчатая печь известной конструкции не обеспечивает возможность монтажных и ремонтных работ узлов радиантной и конвективной камер непосредственно на рабочем месте, кроме того, при таком расположении радиантной и конвективных камер происходит неполное использование тепловой энергии для нагревания продукта, что снижает КПД печи.
Известна также трубчатая печь, включающая корпус, разделенный кольцевой перегородкой на радиантную камеру с горелочными устройствами и конвективную камеру с вертикально установленными трубами продуктового змеевика, внутри которого размещены тепловые трубы, нижние концы которых пропущены сквозь кольцевую перегородку, а внутри конвективной камеры установлены цилиндрическая вставка с закрывающейся розеткой в лобовой части и спиральными направляющими, установленными на внутренней стороне стен конвективной камеры и наружной стороне стен вставки (а.с. SU №920338, кл. F 27 B 5/00, C 10 G 9/20, 15.02.1980 г. – прототип).
К основным недостаткам приведенной в качестве прототипа трубчатой печи относится затрудненный доступ к рабочим узлам радиантной и конвективной камер при проведении ремонтных и монтажных работ. При работе в особо нагруженных условиях происходит загрязнение оребренной поверхности продуктовых труб, что приводит к уменьшению теплопроводности и мощности печи.
Целью изобретения является упрощение монтажа и демонтажа узлов камер конвекции и радиации и повышение КПД печи за счет более эффективного использования тепла.
Постановленная цель достигается тем, что в трубчатой печи, включающей корпус, разделенный кольцевой перегородкой на радиантную камеру с горелочными устройствами и конвективную камеру с трубами продуктового змеевика, воздуховоды и дымовую трубу, корпус печи в верхней части выполнен с крышкой, снабженной люком и отверстиями, в которые пропущены конец конвективного и начало радиантного змеевиков, соединенные фланцами, при этом спиральные змеевики радиантной и конвективной камер установлены на подвесках, расположенных по образующей на внутренней и наружной поверхностях кольцевой перегородки, а дымовая труба установлена на одном основании с корпусом печи и соединена с конвективной камерой двумя симметрично расположенными воздуховодами.
Существенным отличием в предложенной печи является то, что корпус печи в верхней части выполнен с крышкой, снабженной люком и отверстиями, в которые пропущены конец конвективного и радиантного змеевиков, соединенные фланцами, при этом спиральные змеевики радиантной и конвективной камер установлены на подвесках, расположенных по образующей на внутренней и наружной поверхностях кольцевой перегородки, а дымовая труба установлена на одном основании с корпусом печи и соединена с конвективной камерой двумя симметрично расположенными воздуховодами.
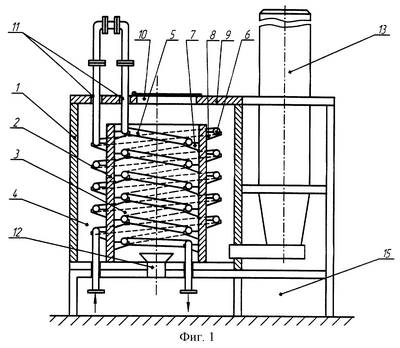
На фиг.1 показана трубчатая печь, общий вид; на фиг.2 – вид сверху.
На чертежах и в тексте приняты следующие обозначения:
| 1 – корпус |
8 – подвески |
| 2 – кольцевая перегородка |
9 – крышка |
| 3 – радиантная камера |
10 – люк |
| 4 – конвективная камера |
11 – отверстия |
| 5 – радиантный змеевик |
12 – газовые горелки |
| 6 – конвективный змеевик |
13 – дымовая труба |
| 7 – подвески |
14 – воздуховод |
| |
15 – основание |
Трубчатая печь состоит из корпуса 1, размещенной внутри кольцевой перегородки 2, разделяющей его на радиантную камеру 3 и конвективную камеру 4. В радиантной и конвективной камерах расположены спиральные змеевики 5 и 6 соответственно.
Радиантный 5 и конвективный 6 спиральные продуктовые змеевики установлены на скользящих подвесках 7 и 8, расположенных по образующей на внутренней и внешних сторонах кольцевой перегородки. Корпус 1 печи сверху выполнен с крышкой 9, в которой имеются люк 10 и два отверстия 11 для входа конца конвективного змеевика и начало радиантного. Концы змеевиков соединены фланцами над крышкой и закрыты теплоизолированными колпаками (на чертеже не показано). В поду радиантной камеру размещены газовые горелки 12, установленные с наклоном к центру вертикальной оси печи. Дымовая труба 13 соединена с конвективной камерой двумя симметрично расположенными воздуховодами 14 и установлена на одном основании 15 с корпусом печи.
Печь работает следующим образом.
Газ, подаваемый в печь, сжигают в горелках 11, размещенных в поду радиантной камеры и установленных с наклоном к центру вертикальной оси печи. Тепловая энергия, освобождаемая при сгорании топлива, восходящим потоком из радиантной камеры 3, ограниченной кольцевой перегородкой 2, поступает в конвективную камеру 4, омывая продуктовые трубы 6, работая в режиме конвективной теплоотдачи. Затем продукты сгорания из конвективной камеры 4 поступают через два симметрично расположенных воздуховода 13 в дымовую трубу 12 и отводятся в атмосферу. Продукт подводится снизу в конвективный змеевик 6. Нагревшись в конвективном змеевике 6, он поступает в радиантный 5, где окончательно нагревается до необходимой температуры как излучением от продуктов сгорания, так и отражением от стальной поверхности кольцевой перегородки и выходит из радиантного змеевика дальше по технологической линии. Движение нагреваемого продукта и дымовых газов противоточное.
Технические преимущества предлагаемой трубчатой печи по сравнению с прототипом в том, что выполение корпуса печи в верхней части с крышкой, снабженной люком, установка спиральных змеевиков радиантной и конвективной камер на скользящих подвесках, расположенных по образующей на внутренней и наружной поверхностях кольцевой перегородки, и расположение дымовой трубы на одном основании с корпусом печи позволяет значительно упростить монтажные, ремонтные и профилактические работы, а именно обеспечивается возможность отдельно вытаскивать конвективный и радиантный змеевики из рабочих зон, проникновение внутрь через люк в крышке топочной части печи для обслуживания рабочих узлов. При остановке печи для проведения ремонтных и профилактических работ предлагаемая установка спиральных змеевиков обеспечивает возможность освобождения их самотеком нагреваемого продукта. Кроме того, данная конструкция трубчатой печи позволяет более эффективно использовать тепло дымовых газов, уменьшить разницу температур между конвективной и радиантной камерами и достичь более высокого коэффициента полезного действия печи.
Формула изобретения
Трубчатая печь, включающая корпус, разделенный кольцевой перегородкой на радиантную камеру с горелочными устройствами и конвективную камеру с расположенными в них трубами продуктового змеевика, воздуховоды и дымовую трубу, отличающаяся тем, что корпус печи в верхней части выполнен с крышкой, люком и отверстиями, в которые пропущены конец конвективного и начало радиантного змеевиков, соединенные фланцами, при этом змеевики установлены на скользящих подвесках, расположенных по образующей на внутренней и наружной поверхностях кольцевой перегородки, а дымовая труба установлена на одном основании с корпусом печи и соединена с конвективной камерой двумя симметрично расположенными воздуховодами.
РИСУНКИ
|
|