|
|
(21), (22) Заявка: 2005130109/06, 27.09.2005
(24) Дата начала отсчета срока действия патента:
27.09.2005
(46) Опубликовано: 10.04.2007
(56) Список документов, цитированных в отчете о поиске:
RU 2206029 C1, 10.06.2003. RU 2126943 C1, 27.02.1999. RU 2013729 C1, 30.05.1994. RU 2029197 C1, 20.02.1995. RU 2002121114 А, 27.02.2004. FR 1512101 А, 26.12.1967.
Адрес для переписки:
620133, г.Екатеринбург, ул. Родонитовая, 15, кв.197, В.И. Дейнеженко
|
(72) Автор(ы):
Дейнеженко Владимир Иванович (RU), Железнов Николай Григорьевич (RU), Гофман Михаил Самуилович (RU)
(73) Патентообладатель(и):
Дейнеженко Владимир Иванович (RU)
|
(54) НАГРЕВАТЕЛЬНЫЙ ПРИБОР
(57) Реферат:
Настоящее изобретение относится к теплоэнергетическим установкам, в частности к установкам для нагрева воздуха, предназначенным для использования в системах воздушного отопления животноводческих помещений. Задача, решаемая изобретением, состоит в создании нагревательного прибора указанного типа с улучшенными теплотехническими показателями. Достигаемый технический результат состоит в понижении содержания двуокиси углерода в горячих газах, поступающих непосредственно в нагреваемое помещение, в упрощении конструкции прибора и снижении потерь напора вентилятора, а следовательно, в увеличении производительности по сжигаемому топливу при сохранении габаритов и мощности вентилятора. Для решения поставленной задачи и достижения технического результата в нагревательном приборе, включающем цилиндрический корпус с размещенным на торце вентилятором осевого типа, двигатель которого установлен внутри корпуса за крыльчаткой вентилятора по направлению движения воздуха, соосную корпусу и вставленную в него с зазором топку, торец которой со стороны вентилятора имеет выполненный в виде диска с вырезами и наклонными лопатками завихритель, и расположенную внутри топки соединенную трубопроводом с источником топлива горелку, топка выполнена в виде трубы Вентури, горловина последней снабжена перфорацией, а в зазоре между корпусом и топкой в зоне противолежащего вентилятору торца топки установлены с возможностью поворота направляющие лопасти. 1 ил.
Настоящее изобретение относится к теплоэнергетическим установкам, в частности к установкам для нагрева воздуха, предназначенным для использования в системах воздушного отопления животноводческих помещений.
Известен нагревательный прибор для животноводческих помещений, содержащий цилиндрический корпус с размещенным на торце вентилятором осевого типа с крыльчаткой и двигателем, соосную корпусу и вставленную в него цилиндрическую топку и горелку, соединенную трубопроводом с источником топлива, причем топка со стороны вентилятора снабжена конфузором и установлена с возможностью осевого перемещения, а горелка выполнена в виде размещенного по направлению движения газов за вентилятором соосного корпусу полого перфорированного конусообразного обтекателя с меньшим углом конусности, чем у конфузора (патент RU №2126943 С1, МКИ6 F 26 В 23/02, бюл. №6, 27.02.1999). Нагревательный прибор данной конструкции отличается возможностью плавного регулирования теплопроизводительности, но достаточно сложен в изготовлении, имеет пониженную интенсивность и недостаточно качественное смешение смешения топлива и первичного воздуха.
Наиболее близким к предлагаемому изобретению является нагревательный прибор для животноводческих помещений, включающий в себя корпус с размещенным на торце вентилятором осевого типа с крыльчаткой, электрический двигатель которого установлен по направлению движения воздуха за крыльчаткой вентилятора внутри корпуса нагревательного прибора, соосную корпусу и вставленную в него цилиндрическую топку и горелку, соединенную трубопроводом с источником топлива (газообразного или жидкого). Для улучшения смешения топлива с необходимым для сжигания воздухом служит расположенный в торце топки со стороны вентилятора завихритель, выполненный в виде диска с вырезами и наклонными лопатками (см. патент RU №2206029 С1, МКИ7 F 26 В 23/02. «Нагревательный прибор», дата публикации 10.06.2003). Недостатки данного нагревательного прибора также состоят в недостаточно полном смешении топлива и воздуха, сложности изготовления и в повышенных потерях напора вентилятора. Некачественное смешение воздуха и топлива приводит к превышению содержания окиси углерода в выхлопных газах, что недопустимо при их непосредственном использовании для нагревания помещений.
Задача, решаемая предлагаемым изобретением, состоит в создании нагревательного прибора указанного типа с улучшенными теплотехническими показателями.
Достигаемый технический результат состоит в понижении содержания двуокиси углерода в горячих газах, поступающих непосредственно в нагреваемое помещение, в упрощении конструкции прибора и снижении потерь напора вентилятора, а следовательно, в увеличении производительности по сжигаемому топливу при сохранении габаритов и мощности вентилятора.
Для решения поставленной задачи и достижения технического результата в нагревательном приборе, включающем цилиндрический корпус с размещенным на торце вентилятором осевого типа, двигатель которого установлен внутри корпуса за крыльчаткой вентилятора по направлению движения воздуха, соосную корпусу и вставленную в него с зазором топку, торец которой со стороны вентилятора имеет выполненный в виде диска с вырезами и наклонными лопатками завихритель, и расположенную внутри топки соединенную трубопроводом с источником топлива горелку, топка выполнена в виде трубы Вентури, горловина последней снабжена перфорацией, а в зазоре между корпусом и топкой в зоне противолежащего вентилятору торца топки установлены с возможностью поворота направляющие лопасти.
Сущность изобретения состоит в следующем. Установка цилиндрической топки внутри корпуса аппарата соосно ему (решение по прототипу) позволяет провести разделение подаваемого вентилятором воздуха непосредственно после крыльчатки на два потока, один из которых поступает в зону горелки на смешение с топливом (первичный воздух). Этот поток, проходя через вырезы завихрителя, далее закручивается наклонными лопатками, что обеспечивает смешение воздуха и топлива.
В настоящем изобретении топка выполнена в виде трубы Вентури, состоит, по определению, из конфузора, горловины и диффузора и также делит общий поток подаваемого вентилятором воздуха на два потока.
Топка в прототипе разделена на две камеры с помощью диафрагмы. В настоящем изобретении, по сути, топка также разделена на две камеры – зона диффузора и зона конфузора. В первой по направлению движения воздуха камере в обоих случаях размещена соединенная трубопроводом с источником топлива горелка. Существенное отличие аппаратов состоит в том, что конструкция нагревательного прибора по прототипу позволяет во второй камере провести дополнительное перемешивание воздуха и топлива за счет разделяющей камеры диафрагмы. В случае настоящего изобретения эффективному смешению содействует повышенная скорость потока в зоне горловины и вихреобразование при хотя и плавном, но значительном сужении потока.
И в известной конструкции и в настоящем изобретении во второй камере проходит дожигание топливной смеси. Для этого во вторую камеру должно быть введено дополнительное количество воздуха при естественной необходимости этого. В известном решении вторая камера снабжена прорезями с выступающими в зону зазора между корпусом прибора и топкой в сторону вентилятора направляющими козырьками. Таким образом, из вторичного воздушного потока, обтекающего топку (движущегося в зазоре между корпусом прибора и топкой) и обеспечивающего охлаждение корпуса, может быть отобрана определенная нужная часть и направлена во вторую камеру. Количество отбираемого воздуха определяется размером и количеством прорезей, а также конструкцией козырьков. Дополнительный воздух обеспечивает более качественное сжигание топливной смеси.
В настоящем решении указанная задача решена и проще, и эффективнее. Дополнительный поток воздуха из первого потока поступает во вторую камеру через перфорацию (отверстия) в горловине трубы Вентури. Количество дополнительного воздуха определяется числом отверстий в горловине и определенным снижением диаметра горловины против большего диаметра свободного торца конфузора (соответственно диффузора). Возрастание скорости воздушного потока в зоне горловины приводит к снижению статического давления по сравнению с давлением в той же зоне, но в корпусе прибора. Струйный ввод дополнительного воздушного потока в зону второй камеры способствует улучшению перемешивания дополнительного воздуха с уже горящей смесью воздуха и топлива.
В настоящем изобретении установленные в зазоре между корпусом и топкой с возможностью поворота направляющие лопасти, размещенные на противолежащем вентилятору торце топки, закручивают второй поток воздуха (вторичный воздух), поступающий в зазор между топкой и корпусом. Закрутка этого потока, соответственно и общего потока газов, выходящих из нагревательного прибора, способствует улучшению перемешивания дополнительного воздуха с уже горящей смесью воздуха и топлива, а следовательно, улучшению сжигания топлива.
Выполнение топки в виде трубы Вентури позволяет провести введение воздуха во вторую камеру и качественное смешение практически без потери напора. В прототипе и установка диафрагмы, и установка козырьков имеет обязательным следствием потерю напора, что снижает производительность вентилятора и собственно нагревательного прибора при определенных габаритах и мощности вентилятора.
Отсутствие необходимости закрепления диафрагмы внутри топки и изготовления козырьков упрощает конструкцию прибора.
Сопоставительный анализ прототипа и предлагаемого технического решения показывает наличие в последнем ряда отличительных признаков, что позволяет утверждать его соответствие критерию патентоспособности «новизна».
Отсутствие подобных решений (в комплексе) в области конструирования нагревательных приборов и в смежных областях определяет соответствие предлагаемого изобретения критерию патентоспособности «изобретательский уровень», поскольку не следует явным образом из современного уровня техники и не является очевидным для специалистов.
В предлагаемом изобретении отсутствует что-либо, делающее реализацию решения невозможным или затруднительным. Одновременно в настоящее время животноводческая отрасль сельского хозяйства постоянно увеличивает потребность в нагревательных приборах подобного типа из-за их простоты, надежности и удобства эксплуатации. Последнее позволяет утверждать соответствие настоящего решения критерию патентоспособности «промышленная применимость».
Настоящее изобретение поясняется чертежом.
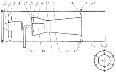
Нагревательный прибор включает в себя корпус 1 с размещенным на его торце осевым вентилятором 2 с крыльчаткой 3 и электрическим двигателем 4, причем двигатель 4 по ходу воздуха установлен за крыльчаткой 3. И двигатель 4 и крыльчатка 3 размещены внутри корпуса 1. Внутри корпуса 1 соосно ему установлена топка 5, выполненная в виде трубы Вентури с конфузором 6, горловиной 7 и диффузором 8. Торец топки 5 со стороны вентилятора 2 снабжен завихрителем, выполненным в виде диска 9 с вырезами 10 и наклонными лопатками 11. В конфузоре 6 топки 5 размещена соединенная трубопроводом 12 с источником топлива (например, природного газа) горелка 13. Противолежащий вентилятору торец топки 5 снабжен установленными в зазоре между корпусом 1 и топкой 5 направляющими лопастями 14. Лопасти 14 установлены с возможностью поворота. Для этого в простейшем варианте прилегающие к корпусу концы лопастей 14 снабжены штифтами 15 с резьбой. Корпус 1 нагревательного прибора имеет отверстия 16. Вставленные в отверстия 16 штифты 15 закреплены с помощью гаек 17. Горловина трубы Вентури 7 снабжена перфорацией, т.е. отверстиями 18.
Нагревательный прибор по настоящему изобретению работает следующим образом.
Природный газ по трубопроводу 12 поступает в горелку 13. Установленный внутри корпуса 1 вентилятор 2, имеющий крыльчатку 3 и двигатель 4, направляет воздух в топку 5 и в зазор между топкой 5 и корпусом нагревательного прибора 1. В топку 5 воздух поступает через установленный в торце топки 5 со стороны вентилятора выполненный в виде диска 9 с вырезами 10 и наклонными лопатками 11 завихритель. Подача воздуха в топку 5 позволяет получить первичную газовоздушную смесь нужного состава. Естественно, что топка 5 снабжена устройством для поджигания смеси и при необходимости для поддержания горения первичной смеси. В топке 5 происходит сужение потока первичного воздуха в зоне конфузора 6. Далее проходит расширение потока в диффузоре 8. Через отверстия 18 горловины 7 в уже горящую топливную смесь поступает свежий воздух (часть вторичного воздуха). Это способствует как дополнительному перемешиванию топлива и воздуха, так и качественному сжиганию смеси.
В имеющихся конструкциях на выходе из топки 5 происходит весьма некачественное перемешивание воздуха, поступающего из зазора между топкой 5 и корпусом 1, и горящей смеси. В предлагаемом решении положение в значительной мере изменено. Благодаря оснащению торца топки 5, противолежащего вентилятору 2, направляющими лопатками 14, воздух, выходящий из зазора между корпусом 1 и топкой 5, хорошо перемешивается с уже горящей смесью, выходящей из топки 5. Дополнительное перемешивание общего потока и поступление к уже горящей смеси свежего кислорода позволяет провести практически полное сжигание топлива и снизить содержание диоксида углерода в дымовых газах, поступающих в нагреваемое помещение.
Оптимальное положение направляющих лопаток 14 для данного типоразмера нагревательного прибора и данной конструкции лопаток 14 определяется их установкой под нужным углом. Для этого предусмотрена возможность поворота лопаток 14. В конструкции, приведенной на чертеже, для этой цели служит оснащение примыкающих к корпусу 1 торцов лопаток 14 штифтами 15 с резьбой. Лопатки 14 вводят в отверстия 16 корпуса 1, подбирают оптимальный угол поворота и закрепляют с помощью гаек 17. Естественно, что при реальном конструировании прибора может быть выбран другой тип поворотного устройства, позволяющий проводить плавное регулирование угла поворота лопаток в ходе непрерывной работы прибора.
Придание топке 5 конфигурации трубы Вентури позволяет, по сути, разделить топку 5 на две камеры: зона конфузора 6 и диффузора 8, без введения присущих известным решениям разделяющих диафрагм, способствующих значительной потере гидравлического напора вентилятора. Труба Вентури является устройством, обеспечивающим значительное сокращение гидравлических потерь. Введение части вторичного воздуха через отверстия 18 в горловине 7 (за счет снижения статического давления в горловине по сравнению с давлением в корпусе в этой же зоне) позволяет исключить присущую известным решениям установку специальных лопастей. Это также способствует полезному использованию напора вентилятора на увеличение тепловой мощности прибора при тех же его габаритах и той же мощности двигателя 4 вентилятора.
Действующий нагревательный прибор по прототипу обеспечивает содержание двуокиси углерода на уровне 15-20 мг/м3 при тепловой мощности 60 кВт и длине не рассеянного теплового потока 6-8 м. Прибор по настоящему изобретению при тех же габаритах обеспечивает содержание диоксида углерода на уровне 0-5 мг/м3 при тепловой мощности 65-70 кВт и длине не рассеянного теплового потока 10-12 м.
Формула изобретения
Нагревательный прибор, включающий цилиндрический корпус с размещенным на торце вентилятором осевого типа, двигатель которого установлен внутри корпуса за крыльчаткой вентилятора по направлению движения воздуха, соосную корпусу и вставленную в него с зазором топку, торец которой со стороны вентилятора имеет выполненный в виде диска с вырезами и наклонными лопатками завихритель, и расположенную внутри топки соединенную трубопроводом с источником топлива горелку, отличающийся тем, что топка выполнена в виде трубы Вентури, горловина последней снабжена перфорацией, а в зазоре между корпусом и топкой в зоне противолежащего вентилятору торца топки установлены с возможностью поворота направляющие лопасти.
РИСУНКИ
MM4A – Досрочное прекращение действия патента СССР или патента Российской Федерации на изобретение из-за неуплаты в установленный срок пошлины за поддержание патента в силе
Дата прекращения действия патента: 28.09.2008
Извещение опубликовано: 27.07.2010 БИ: 21/2010
|
|